GM Service Manual Online
For 1990-2009 cars only

Removal Procedure

  1. Remove the windshield wiper transmission. Refer to Windshield Wiper Transmission Replacement in Wipers/Washer Systems.
  2. Remove the A/C evaporator tube extension from the cowl. Refer to Evaporator Tube Extension Replacement in HVAC Systems.

  3. Object Number: 219498  Size: SH
  4. Disconnect the brake fluid level sensor connection (1) from the reservoir cap.
  5. Remove the brake master cylinder. Refer to Master Cylinder Replacement .

  6. Object Number: 219629  Size: SH
  7. Remove the power brake booster vacuum hose (1) from the power brake booster.
  8. Remove the driver side front floor air outlet duct.

  9. Object Number: 219438  Size: SH
  10. Remove the brake pedal pivot pin retainer (1) from the brake pedal pivot pin (2).
  11. Press the brake pedal pivot pin (2) out of the brake master cylinder pushrod clevis.
  12. Important: Ensure not to disturb the clevis adjustment on the pushrod unless replacing the power brake booster.

  13. Remove the brake master cylinder pushrod clevis from the brake pedal.
  14. Remove the fuse and relay panel screws.
  15. Remove the fuse and relay panel. Position the fuse and relay panel out of the way.

  16. Object Number: 219447  Size: SH
  17. Remove the brake pedal bracket nuts (1).
  18. Remove the power brake booster with gasket (to cowl) from the cowl.
  19. Remove the power brake booster support bracket nuts.
  20. Remove the power brake booster support bracket washers.
  21. Remove the power brake booster support bracket and gasket from the booster.
  22. Remove the clevis and the power brake booster pushrod nut if replacing the power brake booster.

Installation Procedure

  1. Install the clevis and install the adjusting nut to the new booster if replacing the power brake booster.

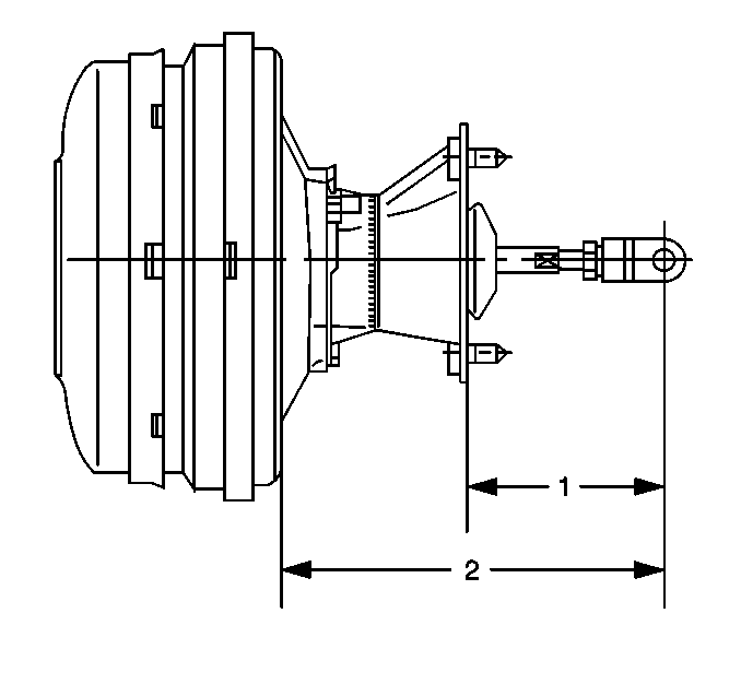
  2. Object Number: 219640  Size: SH
  3. Adjust the clevis on the pushrod to dimension (1) 105.5 -- 106.5 mm (4.0 -- 4.4 in).
  4. Tighten the adjusting nut.
  5. Use dimension (2) 179 -- 181 mm (7.04 -- 7.125 in) for an additional check.
  6. Install the power brake booster gasket to the booster.
  7. Install the support bracket to the booster.
  8. Install the support bracket washers to the booster.
  9. Notice: Use the correct fastener in the correct location. Replacement fasteners must be the correct part number for that application. Fasteners requiring replacement or fasteners requiring the use of thread locking compound or sealant are identified in the service procedure. Do not use paints, lubricants, or corrosion inhibitors on fasteners or fastener joint surfaces unless specified. These coatings affect fastener torque and joint clamping force and may damage the fastener. Use the correct tightening sequence and specifications when installing fasteners in order to avoid damage to parts and systems.

  10. Install the support bracket nuts to the booster.
  11. Tighten
    Tighten the support bracket nut to 18 N·m (13 lb ft).

  12. Position the power brake booster gasket (to cowl) over the studs on the bracket; if removed.
  13. Important: Ensure the mounting surface if free of sealant or any other foreign material.

  14. Install the booster to the cowl.

  15. Object Number: 219447  Size: SH
  16. Install the brake pedal bracket nuts (1).
  17. Tighten
    Tighten the brake pedal bracket nuts (1) to 20 N·m (15 lb ft).

  18. Position the fuse and relay panel.
  19. Install the fuse and relay panel screws.
  20. Tighten
    Tighten the fuse and relay panel screws until fully seated. Ensure not to strip the fuse and relay panel screws.

  21. Install the brake master cylinder pushrod clevis to the brake pedal.

  22. Object Number: 219438  Size: SH
  23. Install the brake pedal pivot pin (2) and install the brake pedal pivot pin retainer (1).
  24. Install the driver side front floor air outlet duct.

  25. Object Number: 219629  Size: SH
  26. Install the power brake booster vacuum hose (1) to the power brake booster.
  27. Install the brake master cylinder. Refer to Master Cylinder Replacement .
  28. Connect the brake fluid level sensor connection (1) to the reservoir cap.

  29. Object Number: 219498  Size: SH
  30. Install the A/C evaporator tube extension to the cowl. Refer to Evaporator Tube Extension Replacement in HVAC Systems Automatic.
  31. Install the windshield wiper transmission. Refer to Windshield Wiper Transmission Replacement in Wipers/Washer Systems.
  32. Bleed the hydraulic brake system. Refer to Hydraulic Brake System Bleeding .