GM Service Manual Online
For 1990-2009 cars only

Removal Procedure

Notice: To prevent equipment damage, never connect or disconnect the wiring harness connection from the EBCM with the ignition switch in the ON position.


    Object Number: 262198  Size: SH
  1. Turn the ignition switch to the OFF position.
  2. Remove the power steering fluid reservoir bolt (2).
  3. Lay the power steering fluid reservoir (1) to one side.
  4. Remove the upper radiator hose from the engine only. Refer to Radiator Outlet Hose Replacement in Engine Cooling.
  5. Move the radiator hose to one side.

  6. Object Number: 174759  Size: SH
  7. Remove the cover from the relay center (1).
  8. Remove the Engine Control Module (ECM) (2) from the relay center (1).
  9. Move the ECM harness to one side.

  10. Object Number: 230405  Size: SH

    Notice: To prevent equipment damage, never connect or disconnect the wiring harness connection from the EBCM with the ignition switch in the ON position.

    Notice: Avoid getting water, brake fluid or engine coolant into the socket of the EBCM/EBTCM connector. Failure to observe this precaution could result in damage to the EBCM/EBTCM.

  11. Pull out lock tab (1) from EBCM harness connector.
  12. Disconnect the EBTCM harness connector.

  13. Object Number: 262243  Size: SH

    Important: Note the locations of the brake pipes in order to aid in installation.

  14. Disconnect the wheel cylinder brake pipes (2) from the BPMV (1).
  15. Disconnect the master cylinder brake pipes (2) from the BPMV (1).
  16. Plug the brake pipes to prevent loss of fluid and entrance of dirt.

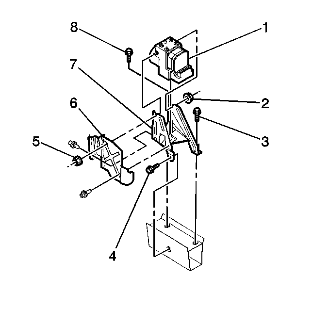
  17. Object Number: 262247  Size: SH
  18. Remove the two nuts (2) that connect the BPMV (1) to the BPMV bracket.
  19. Slide the heat shield (3) off the insulator stud (2).

  20. Object Number: 262251  Size: SH
  21. Push brake pipes to one side.
  22. Important: Reposition the brake pipes only as necessary to remove the BPMV from the bracket.

    Notice: When removing the brake pressure modulator valve, protect the vehicle exterior from possible brake fluid spillage. Brake fluid can cause damage to painted surfaces.

  23. Remove the BPMV and EBCM (1) as an assembly from the bracket (7).
  24. Remove EBCM if replacing the BPMV only. Refer to Electronic Brake Control Module Replacement .

Installation Procedure


    Object Number: 262251  Size: SH
  1. Install EBTCM if replacing the BPMV only. Refer to Electronic Brake Control Module Replacement .
  2. Install BPMV and EBTCM (1) as an assembly into the BPMV bracket (7). Align the flats of the studs on the BPMV (1) with the BPMV bracket (7). Make sure the BPMV is all the way down onto the lower insulator stud.

  3. Object Number: 262247  Size: SH
  4. Slide the heat shield (3) onto the insulator stud (2).
  5. Notice: Use the correct fastener in the correct location. Replacement fasteners must be the correct part number for that application. Fasteners requiring replacement or fasteners requiring the use of thread locking compound or sealant are identified in the service procedure. Do not use paints, lubricants, or corrosion inhibitors on fasteners or fastener joint surfaces unless specified. These coatings affect fastener torque and joint clamping force and may damage the fastener. Use the correct tightening sequence and specifications when installing fasteners in order to avoid damage to parts and systems.

  6. Install the two BPMV to BPMV bracket nuts (2).
  7. Tighten
    Tighten the two BPMV to BPMV bracket nuts to 12 N·m (106 lb in).


    Object Number: 262243  Size: SH

    Important: If a new BPMV is being installed, remove the shipping plugs from the valve openings in the compartment during the next step.

    Important: Use the locations noted during removal.

    Caution: Make sure brake pipes are correctly connected to brake pressure modulator valve. If brake pipes are switched by mistake, wheel lockup will occur and personal injury may result. The only two ways this condition can be detected are by using a Scan Tool or by doing an Antilock stop.

  8. Install the master cylinder brake pipes (2) on the BPMV (1).
  9. Install the wheel cylinder brake pipes (2) on the BPMV (1).
  10. Tighten
    Tighten all of the brake pipe fittings to 15 N·m (11 lb ft).


    Object Number: 230405  Size: SH
  11. Connect the EBCM harness connector.
  12. Push in lock tab (1).

  13. Object Number: 174759  Size: SH
  14. Install the ECM (2) into the relay center (1).
  15. Install the relay center cover.

  16. Object Number: 262198  Size: SH
  17. Install the upper radiator hose to the engine. Refer to Radiator Outlet Hose Replacement in Engine Cooling.
  18. Install the power steering fluid reservoir (1).
  19. Fill and bleed the brake hydraulic system. Refer to Hydraulic Brake System Bleeding in Hydraulic Brakes.
  20. Turn the ignition switch to the ON position, engine off.
  21. Perform the Diagnostic System Check - ABS