GM Service Manual Online
For 1990-2009 cars only
Makes
🢒
Cadillac
🢒
2001
🢒
Catera
🢒
Transmission/Transaxle
🢒
Shift Lock Control
🢒 Shift Lock Control Component Views
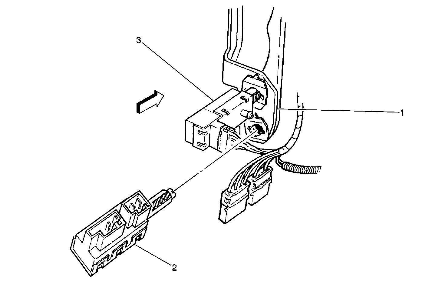
Under the Left Side of the Instrument Panel
(1)
Brake Pedal Support Bracket
(2)
Stoplamp/Auto Trans Shift Lock Control Switch
(3)
ABS/TCC Switch