GM Service Manual Online
For 1990-2009 cars only

Removal Procedure

Tools Required

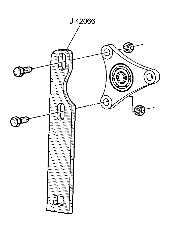
    • J 42066 Rear Hub Holding Tool
    • J 6125-1B Slide Hammer
    • J 23129 Axle Boot Remover
    • J 36797-A Getrag Axle Output Shaft Seal Installer
  1. Raise and support the vehicle. Refer to Lifting and Jacking the Vehicle in General Information.

  2. Object Number: 159587  Size: SH
  3. Remove the propeller shaft coupling bolts.
  4. Remove the propeller shaft coupling from drive flange. Use a screwdriver to pry propeller shaft coupling away from drive flange.

  5. Object Number: 159588  Size: MH
  6. Install the J 42066 to the drive flange.
  7. While holding the J 42066 to remove the flange nut.
  8. Discard the flange nut.

  9. Object Number: 174778  Size: SH
  10. Remove the drive flange (49) from transmission output shaft.

  11. Object Number: 174779  Size: SH
  12. Use the J 6125-1B and the J 23129 to remove the transmission case extension seal (50).

Installation Procedure


    Object Number: 175292  Size: SH
  1. Using the J 36797-A install the new transmission case extension seal (50).

  2. Object Number: 174778  Size: SH
  3. Install the drive flange (49).

  4. Object Number: 159588  Size: MH
  5. Install the J 42066 to the drive flange.
  6. Notice: Use the correct fastener in the correct location. Replacement fasteners must be the correct part number for that application. Fasteners requiring replacement or fasteners requiring the use of thread locking compound or sealant are identified in the service procedure. Do not use paints, lubricants, or corrosion inhibitors on fasteners or fastener joint surfaces unless specified. These coatings affect fastener torque and joint clamping force and may damage the fastener. Use the correct tightening sequence and specifications when installing fasteners in order to avoid damage to parts and systems.

  7. Install the washer and the new flange nut.
  8. While holding the J 42066 tighten the drive flange nut.

    Tighten
    Tighten the drive flange nut to 100 N·m (74 lb ft).


    Object Number: 159587  Size: SH
  9. Install the propeller shaft coupling to drive flange.
  10. Install the propeller shaft coupling bolts.
  11. Tighten
    Tighten the propeller shaft coupling bolts to 95 N·m (70 lb ft).

  12. Lower the vehicle.