GM Service Manual Online
For 1990-2009 cars only

Tools Required

J 44246 Solenoid Testing Kit

Leak Test Procedure

    Important: 

       • This procedure tests On/Off type solenoid valves.
       • Visually inspect the physical condition of the solenoid before testing. Inspect the O-rings before and after the test to be sure that they are not cut or damaged.

  1. Remove the solenoid from the control valve body. Refer to Torque Converter Clutch Solenoid Replacement , 1-2 and 3-4 Shift Solenoid Replacement or 2-3 Shift Solenoid Valve Replacement .

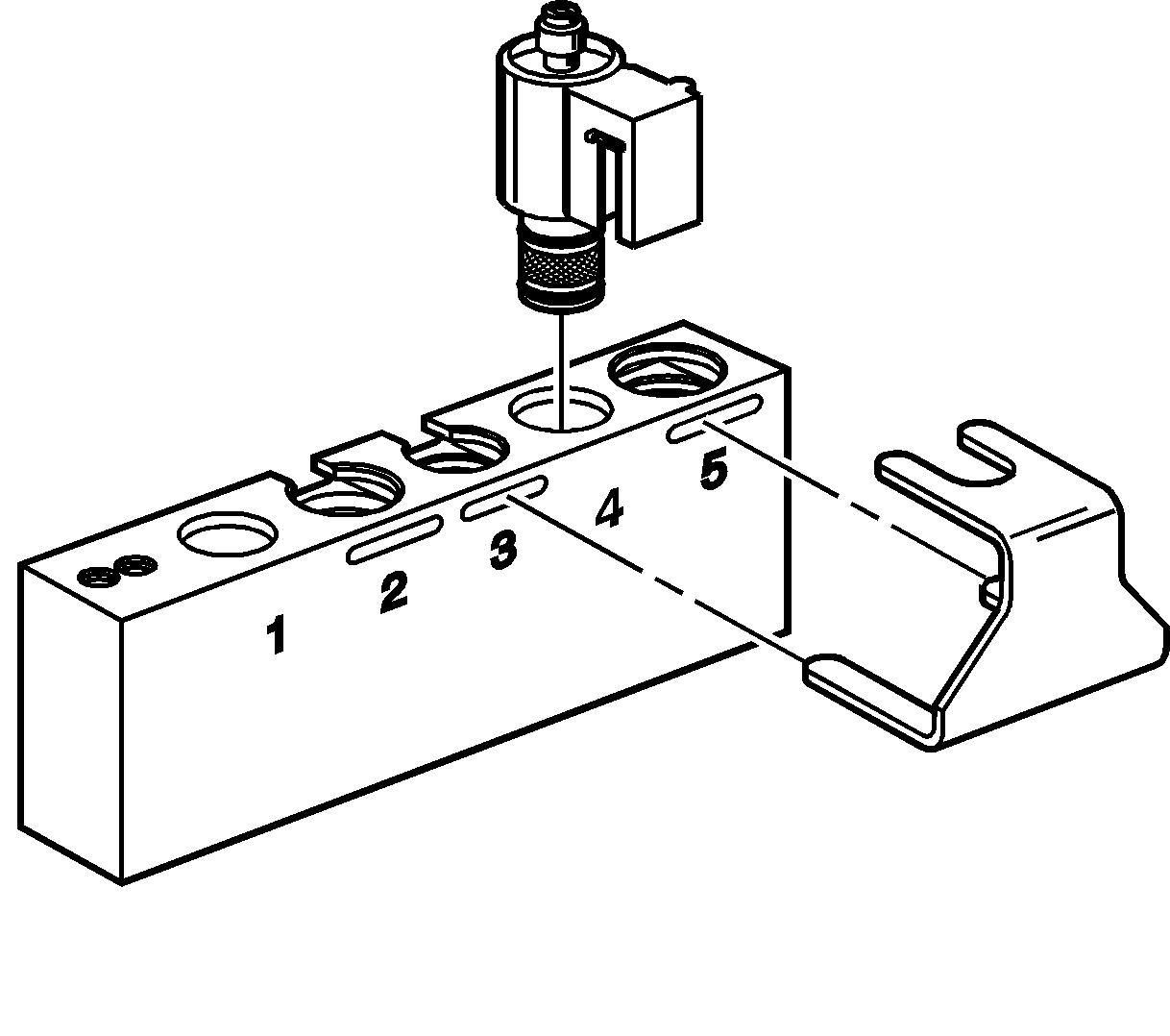
  2. Object Number: 665112  Size: SH

    Important: For 4L30-E solenoids use the retainer supplied with the J 44246 . This retainer clip is used to retain solenoids in bore four of the J 44246 . The legs of this clip are installed through the retainer slots of bores three and five.

  3. Install the TCC solenoid valve, the 1-2/3-4 shift solenoid valve or the 2-3 shift solenoid valve into bore number 4 of the J 44246 and install the retainer clip supplied with the J 44246 to retain the solenoid.

  4. Object Number: 665118  Size: SH
  5. Connect the solenoid testing harness supplied with the J 44246 to the solenoid.
  6. Important: Do not use air pressure in excess of 120 psi. Excessive pressure will not allow the solenoid ball check valve to seat properly. Recommended air pressure is 50 psi.

  7. Apply compressed air to the J 44246 .
  8. Connect the solenoid testing harness to the (12 volt) positive and negative (-) battery terminals.
  9. Observe if the solenoid is operating electrically. An audible clicking noise can be heard when connecting or disconnecting power.
  10. Important: 

       • All solenoids need to be energized to seal.
       • A small amount of air leakage is normal (+/- 3 psi) (+/- 21 kPa).

  11. Observe the air flow through the solenoid. The flow will completely or nearly completely stop. Replace the solenoid if there continues to be an obvious air leak when the solenoid is energized.
  12. Important: Inspect the O-rings after the test to be sure that they are not cut or damaged.

  13. Install the solenoid into the control valve body. Refer to Torque Converter Clutch Solenoid Replacement , 1-2 and 3-4 Shift Solenoid Replacement or 2-3 Shift Solenoid Valve Replacement .