GM Service Manual Online
For 1990-2009 cars only

Tools Required

J 39400-A Halogen Leak Detector

Removal Procedure

  1. Recover the refrigerant from the A/C system. Refer to Refrigerant Recovery and Recharging .
  2. Drain the cooling system. Refer to Cooling System Draining and Filling in Engine Cooling.

  3. Object Number: 309505  Size: SH
  4. Remove the heater hose quick connects from the heater core pipes:
  5. • Raise the air inlet screen on the passenger side and open the access door near the pollen filter.
    • Squeeze the tabs on the locking collar and pull back on the sleeve to unlock.
    • Carefully pull back the tabs to remove the disconnects.
    • Discard the green assembly markers (1) if attached.

    Object Number: 153145  Size: SH
  6. Remove the evaporator tube extension block fitting bolt.
  7. Remove the IP carrier. Refer to Instrument Panel Carrier Replacement in Instrument Panel, Gauges and Console.

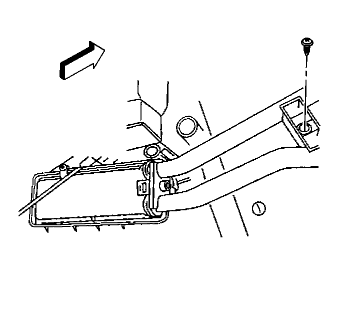
  8. Object Number: 153281  Size: SH
  9. Remove the IP support bracket bolt from the IP.
  10. Remove the IP support bracket.

  11. Object Number: 153286  Size: SH
  12. Disconnect the vacuum line connection at the cowl.

  13. Object Number: 153150  Size: SH
  14. Disconnect the vacuum actuator electrical connectors.
  15. Disconnect the vacuum lines from the vacuum actuators.

  16. Object Number: 153279  Size: SH
  17. Remove the heater core pipe bracket screw.
  18. Remove the heater core pipe bracket.

  19. Object Number: 153280  Size: SH
  20. Remove the heater core pipe retaining bracket screw.
  21. Remove the heater core pipes.

  22. Object Number: 153287  Size: SH
  23. Remove the HVAC module to cowl screws.

  24. Object Number: 153288  Size: SH
  25. Remove the HVAC module to IP support nut.

  26. Object Number: 153289  Size: SH
  27. Remove the LH/RH rear supply duct screws from the module.
  28. Remove the ducts from the HVAC module.
  29. Reposition the wiring harness to allow the removal of the module.

  30. Object Number: 153290  Size: SH
  31. Remove the HVAC module.

Installation Procedure


    Object Number: 153290  Size: SH
  1. Install the HVAC module.
  2. Position the wiring harness to facilitate the module.

  3. Object Number: 153289  Size: SH
  4. Install the RH/LH rear supply ducts.
  5. Install the duct screws until fully seated and not stripped.

  6. Object Number: 153288  Size: SH

    Notice: Use the correct fastener in the correct location. Replacement fasteners must be the correct part number for that application. Fasteners requiring replacement or fasteners requiring the use of thread locking compound or sealant are identified in the service procedure. Do not use paints, lubricants, or corrosion inhibitors on fasteners or fastener joint surfaces unless specified. These coatings affect fastener torque and joint clamping force and may damage the fastener. Use the correct tightening sequence and specifications when installing fasteners in order to avoid damage to parts and systems.

  7. Install the HVAC module to IP support nut.
  8. Tighten
    Tighten the nut to 4 N·m (35 lb in).


    Object Number: 153287  Size: SH
  9. Install the HVAC module to cowl screws.
  10. Tighten
    Tighten the screws to 4 N·m (35 lb in).


    Object Number: 153280  Size: SH
  11. Install the heater core inlet and outlet pipes:
  12. • Use new O-rings.
    • Lightly lubricate the O-rings with coolant.
  13. Install the heater core pipe retaining bracket screw.
  14. Tighten
    Tighten the screw to 5 N·m (44 lb in).


    Object Number: 153279  Size: SH
  15. Install the heater core pipe bracket.
  16. Install the heater core pipe bracket screw.
  17. Tighten
    Tighten the screw to 1.6 N·m (14 lb in).


    Object Number: 153281  Size: SH
  18. Install the IP support bracket.
  19. Install the IP support bracket bolts.
  20. Tighten
    Tighten the bolts to 22 N·m (16 lb ft).

  21. Connect the vacuum actuator electrical connectors.
  22. Connect the vacuum lines to the vacuum actuators.

  23. Object Number: 153286  Size: SH
  24. Connect the vacuum line connection at the cowl.
  25. Install the IP carrier. Refer to Instrument Panel Carrier Replacement in Instrument Panel, Gages and Console.

  26. Object Number: 153142  Size: SH
  27. Install the evaporator tube extension block fitting bolt.
  28. Tighten
    Tighten the bolt to 20 N·m (15 lb ft).


    Object Number: 309508  Size: SH
  29. Install the heater hose quick connects to the heater core pipe connections:
  30. • Discard green assembly marker (1) if not attached to the quick connect.
    • Inspect that the quick connects are fully seated.
    • Squeeze the locking tabs (2) and push the retaining sleeve (3) into the locked position.
    • Close the access door near the pollen filter and lower the air inlet screen on the passenger side.
  31. Fill the cooling system. Refer to Cooling System Draining and Filling in Engine Cooling.
  32. Evacuate and recharge the A/C system. Refer to Refrigerant Recovery and Recharging .
  33. Leak test the fittings of the component using J 39400-A .