GM Service Manual Online
For 1990-2009 cars only
Makes
🢒
Cadillac
🢒
2001
🢒
Catera
🢒
Body and Accessories
🢒
Garage Door Opener
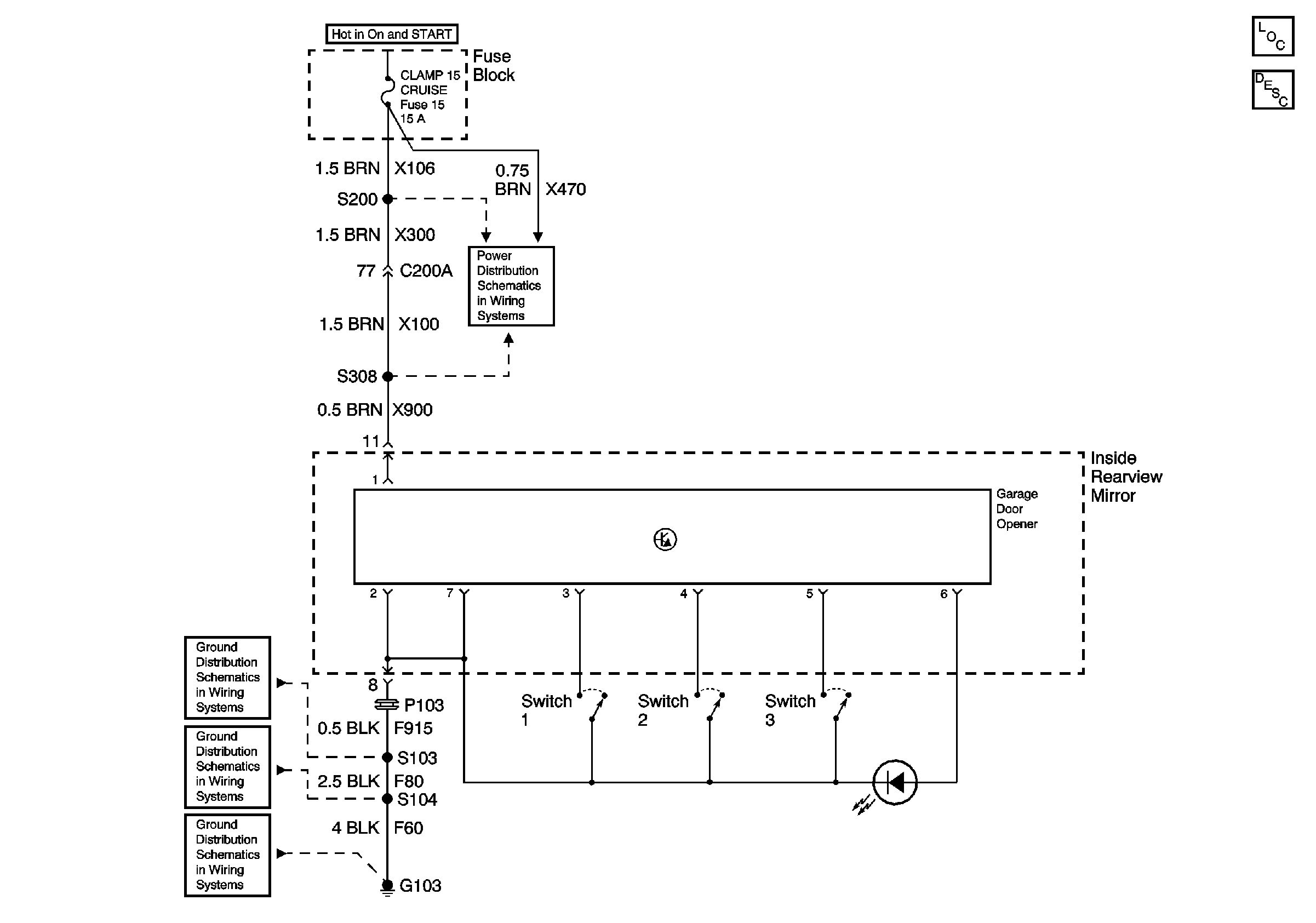
🢒 Garage Door Opener Schematics
Master Electrical Component List
Garage Door Opener Description and Operation
Underhood Fuse Block Fuses V1 and V4, and Ignition Switch
Fuse Block Fuse 15
G103 (4 of 8)
G103 (3 of 8)
G103 (1 of 8)