GM Service Manual Online
For 1990-2009 cars only

Tools Required

J 25070 Heat Gun

Removal Procedure

  1. When replacing or repairing a body side molding do the following:
  2. 1.1. Use tape to protect the mounting surface during removal.
    1.2. Use tape for alignment marks for installation of the body side molding.

    Object Number: 643109  Size: SH
  3. To remove a body side molding, heat the body side molding using a J 25070 .
  4. Hold the J 25070 approximately 152 mm (6 in) from the surface.
  5. Apply heat using a circular motion for about 30 seconds.

  6. Object Number: 243308  Size: SH

    Notice: Use a plastic, flat-bladed tool to prevent paint damage when removing an emblem/name plate.

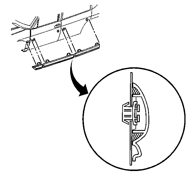
  7. Use a plastic, flat-bladed tool to lift or remove the body side molding from the panel surface.
  8. Important: If tape is still intact on the molding or panel, do not remove the tape. Clean the tape and the mating surface with adhesive cleaner. Wipe the tape and the mating surface with a clean, lint free cloth. If the tape is damaged, continue with the replacement procedure.

  9. Apply the adhesive foam tape to the back of the body side molding and press the molding in place.
  10. When replacing, remove all adhesive as follows:
  11. • For body panels, use a 3M™ Scotch Brite molding adhesive remover disk 3M™ P/N 07501 or equivalent.
    • For plastic panels, use a lint free cloth and Varnish Makers and Painters (VMP) naphtha or a (50/50 mixture) by volume of isopropyl alcohol and water to remove the adhesive.

Installation Procedure

    Important: Apply the body side molding in an environment that is free from dust or other dirt that could come into contact with the sticky backing. Foreign material may cause improper adhesion.

  1. Clean the area where the body side molding will be installed.
  2. Use a lint free cloth and Varnish Makers and Painters (VMP) naphtha or a (50/50 mixture) by volume of isopropyl alcohol and water to clean the area.

  3. Dry the area thoroughly.

  4. Object Number: 243308  Size: SH
  5. Apply tape and mark the location as shown.
  6. Heat the mounting surface to approximately 27-41°C (80-105°F) using a J 25070 , if necessary.
  7. Ensure that the temperature of the body side molding is approximately 29-32°C (85-90°F).
  8. Remove the protective liner from the back of the body side molding.
  9. Position the body side molding to the location marks and press the molding to the mounting surface.
  10. Apply equal pressure along the body side molding to uniformly bond the item to the mounting surface.
  11. Remove the protective tape from the mounting surface.