GM Service Manual Online
For 1990-2009 cars only

Removal Procedure


    Object Number: 163223  Size: SH
  1. Open the rear compartment.
  2. Remove the rear end trim panel. Refer to Rear Compartment Lid Inner Panel Trim Replacement .
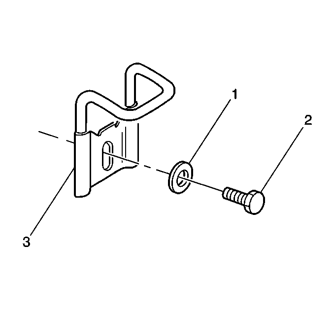
  3. Remove the rear compartment lid latch striker (2) bolt.
  4. Remove the rear compartment lid latch striker washer (1).
  5. Remove the rear compartment lid latch striker (3).

Installation Procedure


    Object Number: 163223  Size: SH
  1. Install the rear compartment lid latch striker (3).
  2. Install the rear compartment lid latch striker washer (1).
  3. Notice: Use the correct fastener in the correct location. Replacement fasteners must be the correct part number for that application. Fasteners requiring replacement or fasteners requiring the use of thread locking compound or sealant are identified in the service procedure. Do not use paints, lubricants, or corrosion inhibitors on fasteners or fastener joint surfaces unless specified. These coatings affect fastener torque and joint clamping force and may damage the fastener. Use the correct tightening sequence and specifications when installing fasteners in order to avoid damage to parts and systems.

  4. Install the rear compartment lid latch striker bolt (2).
  5. Tighten
    Tighten the rear compartment lid latch striker bolt to 20 N·m (15 lb ft).

  6. Install the rear end trim panel. Refer to Rear Compartment Trim Panel Replacement .
  7. Close the rear compartment.