GM Service Manual Online
For 1990-2009 cars only
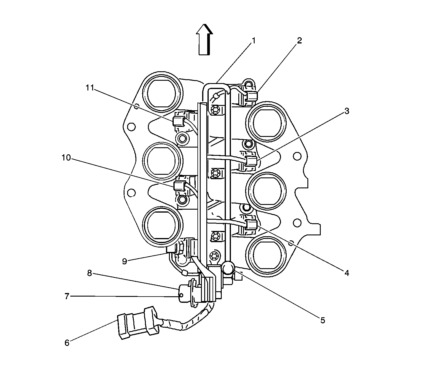
Figure 1:

Top of Engine, Under Plenum


Object Number: 657867  Size: LF
(1)Fuel Rail
(2)Sequential Multiport Fuel Injector 1
(3)Sequential Multiport Fuel Injector 3
(4)Sequential Multiport Fuel Injector 5
(5)Fuel Pressure Service Port
(6)C112
(7)Fuel Pressure Regulator -- Atmospheric Vent Port
(8)Fuel Pressure Regulator
(9)Sequential Multiport Fuel Injector 6
(10)Sequential Multiport Fuel Injector 4
(11)Sequential Multiport Fuel Injector 2
Figure 2:

Left Side of Transmission


Object Number: 189260  Size: LF
(1)Engine Control Module (ECM) Harness
(2)Vehicle Speed Sensor (VSS)
(3)Connector to Heated Oxygen Sensor (HO2S) Bank 1, Sensor 2
(4)Connector to Heated Oxygen Sensor (HO2S) Bank 2, Sensor 2
(5)A/T Main Case Connector
(6)A/T Range Switch
(7)A/T Adapter Case
(8)Harness to Heated Oxygen Sensor (HO2S) Bank 1, Sensor 1
(9)Connector to Heated Oxygen Sensor (HO2S) Bank 1, Sensor 1
Figure 3:

Engine Compartment


Object Number: 241222  Size: LF
(1)Windshield Wiper Motor
(2)Brake Fluid Level Switch
(3)C105
(4)C106
(5)C102
(6)G103
Figure 4:

Lower Left A-Pillar and Lower Left Front of Engine


Object Number: 241220  Size: LF
(1)C500
(2)P103
(3)G200
(4)Telephone Antenna Connector
(5)Negative Battery Cable
(6)G100
(7)C200
Figure 5:

I/P Harness Routing


Object Number: 704374  Size: MF
(1)Cellular Phone Connector
(2)Wiring Harness Passenger Side
(3)Glove Compartment Lamp Switch Connector
(4)Glove Compartment Lamp
(5)Inflatable Restraint IP Module Connector
(6)Heated Seat Switch -- Front Passenger Connector
(7)Electronic Traction Control Switch -- Connector
(8)Instrument Panel Cluster (IPC) -- Connector
(9)Ambient Light/Sunload Sensor -- Connector
(10)Theft Deterrent Module Connector
(11)Inflatable Restraint Steering Wheel module Coil Connector
(12)Windshield Wiper and Windshield Washer Switch Connector
(13)G201
(14)Ignition Switch -- Connector
(15)Instrument Panel Cluster (IPC) Connector
(16)Cruise Control Switch Connector
(17)Turn Signal Switch Connector
(18)Headlamp Switch Connector
Figure 6:

Right Kickpanel


Object Number: 241588  Size: LF
(1)Central Locking Relay K135
(2)Lower Right A-Pillar
(3)Body Wiring Harness
(4)Wiring Harness
(5)Body Control Module (BCM)
(6)Body Wiring Harness
(7)C210
Figure 7:

Roof Harness Routing


Object Number: 712177  Size: MF
(1)Roof Harness
(2)Infrared-Receiver Connector
(3)Sunroof Actuator
(4)Dome and Reading Lamps
(5)Microphone, (Cellular Phone)
(6)Sunshade
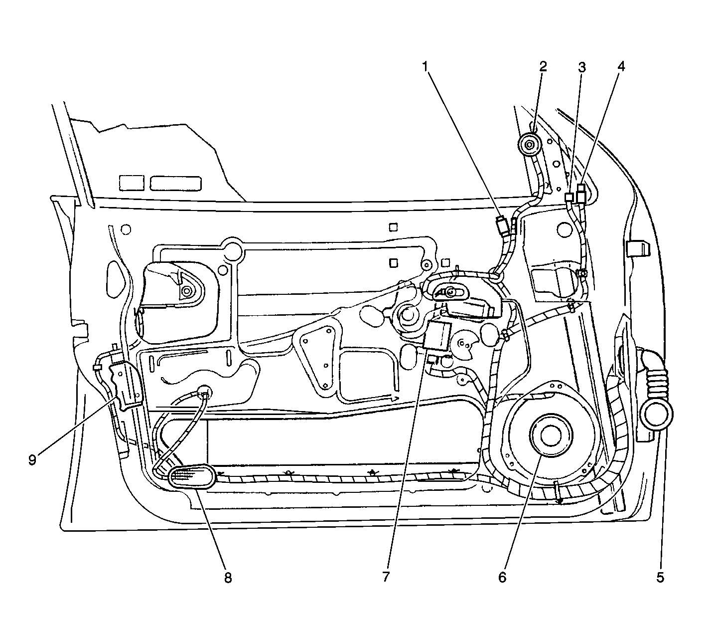
Figure 8:

Driver Door, Front Passenger Similar


Object Number: 241671  Size: LF
(1)Door Switch -- Driver
(2)Radio Front Side Door Speaker, LH (Tweeter)
(3)Door Switch -- Driver Connector
(4)Outside Rearview Mirror -- Driver Connector
(5)C500, C600 Similar
(6)Radio Front Side Door Speaker, LH
(7)Window Motor -- Driver
(8)Courtesy Lamp -- Driver
(9)Door Lock Actuator -- Driver
Figure 9:

Bottom Of Driver Seat


Object Number: 241643  Size: LF
(1)C315
(2)C315B
(3)C315C
(4)C310 (AG8)
(5)C315D
Figure 10:

Bottom of Passenger Seat


Object Number: 241652  Size: LF
(1)C316D
(2)C316C
(3)C316
Figure 11:

Left Rear Door, Right Rear Similar


Object Number: 241681  Size: LF
(1)Window Motor -- LR
(2)P700, P800 Similar
(3)C303, C304 Similar
(4)Radio Rear Side Door Speaker, LH (Tweeter)
(5)Radio Rear Side Door Speaker, LH
(6)Door Courtesy Lamp -- LR
(7)Door Lock Actuator -- LR
(8)Window Switch -- LR Connector
Figure 12:

Heated Rear Seats Subsystem


Object Number: 241687  Size: LF
(1)Heated Seat Back Cushion Elements, LR and RR
(2)Heated Seat Back Cushion Elements, LR and RR, Connectors
(3)Heated Seat Cushion Elements
(4)C320
(5)Heated Seat Relays, LR and RR
(6)Heated Seat Switches, LR and RR
(7)Body Wiring Harness
(8)Heated Seat Cushion Element Connector