|
| ||||||||||||||
|---|---|---|---|---|---|---|---|---|---|---|---|---|---|---|---|
Connector Part Information |
| Connector Part Information |
| ||||||||||||
Pin | Wire Color | Circuit No. | Function | Pin | Wire Color | Circuit No. | Function | ||||||||
A | GRY/RED | RA1 | RH Cornering Lamp Signal | A | GRY/RED | RA998 | RH Cornering Lamp Signal | ||||||||
B | BLK/WHT | FM1 | LH Park/Turn Lamp Signal | B | BLK/WHT | FM40 | LH Park/Turn Lamp Signal | ||||||||
C | BLK/GRN | FU1 | RH Park/Turn Lamp Signal | C | BLK/GRN | FU40 | RH Park/Turn Lamp Signal | ||||||||
D | GRY/BLK | RF1 | LH Cornering Lamp Signal | D | GRY/BLK | RF998 | LH Cornering Lamp Signal | ||||||||
E | BLK | F1 | Ground to G103 | E | BLK | F400 | Ground to G103 | ||||||||
F | GRY/GRN | RU1 | B+ from Fuse #26 | F | GRY/GRN | RU40 | B+ from Fuse #26 | ||||||||
G | BRN | X1 | Fog Lamp On Signal | G | BRN | X1 | Fog Lamp On Signal | ||||||||
H | BLU/WHT | PM4 | Outside Temperature SIgnal | H | BLU/WHT | PM4 | Outside Temperature SIgnal | ||||||||
J | BLU | P11 | Solar/Twilight Sensor Ground | J | BLU | P11 | Solar/Twilight Sensor Ground | ||||||||
K | -- | -- | Not Used | K | -- | -- | Not Used | ||||||||
| |||||||||||||||
|---|---|---|---|---|---|---|---|---|---|---|---|---|---|---|---|
Connector Part Information |
| Connector Part Information |
| ||||||||||||
Pin | Wire Color | Circuit No. | Function | Pin | Wire Color | Circuit No. | Function | ||||||||
1 | RED | A990 | B+ from Fuse #33 | 1 | RED | A2 | B+ from Fuse #33 | ||||||||
2 | -- | -- | Not Used | 2 | -- | -- | Not Used | ||||||||
3 | YEL/BLU | BP900 | A/C Cutout Signal | 3 | YEL/BLU | BP1 | A/C Cutout Signal | ||||||||
4 | BLK/WHT | FM7 | A/C Request Signal | 4 | BLK/WHT | FM7 | A/C Request Signal | ||||||||
5 | BRN | X79 | B+ from Fuse #13 | 5 | BRN | X69 | B+ from Fuse #13 | ||||||||
6 | -- | -- | Not Used | 6 | -- | -- | Not Used | ||||||||
| |||||||||||||||
|---|---|---|---|---|---|---|---|---|---|---|---|---|---|---|---|
Connector Part Information |
| Connector Part Information |
| ||||||||||||
Pin | Wire Color | Circuit No. | Function | Pin | Wire Color | Circuit No. | Function | ||||||||
2 | BLU/GRN | PU1 | Oil Pressure Switch Signal | 2 | BLU/GRN | PU1 | Oil Pressure Switch Signal | ||||||||
3 | BLU/WHT | PM1 | Charging Indicator Signal | 3 | BLU/WHT | PM1 | Charging Indicator Signal | ||||||||
4 | BRN/GRN | XU4 | Oil Level Signal | 4 | BRN/GRN | XU600 | Oil Level Signal | ||||||||
6 | BLK | F120 | Oil Level Signal | 6 | BLK | F63 | Oil Level Signal | ||||||||
8 | BLK/RED | FA50 | Starter Switch Signal | 8 | BLK/RED | FA501 | Starter Switch Signal | ||||||||
14 | BLU/YEL | PB1 | Oil Pressure Sensor Signal | 14 | BLU/YEL | PB90 | Oil Pressure Sensor Signal | ||||||||
| |||||||||||||||
|---|---|---|---|---|---|---|---|---|---|---|---|---|---|---|---|
Connector Part Information |
| Connector Part Information |
| ||||||||||||
Pin | Wire Color | Circuit No. | Function | Pin | Wire Color | Circuit No. | Function | ||||||||
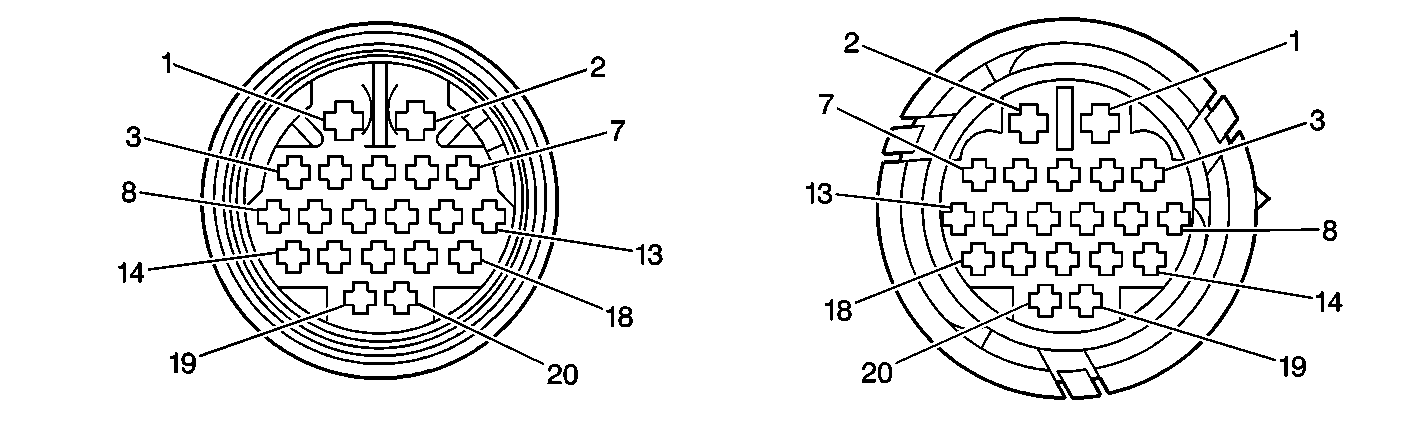
1 | BRN | X61 | B+ Switch Ignition to Ignition Coils | 1 | BRN | X68 | B+ Switch Ignition to Ignition Coils | ||||||||
2 | RED/BLU | AP3 | B+ from Engine Controls Relay to ECM | 2 | RED/BLU | AP4 | B+ from Engine Controls Relay to ECM | ||||||||
3-8 | -- | -- | Not Used | 3-8 | -- | -- | Not Used | ||||||||
9 | -- | -- | Not Used | 9 | BRN/WHT | XM799 | Serial Data | ||||||||
10 | BRN | X756 | Ignition Voltage from Fuse #3 | 10 | BRN | X756 | Ignition Voltage from Fuse #3 | ||||||||
11-14 | -- | -- | Not Used | 11-14 | -- | -- | Not Used | ||||||||
15 | BLU | P901 | Instrument Cluster to Coolant Temperature Sensor | 15 | BLU | P900 | Instrument Cluster to Coolant Temperature Sensor | ||||||||
16 | -- | -- | Not Used | 16 | -- | -- | Not Used | ||||||||
17 | BRN/YEL | XP952 | Heated Oxygen Signal | 17 | BRN/BLU | XP34 | Heated Oxygen Sensor Signal | ||||||||
18-20 | -- | -- | Not Used | 18-20 | -- | -- | Not Used | ||||||||
| |||||||||||||||
|---|---|---|---|---|---|---|---|---|---|---|---|---|---|---|---|
Connector Part Information |
| Connector Part Information |
| ||||||||||||
Pin | Wire Color | Circuit No. | Function | Pin | Wire Color | Circuit No. | Function | ||||||||
1 | BLK/RED | FA500 | Positive Ignition Voltage | 1 | BLK/RED | FA700 | Positive Ignition Voltage | ||||||||
2 | BLK/RED | FA501 | Transmission Position Signal | 2 | BLK/RED | FA501 | Transmission Position Signal | ||||||||
3 | BLU/YEL | PB743 | 2-3 Shift Solenoid Control | 3 | BLU/YEL | PB743 | 2-3 Shift Solenoid Control | ||||||||
4 | GRY/BLK | RF745 | Band Apply Solenoid Control | 4 | GRY/BLK | RF745 | Band Apply Solenoid Control | ||||||||
5 | BLU/BLK | PF754 | 12 Volt Reference from TCM | 5 | BLU/BLK | PF754 | 12 Volt Reference from TCM | ||||||||
6 | BLU/WHT | PM748 | 1-2 and 3-4 Shift Solenoid Control | 6 | BLU/WHT | PM748 | 1-2 and 3-4 Shift Solenoid Control | ||||||||
7 | BLK/YEL | FB738 | TCC Solenoid Control | 7 | BLK/YEL | FB738 | TCC Solenoid Control | ||||||||
8 | BLK/PPL | FY740 | Pressure Control Solenoid Signal HIGH | 8 | BLK/PPL | FY740 | Pressure Control Solenoid Signal HIGH | ||||||||
9 | BLK/BLU | FP722 | Transmission Fluid Temperature Signal | 9 | BLK/BLU | FP722 | Transmission Fluid Temperature Signal | ||||||||
10 | GRY/RED | RA741 | Pressure Control Solenoid Signal LOW | 10 | GRY/RED | RA741 | Pressure Control Solenoid Signal LOW | ||||||||
11 | BLU/GRN | PU705 | Output Shaft Speed Signal | 11 | BLU/GRN | PU714 | Output Shaft Speed Signal | ||||||||
12 | BLK | S10 | Shield Wire | 12 | BLK | S40 | Shield Wire | ||||||||
13 | WHT/BLK | MF757 | B+ Ignition to Automatic Transmission Switch | 13 | WHT/BLK | MF757 | B+ Ignition to Automatic Transmission Switch | ||||||||
14 | BLK/YEL | FB708 | Transmission Position Signal | 14 | BLK/YEL | FB708 | Transmission Position Signal | ||||||||
15 | BLK/YEL | FB703 | Output Shaft Speed Signal | 15 | BLK/YEL | FB720 | Output Shaft Speed Signal | ||||||||
16 | -- | -- | Not Used | 16 | -- | -- | Not Used | ||||||||
17 | GRY | R733 | Transmission Position Signal | 17 | GRY | R733 | Gear Position Input Signal | ||||||||
18 | BLK/BLU | FP733 | Transmission Position Signal | 18 | BLK/BLU | FP10 | Gear Position Input Signal | ||||||||
19 | BLK/GRN | FU726 | Transmission Position Signal | 19 | BLK/GRN | FU2 | Gear Position Input Signal | ||||||||
20 | BRN/GRN | XU716 | Transmission Fluid Temperature Signal | 20 | BRN/GRN | XU716 | Transmission Fluid Temperature Signal | ||||||||
| |||||||||||||||
|---|---|---|---|---|---|---|---|---|---|---|---|---|---|---|---|
Connector Part Information |
| Connector Part Information |
| ||||||||||||
Pin | Wire Color | Circuit No. | Function | Pin | Wire Color | Circuit No. | Function | ||||||||
A | BRN | X1 | Heated Nozzle On Signal | A | BRN | X600 | Heated Nozzle On Signal | ||||||||
B | BLK | F1 | Ground to G103 | B | BLK | F600 | Ground to G103 | ||||||||
| |||||||||||||||
|---|---|---|---|---|---|---|---|---|---|---|---|---|---|---|---|
Connector Part Information |
| Connector Part Information |
| ||||||||||||
Pin | Wire Color | Circuit No. | Function | Pin | Wire Color | Circuit No. | Function | ||||||||
1 | BRN/GRY | XR620 | Secondary Air Injection Pump Control | 1 | BRN/GRY | XR200 | Secondary Air Injection Pump Control | ||||||||
2 | BLK/BLU | FP120 | A/C Load Signal | 2 | BLK/BLU | FP99 | A/C Load Signal | ||||||||
3 | -- | -- | Not Used | 3 | -- | -- | Not Used | ||||||||
4 | BLK/WHT | FM98 | A/C Request Signal | 4 | BLK/WHT | FM99 | A/C Request Signal | ||||||||
5 | BRN/PPL | XY360 | A/C Compressor Relay Control Signal | 5 | BRN/PPL | XY107 | A/C Compressor Relay Control Signal | ||||||||
6 | RED/BLU | AP888 | B+ from Engine Controls Relay | 6 | RED/BLU | AP200 | B+ from Engine Controls Relay | ||||||||
7-9 | -- | -- | Not Used | 7-9 | -- | -- | Not Used | ||||||||
| |||||||||||||||
|---|---|---|---|---|---|---|---|---|---|---|---|---|---|---|---|
Connector Part Information |
| Connector Part Information |
| ||||||||||||
Pin | Wire Color | Circuit No. | Function | Pin | Wire Color | Circuit No. | Function | ||||||||
1 | BRN | X68 | B+ from Fuse #10 | 1 | BRN | X67 | B+ from Fuse #10 | ||||||||
2 | BLK/YEL | FB1 | Interval Switch Signal | 2 | BLK/YEL | FB3 | Interval Switch Signal | ||||||||
3 | BLU | P2 | Windshield Wiper/Washer Mist Signal | 3 | BLU | P2 | Windshield Wiper/Washer Mist Signal | ||||||||
4 | GRN | U10 | Windshield Washer Motor Signal | 4 | GRN | U6 | Windshield Washer Motor Signal | ||||||||
5 | BLK/RED | FA1 | Windshield Washer Pump Signal | 5 | BLK/RED | FA5 | Windshield Washer Pump Signal | ||||||||
6 | BLK/PPL | FY1 | B+ from Fuse #9 | 6 | BLK/PPL | FY3 | B+ from Fuse #9 | ||||||||
| |||||||||||||||
|---|---|---|---|---|---|---|---|---|---|---|---|---|---|---|---|
Connector Part Information |
| Connector Part Information |
| ||||||||||||
Pin | Wire Color | Circuit No. | Function | Pin | Wire Color | Circuit No. | Function | ||||||||
A | BRN/YEL | XB17 | Fuel Injector #1 Control | A | BRN/YEL | XB17 | Fuel Injector #1 Control | ||||||||
B | BRN/GRN | XU16 | Fuel Injector #2 Control | B | BRN/GRN | XU16 | Fuel Injector #2 Control | ||||||||
C | BRN/BLU | XP35 | Fuel Injector 3 Control | C | BRN/BLU | XP35 | Fuel Injector #3 Control | ||||||||
D | BRN/RED | XA34 | Fuel Injector #4 Control | D | BRN/RED | XA34 | Fuel Injector #4 Control | ||||||||
E | BRN/BLK | XF15 | Fuel Injector #5 Control | E | BRN/BLK | XF15 | Fuel Injector #5 Control | ||||||||
F | BRN/PPL | XY33 | Fuel Injector #6 Control | F | BRN/PPL | XY33 | Fuel Injector #6 Control | ||||||||
G | RED/BLU | AP751 | B+ from Relay | G | RED/BLU | AP751 | B+ from Relay | ||||||||
|
| ||||||||||||||
|---|---|---|---|---|---|---|---|---|---|---|---|---|---|---|---|
Connector Part Information |
| Connector Part Information |
| ||||||||||||
Pin | Wire Color | Circuit No. | Function | Pin | Wire Color | Circuit No. | Function | ||||||||
1 | LT BLU | P1 P5 (W8Y) | Door Speaker Feed-LF | 1 | LT BLU | P1 | Door Speaker Feed-LF | ||||||||
2 | BRN/BLU | XP4 XP5 (W8Y) | Door Speaker-LF | 2 | BRN/BLU | XP1 | Door Speaker-LF | ||||||||
3 | WHT | M64 | B+ With High Beams ON | 3 | WHT | M1 | B+ With High Beams ON | ||||||||
4 | BLK/RED | FA3 | WSWA Pump Signal | 4 | BLK/RED | FA80 | WSWA Pump Signal | ||||||||
5 | BRN/WHT | XM700 | Serial Data | 5 | BRN/WHT | XM700 | Serial Data | ||||||||
BRN/WHT | XM15 | Serial Data | |||||||||||||
6 | WHT | M42 M43 (W8Y) | Door Speaker-RR | 6 | WHT | M42 | Door Speaker-RR | ||||||||
7 | BRN/WHT | XM42 XM43 (W8Y) | Door Speaker-RR | 7 | BRN/WHT | XM42 | Door Speaker-RR | ||||||||
8 | RED | A701 | B+ Fuse #25 | 8 | RED | A700 | B+ Fuse #25 | ||||||||
9 | BRN/WHT | XM30 | Horn Relay Control Signal | 9 | BRN/WHT | XM70 | Horn Relay Control Signal | ||||||||
10 | DK BLU | P11 | Solar/Twilight Sensor Ground | 10 | DK BLU | P11 | Solar/Twilight Sensor Ground | ||||||||
11 | GRY/RED | RA30 | B+ With Park lamps ON | 11 | GRY/RED | RA2 | B+ With Park lamps ON | ||||||||
12 | BRN | X79 | B+ Fuse #13 | 12 | BRN | X999 | B+ Fuse #13 | ||||||||
BRN | X701 | B+ Fuse #13 | |||||||||||||
13 | YEL | B8 B9 (W8Y) | Door Speaker-RF | 13 | YEL | B10 | Door Speaker-RF | ||||||||
14 | BRN/YEL | XB10 XB12 (W8Y) | Door Speaker-RF | 14 | BRN/YEL | XB10 | Door Speaker-RF | ||||||||
15 | BRN/WHT | XM300 | Serial Data | 15 | BRN/WHT | XM218 | Serial Data | ||||||||
16 | BLU/BLK | PF900 | 5V Reference | 16 | BLU/BLK | PF901 | 5V Reference | ||||||||
17 | BRN/PPL | XY802 | Low With High Beams ON | 17 | BRN/PPL | XY802 | Low With High Beams ON | ||||||||
18 | BRN | X838 | B+ Fuse #10 | 18 | BRN | X826 | B+ Fuse #10 | ||||||||
19 | YEL | B60 | Low Beams ON/OFF Signal | 19 | YEL | B899 | Low Beams ON/OFF Signal | ||||||||
20 | WHT | M69 | High Beams ON Signal | 20 | WHT | M60 | High Beams ON Signal | ||||||||
21 | BRN/BLU | XP900 | Rear Compartment Lamp Switch Signal | 21 | BRN/BLU | XP901 | Rear Compartment Lamp Switch Signal | ||||||||
22 | RED/YEL | AB810 | TWS ON/OFF Signal | 22 | RED/YEL | AB810 | TWS ON/OFF Signal | ||||||||
23 | YEL | B900 | Gear Out of Park Signal | 23 | YEL | B900 | Gear Out of Park Signal | ||||||||
25 | BLK/BRN | FX810 | TWS Delay SIgnal | 25 | BLK/BRN | FX810 | TWS Delay SIgnal | ||||||||
26 | BRN/RED | XA105 | Traction Control ON Signal | 26 | BRN/RED | XA105 | Traction Control ON Signal | ||||||||
27 | BLK/RED | FA90 | Heated Seat Switch Output-LF | 27 | BLK/RED | FA90 | Heated Seat Switch Output-LF | ||||||||
28 | BRN/BLU | XP840 | Security Lamp Indicator | 28 | BRN/BLU | XP840 | Security Lamp Indicator | ||||||||
29 | BRN/BLK | XF830 | TWS Indicator | 29 | BRN/BLK | XF830 | TWS Indicator | ||||||||
30 | RED/BLU | AP807 | Rear Compartment Open Signal | 30 | RED/BLU | AP822 | Rear Compartment Open Signal | ||||||||
31 | BRN/PPL | XY800 | Interior Lamps Delay Relay Signal | 31 | BRN/PPL | XY800 | Interior Lamps Delay Relay Signal | ||||||||
32 | RED | A12 | B+ Fuse #24 | 32 | RED | A999 | B+ Fuse #24 | ||||||||
33 | BLK/BRN | FX750 | Stoplamp Switch Signal | 33 | BLK/BRN | FX899 | Stoplamp Switch Signal | ||||||||
34 | BRN/BLU | XP33 | TWS Day/NIght Signal | 34 | BRN/BLU | XP830 | TWS Day/NIght Signal | ||||||||
35 | BLK/GRN | FU90 | Heated Seat Switch Input-LF | 35 | BLK/GRN | FU900 | Heated Seat Switch Input-LF | ||||||||
36 | BRN/WHT | XM600 | Serial Data | 36 | BRN/WHT | XM830 | Serial Data | ||||||||
37 | BRN/WHT | XM899 | Horn Relay Signal | 37 | BRN/WHT | XM899 | Horn Relay Signal | ||||||||
39 | RED/BLU | AP100 | B+ Engine Controls Power Relay | 39 | RED/BLU | AP888 | B+ Engine Controls Power Relay | ||||||||
40 | BRN/PPL | XY801 | Interior Lamps Relay Signal | 40 | BRN/PPL | XY801 | Interior Lamps Relay Signal | ||||||||
41 | BLK/PPL | FY810 | TWS Return | 41 | BLK/PPL | FY810 | TWS Return | ||||||||
42 | RED/WHT | AM813 | Low With Parklamps ON | 42 | RED/WHT | AM899 | Low With Parklamps ON | ||||||||
43 | BRN/PPL | XY112 | Interior Lamps ON/OFF Signal | 43 | BRN/PPL | XY112 | Interior Lamps ON/OFF Signal | ||||||||
44 | BRN/BLU | XP803 | Low With Interior Lamps ON | 44 | BRN/BLU | XP803 | Low With Interior Lamps ON | ||||||||
45 | RED/YEL | AB11 | SIR Side Impact Module Output-LF | 45 | RED/YEL | AB11 | SIR Side Impact Module Output-LF | ||||||||
46 | BRN/YEL | XB100 | SIR Side Impact Module Input-LF | 46 | BRN/YEL | XB100 | SIR Side Impact Module Input-LF | ||||||||
47 | RED/WHT | AM13 | SIR Side Impact Module Input-RF | 47 | RED/WHT | AM13 | SIR Side Impact Module Input-RF | ||||||||
48 | BRN/WHT | XM14 | SIR Side Impact Module Output-RF | 48 | BRN/WHT | XM14 | SIR Side Impact Module Output-RF | ||||||||
49 | BRN/YEL | XB105 | ABS Indicator Signal | 49 | BRN/YEL | XB105 | ABS Indicator Signal | ||||||||
50 | BRN/YEL | XB950 | Passenger Seat Belt Pretensioner Output | 50 | BRN/YEL | XB901 | Passenger Seat Belt Pretensioner Output | ||||||||
51 | RED/YEL | AB950 | Passenger Seat Belt Pretensioner Input | 51 | RED/YEL | AB900 | Passenger Seat Belt Pretensioner Input | ||||||||
52 | RED/WHT | AM950 | Driver Seat Belt Pretensioner Input | 52 | RED/WHT | AM900 | Driver Seat Belt Pretensioner Input | ||||||||
53 | BRN/PPL | XY29 | ABS Can Interface High | 53 | BRN/PPL | XY888 | ABS Can Interface High | ||||||||
54 | BRN/GRY | XR12 | ABS Can Interface Low | 54 | BRN/GRY | XR888 | ABS Can Interface Low | ||||||||
55 | BRN/WHT | XM950 | Driver Seat Belt Pretensioner Output | 55 | BRN/WHT | XM901 | Driver Seat Belt Pretensioner Output | ||||||||
56 | YEL | B41 | SIR Side Impact Sensor (LH) Input | 56 | YEL | B41 | SIR Side Impact Sensor (LH) Input | ||||||||
57 | BRN/YEL | XB4 | ABS Indicator SIgnal | 57 | BRN/YEL | XB305 | ABS Indicator SIgnal | ||||||||
58 | BRN/YEL | XB42 | SIR Side Impact Sensor (LH) Output | 58 | BRN/YEL | XB42 | SIR Side Impact Sensor (LH) Output | ||||||||
59 | BLK/BLU | FP7 | Heated Seat Switch Output-RF | 59 | BLK/BLU | FP7 | Heated Seat Switch Output-RF | ||||||||
60 | BRN/WHT | XM430 | SIR Side Impact Sensor (RH) Input | 60 | BRN/WHT | XM430 | SIR Side Impact Sensor (RH) Input | ||||||||
61 | WHT | M44 | SIR Side Impact Sensor (RH) Output | 61 | WHT | M44 | SIR Side Impact Sensor (RH) Output | ||||||||
62 | GRY/WHT | RM1 | Interior Lamps ON/OFF Signal | 62 | GRY/WHT | RM1 | Interior Lamps ON/OFF Signal | ||||||||
63 | BLU/RED | PA60 | Rear Sunshade Switch Signal | 63 | BLU/RED | PA6 | Rear Sunshade Switch Signal | ||||||||
64 | BRN/PPL | XY999 | Serial Data | 64 | BRN/PPL | XY999 | Serial Data | ||||||||
65 | BRN/YEL | XB3 | Windshield Washer Minimum Capacity Signal | 65 | BRN/YEL | XB3 | Windshield Washer Minimum Capacity Signal | ||||||||
66 | YEL/RED | BA2 | Brake Wear Sensor Signal | 66 | YEL/RED | BA2 | Brake Wear Sensor Signal | ||||||||
67 | BLU/WHT | PM4 | Outside Temperature Signal | 67 | BLU/WHT | PM4 | Outside Temperature Signal | ||||||||
68 | BLK/YEL | FB70 | Heated Seat Switch Input-RF | 68 | BLK/YEL | FB70 | Heated Seat Switch Input-RF | ||||||||
69 | GRY/BLK | RF999 | B+ to LH Cornering Lamps | 69 | GRY/BLK | RF998 | B+ to LH Cornering Lamps | ||||||||
70 | GRY/RED | RA999 | B+ to RH Cornering Lamps | 70 | GRY/RED | RA998 | B+ to RH Cornering Lamps | ||||||||
71 | RED/BLU | AP4 | B+ to Fuse #18 | 71 | RED/BLU | AP11 | B+ to Fuse #18 | ||||||||
72 | RED | A816 | B+ to Fuse #28 | 72 | RED | A13 | B+ to Fuse #28 | ||||||||
73 | BRN | X15 | B+ With Defogger ON | 73 | BRN | X16 | B+ With Defogger ON | ||||||||
74 | RED | A48 | B+ to Fuse #1 | 74 | RED | A10 | B+ to Fuse #1 | ||||||||
75 | RED | A49 | B+ to Fuse #7 | 75 | RED | A2 | B+ to Fuse #7 | ||||||||
76 | RED | A65 | B+ to Fuse #35 | 76 | RED | A65 | B+ to Fuse #35 | ||||||||
77 | BRN | X300 | B+ to Fuse #15 | 77 | BRN | X100 | B+ to Fuse #15 | ||||||||
78 | RED | A240 | B+ to Fuse #20 | 78 | RED | A240 | B+ to Fuse #20 | ||||||||
79 | BRN | X2 | Fog Lamp Output | 79 | BRN | X1 | Fog Lamp Output | ||||||||
80 | BLK/WHT | FM19 | Headlamp Signal-Left (High Beam) | 80 | BLK/WHT | FM13 | Headlamp Signal-Left (High Beam) | ||||||||
|
| ||||||||||||||
|---|---|---|---|---|---|---|---|---|---|---|---|---|---|---|---|
Connector Part Information |
| Connector Part Information |
| ||||||||||||
Pin | Wire Color | Circuit No. | Function | Pin | Wire Color | Circuit No. | Function | ||||||||
1 | BRN/GRN | XU42 XU43 (W8Y) | Door Speaker Return-LR | 1 | BRN/GRN | XU42 | Door Speaker Return-LR | ||||||||
2 | GRN | U41 U42 (W8Y) | Door Speaker Feed-LR | 2 | GRN | U42 | Door Speaker Feed-LR | ||||||||
3 | BLK/WHT | FM100 | B+ from Fuse #11 | 3 | BLK/WHT | FM10 | B+ from Fuse #11 | ||||||||
BLK/WHT | FM22 | B+ from Fuse #11 | |||||||||||||
4 | WHT | M808 | Fast Wiper Signal | 4 | WHT | M808 | Fast Wiper Signal | ||||||||
5 | -- | -- | Not Used | 5 | -- | -- | Not Used | ||||||||
6 | RED | A24 | B+ from Fuse #4 | 6 | RED | A100 | B+ from Fuse #4 | ||||||||
7 | RED | A892 | Low With High Beams ON | 7 | RED | A888 | Low With High Beams ON | ||||||||
8 | BRN | X43 | ALC Compressor Motor Signal | 8 | BRN | X101 | ALC Compressor Motor Signal | ||||||||
9 | RED | A301 | B+ from Fuse #17 | 9 | RED | A30 | B+ from Fuse #17 | ||||||||
10 | WHT/BLK | MF757 | B+ With Automatic Transmission Range Switch in Reverse | 10 | WHT/BLK | MF900 | B+ With Automatic Transmission Range Switch in Reverse | ||||||||
WHT/BLK | MF10 (W8Y) | B+ With Automatic Transmission Range Switch in Reverse | |||||||||||||
11 | RED | A101 | B+ from Fuse #27 | 11 | RED | A295 | B+ from Fuse #27 | ||||||||
12 | BRN/WHT | XM999 | Serial Data | 12 | BRN/WHT | XM55 | Serial Data | ||||||||
13 | BLU/RED | PA10 | Vehicle Speed Signal (VSS) | 13 | BLU/RED | PA901 | Vehicle Speed Signal (VSS) | ||||||||
BLU/RED | PA909 | Vehicle Speed Signal (VSS) | |||||||||||||
14 | YEL | B810 | Wiper Interval Signal-1 | 14 | YEL | B810 | Wiper Interval Signal-1 | ||||||||
15 | YEL | B11 | B+ With Low Beams ON | 15 | YEL | B1 B11 (T97) | B+ With Low Beams ON | ||||||||
16 | BRN/YEL | XB910 | Headlamps ON Signal | 16 | BRN/YEL | XB910 | Headlamps ON Signal | ||||||||
17 | BLK/RED | FA202 | B+ from Fuse #19 | 17 | BLK/RED | FA202 | B+ from Fuse #19 | ||||||||
18 | YEL | B22 | B+ With Low Beams ON | 18 | YEL | B3 B30 (T97) | B+ With Low Beams ON | ||||||||
19 | WHT | M8 | B+ With High Beams ON | 19 | WHT | M2 | B+ With High Beams ON | ||||||||
20 | BLK/YEL | FB10 | Auxiliary Brake Lamp-B+ | 20 | BLK/YEL | FB303 | Auxiliary Brake Lamp-B+ | ||||||||
21 | GRY/BLK | RF30 | B+ With Parklamps ON | 21 | GRY/BLK | RF2 | B+ With Parklamps ON | ||||||||
22 | BLU/BLK | PF1 | Fuel Gauge Level Signal | 22 | BLU/BLK | PF12 | Fuel Gauge Level Signal | ||||||||
23 | BLK/GRN | FU11 | Turn/Tail Lamp Signal-Right | 23 | BLK/GRN | FU1 | Turn/Tail Lamp Signal-Right | ||||||||
24 | BLK/WHT | FM12 | Turn/Tail Lamp Signal-Left | 24 | BLK/WHT | FM1 | Turn/Tail Lamp Signal-Left | ||||||||
25 | BLK/RED | FA825 | Brake to Shift Indicator | 25 | BLK/RED | FA399 | Brake to Shift Indicator | ||||||||
26 | BRN/GRN | XU900 | Sensor Ground | 26 | BRN/GRN | XU901 | Sensor Ground | ||||||||
27 | GRY/GRN | RU10 | B+ With Park Lamps ON | 27 | GRY/GRN | RU7 | B+ With Park Lamps ON | ||||||||
28 | BRN/YEL | XB900 | Fuel Pressure Sensor Signal | 28 | BRN/YEL | XB902 | Fuel Pressure Sensor Signal | ||||||||
29 | BRN/BLK | XF18 | Evaporative Tank (EVAP) Solenoid Control Circuit | 29 | BRN/BLK | XF888 | Evaporative Tank (EVAP) Solenoid Control Circuit | ||||||||
30 | WHT | M3 | High Beams On/Off Signal | 30 | WHT | M50 | High Beams On/Off Signal | ||||||||
31 | BLK/RED | FA812 | Rear Compartment Lid Release Signal | 31 | BLK/RED | FA812 | Rear Compartment Lid Release Signal | ||||||||
32 | RED/WHT | AM110 | Radio On Signal | 32 | RED/WHT | AM42 | Radio On Signal | ||||||||
33 | GRY/YEL | RB200 | Dimmer Signal | 33 | GRY/YEL | RB200 | Dimmer Signal | ||||||||
34 | YEL | B56 | ALC Relay Control Signal | 34 | YEL | B25 | ALC Relay Control Signal | ||||||||
35 | BRN/RED | XA810 | Low Beams Relay Signal | 35 | BRN/RED | XA810 | Low Beams Relay Signal | ||||||||
36 | BRN/WHT | XM810 | Low With Park Lamps ON | 36 | BRN/WHT | XM810 | Low With Park Lamps ON | ||||||||
37 | BRN/BLU | XP810 | Battery Guard Signal | 37 | BRN/BLU | XP811 | Battery Guard Signal | ||||||||
38 | BRN/WHT | XM111 | Serial Data | 38 | BRN/WHT | XM900 | Serial Data | ||||||||
39 | BRN/PPL | XY2 | Leveling Indicator Signal | 39 | BRN/PPL | XY1 | Leveling Indicator Signal | ||||||||
40 | RED/WHT | AM810 | Low With Park Lamps ON | 40 | RED/WHT | AM810 | Low With Park Lamps ON | ||||||||
41 | BLK/RED | FA811 | Fuel Door Release Signal | 41 | BLK/RED | FA811 | Fuel Door Release Signal | ||||||||
42 | BRN/WHT | XM200 | Turn Signal Lamp -Left | 42 | BRN/WHT | XM200 | Turn Signal Lamp -Left | ||||||||
43 | BRN/BLK | XF20 | Seat Belt Warning Signal | 43 | BRN/BLK | XF21 | Seat Belt Warning Signal | ||||||||
| |||||||||||||||
|---|---|---|---|---|---|---|---|---|---|---|---|---|---|---|---|
Connector Part Information |
| Connector Part Information |
| ||||||||||||
Pin | Wire Color | Circuit No. | Function | Pin | Wire Color | Circuit No. | Function | ||||||||
A | BLK | S43 | Shield Ground | A | BLK | SO2 | Shield Ground | ||||||||
B | BRN/GRY | XR109 | Microphone Signal | B | BRN/GRY | XR2 | Microphone Signal | ||||||||
| |||||||||||||||
|---|---|---|---|---|---|---|---|---|---|---|---|---|---|---|---|
Connector Part Information |
| Connector Part Information |
| ||||||||||||
Pin | Wire Color | Circuit No. | Function | Pin | Wire Color | Circuit No. | Function | ||||||||
1 | GRN | U900 | Lifting Magnet Control Signal | 1 | GRN | -- | Lifting Magnet Control Signal | ||||||||
2 | BLU | P100 | Sport Mode Switch Input | 2 | BLU/BLK | -- | Sport Mode Switch Input | ||||||||
3-5 | -- | -- | Not Used | 3-5 | -- | -- | Not Used | ||||||||
6 | BLK | F950 | Ground to G103 | 6 | BRN | -- | Ground to G103 | ||||||||
7 | YEL | B901 | Fuel Tank Filler Release Switch-Ground | 7 | WHT | -- | Fuel Tank Filler Release Switch-Ground | ||||||||
8 | BLK/BRN | FX900 | B+ With Stoplamp Switch Closed | 8 | BLK/YEL | -- | B+ With Stoplamp Switch Closed | ||||||||
9 | YEL | B900 | Gear Out of Park Signal to BCM | 9 | BLU | -- | Gear Out of Park Signal to BCM | ||||||||
| |||||||||||||||
|---|---|---|---|---|---|---|---|---|---|---|---|---|---|---|---|
Connector Part Information |
| Connector Part Information |
| ||||||||||||
Pin | Wire Color | Circuit No. | Function | Pin | Wire Color | Circuit No. | Function | ||||||||
1 | BRN/YEL | XB950 | Pretensioner Signal LOW-RF | 1 | BRN/YEL | XB901 | Pretensioner Signal LOW-RF | ||||||||
2 | RED/YEL | AB950 | Pretensioner Signal HIGH-RF | 2 | RED/YEL | AB900 | Pretensioner Signal HIGH-RF | ||||||||
3 | RED/WHT | AM950 | Pretensioner Signal HIGH-LF | 3 | RED/WHT | AM900 | Pretensioner Signal HIGH-LF | ||||||||
4 | BRN/WHT | XM950 | Pretensioner Signal LOW-LF | 4 | BRN/WHT | XM901 | Pretensioner Signal LOW-LF | ||||||||
5 | YEL | B41 | Side Impact Sensor Signal-LF | 5 | YEL | B41 | Side Impact Sensor Signal-LF | ||||||||
6 | BRN/YEL | XB42 | Side Impact Sensor Signal-LF | 6 | BRN/YEL | XB42 | Side Impact Sensor Signal-LFl | ||||||||
7 | BRN/WHT | XM430 | Side Impact Sensor Signal-RF | 7 | BRN/WHT | XM430 | Side Impact Sensor Signal-RF | ||||||||
8 | WHT | M44 | Side Impact Sensor Signal-RF | 8 | WHT | M44 | Side Impact Sensor Signal-RF | ||||||||
9 | BRN/PPL | XY999 | ONSTAR Signal | 9 | BRN/PPL | XY999 | ONSTAR Signal | ||||||||
| |||||||||||||||
|---|---|---|---|---|---|---|---|---|---|---|---|---|---|---|---|
Connector Part Information |
| Connector Part Information |
| ||||||||||||
Pin | Wire Color | Circuit No. | Function | Pin | Wire Color | Circuit No. | Function | ||||||||
1 | RED/YEL | AB11 | Side Signal High-LF | 1 | RED/YEL | AB11 | Side Signal High-LF | ||||||||
2 | BRN/YEL | XB100 | Side Signal Low-LF | 2 | BRN/YEL | XB100 | Side Signal Low-LF | ||||||||
| |||||||||||||||
|---|---|---|---|---|---|---|---|---|---|---|---|---|---|---|---|
Connector Part Information |
| Connector Part Information |
| ||||||||||||
Pin | Wire Color | Circuit No. | Function | Pin | Wire Color | Circuit No. | Function | ||||||||
1 | RED/WHT | AM13 | Side Signal High-RF | 1 | RED/WHT | AM13 | lSide Signal High-RF | ||||||||
2 | BRN/WHT | XM14 | Side Signal Low-RF | 2 | BRN/WHT | XM14 | Side Signal Low-RF | ||||||||
| |||||||||||||||
|---|---|---|---|---|---|---|---|---|---|---|---|---|---|---|---|
Connector Part Information |
| Connector Part Information |
| ||||||||||||
Pin | Wire Color | Circuit No. | Function | Pin | Wire Color | Circuit No. | Function | ||||||||
1 | RED | A202 | B+ from Fuse #6 | 1 | RED | A200 | B+ from Fuse #6 | ||||||||
2 | BLK | F102 | Ground to G201 | 2 | BLK | F100 | Ground to G201 | ||||||||
3 | -- | -- | Not Used | 3 | -- | -- | Not Used | ||||||||
4 | BRN/WHT | XM45 | Serial Data | 4 | BRN/WHT | XM45 | Serial Data | ||||||||
5 | BLK | S45 | Shield Wire | 5 | BLK | S45 | Shield Wire | ||||||||
6 | WHT | M90 | Chime Input (Not Used) | 6 | WHT | M90 | Chime Input (Not Used) | ||||||||
7 | BRN/WHT | XM93 | Chime Input (Not Used) | 7 | BRN/WHT | XM90 | Chime Input (Not Used) | ||||||||
8 | BLK | S46 | Shield Wire | 8 | BLK | S46 | Shield Wire | ||||||||
9 | WHT | M91 | Sound Processor Signal RH (-) | 9 | WHT | M91 | Sound Processor Signal RH (-) | ||||||||
10 | BRN/WHT | XM91 | Sound Processor Signal RH (+) | 10 | BRN/WHT | XM91 | Sound Processor Signal RH (+) | ||||||||
11 | BLK | S47 | Shield Wire | 11 | BLK | S47 | Shield Wire | ||||||||
12 | WHT | M92 | Sound Processor Signal-Left (-) | 12 | WHT | M92 | Sound Processor Signal-Left (-) | ||||||||
13 | BRN/WHT | XM92 | Sound Processor Signal-Left (+) | 13 | BRN/WHT | XM92 | Sound Processor Signal-Left (+) | ||||||||
14 | BRN/WHT | XM43 | Door Speaker Signal (-)-RR | 14 | BRN/WHT | XM43 | Door Speaker Signal (-)-RR | ||||||||
15 | WHT | M43 | Door Speaker Signal (+)-RR | 15 | WHT | M43 | Door Speaker Signal (+)-RR | ||||||||
16 | BRN/BLU | XP5 | Door Speaker Signal (-)-LF | 16 | BRN/BLU | XP2 | Door Speaker Signal (-)-LF | ||||||||
17 | BLU | P5 | Door Speaker Signal (+)-LF | 17 | BLU | P2 | Door Speaker Signal (+)-LF | ||||||||
18 | BRN/YEL | XB12 | RH Front Door Speaker Signal (-) | 18 | BRN/YEL | XB11 | RH Front Door Speaker Signal (-) | ||||||||
19 | RED | A201 | B+ from Fuse #8 | 19 | RED | A201 | B+ from Fuse #8 | ||||||||
20 | BLK | F101 | Ground to G201 | 20 | BLK | F101 | Ground to G201 | ||||||||
21 | -- | -- | Not Used | 21 | -- | -- | Not Used | ||||||||
22 | YEL | B9 | Door Speaker Signal (+)-RF | 22 | YEL | B4 | Door Speaker Signal (+)-RF | ||||||||
23 | BRN/GRN | XU43 | Door Speaker Signal (-)-LR | 23 | BRN/GRN | XU43 | Door Speaker Signal (-)-LR | ||||||||
24 | GRN | U42 | Door Speaker Signal (+)-LR | 24 | GRN | U43 | Door Speaker Signal (+)-LR | ||||||||
25 | -- | -- | Not Used | 25 | -- | -- | Not Used | ||||||||
26 | YEL | B20 | CD Player Signal | 26 | YEL | B20 | CD Player Signal | ||||||||
27-30 | -- | -- | Not Used | 27-30 | -- | -- | Not Used | ||||||||
31 | RED | A406 | B+ from Multifunction Relay | 31 | RED | A406 | B+ from Multifunction Relay | ||||||||
32-42 | -- | -- | Not Used | 32-42 | -- | -- | Not Used | ||||||||
| |||||||||||||||
|---|---|---|---|---|---|---|---|---|---|---|---|---|---|---|---|
Connector Part Information |
| Connector Part Information |
| ||||||||||||
Pin | Wire Color | Circuit No. | Function | Pin | Wire Color | Circuit No. | Function | ||||||||
1 | GRY | R2 | Side Door Jamb Switch Signal-RR | 1 | GRY | R18 | Side Door Jamb Switch Signal-RR | ||||||||
2 | RED/BLU | AP1 | Roof Rail Courtesy Lamp Signal-Right | 2 | RED/BLU | AP809 | Roof Rail Courtesy Lamp Signal-Right | ||||||||
3 | -- | -- | Not Used | 3 | -- | -- | Not Used | ||||||||
4 | BRN/BLU | XP1 | Rear Compartment Lid Open Signal | 4 | BRN/BLU | XP805 | Rear Compartment Lid Open Signal | ||||||||
5 | -- | -- | Not Used | 5 | -- | -- | Not Used | ||||||||
6 | BLK | F1 | Ground to G103 | 6 | BLK | F88 | Ground to G103 | ||||||||
7 | -- | -- | Not Used | 7 | -- | -- | Not Used | ||||||||
8 | GRY | R1 | Side Door Jamb Switch Signal-RR | 8 | GRY | R16 | Side Door Jamb Switch Signal-RR | ||||||||
9 | -- | -- | Not Used | 9 | -- | -- | Not Used | ||||||||
| |||||||||||||||
|---|---|---|---|---|---|---|---|---|---|---|---|---|---|---|---|
Connector Part Information |
| Connector Part Information |
| ||||||||||||
Pin | Wire Color | Circuit No. | Function | Pin | Wire Color | Circuit No. | Function | ||||||||
1 | GRY | R2 | Side Door Jamb Switch Signal-LR | 1 | GRY | R17 | Side Door Jamb Switch Signal-LR | ||||||||
2 | RED/BLU | AP1 | LH Roof Rail Courtesy Lamp Signal | 2 | RED/BLU | AP810 | LH Roof Rail Courtesy Lamp Signal | ||||||||
3 | -- | -- | Not Used | 3 | -- | -- | Not Used | ||||||||
4 | BRN/BLU | XP1 | Rear Compartment Lid Open Signal | 4 | BRN/BLU | XP804 | Rear Compartment Lid Open Signal | ||||||||
5 | -- | -- | Not Used | 5 | -- | -- | Not Used | ||||||||
6 | BLK | F1 | Ground to G103 | 6 | BLK | F84 | Ground to G103 | ||||||||
7 | -- | -- | Not Used | 7 | -- | -- | Not Used | ||||||||
8 | GRY | R1 | Side Door Jamb Switch Signal-LR | 8 | GRY | R15 | Side Door Jamb Switch Signal-LR | ||||||||
9 | -- | -- | Not Used | 9 | -- | -- | Not Used | ||||||||
| |||||||||||||||
|---|---|---|---|---|---|---|---|---|---|---|---|---|---|---|---|
Connector Part Information |
| Connector Part Information |
| ||||||||||||
Pin | Wire Color | Circuit No. | Function | Pin | Wire Color | Circuit No. | Function | ||||||||
1 | YEL | B7 | Memory Programming Signal | 1 | YEL | B1 | Memory Programming Signal | ||||||||
2 | BLK/RED | FA804 | Doors Unlock Signal | 2 | BLK/RED | FA804 | Doors Unlock Signal | ||||||||
3 | BLK/YEL | FB805 | Doors Lock Signal | 3 | BLK/YEL | FB805 | Doors Lock Signal | ||||||||
4 | BLK | F19 | Ground | 4 | BLK | F3 | Ground | ||||||||
5 | GRY/GRN | RU15 | Window Up Signal | 5 | GRY/GRN | RU1 | Window Up Signal | ||||||||
GRY/GRN | RU2 | Window Up Signal | |||||||||||||
6-7 | -- | -- | Not Used | 6-7 | -- | -- | Not Used | ||||||||
8 | RED | A21 | B+ from Fuse #7 | 8 | RED | A1 | B+ from Fuse #7 | ||||||||
9 | BLU/RED | PA3 | Window Down Signal | 9 | BLU/RED | PA1 | Window Down Signal | ||||||||
BLU/RED | PA2 | Window Down Signal | |||||||||||||
10 | WHT | M3 | Rear Window Switch Enable Signal | 10 | WHT | M1 | Rear Window Switch Enable Signal | ||||||||
11 | GRY | R17 | Ground | 11 | GRY | R1 | Ground | ||||||||
12 | GRN | U42 | Speakers Feed Signal LH (+) | 12 | GRN | U2 | Speakers Feed Signal LH (+) | ||||||||
13 | BRN/GRN | XU42 | Speakers Return Signal LH (-) | 13 | BRN/GRN | XU2 U3 (U85) | Speakers Return Signal LH (-) | ||||||||
14 | GRY/YEL | RB45 | Illumination Signal | 14 | GRY/YEL | RB42 | Illumination Signal | ||||||||
15 | RED/BLU | AP805 | B+ to Rear Door Lamp | 15 | RED/BLU | AP805 | B+ to Rear Door Lamp | ||||||||
| |||||||||||||||
|---|---|---|---|---|---|---|---|---|---|---|---|---|---|---|---|
Connector Part Information |
| Connector Part Information |
| ||||||||||||
Pin | Wire Color | Circuit No. | Function | Pin | Wire Color | Circuit No. | Function | ||||||||
1 | YEL | B8 | Memory Programming Signal | 1 | YEL | B1 | Memory Programming Signal | ||||||||
2 | BLK/RED | FA803 | Doors Unlock Signal | 2 | BLK/RED | FA804 | Doors Unlock Signal | ||||||||
3 | BLK/YEL | FB804 | Doors Lock Signal | 3 | BLK/YEL | FB805 | Doors Lock Signal | ||||||||
4 | BLK | F18 | Ground | 4 | BLK | F3 | Ground | ||||||||
5 | GRY/GRN | RU16 | Window Up Signal | 5 | GRY/GRN | RU1 | Window Up Signal | ||||||||
GRY/GRN | RU2 | Window Up Signal | |||||||||||||
6-7 | -- | -- | Not Used | 6-7 | -- | -- | Not Used | ||||||||
8 | RED | A11 | B+ from Fuse #7 | 8 | RED | A1 | B+ from Fuse #7 | ||||||||
9 | BLU/RED | PA4 | Window Down Signal | 9 | BLU/RED | PA1 | Window Down Signal | ||||||||
BLU/RED | PA2 | Window Down Signal | |||||||||||||
10 | WHT | M4 | Rear Window Switch Enable Signal | 10 | WHT | M1 | Rear Window Switch Enable Signal | ||||||||
11 | GRY | R18 | Ground | 11 | GRY | R1 | Ground | ||||||||
12 | GRN | M42 | Speakers Feed Signal RH (+) | 12 | GRN | U2 U3 (U85) | Speakers Feed Signal RH (+) | ||||||||
13 | BRN/GRN | XM42 | Speakers Return Signal RH (-) | 13 | BRN/GRN | XU2 | Speakers Return Signal RH (-) | ||||||||
14 | GRY/YEL | RB44 | Instrument Panel Lamp Supply Voltage Test | 14 | GRY/YEL | RB42 | Instrument Panel Lamp Supply Voltage Test | ||||||||
15 | RED/BLU | AP804 | B+ to Rear Door Lamp | 15 | RED/BLU | AP805 | B+ to Rear Door Lamp | ||||||||
| |||||||||||||||
|---|---|---|---|---|---|---|---|---|---|---|---|---|---|---|---|
Connector Part Information |
| Connector Part Information |
| ||||||||||||
Pin | Wire Color | Circuit No. | Function | Pin | Wire Color | Circuit No. | Function | ||||||||
A | BLK | F2 | Ground to G103 | A | BLK | F900 | Ground to G103 | ||||||||
B | RED/BLU | AP2 | Sunshade ON Signal | B | RED/BLU | AP803 | Sunshade ON Signal | ||||||||
|
| ||||||||||||||
|---|---|---|---|---|---|---|---|---|---|---|---|---|---|---|---|
Connector Part Information |
| Connector Part Information |
| ||||||||||||
Pin | Wire Color | Circuit No. | Function | Pin | Wire Color | Circuit No. | Function | ||||||||
1 | RED | A40 | B+ from Fuse #28 | 1 | RED | A40 | B+ from Fuse #28 | ||||||||
2 | BRN | X13 | B+ from Fuse #15 | 2 | BRN | X13 | B+ from Fuse #15 | ||||||||
3 | BLK | F40 | Ground to G103 | 3 | BLK | F40 | Ground to G103 | ||||||||
4 | BRN/WHT | XM55 | Serial Data | 4 | BRN/WHT | XM55 | Serial Data | ||||||||
5 | GRY/WHT | RM12 | Door Open Signal | 5 | GRY/WHT | RM12 | Door Open Signal | ||||||||
6 | BLK/BRN | FX75 | Memory Potentiometer Signal | 6 | BLK/BRN | FX75 | Memory Potentiometer Signal | ||||||||
7 | BRN | X75 | Memory Potentiometer Signal | 7 | BRN | X75 | Memory Potentiometer Signal | ||||||||
8 | GRY/GRN | RU60 | RH Outside Rear View Mirror Memory Signal | 8 | GRY/GRN | RU60 | RH Outside Rear View Mirror Memory Signal | ||||||||
9 | GRY | R70 | RH Outside Rear View Mirror Memory Signal | 9 | GRY | R70 | RH Outside Rear View Mirror Memory Signal | ||||||||
10 | GRY/BLK | RF60 | Inside Rear View Mirror Memory Signal | 10 | GRY/BLK | RF60 | Inside Rear View Mirror Memory Signa | ||||||||
11 | GRY/YEL | RB60 | Inside rear view mirror memory signal | 11 | GRY/YEL | RB60 | Inside rear view mirror memory signal | ||||||||
12 | GRY/GRN | RU50 | Memory Potentiometer Signal | 12 | GRY/GRN | RU50 | Memory Potentiometer Signal | ||||||||
13 | GRY | R60 | Memory Potentiometer Signal | 13 | GRY | R60 | Memory Potentiometer Signal | ||||||||
14 | BLK/RED | FA75 | RH Outside Rear View Mirror Common | 14 | BLK/RED | FA75 | RH Outside Rear View Mirror Common | ||||||||
15 | GRN | U80 | LH Memory Mirror Control Signal | 15 | GRN | U80 | LH Memory Mirror Control Signal | ||||||||
16 | YEL | B12 | LH Memory Mirror Control Signal | 16 | YEL | B12 | LH Memory Mirror Control Signal | ||||||||
17 | BLU/WHT | PM60 | Inside Rear View Mirror Control Signal | 17 | BLU/WHT | PM60 | Inside Rear View Mirror Control Signal | ||||||||
18 | BLU/RED | PA60 | Inside Rear View Mirror Control Signal | 18 | BLU/RED | PA60 | Inside Rear View Mirror Control Signal | ||||||||
19 | BLU | P70 | RH Outside Rear View Mirror Control Signal | 19 | BLU | P70 | RH Outside Rear View Mirror Control Signal | ||||||||
20 | GRY | R65 | RH Outside Rear View Mirror Control Signal | 20 | GRY | R65 | RH Outside Rear View Mirror Control Signal | ||||||||
| |||||||||||||||
|---|---|---|---|---|---|---|---|---|---|---|---|---|---|---|---|
Connector Part Information |
| Connector Part Information |
| ||||||||||||
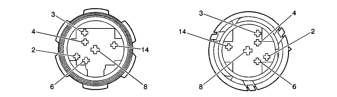
Pin | Wire Color | Circuit No. | Function | Pin | Wire Color | Circuit No. | Function | ||||||||
1 | RED/WHT | AM900 | Seat Belt Pretensioner-LF | 1 | BRN | AM900 | Seat Belt Pretensioner-LF | ||||||||
2 | BRN/WHT | XM901 | Seat Belt Pretensioner-LF | 2 | BLU | XM901 | Seat Belt Pretensioner-LF | ||||||||
|
| ||||||||||||||
|---|---|---|---|---|---|---|---|---|---|---|---|---|---|---|---|
Connector Part Information |
| Connector Part Information |
| ||||||||||||
Pin | Wire Color | Circuit No. | Function | Pin | Wire Color | Circuit No. | Function | ||||||||
1 | RED/WHT | FA90 | Heated Seat Element Fused Battery Feed | 1 | BRN/YEL | FA90 | Heated Seat Element Fused Battery Feed | ||||||||
2 | BLK/GRN | FU900 | Heated Seat Element Sensor Switch | 2 | BRN | FU900 | Heated Seat Element Sensor Switch | ||||||||
3 | RED | A70 | Battery Supply Voltage for Logic and Motors | 3 | BLK | A70 | Battery Supply Voltage for Logic and Motors | ||||||||
4 | BLK | F66 | Ground to G103 | 4 | BLK | F66 | Ground to G103 | ||||||||
5 | BLK | F39 | Ground to G103 | 5 | BRN | F39 | Ground to G103 | ||||||||
6 | RED | A242 | Heated Seat Element Fused Battery Feed | 6 | RED | A242 | Heated Seat Element Fused Battery Feed | ||||||||
7 | BLK | F650 | Ground to G103 | 7 | BLK/GRN | F650 | Ground to G103 | ||||||||
8 | BRN/BLK | XF21 | Seat Belt Warning Indicator Lamp Switch Signal | 8 | BLK/YEL | XF20 | Seat Belt Warning Indicator Lamp Switch Signal | ||||||||
| |||||||||||||||
|---|---|---|---|---|---|---|---|---|---|---|---|---|---|---|---|
Connector Part Information |
| Connector Part Information |
| ||||||||||||
Pin | Wire Color | Circuit No. | Function | Pin | Wire Color | Circuit No. | Function | ||||||||
1 | RED/YEL | AB900 | Belt Pretensioner -RF | 1 | BRN | AB900 | Belt Pretensioner -RFl | ||||||||
2 | BRN/YEL | XB901 | Belt Pretensioner -RF | 2 | BLU | XB901 | Belt Pretensioner -RFl | ||||||||
|
| ||||||||||||||
|---|---|---|---|---|---|---|---|---|---|---|---|---|---|---|---|
Connector Part Information |
| Connector Part Information |
| ||||||||||||
Pin | Wire Color | Circuit No. | Function | Pin | Wire Color | Circuit No. | Function | ||||||||
1 | BLK/YEL | FB70 | Heated Seat Element Fused Battery Feed | 1 | BLK/YEL | FB70 | Heated Seat Element Fused Battery Feed | ||||||||
2 | BLK/BLU | FP7 | Heated Seat Element Sensor Signal | 2 | BLK/GRN | FP7 | Heated Seat Element Sensor Signal | ||||||||
3 | RED | A75 | Power Seat Fused Battery Feed | 3 | RED | A75 | Power Seat Fused Battery Feed | ||||||||
4 | BLK | F67 | Ground to G103 | 4 | BRN | F67 | Ground to G103 | ||||||||
5 | BLK | F38 | Ground to G103 | 5 | BRN | F38 | Ground to G103 | ||||||||
6 | RED | A241 | Heated Seat Element Fused Battery Feed | 6 | BLK | A241 | Heated Seat Element Fused Battery Feed | ||||||||
7-8 | -- | -- | Not Used | 7-8 | -- | -- | Not Used | ||||||||
| |||||||||||||||
|---|---|---|---|---|---|---|---|---|---|---|---|---|---|---|---|
Connector Part Information |
| Connector Part Information |
| ||||||||||||
Pin | Wire Color | Circuit No. | Function | Pin | Wire Color | Circuit No. | Function | ||||||||
1 | RED | A3-RH A2-LH | B+ from Fuse #4 | 1 | RED | A6 | B+ from Fuse #4 | ||||||||
2 | BLK/WHT | FM300 | Heated Seat Element Switch Signal-LR | 2 | BLK/WHT | FM300 | Heated Seat Element Switch Signal-LR | ||||||||
3 | BLK | F1 | Ground to G200 | 3 | BLK | F35 | Ground to G200 | ||||||||
4 | BLK/YEL | FB2 | Heater Relay ON Signal-LR | 4 | BLK/YEL | FB32 | Heater Relay ON Signal-LR | ||||||||
5 | BRN | X1 | Ignition Switch Signal | 5 | BRN | X33 | Ignition Switch Signal | ||||||||
6 | BLK/WHT | FM2 | Heated Seat Element Switch Signal-RR | 6 | BLK/WHT | FM31 | Heated Seat Element Switch Signal-RR | ||||||||
7 | BLK/RED | FA2 | Heater Relay On Signal-RR | 7 | BLK/RED | FA32 | Heater Relay On Signal-RR | ||||||||
8-9 | -- | -- | Not Used | 8-9 | -- | -- | Not Used | ||||||||
| |||||||||||||||
|---|---|---|---|---|---|---|---|---|---|---|---|---|---|---|---|
Connector Part Information |
| Connector Part Information |
| ||||||||||||
Pin | Wire Color | Circuit No. | Function | Pin | Wire Color | Circuit No. | Function | ||||||||
A | RED/BLU | AP11 | B+ from Fuse #18 | A | RED/BLU | AP10 | B+ from Fuse #18 | ||||||||
B | BLK | F226 | Ground to G103 | B | BLK | F224 | Ground to G103 | ||||||||
C | BLU/BLK | PF12 | Fuel Gauge Signal | C | BLU/BLK | PF11 | Fuel Gauge Signal | ||||||||
D | BRN/YEL | XB902 | Fuel Tank Pressure Signal | D | BRN/YEL | XB1 | Fuel Tank Pressure Signal | ||||||||
E | BRN/GRN | XU901 | Sensor Ground | E | BRN/GRN | XU1 | Sensor Ground | ||||||||
F | BLU/BLK | PF901 | 5V Reference | F | BLU/BLK | PF1 | 5V Reference | ||||||||
G | BLK | F225 | Ground to G400 | G | BLK | F30 | Ground to G400 | ||||||||
H | -- | -- | Not Used | H | -- | -- | Not Used | ||||||||
| |||||||||||||||
|---|---|---|---|---|---|---|---|---|---|---|---|---|---|---|---|
Connector Part Information |
| Connector Part Information |
| ||||||||||||
Pin | Wire Color | Circuit No. | Function | Pin | Wire Color | Circuit No. | Function | ||||||||
1 | GRY/RED | RA1 | Marker Lamp Signal-RR | 1 | GRY/RED | RA20 | Marker Lamp Signal-RR | ||||||||
2 | GRY/GRN | RU1 | License Lamp Signal | 2 | GRY/GRN | RU11 | License Lamp Signal | ||||||||
3 | BLK/GRN | FU1 | Marker Lamp Signal-RR | 3 | BLK/GRN | FU30 | Marker Lamp Signal-RR | ||||||||
4 | GRY/BLK | RF1 | Marker Lamp Signal-LR | 4 | GRY/BLK | RF20 | Marker Lamp Signal-LR | ||||||||
5 | BLK | F1 | License Lamp Signal | 5 | BLK | F44 | License Lamp Signal | ||||||||
6 | BLK/WHT | FM1 | Marker Lamp Signal-LR | 6 | BLK/WHT | FM30 | Marker Lamp Signal-LR | ||||||||
| |||||||||||||||
|---|---|---|---|---|---|---|---|---|---|---|---|---|---|---|---|
Connector Part Information |
| Connector Part Information |
| ||||||||||||
Pin | Wire Color | Circuit No. | Function | Pin | Wire Color | Circuit No. | Function | ||||||||
1 | BLK | F20 | Ground from G400 | 1 | BLK | F20 | Ground from G400 | ||||||||
2 | BLU/RED | PA6 | Rear Sunshade Control Signal | 2 | BLU/RED | PA6 | Rear Sunshade Control Signal | ||||||||
3 | RED | A95 | Fused Battery Voltage | 3 | RED | A95 | Fused Battery Voltage | ||||||||
4 | -- | -- | Not Used | 4 | -- | -- | Not Used | ||||||||
| |||||||||||||||
|---|---|---|---|---|---|---|---|---|---|---|---|---|---|---|---|
Connector Part Information |
| Connector Part Information |
| ||||||||||||
Pin | Wire Color | Circuit No. | Function | Pin | Wire Color | Circuit No. | Function | ||||||||
1 | BLK/RED | FA807 | Rear Compartment Release Signal | 1 | BLK/RED | FA11 | Rear Compartment Release Signal | ||||||||
2 | BLK/YEL | FB15 | Center High Mounted Stop Lamp (CHMSL) signal | 2 | BLK/YEL | FB15 | Center High Mounted Stop Lamp (CHMSL) signal | ||||||||
3 | GRY/GRN | RU12 | Taillamp-Middle Signal | 3 | GRY/GRN | RF1 | Taillamp-Middle Signal | ||||||||
4 | BLK | F48 | Ground to G201 | 4 | BLK | F48 | Ground to G201 | ||||||||
5 | -- | -- | Not Used | 5 | -- | -- | Not Used | ||||||||
6 | BLK/YEL | FB806 | Rear Compartment Release Signal | 6 | BLK/YEL | FB21 | Rear Compartment Release Signal | ||||||||
7 | BRN/BLU | XP901 | Rear Compartment Lamp Switch Signal | 7 | BRN/BLU | XP1 | Rear Compartment Lamp Switch Signal | ||||||||
8 | WHT/BLK | MF10 | Transmission Position Signal | 8 | WHT/BLK | MF10 | Transmission Position Signal | ||||||||
9 | BRN/WHT | XM9 | Rear Compartment Lamp Switch Signal | 9 | BRN/WHT | XM8 | Rear Compartment Lamp Switch Signal | ||||||||
| |||||||||||||||
|---|---|---|---|---|---|---|---|---|---|---|---|---|---|---|---|
Connector Part Information |
| Connector Part Information |
| ||||||||||||
Pin | Wire Color | Circuit No. | Function | Pin | Wire Color | Circuit No. | Function | ||||||||
1 | BLK | F8 | Ground to G200 | 1 | BLK | F1 | Ground to G200 | ||||||||
2 | RED | A1 | B+ from Fuse #1 | 2 | RED | A2 | B+ from Fuse #1 | ||||||||
3 | -- | -- | Not Used | 3 | -- | -- | Not Used | ||||||||
4 | GRY/YEL | RB43 | Window Switch Feed-RF | 4 | GRY/YEL | RB43 | Window Switch Feed-RF | ||||||||
5 | GRY | R11 | Outside Rear View Mirror Signal-Right | 5 | GRY | R11 | Outside Rear View Mirror Signal-Right | ||||||||
6 | GRY/WHT | RM20 | Door Switch Input Signal-Driver | 6 | GRY/WHT | RM20 | Door Switch Input Signal-Driver | ||||||||
7 | WHT | M5 | Window Switch Input-RR | 7 | WHT | M5 | Window Switch Input-RR | ||||||||
8 | GRY/GRN | RU15 | Door UP Signal-RR | 8 | GRY/GRN | RU15 | Door UP Signal -RR | ||||||||
9 | BLU/RED | PA3 | Door Down Signal-LR | 9 | BLU/RED | PA3 | Door Down Signal-LR | ||||||||
10 | GRY/GRN | RU16 | Door UP Signal-LR | 10 | GRY/GRN | RU16 | Door UP Signal-LR | ||||||||
11 | BLU/RED | PA4 | Door Down Signal-RR | 8-11 | BLU/RED | PA4 | Door Down Signal-RR | ||||||||
12 | BRN | X999 | B+ from Fuse #13 | 12 | BRN | X10 | B+ from Fuse #13 | ||||||||
13 | BRN/PPL | XY810 | Key Disarm Signal | 13 | BRN/PPL | XY810 | Key Disarm Signal | ||||||||
14 | BRN/BLU | XP810 | Courtesy Lamp Input-LF | 14 | BRN/BLU | XP810 | Courtesy Lamp Input-LF | ||||||||
15 | BLK/BRN | FX805 | Serial Data | 15 | BLK/BRN | FX805 | Serial Data | ||||||||
16 | BLU/RED | PA1 | Window Down Signal | 16 | BLU/RED | PA1 | Window Down Signal | ||||||||
17 | GRY/GRN | RU6 | Window Up Signal | 17 | GRY/GRN | RU1 | Window Up Signal | ||||||||
18 | GRY | R20 | Door Jamb Switch Signal-LF | 18 | GRY | R10 | Door Jamb Switch Signal-LF | ||||||||
19 | BLK/WHT | FM10 | B+ from Fuse #11 | 19 | BLK/WHT | FM2 FM15 (W8Y) | B+ from Fuse #11 | ||||||||
20 | BLU | P1 | Speakers Signal LH (+) | 20 | BLU | P1 | Speakers Signal LH (+) | ||||||||
21 | BLK/RED | FA7 | Outside Rear View Mirror Common | 21 | BLK/RED | FA7 | Outside Rear View Mirror Common | ||||||||
22 | BRN/BLU | XP1 | Speakers Signal LH (-) | 22 | BRN/BLU | XP1 | Speakers Signal LH (-) | ||||||||
23 | YEL | B6 | Door Open Signal | 23 | YEL | B12 | Door Open Signal | ||||||||
24 | YEL | B12 | Memory Control Signal | 24 | YEL | B81 (AG8) | Memory Control Signal | ||||||||
25 | BLK/YEL | FB803 | Window Actuator Signal | 25 | BLK/YEL | FB9 | Window Actuator Signal | ||||||||
26 | RED/BLU | AP806 | Door Lamp Signal | 26 | RED/BLU | AP888 | Door Lamp Signal | ||||||||
27 | BLU | P3 | Memory Control Signal | 27 | BLU | P3 | Memory Control Signal | ||||||||
28 | -- | -- | Not Used | 28 | -- | -- | Not Used | ||||||||
29 | BLK/PPL | FY805 | Door Unlock Signal | 29 | BLK/PPL | FY805 | Door Unlock Signal | ||||||||
30 | GRY/YEL | RB80 | Door Lock Switch Input-LF | 30 | GRY/YEL | RB50 | Door Lock Switch Input-LF | ||||||||
31 | -- | -- | Not Used | 31 | -- | -- | Not Used | ||||||||
32 | BLK/BRN | FX60 | Memory Potentiometer Signal | 32 | BLK/BRN | FX60 (AG8) | Memory Potentiometer Signal | ||||||||
33 | BRN | X60 | Memory Potentiometer Signal | 33 | BRN | X60(AG8) | Memory Potentiometer Signal | ||||||||
34 | BLK/RED | FA809 | Window Actuator Signal | 34 | BLK/RED | FA809 | Window Actuator Signal | ||||||||
35 | GRY/YEL | RB42 | Window Switch Lockout-LR | 35 | GRY/YEL | RB42 | Window Switch Lockout-LR | ||||||||
36 | GRY | R60 | Memory Potentiometer Signal | 36 | GRY | R60 (AG8) | Memory Potentiometer Signal | ||||||||
37 | GRN | U80 | Memory Control Signal | 37 | GRN | U100 (AG8) | Memory Control Signal | ||||||||
38 | GRY/GRN | RU50 | Memory Potentiometer Signal | 38 | GRY/GRN | RU60 (AG8) | Memory Potentiometer Signal | ||||||||
39 | BRN/YEL | XB42 | Side Impact Sensor Signal | 39 (AJ6) | BRN/YEL | XB42 | Side Impact Sensor Signal | ||||||||
40 | YEL | B41 | Side Impact Sensor Signal | 40 (AJ6) | YEL | B42 | Side Impact Sensor Signal | ||||||||
| |||||||||||||||
|---|---|---|---|---|---|---|---|---|---|---|---|---|---|---|---|
Connector Part Information |
| Connector Part Information |
| ||||||||||||
Pin | Wire Color | Circuit No. | Function | Pin | Wire Color | Circuit No. | Function | ||||||||
1 | BLK | F9 | Ground to G200 | 1 | BLK | F1 | Ground to G200 | ||||||||
2 | RED | A4 | B+ from Fuse #1 | 2 | RED | A2 | B+ from Fuse #1 | ||||||||
4 | GRY/YEL | RB43 | Door Window Switch Feed-LF | 4 | GRY/YEL | RB43 | Door Window Switch Feed-LF | ||||||||
5 | GRY | R110 | Outside Rear View Mirror Signal-Right | 5 | GRY | R4 R5 (AG8) | Outside Rear View Mirror Signal-Right | ||||||||
14 | BRN/BLU | XP809 | Passenger Door Lamp Signal | 6 | BRN/BLU | XP810 | Passenger Door Lamp Signal | ||||||||
15 | BLK/BRN | FX804 | Door Lock Signal | 7 | BLK/BRN | FX805 | Door Lock Signal | ||||||||
16 | BLU/RED | PA1 | Window Down Signal | 16 | BLU/RED | PA20 | Window Down Signal | ||||||||
17 | GRY/GRN | RU6 | Window Up Signal | 17 | GRY/GRN | RU61 | Window Up Signal | ||||||||
19 | BLK/WHT | FM22 | B+ from Fuse #11 | 19 | BLK/WHT | FM2 FM20 (AG8) | B+ from Fuse #11 | ||||||||
20 | YEL | B10 | Speakers Signal RH (+) | 20 | YEL | B1 | Speakers Signal RH (+) | ||||||||
21 | BLK/RED | FA700 | Outside Rear View Mirror Common | 21 | BLK/RED | FA4 FA65 (AG8) | Outside Rear View Mirror Common | ||||||||
22 | BRN/YEL | XB10 | Speakers Signal RH (-) | 22 | BRN/YEL | XB1 | Speakers Signal RH (-) | ||||||||
23 | YEL | B5 | Door Open Signal | 23 | YEL | B14 | Door Open Signal | ||||||||
25 | BLK/YEL | FB802 | Window Actuator Signal | 25 | BLK/YEL | FB9 | Window Actuator Signal | ||||||||
26 | RED/BLU | AP807 | Door Lamp Signal | 26 | RED/BLU | AP888 | Door Lamp Signal | ||||||||
27 | BLU | P30 | Memory Control Signal | 27 | BLU | P2 P10 (AG8) | Memory Control Signal | ||||||||
29 | BLK/PPL | FY804 | Door Unlock Signal | 29 | BLK/PPL | FY805 | Door Unlock Signal | ||||||||
32 | BLK/BRN | FX65 | Memory Potentiometer Signal | 32 | BLK/BRN | FX65(AG8) | Memory Potentiometer Signal | ||||||||
33 | BRN | X65 | Memory Potentiometer Signal | 33 | BRN | X65 (AG8) | Memory Potentiometer Signal | ||||||||
34 | BLK/RED | FA802 | Window Actuator Signal | 34 | BLK/RED | FA809 | Window Actuator Signal | ||||||||
36 | GRY | R70 | Memory Potentiometer Signal | 36 | GRY | R70 (AG8) | Memory Potentiometer Signal | ||||||||
38 | GRY/GRN | RU60 | Memory Potentiometer Signal | 38 | GRY/GRN | RU60 (AG8) | Memory Potentiometer Signal | ||||||||
39 | BRN/WHT | XM430 | Side Impact Sensor Signal | 39 | BRN/WHT | XM42(AJ6) | Side Impact Sensor Signal | ||||||||
40 | WHT | M44 | Side Impact Sensor Signal | 40 | WHT | M42 (AJ6) | Side Impact Sensor Signal | ||||||||