GM Service Manual Online
For 1990-2009 cars only
Makes
🢒
Cadillac
🢒
2001
🢒
Catera
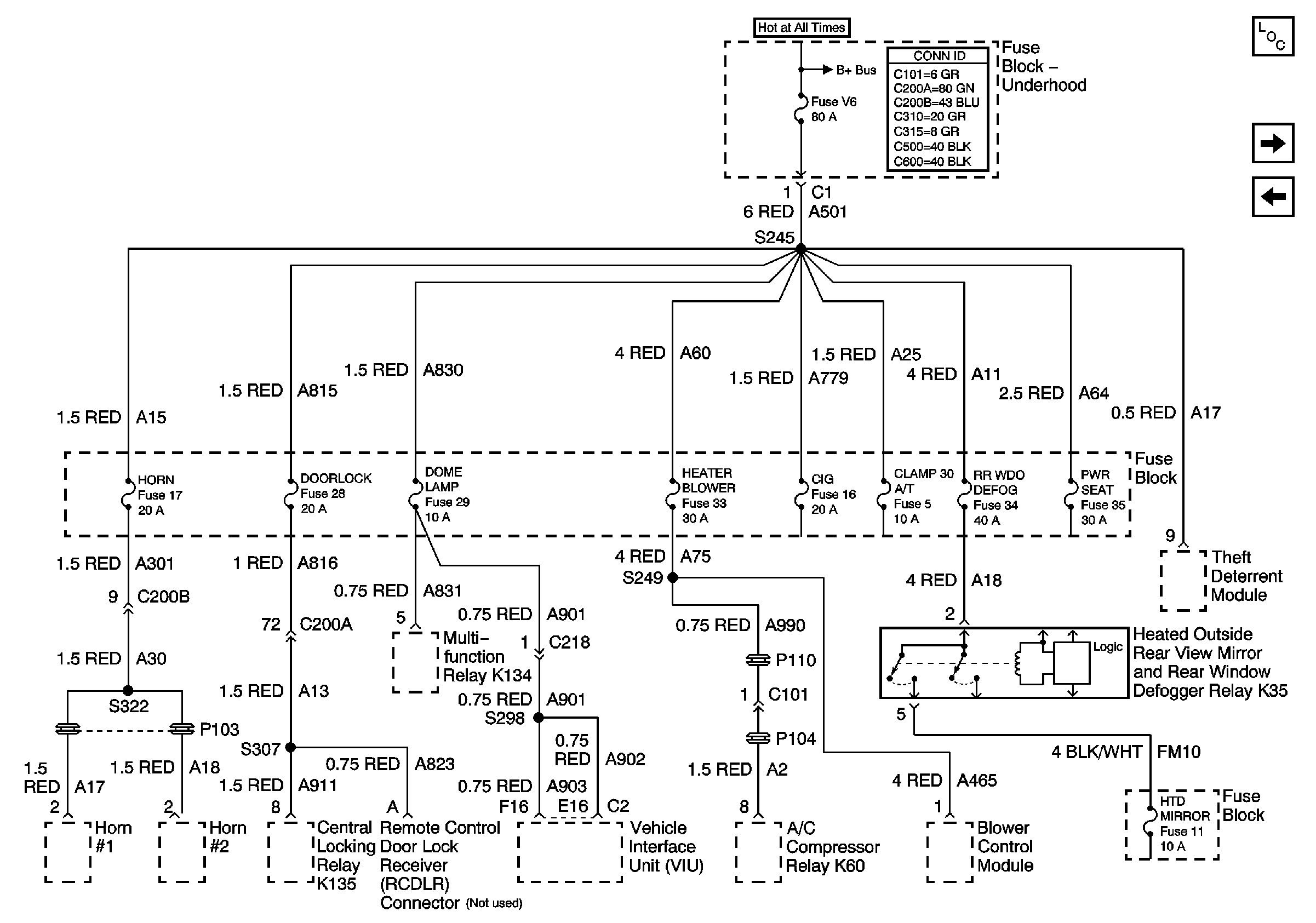
🢒 Underhood Fuse Block Fuse V6 and Fuse Block Fuses 17, 28, 29, 33, and34
Underhood Fuse Block Fuse V6 and Fuse Block Fuses 17, 28, 29, 33, and34
Fuse V6, and HORN, DOOR LOCK, DOME LAMP, HEATER BLOWER, GIG, CLAMP 30, RR WDO DEFOG, and PWR SEAT Fuses
Master Electrical Component List
Fuse Block Fuses 5, 11, 16, and 35
Battery Cable Bus
Battery Cable Bus