GM Service Manual Online
For 1990-2009 cars only
Makes
🢒
Cadillac
🢒
2001
🢒
Catera
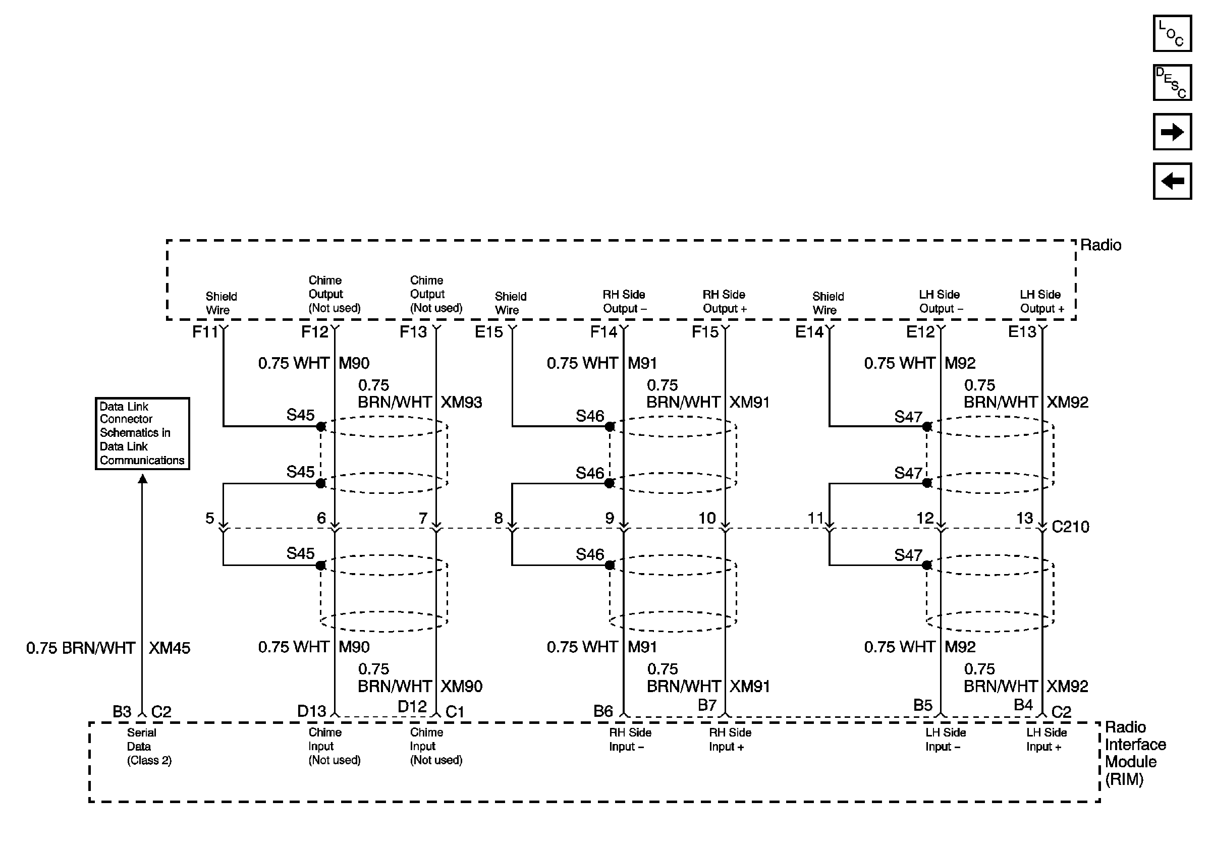
🢒 Radio to Interface Module (RIM) Bose
Radio to Interface Module (RIM) Bose
Radio to Radio Interface Module (RIM) - Bose®
Master Electrical Component List
Radio/Audio System Description and Operation
Radio to Amplifier (Bose)
Base Speaker System
DLC Pins 2, 4, 5, 16