GM Service Manual Online
For 1990-2009 cars only

Object Number: 727671  Size: LF
Master Electrical Component List
Automatic Transmission Controls Schematics
OBD II Symbol Description Notice

Circuit Description

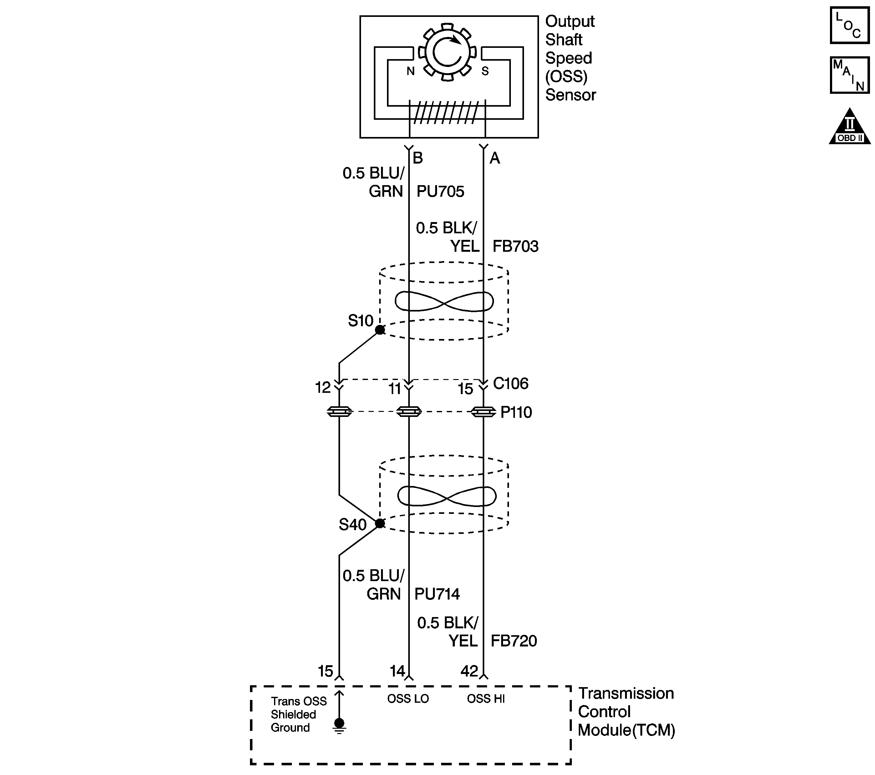
The output shaft speed sensor assembly (VSS assembly) provides vehicle speed information to the transmission control module (TCM). The VSS assembly is a permanent magnet generator consisting of a toothed rotor mounted on the output shaft and the VSS. The generator produces a pulsing AC voltage as the rotor teeth pass through the sensor's magnetic field. The AC voltage level and the number of pulses increase as the speed of the vehicle increases. The TCM converts the pulsing voltage to vehicle speed. The TCM uses the output shaft speed signal to determine shift timing and torque converter clutch (TCC) scheduling.

If the TCM detects no vehicle speed when there is engine speed in a drive gear range, then DTC P0722 sets. DTC P0722 is a type B DTC.

Conditions for Running the DTC

    • The transmission is not in Park, Reverse, Neutral or undefined.
    • The engine speed is greater than 3008 RPM.

Condition for Setting the DTC

The transmission output speed is 0 RPM.

Action Taken When the DTC Sets

    • The TCM flashes the sport mode lamp and sends a MIL request to the ECM on the second consecutive drive trip that the diagnostic runs and fails. The ECM then illuminates the MIL.
    • The ECM records the operating conditions in the Freeze Frame at the time of the MIL request from the TCM.
    • The transmission operates in the default mode (maximum line pressure, command 4th gear, inhibit TCC, freeze shift adapts).

Conditions For Clearing the MIL/DTC

    • The ECM turns off the MIL after three consecutive drive trips during which the TCM sends no MIL request.
    • A History DTC clears after forty consecutive warm-up cycles, if no failures are present by this diagnostic or any other emission related diagnostic.
    • The scan tool clears the MIL/DTC.
    • The TCM cancels the DTC default mode actions when the ignition switch is Off long enough in order to power down the TCM.

Test Description

The numbers below refer to the step numbers on the diagnostic table.

  1. Disable the traction control system when performing this step.

  2. This step tests the VSS assembly circuit.

  3. This step tests the integrity of the VSS assembly.

Step

Action

Value(s)

Yes

No

1

Did you perform Powertrain On Board Diagnostic (OBD) System Check - Automatic Transmission ?

--

Go to Step 2

Go to Powertrain On Board Diagnostic (OBD) System Check - Automatic Transmission

2

  1. Install the Scan Tool .
  2. Turn ON the ignition with the engine OFF.
  3. Important: Record the Failure Records before clearing the DTCs. Using the Clear Info function erases the Failure Records from the ECM and the TCM.

  4. Record the DTC Freeze Frame and Failure Records.
  5. Clear the DTC.
  6. Notice: Support the lower control arms in the normal horizontal position in order to avoid damage to the drive axles. Do not operate the vehicle in gear with the wheels hanging down at full travel.

  7. Raise and support the rear axle assembly.
  8. Start the engine.
  9. Disable the traction control system.
  10. Place the transmission in any drive range.

With the drive wheels rotating, does the Scan Tool Transmission OSS increase with the drive wheel speed?

--

Go to Intermittent Conditions in Engine Controls

Go to Step 3

3

Caution: When you are performing service on or near the SIR components or the SIR wiring, you must disable the SIR system. Refer to Disabling the SIR System. Failure to follow the correct procedure could cause air bag deployment, personal injury, or unnecessary SIR system repairs.

  1. Turn OFF the ignition.
  2. Disconnect the TCM.
  3. Measure the resistance between TCM harness connector terminals 14 and 42 with the J 39200 digital multimeter (DMM) and the J 35616 connector test adapter kit.

Is the resistance within the specified range?

2750-3770 ohms

Go to Step 4

Go to Step 6

4

Measure the resistance from terminal 42 to a known good ground.

Is the resistance greater than the specified value?

50 K ohms

Go to Step 5

Go to Step 7

5

  1. Shift the transmission into NEUTRAL.
  2. Select AC volts.
  3. Prevent the left rear wheel from turning.
  4. Rotate the other rear wheel by hand, ensuring that the driveshaft is turning.

By vigorously rotating the wheel by hand, can a voltage greater than the specified value be obtained?

0.5 V AC

Go to Step 13

Go to Step 11

6

  1. Disconnect the VSS assembly connector.
  2. Connect the J 44539 jumper harness to the VSS.
  3. Measure the resistance of the VSS assembly.

Is the resistance within the specified range?

2750-3770 ohms

Go to Step 8

Go to Step 12

7

Inspect the OSS LO and OSS HI circuits (CKTs FB 703 (BLK/YEL) and PU 705 (BLU/GRN) for a short to ground.

Refer to Testing for Short to Ground in Wiring Systems.

Did you find the condition?

--

Go to Step 9

Go to Intermittent Conditions in Engine Controls

8

Inspect the OSS LO and OSS HI circuits (CKTs FB 703 (BLK/YEL) and PU 705 (BLU/GRN) for an open circuit.

Refer to Testing for Continuity in Wiring Systems.

Did you find the condition?

--

Go to Step 9

Go to Intermittent Conditions in Engine Controls

9

Make the necessary wiring repairs.

Refer to Wiring Repairs in Wiring Systems.

Is the action complete?

--

Go to Step 13

--

10

Repair or replace the VSS Reluctor Wheel.

Refer to Case Extension and Gasket Replacement .

Is the action complete?

--

Go to Step 14

--

11

  1. Remove the VSS assembly.
  2. Inspect the Planetary Carrier shaft Reluctor Wheel for loose mounting or damage.

Did you find a condition?

--

Go to Step 10

Go to Step 12

12

Replace the VSS.

Refer to Vehicle Speed Sensor Replacement .

Is the action complete?

--

Go to Step 14

--

13

Replace the TCM.

Refer to Transmission Control Module Replacement .

Is the action complete?

--

Go to Step 14

--

14

Perform the following procedure in order to verify the repair:

  1. Select DTC.
  2. Select Clear Info.
  3. Operate the vehicle in DRIVE with the engine speed greater than 3008 RPM, so that the transmission output speed is detected for 4 seconds.

Does the Scan Tool display transmission output speed?

--

System OK

Go to Step 1