GM Service Manual Online
For 1990-2009 cars only

Object Number: 715913  Size: MF
Master Electrical Component List
Automatic Transmission Controls Schematics
OBD II Symbol Description Notice

Circuit Description

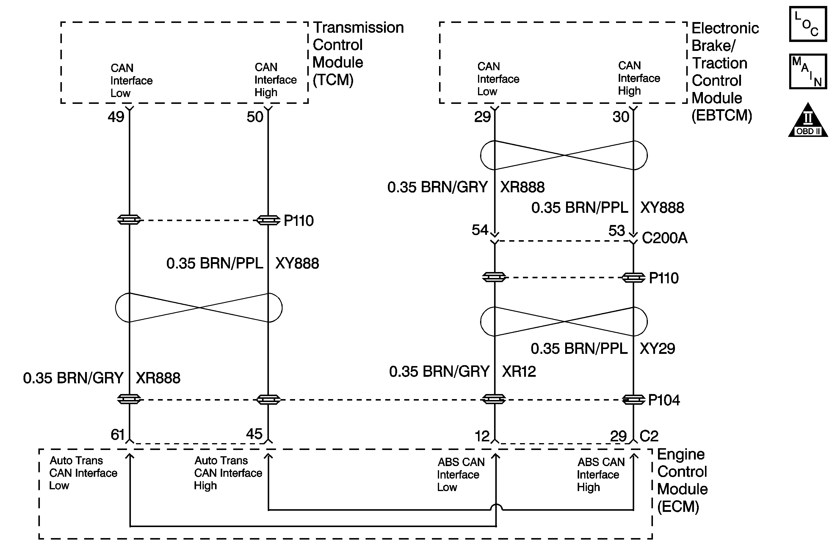
Engine speed information is sent to the transmission control module (TCM) by the engine control module (ECM) through a communication network called the controller area network (CAN). Two circuits are used to communicate CAN data between the ECM and TCM. A fault in the CAN will not cause DTC P0725 to set by itself. If a CAN fault occurs, other DTCs will set before DTC P0725.

When the ECM sends the TCM an engine speed signal that is below 122 RPM, and other sensors indicate that the vehicle is being driven, then DTC P0725 will set. DTC P0725 is a type B DTC.

Conditions for Running the DTC

    • Transmission is not in Park, Reverse or Neutral.
    • Throttle position is greater than 12 percent.
    • Transmission output speed is greater than 1024 RPM.

Condition for Setting the DTC

Engine speed input to the TCM is less than 122 RPM for 4.0 seconds.

Action Taken When the DTC Sets

    • The TCM flashes the sport mode lamp and sends a MIL request to the ECM on the second consecutive drive trip that the diagnostic runs and fails. The ECM then illuminates the MIL.
    • The ECM records the operating conditions in the Freeze Frame at the time of the MIL request from the TCM.
    • The transmission operates in the default mode (maximum line pressure, command 4th gear, inhibit TCC, freeze shift adapts).

Conditions For Clearing the MIL/DTC

    • The ECM turns off the MIL after three consecutive drive trips during which the TCM sends no MIL request.
    • A History DTC clears after forty consecutive warm-up cycles, if no failures are present by this diagnostic or any other emission related diagnostic.
    • The scan tool clears the MIL/DTC.
    • The TCM cancels the DTC default mode actions when the ignition switch is Off long enough in order to power down the TCM.

Step

Action

Value(s)

Yes

No

1

Did you perform Powertrain On Board Diagnostic (OBD) System Check - Automatic Transmission ?

--

Go to Step 2

Go to Powertrain On Board Diagnostic (OBD) System Check - Automatic Transmission

2

  1. Install the Scan Tool .
  2. Turn ON the ignition, with the engine OFF.
  3. Important:  Record all Failure Records before clearing the DTC. Using Clear Info erases the Failure Records from the ECM and TCM.

  4. Record the DTC Failure Records.

Did you record any ECM Failure Records?

--

Go to the applicable ECM DTC

Go to Step 3

3

Did you record Failure Records for any of the following DTCs?

    • DTC U2100
    • DTC U2104
    • DTC U2105
    • DTC U2108

--

Go to the applicable CAN Bus DTC

Go to Step 4

4

  1. Clear the DTC.
  2. Turn the ignition OFF for at least 30 seconds.
  3. Start and idle the engine.
  4. Observe the Engine Speed value on the scan tool.

Is the Engine Speed value within the specified range?

500-1000 RPM

Go to Step 5

Go to Step 6

5

Road test the vehicle for at least five minutes using various engine speeds.

Did P0725 reset?

--

Go to Step 7

Go to Intermittent Conditions in Engine Controls

6

  1. Select Engine Data on the Scan Tool .
  2. Observe the Scan Tool Engine Speed parameter.

Is the Engine Speed value within the specified range?

500-1000 RPM

Go to Step 7

Go to Step 8

7

Did any other DTCs set?

--

Go to the applicable DTC

Go to Step 8

8

Replace the ECM. Refer to Engine Control Module Replacement .

Is the action complete?

--

Go to Step 9

--

9

Perform the following operation to verify the repair:

  1. Select DTC on the scan tool.
  2. Select Clear Info.
  3. Turn ON the ignition with the engine OFF.
  4. Operate the engine at varying speeds.

Did DTC P0725 reset?

--

Go to Step 1

System OK