GM Service Manual Online
For 1990-2009 cars only

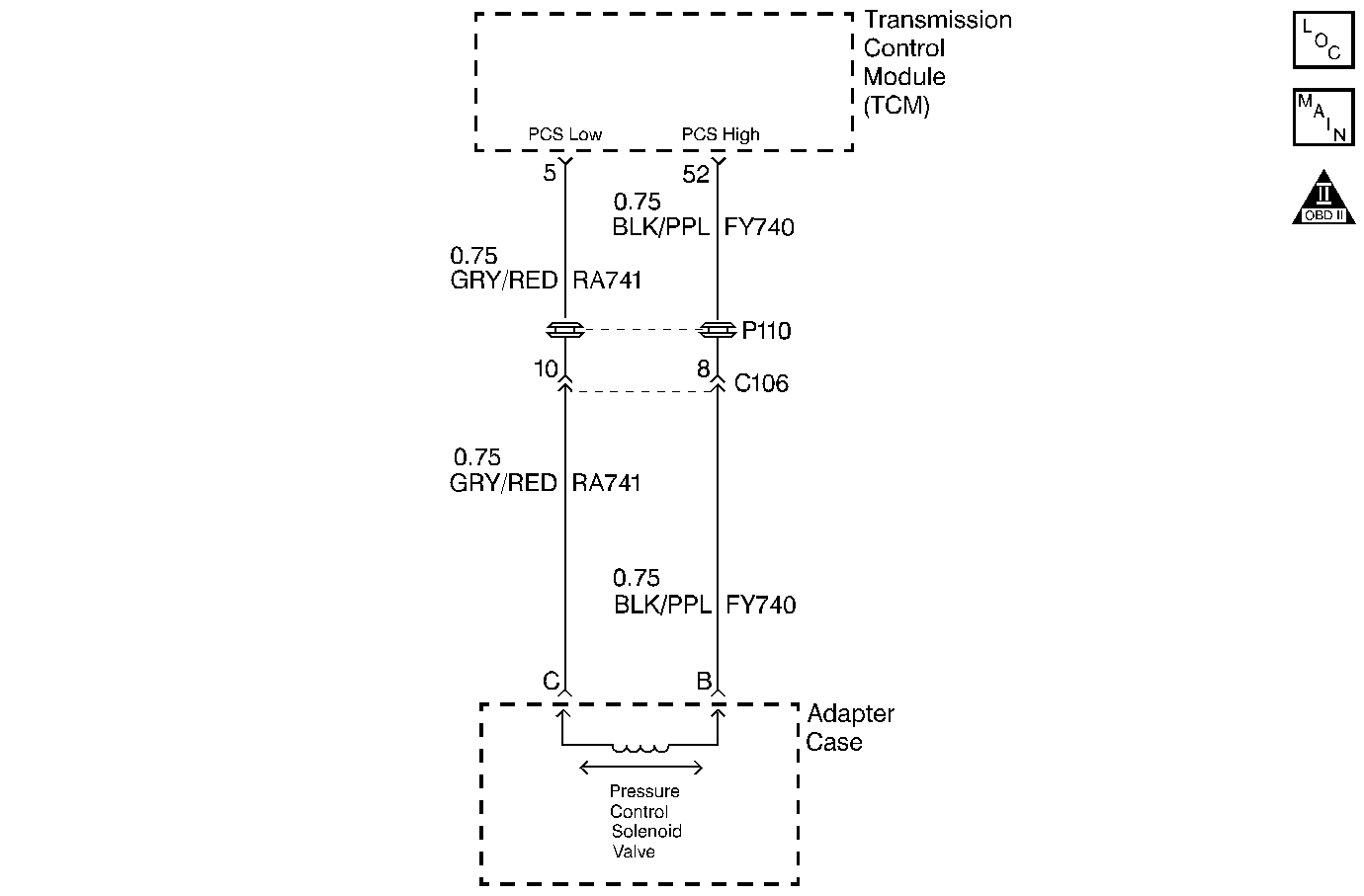
Object Number: 398664  Size: MF
Master Electrical Component List
Automatic Transmission Controls Schematics
OBD II Symbol Description Notice

Circuit Description

The Pressure Control (PC) Solenoid is located inside the transmission adapter case. The PC solenoid valve is an electronic device that regulates transmission line pressure based on the current flow through its coil winding. The magnetic field produced by the coil moves the solenoid's internal valve which varies pressure to the pressure regulator valve. The transmission control module (TCM) controls the PC solenoid valve by applying a varying amount of amperage to the solenoid. The TCM varies the amperage by adjusting the ON-OFF time, or duty cycle.

The transmission control module (TCM) provides voltage to the solenoid through an internal power control relay. The TCM uses a second driver to control the solenoid ground circuit and the resulting current flow. The controlled ground driver reports feedback voltage to the TCM. The TCM uses the feedback voltage to calculate applied current. The applied current can vary from 0.1 to 1.1 amps. Low current flow indicates high line pressure. High current flow indicates low line pressure. The duty cycle of the PC solenoid valve is expressed as a percentage. Zero percent indicates zero ON time or no current flow. Approximately 60 percent at idle indicates maximum ON time or high current flow. The TCM determines the appropriate line pressure for a given load by comparing the throttle position (TP) voltage, the engine speed and other inputs from the engine control module (ECM).

When the TCM detects a continuous open, short to power or a short to ground in the PC solenoid valve circuit or the PC solenoid valve, then DTC P0748 sets. DTC P0748 is a type B DTC.

Conditions For Running The DTC

    • The ignition is ON.
    • The TCM power control relay is closed.
    • The TCM is commanding PC solenoid current.

Conditions for Setting the DTC

The TCM detects any one of the two conditions for 0.54 seconds.

    • Low feedback voltage, indicating an open or short to ground.
    • High feedback voltage, indicating a short to voltage.

Action Taken When the DTC Sets

    • The TCM flashes the sport mode lamp and sends a MIL request to the ECM on the second consecutive drive trip that the diagnostic runs and fails. The ECM then illuminates the MIL.
    • The ECM records the operating conditions in the Freeze Frame at the time of the MIL request from the TCM.
    • The transmission operates in the default mode (maximum line pressure, command 4th gear, inhibit TCC, freeze shift adapts).

Conditions For Clearing the MIL/DTC

    • The ECM turns off the MIL after three consecutive drive trips during which the TCM sends no MIL request.
    • A History DTC clears after forty consecutive warm-up cycles, if no failures are present by this diagnostic or any other emission related diagnostic.
    • The scan tool clears the MIL/DTC.
    • The TCM cancels the DTC default mode actions when the ignition switch is Off long enough in order to power down the TCM.

Test Description

The numbers below refer to the step numbers on the diagnostic table.

  1. Listen for a rapid tapping sound when the solenoid energizes. Use a stethoscope if necessary.

Step

Action

Value(s)

Yes

No

1

Did you perform Powertrain On Board Diagnostic (OBD) System Check - Automatic Transmission ?

--

Go to Step 2

Go to Powertrain On Board Diagnostic (OBD) System Check - Automatic Transmission

2

  1. Install the Scan Tool .
  2. Turn ON the ignition with the engine OFF.
  3. Important: Record the Failure Records before clearing the DTCs. Using the Clear Info function erases the Failure Records from the ECM and the TCM.

  4. Record the DTC Freeze Frame and Failure Records.
  5. Clear the DTC.
  6. Use the Scan Tool in order to command the PC Solenoid current to the maximum value.
  7. Listen for a rapid tapping sound in the adapter case area of the transmission, Use a stethoscope if necessary.

Does the solenoid operate?

--

Go to Step 9

Go to Step 3

3

  1. Turn OFF the ignition.
  2. Disconnect the transmission adapter case 4-way harness connector.
  3. Install the J 44539 jumper harness to the TCM side of the 4-way connector.
  4. Turn ON the ignition with the engine OFF.
  5. Use the Scan Tool in order to command the Power Control Relay ON.
  6. With the J 35616-200 test light connected to ground, probe the TCM Power Relay output circuit (terminal B) of the jumper harness.

Does the test light illuminate?

--

Go to Step 4

Go to Step 7

4

  1. Turn OFF the ignition.
  2. Connect the J 44539 to the transmission side of the 4-way connector.
  3. Measure the resistance between terminals B and C of the jumper harness with the J 39200 .
  4. Refer to Component Resistance .

Is the resistance within the specified range?

--

Go to Step 5

Go to Step 8

5

Measure the resistance between terminal B of the J 44539 and a good ground on the transmission case with the J 39200 .

Is the resistance greater than the specified value?

50K ohms

Go to Step 6

Go to Step 8

6

Caution: When you are performing service on or near the SIR components or the SIR wiring, you must disable the SIR system. Refer to Disabling the SIR System. Failure to follow the correct procedure could cause air bag deployment, personal injury, or unnecessary SIR system repairs.

  1. Turn OFF the ignition.
  2. Disconnect the TCM.
  3. Test the PC Solenoid Valve Control circuit (CKT RA741) for the following conditions:
  4. • Open circuit. Refer to Testing for Continuity in Wiring Systems.
    • Short to voltage. Refer to Testing for a Short to Voltage in Wiring Systems.
    • Short to ground. Refer to Testing for Short to Ground in Wiring Systems.

Did you find a condition?

--

Go to Step 10

Go to Step 9

7

Caution: When you are performing service on or near the SIR components or the SIR wiring, you must disable the SIR system. Refer to Disabling the SIR System. Failure to follow the correct procedure could cause air bag deployment, personal injury, or unnecessary SIR system repairs.

  1. Turn OFF the ignition.
  2. Disconnect the TCM.
  3. Test the TCM Power Relay output circuit from the PC Solenoid to the TCM (CKT FY740) for an open circuit. Refer to Testing for Continuity in Wiring Systems.

Did you find a condition?

--

Go to Step 10

Go to Step 9

8

  1. Remove the adapter case oil pan.
  2. Test the PC Solenoid wiring from the adapter case connector to the PC solenoid connectors for the following conditions:
  3. • Open circuit. Refer to Testing for Continuity in Wiring Systems.
    • Short to voltage. Refer to Testing for a Short to Voltage in Wiring Systems.
    • Short to ground. Refer to Testing for Short to Ground in Wiring Systems.

Did you find a condition?

--

Go to Step 11

Go to Step 12

9

Replace the TCM.

Refer to Transmission Control Module Replacement .

Is the action complete?

--

Go to Step 13

--

10

Perform the necessary wiring repairs.

Refer to Wiring Repairs in Wiring Systems.

Is the action complete?

--

Go to Step 13

--

11

Replace the AT internal transmission wiring harness.

Refer to Control Valve Body .

Is the action complete?

--

Go to Step 13

--

12

Replace the PC solenoid valve.

Refer to Torque Converter Clutch Solenoid Replacement .

Is the action complete?

--

Go to Step 13

--

13

Perform the following procedure in order to verify the repair:

  1. Clear the DTCs with the Scan Tool .
  2. Operate the vehicle in all drive ranges, ensuring that the 1-2, 2-3, and 3-4 shifts have been completed.

Did DTC P0748 reset?

--

Go to Step 1

System OK