GM Service Manual Online
For 1990-2009 cars only

CAMPAIGN: PARKING BRAKE LEVER ASSEMBLY ADJUSTMENT

Subject: PARKING BRAKE LEVER ASSEMBLY

Models: 1991 Oldsmobile Ninety Eight 1991 Buick Park Avenue/Ultra 1992 Oldsmobile Eighty Eight 1992 Buick LeSabre

This bulletin supplements 1D28 dated October, 1991, to correct Steps 15 through 18 under Parking Brake Cable Adjustment in the Service Procedure section of the bulletin. Please replace Pages 7 and 8 of Product Campaign Bulletin 1D28.

13. Apply and release parking brake five (5) times to 10 clicks. Release park brake pedal.

14. Check park brake pedal for full release by turning ignition to "ON" and checking the "BRAKE" indicator light. The light should be off. If the light is on and the brake appears to be released, operate pedal release lever and pull downward on the front parking brake cable to remove slack.

15. Raise vehicle and suitably support.

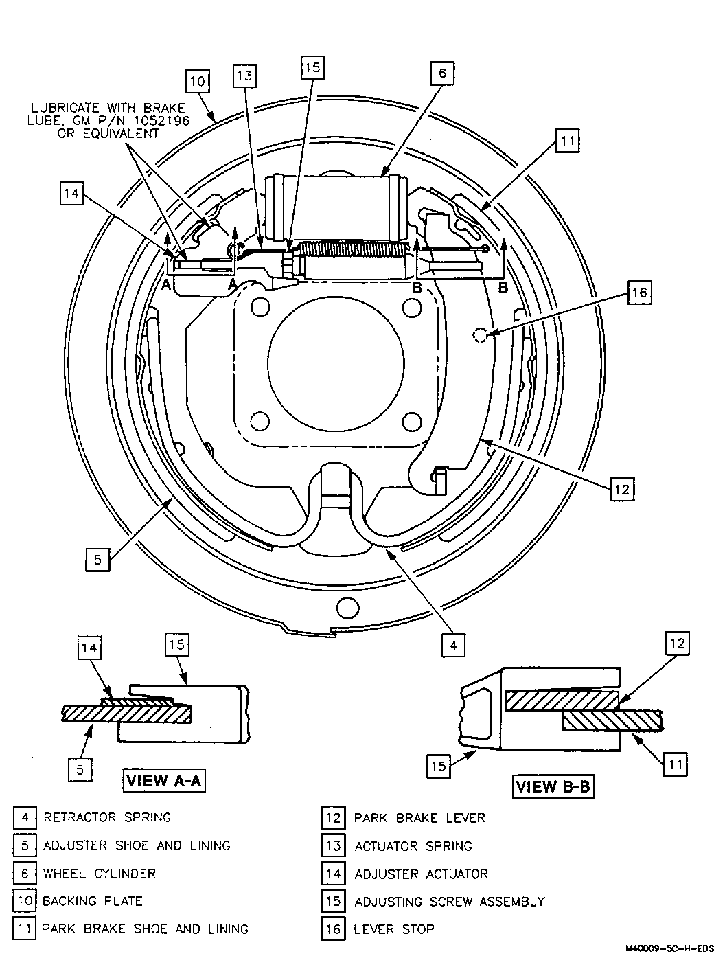
16. Remove access hole plug in rear brake backing plates.

17. Adjust parking brake cable until a 1/8 inch drill bit can be inserted through access hole in space between shoe web (11) and park brake lever (12) (Refer to Figure 4). Satisfactory cable adjustment is achieved when a 1/8 inch bit will fit into the space, but a 1/4 inch bit will not.

18. Apply park brake to four clicks. The wheels should not move when one attempts to rotate it (by hand) in a forward direction. The wheel should drag or not move when attempting to rotate in a rearward direction.

19. Release park brake and check for free wheel rotation.

20. Reinstall access hole plugs.

21. Lower vehicle.

22. Install Campaign Identification Label.


Object Number: 85753  Size: FS


Object Number: 91670  Size: LF

General Motors bulletins are intended for use by professional technicians, not a "do-it-yourselfer". They are written to inform those technicians of conditions that may occur on some vehicles, or to provide information that could assist in the proper service of a vehicle. Properly trained technicians have the equipment, tools, safety instructions and know-how to do a job properly and safely. If a condition is described, do not assume that the bulletin applies to your vehicle, or that your vehicle will have that condition. See a General Motors dealer servicing your brand of General Motors vehicle for information on whether your vehicle may benefit from the information.