GM Service Manual Online
For 1990-2009 cars only

EXCESSIVE OR ABNORMAL CON- DENSATION IN THE REAR TAILLAMP

SUBJECT: EXCESSIVE OR ABNORMAL CONDENSATION IN THE REAR TAILLAMP ASSEMBLIES (REPLACE TAILLAMP)

MODELS: 1992-96 CADILLAC SEVILLE

THIS BULLETIN CANCELS AND SUPERSEDES BULLETIN 111521. PREVIOUS DIVISIONAL PUBLICATIONS NUMBERS WERE:

CADILLAC 93-I-11 GM OF CANADA 93-10-147

CONDITION:

SOME VEHICLES MAY EXHIBIT EXCESSIVE OR ABNORMAL CONDENSATION IN THE REAR TAILLAMP ASSEMBLIES.

CAUSE:

IT IS IMPORTANT TO UNDERSTAND THE DIFFERENCE BETWEEN "NORMAL" AND "ABNORMAL" CONDENSATION:

NORMAL CONDENSATION -

OCCURS WHEN THE AIR INSIDE THE LAMP REACHES THE DEW POINT AND CONDENSES ON THE LENS AS A FINE MIST OR FOG. COMPLETELY SEALED LAMPS ARE NOT USED ON MOST VEHICLES. GM EXTERIOR LAMPS ARE OF A VENTED DESIGN. THEY ARE DESIGNED TO REMOVE ANY EXCESS MOISTURE BY EXPELLING IT THROUGH A VENT SYSTEM. THE VENT SYSTEM FUNCTIONS AT ALL TIMES BUT FUNCTIONS MOST EFFECTIVELY WHEN THE VEHICLE IS MOVING (AIR FLOWS THROUGH THE LAMP), OR IF THE LAMP IS TURNED ON. NORMAL CONDENSATION SHOULD CLEAR WITHIN 24 HOURS IN A STABLE, DRY ATMOSPHERE.

ABNORMAL CONDENSATION IS -

- NUMEROUS DROPLETS OF WATER ON THE INSIDE SURFACE OF THE LENS, OR IF ANY WATER DROPLETS HAVE CONDENSED AND RUN DOWN THE LENS.

- THE AREA OF MIST/FOGGING EXCEEDS ONE-HALF OF THE SURFACE AREA OF THE LENS.

- AN ACCUMULATION OF WATER IN BOTTOM OF THE LENS.

CORRECTION:

IF ABNORMAL CONDENSATION IS PRESENT, REPLACE THE AFFECTED TAILLAMP WITH ONE OF THE FOLLOWING DESCRIBED BELOW.

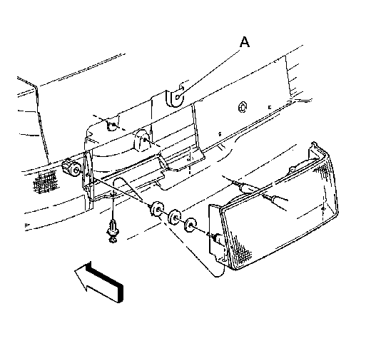
WHEN REPLACING TAILLAMPS ON VEHICLES WITH A FOUR POINT MOUNTING SYSTEM, IT IS NECESSARY TO INSTALL A RUBBER PLUG AND NEW TAILLAMP RETAINING NUTS. THE RUBBER PLUG WILL BE USED TO PLUG A HOLE, MARKED "A" IN FIGURES 1 AND 2, PREVIOUSLY USED FOR TAILLAMP MOUNTING AND THE NEW RETAINING NUTS REPRESENT THE NEW THREAD DESIGN WHICH MATCH THE REPLACEMENT TAILLAMPS.

PARTS INFORMATION:

DESCRIPTION PART NUMBER =========== ===========

SEVILLE/STS RH QUARTER MOUNTED TAILLAMP 16523416 SEVILLE/STS LH QUARTER MOUNTED TAILLAMP 16523415 SEVILLE RH REAR COMPARTMENT LID MOUNTED TAILLAMP 16523420 SEVILLE LH REAR COMPARTMENT LID MOUNTED TAILLAMP 16523419 STS RH REAR COMPARTMENT LID MOUNTED TAILLAMP 16523422 STS LH REAR COMPARTMENT LID MOUNTED TAILLAMP 16523421 RUBBER PLUG (1 PER LAMP) 20715364 TAILLAMP RETAINING NUT (3 PER LAMP) 25636527

WHEN REPLACING TAILLAMPS ON 1992 VEHICLES, IT IS ALSO NECESSARY TO REPLACE THE TAILLAMP WIRING HARNESS FOR EACH LAMP REPLACED.

DESCRIPTION PART NUMBER =========== ===========

SEVILLE RH/LH QUARTER MOUNTED HARNESS 12127284 SEVILLE RH/LH COMPARTMENT LID MOUNTED HARNESS 12127281 STS RH/LH COMPARTMENT LID MOUNTED HARNESS 12127282

PARTS ARE CURRENTLY AVAILABLE FROM GMSPO.

WARRANTY INFORMATION:

FOR VEHICLES REPAIRED UNDER WARRANTY, USE:

LABOR OPERATION NUMBER LABOR OPERATION TIME ====================== ====================

N1410/N1411 USE PUBLISHED LABOR (BACK-UP LAMP ASSEMBLY - REPLACE) OPERATION TIME.

N1590/N1591 (STOP, TAIL AND TURN LAMP ASSEMBLY - 0.2 HR REPLACE)

FIGURES: 02 ATTACHMENTS: 00


Object Number: 93563  Size: MF


Object Number: 93562  Size: MF

GENERAL MOTORS BULLETINS ARE INTENDED FOR USE BY PROFESSIONAL TECHNICIANS, NOT A "DO-IT-YOURSELFER". THEY ARE WRITTEN TO INFORM THOSE TECHNICIANS OF CONDITIONS THAT MAY OCCUR ON SOME VEHICLES, OR TO PROVIDE INFORMATION THAT COULD ASSIST IN THE PROPER SERVICE OF A VEHICLE. PROPERLY TRAINED TECHNICIANS HAVE THE EQUIPMENT, TOOLS, SAFETY INSTRUCTIONS AND KNOW-HOW TO DO A JOB PROPERLY AND SAFELY. IF A CONDITION IS DESCRIBED, DO NOT ASSUME THAT THE BULLETIN APPLIES TO YOUR VEHICLE, OR THAT YOUR VEHICLE WILL HAVE THAT CONDITION. SEE A GENERAL MOTORS DEALER SERVICING YOUR BRAND OF GENERAL MOTORS VEHICLE FOR INFORMATION ON WHETHER YOUR VEHICLE MAY BENEFIT FROM THE INFORMATION.

COPYRIGHT 1995 GENERAL MOTORS CORPORATION. ALL RIGHTS RESERVED.