GM Service Manual Online
For 1990-2009 cars only

Purpose

A Positive Crankcase Ventilation (PCV) system is used to consume crankcase vapors in the combustion process instead of venting them to the atmosphere. In gasoline engines, small amounts of combustion gases leak past the piston rings into the crankcase. These crankcase blow-by gases contain undesirable hydrocarbon air pollutants. The PCV system is used to prevent these vapors from escaping into the atmosphere, while allowing proper ventilation of the crankcase to maintain good oil quality. Fresh air from the air cleaner is pulled into the crankcase, mixed with blow-by gases and then purged through the Positive Crankcase Ventilation (PCV) valve into the intake manifold.


Object Number: 11759  Size: SH
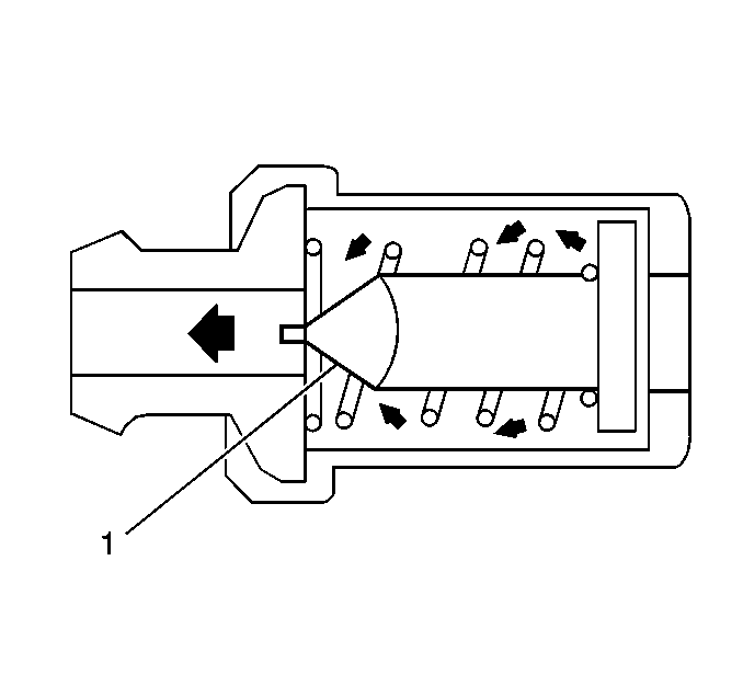
(1)Check Valve

Operation

The primary control is through the PCV valve which meters the flow at a rate dependent upon intake manifold vacuum.

When intake manifold vacuum is high - during deceleration, low speed driving or idle, the PCV valve controls flow to a low flow rate since blow-by levels are low under these conditions.

When intake manifold vacuum is low - during acceleration or high load operation, the PCV valve controls flow to higher flowrates to accommodate increased engine blow-by.

Under full throttle operation or abnormal conditions, such as a worn or damaged engine, or high speed/light load operation, the system allows excess blow-by gases to flow through the fresh air tube into the inlet duct to be combined with incoming air from the air cleaner.

Results Of Incorrect Operation

A plugged valve or hose may cause:

    •  Rough idle.
    •  Stalling or slow idle speed.
    •  Oil leaks.
    •  Oil in air cleaner.
    •  Sludge in engine.

A leaking valve or hose could cause:

    •  Rough idle.
    •  Stalling.
    •  Erratic idle speed.

Object Number: 11764  Size: MF
(1)PCV Valve
(2)PCV Valve Hose
(3)Throttle Body
(4)PCV Valve Hose