GM Service Manual Online
For 1990-2009 cars only

Tools Required

J 38818 Front Cover Seal Installer


    Object Number: 53239  Size: SH
  1. Support the backside of the front cover around the seal opening with two blocks of wood.
  2. Lubricate the seal lips with clean engine oil.
  3. Install the new seal using a hammer and the J 38818 . Make sure the tool bottoms on the cover in order to properly position the seal.

  4. Object Number: 205653  Size: SH
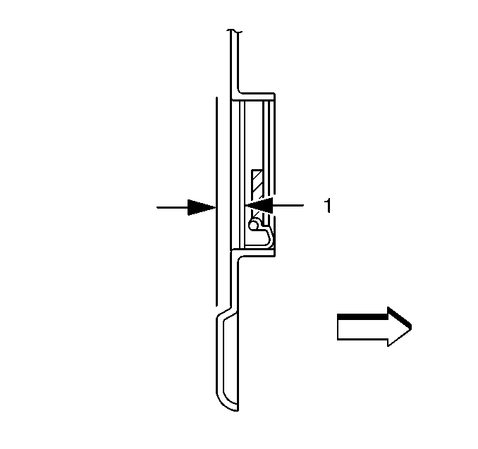
  5. Check the installed depth (1) of the seal. The inner edge of the seal must be 7.5 mm (0.30 in.) below the rear face of the front cover around the entire seal.