GM Service Manual Online
For 1990-2009 cars only

Removal Procedure

  1. Remove the transmission assembly. Refer to Transmission Replacement in Automatic Transmission.
  2. Remove the exhaust crossover pipe. Refer to Exhaust Crossover..
  3. Remove the engine oil pan. Refer to Oil Pan Replacement .

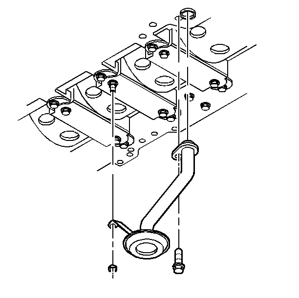
  4. Object Number: 62340  Size: SH
  5. Remove the support nut and the mounting bolt and remove the pickup pipe.

Installation Procedure

  1. Lubricate the suction pipe seal, located in the oil manifold, with the engine oil and insert the pickup tube.

  2. Object Number: 62340  Size: SH
  3. Position the pipe to the crankcase and install the mounting bolt and the support nut.
  4. Tighten

        • Tighten the bolt to 10 N·m (89 lb in).
        • Tighten the nut 25 N·m (18 lb ft).

    Notice: Use the correct fastener in the correct location. Replacement fasteners must be the correct part number for that application. Fasteners requiring replacement or fasteners requiring the use of thread locking compound or sealant are identified in the service procedure. Do not use paints, lubricants, or corrosion inhibitors on fasteners or fastener joint surfaces unless specified. These coatings affect fastener torque and joint clamping force and may damage the fastener. Use the correct tightening sequence and specifications when installing fasteners in order to avoid damage to parts and systems.

  5. Install the oil pan. Refer to Oil Pan Replacement .
  6. Install the exhaust crossover pipe. Refer to Exhaust Crossover.
  7. Install the transmission assembly. Refer to Transmission Replacement in Automatic Transmission.