GM Service Manual Online
For 1990-2009 cars only

BUZZ OR MOAN NOISE DURING TCC APPLY

REVISION: 12/06/96

THIS BULLETIN IS BEING REVISED TO CHANGE THE MODELS SECTION.

SUBJECT: BUZZ OR MOAN NOISE DURING TCC APPLY (REPLACE SPACER PLATE AND UPPER CONTROL VALVE BODY)

MODELS: 1996 CADILLAC ELDORADO, SEVILLE, DEVILLE, DEVILLE CONCOURS 1997 CADILLAC ELDORADO, SEVILLE, DEVILLE, DEVILLE CONCOURS, DEVILLE D'ELEGANCE 1997 OLDSMOBILE AURORA WITH 4.0L AND 4.6L ENGINES (VINS C, Y, 9--RPOS L47, LD8, L37) AND HYDRA-MATIC 4T80-E TRANSAXLE (RPO MH1)

TRANSAXLE MODELS: 6AAN, 6AJN, 6MLN, 7AAN, 7AJN, 7MLN, 7MSN

CONDITION: (FIGURE 1) SOME OWNERS OF THE ABOVE MODELS MAY EXPERIENCE A BUZZ OR MOAN NOISE WHEN THE TCC IS APPLIED. THIS NOISE WILL OCCUR AT OR NEAR MINIMUM THROTTLE UPSHIFT SPEEDS, AT ABOUT 28-34 MILES PER HOUR, AND WILL LAST ONLY ABOUT ONE SECOND. THE CONDITION IS AN AUDIBLE SOUND ONLY, WHICH SOME OWNERS MAY FIND OBJECTIONABLE. IT IN NO WAY AFFECTS THE DRIVEABILITY, OPERATION OR DURABILITY OF THE VEHICLE.

CAUSE:

THIS CONDITION MAY BE DUE TO BOTH THE TCC CONTROL VALVE AND ENABLE VALVE LINEUPS, WITHIN THE UPPER CONTROL VALVE BODY, OSCILLATING DURING TCC APPLY.

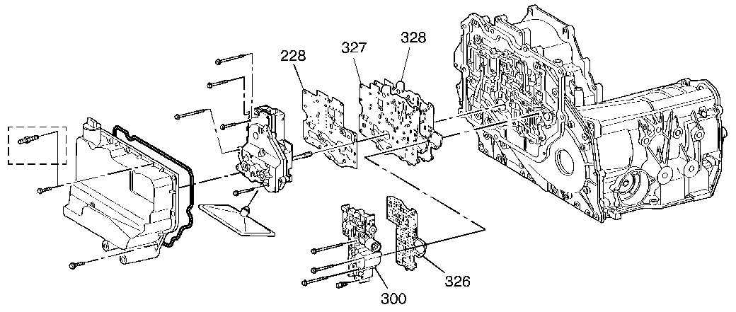
CORRECTION: (FIGURE 2) TO REPAIR THIS CONDITION, THE CASE COVER ASSEMBLY SPACER PLATE (327) AND THE UPPER CONTROL VALVE BODY (300), WHICH HAVE BEEN REVISED, MUST BE REPLACED TOGETHER. FOLLOW THE STEPS LISTED UNDER "SERVICE INFORMATION".

SERVICE INFORMATION ROAD TEST THE VEHICLE. VERIFY THAT THE VEHICLE HAS A BUZZ OR MOAN NOISE DURING TCC APPLY AS LISTED UNDER "CONDITION".

REPLACE THE ORIGINAL CASE COVER ASSEMBLY SPACER PLATE AND THE UPPER CONTROL VALVE BODY WITH THOSE THAT ARE SUPPLIED IN SERVICE KIT (P/N 24209915). REFER TO THE UNIT REPAIR SECTION OF THE SERVICE MANUAL FOR THE PROPER PROCEDURE.

PARTS INFORMATION

PART NUMBER DESCRIPTION 24209915 UPPER CONTROL VALVE BODY REMANUFACTURED KIT

REPAIR KIT CONTAINS THE SECONDARY PUMP BODY TO SPACER PLATE GASKET (228), A SPACER PLATE TO CASE COVER GASKET (328), A VALVE BODY TO SPACER PLATE GASKET (326), A REVISED CASE COVER ASSEMBLY SPACER PLATE (327), AND A REVISED UPPER CONTROL VALVE BODY (300).

PARTS ARE CURRENTLY AVAILABLE FROM GMSPO.

WARRANTY INFORMATION FOR VEHICLES REPAIRED UNDER WARRANTY, USE:

LABOR CODE: K7248 VALVE ASSEMBLY, UPPER CONTROL--R & R OR REPLACE.

LABOR TIME: 8.2 HRS.

FIGURES: 2 ATTACHMENTS: 0

FIGURE 1 - HYDRA-MATIC 4T80-E TRANSAXLE IDENTIFICATION FIGURE 2 - COMPONENT IDENTIFICATION


Object Number: 169185  Size: MF


Object Number: 169186  Size: SF

GENERAL MOTORS BULLETINS ARE INTENDED FOR USE BY PROFESSIONAL TECHNICIANS, NOT A "DO-IT-YOURSELFER". THEY ARE WRITTEN TO INFORM THOSE TECHNICIANS OF CONDITIONS THAT MAY OCCUR ON SOME VEHICLES, OR TO PROVIDE INFORMATION THAT COULD ASSIST IN THE PROPER SERVICE OF A VEHICLE. PROPERLY TRAINED TECHNICIANS HAVE THE EQUIPMENT, TOOLS, SAFETY INSTRUCTIONS AND KNOW-HOW TO DO A JOB PROPERLY AND SAFELY. IF A CONDITION IS DESCRIBED, DO NOT ASSUME THAT THE BULLETIN APPLIES TO YOUR VEHICLE, OR THAT YOUR VEHICLE WILL HAVE THAT CONDITION. SEE A GENERAL MOTORS DEALER SERVICING YOUR BRAND OF GENERAL MOTORS VEHICLE FOR INFORMATION ON WHETHER YOUR VEHICLE MAY BENEFIT FROM THE INFORMATION.

COPYRIGHT 1996. GENERAL MOTORS CORPORATION. ALL RIGHTS RESERVED.