GM Service Manual Online
For 1990-2009 cars only

INF. REWORK PROC. WHEN REPLACE LATCH ACTUATOR

SUBJECT: INFORMATION - REWORK PROCEDURE WHEN REPLACING LATCH ACTUATOR FOR INOPERABLE FRONT POWER DOOR LOCKS

MODELS: 1997 CADILLAC CONCOURS, D'ELEGANCE, DEVILLE

WHENEVER A BROKEN LATCH ACTUATOR MUST BE REPLACED DUE TO AN INOPERABLE FRONT POWER DOOR LOCK CONDITION, A REWORK SHOULD BE PERFORMED TO ELIMINATE AN INTERFERENCE CONDITION BETWEEN THE LATCH ACTUATOR MOTOR HOUSING AND THE LATCH RETAINER.

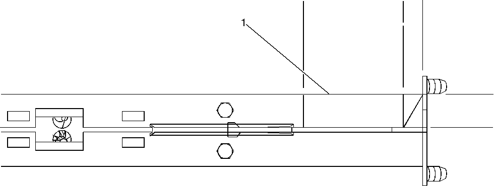
THIS REWORK IS PERFORMED ON THE LATCH RETAINER (IN THE LATCH ACTUATOR REPAIR KIT). REPLACE THE BROKEN LATCH ACTUATOR AND CUT A CLEARANCE NOTCH IN THE RETAINER. FIGURES 1 THROUGH 4 SHOW THE AREA OF THE LATCH RETAINER WHICH REQUIRES MATERIAL REMOVAL. CAREFULLY REMOVE THE MATERIAL AS SHOWN WITH A SUITABLE TOOL, SUCH AS A FILE.

WARRANTY INFORMATION:

FOR VEHICLES REPAIRED UNDER WARRANTY, USE:

LABOR OPERATION LABOR OPERATION NUMBER DESCRIPTION TIME --------------- ----------- ---------------

N3214 RH DOOR, ACTUATOR USE PUBLISHED LABOR ASSEMBLY - REPLACE OPERATION TIME

N3215 LH DOOR, ACTUATOR USE PUBLISHED LABOR ASSEMBLY - REPLACE OPERATION TIME

ADD TO PERFORM LATCH 0.3 HR RETAINER REWORK

FIGURES: 04 ATTACHMENTS: 00

FIGURE 1 - LATCH AND RETAINER BEFORE REWORK

FIGURE 2 - LATCH AND RETAINER AFTER REWORK 1. AREA WHERE MATERIAL IS TO BE REMOVED

FIGURE 3 - LATCH RETAINER AFTER REWORK 1. AREA WHERE MATERIAL IS TO BE REMOVED

FIGURE 4 - LATCH RETAINER AFTER REWORK


Object Number: 170075  Size: MF


Object Number: 170076  Size: MF


Object Number: 170077  Size: SF


Object Number: 170078  Size: MF

GENERAL MOTORS BULLETINS ARE INTENDED FOR USE BY PROFESSIONAL TECHNICIANS, NOT A "DO-IT-YOURSELFER". THEY ARE WRITTEN TO INFORM THOSE TECHNICIANS OF CONDITIONS THAT MAY OCCUR ON SOME VEHICLES, OR TO PROVIDE INFORMATION THAT COULD ASSIST IN THE PROPER SERVICE OF A VEHICLE. PROPERLY TRAINED TECHNICIANS HAVE THE EQUIPMENT, TOOLS, SAFETY INSTRUCTIONS AND KNOW-HOW TO DO A JOB PROPERLY AND SAFELY. IF A CONDITION IS DESCRIBED, DO NOT ASSUME THAT THE BULLETIN APPLIES TO YOUR VEHICLE, OR THAT YOUR VEHICLE WILL HAVE THAT CONDITION. SEE A GENERAL MOTORS DEALER SERVICING YOUR BRAND OF GENERAL MOTORS VEHICLE FOR INFORMATION ON WHETHER YOUR VEHICLE MAY BENEFIT FROM THE INFORMATION.

COPYRIGHT 1997 GENERAL MOTORS CORPORATION. ALL RIGHTS RESERVED.