GM Service Manual Online
For 1990-2009 cars only

EVAP EMISSION ODOR MALF. INDICATOR LAMP (SERVICE

SUBJECT: EVAP EMISSION ODOR, MALFUNCTION INDICATOR LAMP (SERVICE ENGINE SOON LIGHT) DISPLAYS (REPLACE COUPLER ON PURGE/ VENT/FRESH AIR LINES)

MODELS: 1997 CADILLAC CONCOURS, DEVILLE, ELDORADO, SEVILLE

CONDITION:

SOME OWNERS MAY COMMENT ON A EVAP EMISSION ODOR AND THE MALFUNCTION INDICATOR LAMP ("SERVICE ENGINE SOON" LIGHT) DISPLAYS.

CAUSE:

THE PURGE/VENT/FRESH AIR LINES MAY BECOME DETACHED FROM THE EVAP CANISTER. THE LINES MAY BE TOO SHORT AND NOT REACH THE EVAP CANISTER.

CORRECTION:

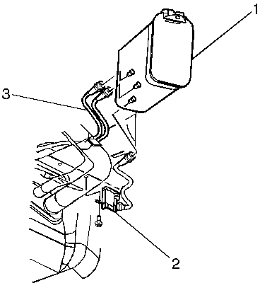
ENSURE PROPER ROUTING OF THE PURGE/VENT/FRESH AIR LINES (SEE FIGURE 1). IF CONNECTION CANNOT BE MADE, REPLACE RUBBER COUPLER ON NYLON LINES (SEE PROCEDURE BELOW).

PROCEDURE -

ITEMS REQUIRED QUANTITY -------------- --------

5/16 IN. REINFORCED FUEL 2 AND OIL RESISTANT TUBING (CANISTER FITTINGS LABELED PURGE AND TANK)

3/8 IN. REINFORCED FUEL 1 AND OIL RESISTANT TUBING (CANISTER FITTING LABELED AIR)

SPRING CLAMPS FOR 3/8 IN. 2 TUBING (CANISTER FITTING LABELED AIR)

SPRING CLAMPS FOR 5/16 IN. 3 TUBING (CANISTER FITTINGS LABELED PURGE AND TANK)

SCREW CLAMPS FOR 5/16 IN. 1 TUBING (CANISTER FITTING LABELED TANK)

1. REMOVE THE RUBBER CONNECTORS FROM THE NYLON LINES AND REPLACE WITH REINFORCED FUEL AND OIL RESISTANT TUBING LISTED ABOVE.

2. CLAMP THE TUBING TO NYLON LINE USING DESIGNATED SPRING CLAMPS.

3. CONNECT THE TUBING TO CANISTER PORTS AND CLAMP USING THE DESIGNATED SPRING CLAMPS, WITH THE EXCEPTION TO THE CANISTER FITTING LABELED TANK. A SCREW CLAMP MUST BE USED PROPERLY TO SEAL THIS CONNECTION.

WARRANTY INFORMATION:

FOR VEHICLES REPAIRED UNDER WARRANTY, USE:

LABOR OPERATION NUMBER: J6982 LABOR OPERATION TIME: 0.3 HR

FIGURES: 01 ATTACHMENTS: 00

FIGURE 1 1. EVAP CANISTER 2. EVAP VENT SOLENOID 3. EVAP HOSES


Object Number: 335602  Size: SH

GENERAL MOTORS BULLETINS ARE INTENDED FOR USE BY PROFESSIONAL TECHNICIANS, NOT A "DO-IT-YOURSELFER". THEY ARE WRITTEN TO INFORM THOSE TECHNICIANS OF CONDITIONS THAT MAY OCCUR ON SOME VEHICLES, OR TO PROVIDE INFORMATION THAT COULD ASSIST IN THE PROPER SERVICE OF A VEHICLE. PROPERLY TRAINED TECHNICIANS HAVE THE EQUIPMENT, TOOLS, SAFETY INSTRUCTIONS AND KNOW-HOW TO DO A JOB PROPERLY AND SAFELY. IF A CONDITION IS DESCRIBED, DO NOT ASSUME THAT THE BULLETIN APPLIES TO YOUR VEHICLE, OR THAT YOUR VEHICLE WILL HAVE THAT CONDITION. SEE A GENERAL MOTORS DEALER SERVICING YOUR BRAND OF GENERAL MOTORS VEHICLE FOR INFORMATION ON WHETHER YOUR VEHICLE MAY BENEFIT FROM THE INFORMATION.

COPYRIGHT 1997 GENERAL MOTORS CORPORATION. ALL RIGHTS RESERVED.