GM Service Manual Online
For 1990-2009 cars only

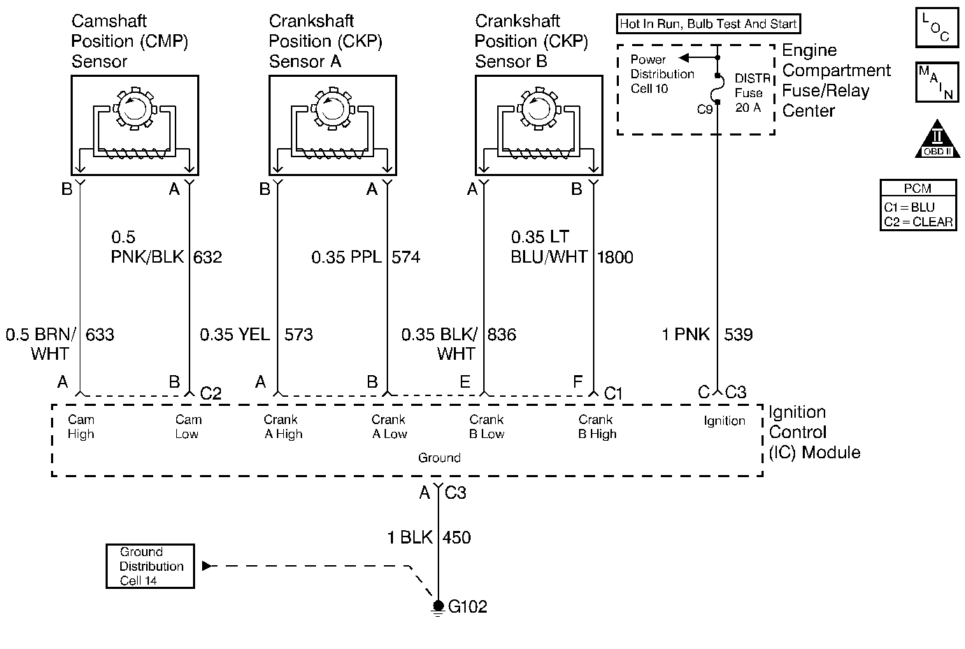
Object Number: 15390  Size: MF
Engine Controls Components
PCM Power and Grounds
OBD II Symbol Description Notice

Circuit Description

The diagnostic test checks for CAM reference pulses not received when 4X reference pulses are being received. This indicates a CAM sensor circuit failure and DTC P0340 is set.

Conditions for Setting the DTC

Test Conditions

    •  DTC P0322 not set.
    •  4X reference pulses being received.
    •  Engine speed 1600 RPM or less.

Failure Condition

A CAM reference pulse was not received for 5.3 seconds.

Action Taken When the DTC Sets

    •  The PCM will illuminate the malfunction indicator lamp (MIL) when the diagnostic runs and fails.
    •  The PCM will record operating conditions at the time the diagnostic fails. This information will be stored in the Freeze Frame and Failure Records.

Conditions for Clearing the MIL/DTC

    •  The PCM will turn the MIL OFF after three consecutive drive trips that the diagnostic runs and does not fail.
    •  A Last Test Failed (current) DTC will clear when the diagnostic runs and does not fail.
    •  A History DTC will clear after forty consecutive warm-up cycles with no failures of any emission related diagnostic test.
    • Use a scan tool to clear DTCs.
    • Interrupting PCM battery voltage may or may not clear DTCs. This practice is not recommended. Refer to Clearing Diagnostic Trouble Codes in PCM Description and Operation.

Test Description

Number(s) below refer to the step number(s) on the Diagnostic Table.

  1. Check to see if DTC P1376 is set because a REF LO problem can cause other ignition problems.

  2. Checking the resistance of the camshaft position sensor. The resistance should be 800 to 2100 ohms. If the resistance is greater, check for an open or if it is less, check for a short to ground or each other.

  3. To ensure acuurate voltage readings, connect the DMM J 39200 to the sensor before recording the Peak Min Max voltage. If the sensor is able to produce a voltage greater than 0.2 volt the sensor is OK. A typical cam sensor should produce an average of 1 volt. Duplicate this test on a known good vehicle to get a comparison voltage if a marginal cam sensor is suspected.

Step

Action

Value(s)

Yes

No

1

Was the Powertrain On-Board Diagnostic (OBD) System Check performed?

--

Go to Step 2

Go to A Powertrain On Board Diagnostic (OBD) System Check

2

Connect a scan tool.

Is DTC P1376 also set?

--

Go to DTC P1376 Ignition Ground Circuit

Go to Step 3

3

  1. Turn the key to OFF.
  2. Disconnect Ignition Control (IC) module connector C2.
  3. Using DMM J 39200 measure the resistance between terminals A and B of IC module connector C2 (harness side).

Is resistance between A and B within the range specified?

800 - 2100 ohms

Go to Step 4

Go to Step 6

4

Individually measure resistance to ground at both terminal A and B of IC module connector C2.

Is resistance at either terminal less than the value specified?

100 ohms

Go to Step 12

Go to Step 5

5

  1. Set DMM to peak min/max, 4 volt scale, 100 ms sampling rate. Refer to Test Descriptions .
  2. Measure AC voltage across terminals A and B of connector C2 (harness side) while the engine is idling.

Is the average AC voltage greater than the value specified?

0.2 volts

Go to Step 9

Go to Step 17

6

Is resistance less than the value specified?

800 ohms

Go to Step 7

Go to Step 8

7

  1. Disconnect camshaft position sensor connector.
  2. Measure resistance between IC module connector C2 terminals A and B (harness side).

Is resistance greater than the value specified?

10K ohms

Go to Step 17

Go to Step 13

8

  1. Disconnect camshaft position sensor connector.
  2. Individually check continuity in the cam low circuit and the cam high circuit.

Is there continuity in both CKT 632 and CKT 633?

--

Go to Step 17

Go to Step 14

9

  1. Reconnect IC module connector C2.
  2. Disconnect IC module connector C4.
  3. Record the fluid life indexes, turn the key to OFF and wait 30 seconds.
  4. Disconnect PCM connector C2.
  5. Using DMM J 39200 measure the resistance to ground at PCM connector C2 terminal 4.

Is the resistance less than the value specified?

10K ohms

Go to Step 16

Go to Step 10

10

Measure the resistance between PCM connector C2 terminal 4 and IC module connector C4 terminal B.

Is the resistance the same or less than the value specified?

5 ohms

Go to Step 11

Go to Step 15

11

  1. Reconnect IC module connector C4.
  2. Set the DMM to peak min/max, 4 volt D/C scale and push the Hz button.
  3. Connect the DMM between IC module connector C4 terminal B and ground.
  4. Start the engine.

Does the FREQUENCY measure more than the value specified?

0.4 Hertz

Go to Step 21

Go to Step 19

12

Repair short to ground in the cam low circuit or the cam high circuit.

Is the repair complete?

--

Go to Powertrain Control Module Diagnosis for Verify Repair

--

13

Repair short between the cam low circuit and the cam high circuit.

Is the repair complete?

--

Go to Powertrain Control Module Diagnosis for Verify Repair

--

14

Repair open or high resistance in the cam low circuit or the cam high circuit.

Is the repair complete?

--

Go to Powertrain Control Module Diagnosis for Verify Repair

--

15

Repair the open in the cam signal circuit.

Is the repair complete?

--

Go to Powertrain Control Module Diagnosis for Verify Repair

--

16

Repair the short to ground in the cam signal circuit.

Is the repair complete?

--

Go to Powertrain Control Module Diagnosis for Verify Repair

--

17

  1. Check terminal contact at the cam sensor connector.
  2. Repair terminal contact if needed.

Was terminal contact repaired?

--

Go to Powertrain Control Module Diagnosis for Verify Repair

Go to Step 18

18

Replace the cam sensor. Refer to Camshaft Position (CMP) Sensor Replacement .

Is the replacement complete?

--

Go to Powertrain Control Module Diagnosis for Verify Repair

--

19

  1. Check terminal contact at the IC module.
  2. Repair terminal contact if needed.

Was terminal contact repaired?

--

Go to Powertrain Control Module Diagnosis for Verify Repair

Go to Step 20

20

Replace the Ignition Control module. Refer to Ignition Control Module Replacement (Assembly) .

Is the replacement complete?

--

Go to Powertrain Control Module Diagnosis for Verify Repair

--

21

  1. Check terminal contact at the PCM connector C2 terminal 4.
  2. Repair terminal contact if needed.

Was terminal contact repaired?

--

Go to Powertrain Control Module Diagnosis for Verify Repair

Go to Step 22

22

Replace the PCM. Refer to PCM Replacement/Programming .

Is the replacement complete?

--

Go to Powertrain Control Module Diagnosis for Verify Repair

--