GM Service Manual Online
For 1990-2009 cars only

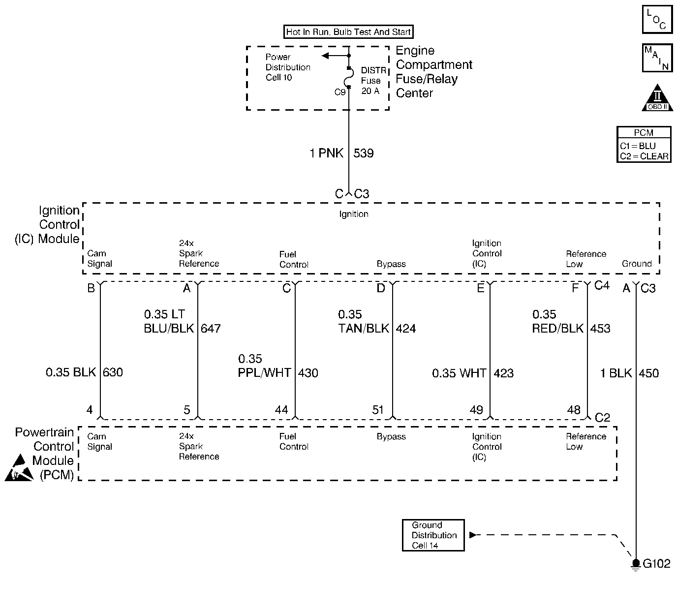
Object Number: 13012  Size: LF
Engine Controls Components
Ignition Control (IC) Module
OBD II Symbol Description Notice
ESD Notice

Circuit Description

This diagnostic test checks for too many 4X reference pulses between cam pulses. The PCM checks to see if there are 48 24X reference pulses between cam pulses, and if there are, the PCM assumes it is receiving valid cam pulses. Therefore, if the PCM sees more than eight 4X reference pulses between cam pulses, it sets DTC P1370, because the 4X reference signal must be faulty.

Conditions for Setting the DTC

Test Conditions

    •  DTC P1376 not set.
    •  Engine speed higher than 496 RPM.
    •  At least 7 CAM pulses received since key ON.
    •  At least one CAM pulse received in the last 0.25 second.
    •  48 24X reference pulses received between CAM pulses.

Failure Condition

The PCM has received more than 8 4X reference pulses between cam pulses.

Action Taken When the DTC Sets

    •  The PCM will illuminate the malfunction indicator lamp (MIL) when the diagnostic runs and fails.
    •  The PCM will record operating conditions at the time the diagnostic fails. This information will be stored in the Freeze Frame and Failure Records.

Conditions for Clearing the MIL/DTC

    •  The PCM will turn the MIL OFF after three consecutive drive trips that the diagnostic runs and does not fail.
    •  A Last Test Failed (current) DTC will clear when the diagnostic runs and does not fail.
    •  A History DTC will clear after forty consecutive warm-up cycles with no failures of any emission related diagnostic test.
    • Use a scan tool to clear DTCs.
    • Interrupting PCM battery voltage may or may not clear DTCs. This practice is not recommended. Refer to Clearing Diagnostic Trouble Codes in PCM Description and Operation.

Test Description

Number(s) below refer to the step number(s) on the Diagnostic Table.

  1. Checking for possible cause of noise (extra 4X pulses) on the Fuel Control (4X) circuit.

Step

Action

Value(s)

Yes

No

1

Was the Powertrain On-Board Diagnostic (OBD) System Check performed?

--

Go to Step 2

Go to A Powertrain On Board Diagnostic (OBD) System Check

2

  1. Check for possible sources of EMI (Electromagnetic Interference).
  2. The following are some possible causes:

    • Spark plug wires run along side the Ignition Control Module (IC module).
    • High power transmitters operating in the vicinity (such as mobile radios).
    • Various testing equipment.
    • A battery charger.
  3. If possible source is found, remove it.

Was any possible source of EMI found and removed?

--

Go to Powertrain Control Module Diagnosis for Verify Repair

Go to Step 3

3

Clear DTCs and retest.

Does DTC P1370 reset?

--

Go to Step 4

Fault not present

4

  1. Check terminal contact at IC module connector C4 terminal C.
  2. Check terminal contact at PCM connector C2 terminal 44.
  3. Repair terminal contact if needed.

Was terminal contact repaired?

--

Go to Powertrain Control Module Diagnosis for Verify Repair

Go to Step 5

5

Replace Ignition Control Module. Refer to Ignition Control Module Replacement (Assembly) .

Is the replacement complete?

--

Go to Powertrain Control Module Diagnosis for Verify Repair

--