| Table 1: | Left Cylinder Head Camshaft Cover Face |
| Table 2: | Left Cylinder Head Front Face |
| Table 3: | Left Cylinder Head Intake Face |
| Table 4: | Left Cylinder Head Exhaust Face |
| Table 5: | Left Cylinder Head Rear Face |
| Table 6: | Right Cylinder Head Camshaft Cover Face |
| Table 7: | Right Cylinder Head Front Face |
| Table 8: | Right Cylinder Head Intake Face |
| Table 9: | Right Cylinder Head Exhaust Face |
| Table 10: | Right Cylinder Head Rear Face |
| Table 11: | Engine Block Front |
| Table 12: | Engine Block Left Side |
| Table 13: | Engine Block Right Side |
| Table 14: | Engine Block Rear |
| Table 15: | Engine Block Top |
| Table 16: | Engine Block Left Deck Face |
| Table 17: | Engine Block Right Deck Face |
| Table 18: | Engine Block Lower Face |
| Table 19: | Lower Crankcase Pan Face |
| Table 20: | Oil Pan - Bottom |
Hole Location | Thread Size | Drill | Counter Bore Tool | Stop Collar | Tap | Driver | Insert | Drill Depth (Maximum) | Tap Depth (Minimum) | ||
|---|---|---|---|---|---|---|---|---|---|---|---|
J 42385- | MM | (IN) | MM | (IN) | |||||||
1 | 6 x 1.0 | 201 | 202 | N/A | 203 | 204 | 205 | 22 | 0.866 | 18 | 0.709 |
2 | 6 x 1.0 | 608 | N/A | N/A | 203 | 204 | 205 | 26 | 1.024 | 22 | 0.866 |
3 | 6 x 1.0 | 201 | 202 | N/A | 203 | 204 | 205 | THRU | THRU | ||
Hole Location | Thread Size | Drill | Counter Bore Tool | Stop Collar | Tap | Driver | Insert | Drill Depth (Maximum) | Tap Depth (Minimum) | ||
|---|---|---|---|---|---|---|---|---|---|---|---|
J 42385- | MM | (IN) | MM | (IN) | |||||||
1 | 10 x 1.5 | 211 | 212 | N/A | 213 | 214 | 215 | 32 | 1.260 | 26 | 1.024 |
2 | 10 x 1.5 | 211 | 212 | N/A | 213 | 214 | 215 | 28 | 1.102 | 22.5 | 0.886 |
3 | 8 x 1.25 | 610 | N/A | 619 | 208 | 209 | 620 | THRU | THRU | ||
4 | 8 x 1.25 | 610 | N/A | 619 | 208 | 209 | 620 | 25 | 0.984 | 20 | 0.787 |
Hole Location | Thread Size | Drill | Counter Bore Tool | Stop Collar | Tap | Driver | Insert | Drill Depth (Maximum) | Tap Depth (Minimum) | ||
|---|---|---|---|---|---|---|---|---|---|---|---|
J 42385- | MM | (IN) | MM | (IN) | |||||||
1 | 6 x 1.0 | 201 | 202 | N/A | 203 | 204 | 205 | THRU | THRU | ||
2 | 6 x 1.0 | 201 | 202 | N/A | 203 | 204 | 205 | 25 | 0.984 | 21.25 | 0.837 |
Hole Location | Thread Size | Drill | Counter Bore Tool | Stop Collar | Tap | Driver | Insert | Drill Depth (Maximum) | Tap Depth (Minimum) | ||
|---|---|---|---|---|---|---|---|---|---|---|---|
J 42385- | MM | (IN) | MM | (IN) | |||||||
1 | 10 x 1.5 | 211 | 212 | N/A | 213 | 214 | 215 | 32 | 1.260 | 26 | 1.024 |
2 | 16 x 1.5 | 861 | 862 | N/A | 863 | 864 | 860 | 20 | 0.787 | 16 | 0.630 |
3 | 8 x 1.25 | 206 | 207 | N/A | 208 | 209 | 210 | 27 | 1.063 | 22 | 0.866 |
4 | 8 x 1.25 | 206 | 207 | N/A | 208 | 209 | 210 | 25 | 0.984 | 20 | 0.787 |
5 | 6 x 1.0 | 201 | 202 | N/A | 203 | 204 | 205 | 22 | 0.866 | 18 | 0.708 |
Hole Location | Thread Size | Drill | Counter Bore Tool | Stop Collar | Tap | Driver | Insert | Drill Depth (Maximum) | Tap Depth (Minimum) | ||
|---|---|---|---|---|---|---|---|---|---|---|---|
J 42385- | MM | (IN) | MM | (IN) | |||||||
1 | 16 x 1.5 | 861 | 862 | N/A | 863 | 864 | 860 | 20 | 0.787 | 16 | 0.630 |
2¹ | 16 x 1.5 | 861 | 862 | N/A | 863 | 864 | 860 | 20 | 0.787 | 16 | 0.630 |
3 | 8 x 1.25 | 206 | 207 | N/A | 208 | 209 | 210 | 27 | 1.063 | 22 | 0.866 |
¹Hole 2 will require that the oil passage hole be redrilled | |||||||||||
Hole Location | Thread Size | Drill | Counter Bore Tool | Stop Collar | Tap | Driver | Insert | Drill Depth (Maximum) | Tap Depth (Minimum) | ||
|---|---|---|---|---|---|---|---|---|---|---|---|
J 42385- | MM | (IN) | MM | (IN) | |||||||
1 | 6 x 1.0 | 201 | 202 | N/A | 203 | 204 | 205 | THRU | THRU | ||
2 | 6 x 1.0 | 201 | 202 | N/A | 203 | 204 | 205 | 22 | 0.866 | 18 | 0.709 |
3 | 6 x 1.0 | 608 | N/A | N/A | 203 | 204 | 205 | 26 | 1.024 | 22 | 0.866 |
Hole Location | Thread Size | Drill | Counter Bore Tool | Stop Collar | Tap | Driver | Insert | Drill Depth (Maximum) | Tap Depth (Minimum) | ||
|---|---|---|---|---|---|---|---|---|---|---|---|
J 42385- | MM | (IN) | MM | (IN) | |||||||
1 | 10 x 1.5 | 211 | 212 | N/A | 213 | 214 | 215 | 32 | 1.260 | 26 | 1.024 |
2 | 6 x 1.0 | 201 | 202 | N/A | 203 | 204 | 205 | THRU | THRU | ||
3 | 8 x 1.25 | 206 | 207 | N/A | 208 | 209 | 210 | THRU | THRU | ||
4 | 8 x 1.25 | 610 | N/A | 619 | 208 | 209 | 620 | 25 | 0.984 | 20 | 0.787 |
Hole Location | Thread Size | Drill | Counter Bore Tool | Stop Collar | Tap | Driver | Insert | Drill Depth (Maximum) | Tap Depth (Minimum) | ||
|---|---|---|---|---|---|---|---|---|---|---|---|
J 42385- | MM | (IN) | MM | (IN) | |||||||
1 | 6 x 1.0 | 201 | 202 | N/A | 203 | 204 | 205 | THRU | THRU | ||
2 | 6 x 1.0 | 201 | 202 | N/A | 203 | 204 | 205 | 25 | 0.984 | 21.25 | 0.837 |
Hole Location | Thread Size | Drill | Counter Bore Tool | Stop Collar | Tap | Driver | Insert | Drill Depth (Maximum) | Tap Depth (Minimum) | ||
|---|---|---|---|---|---|---|---|---|---|---|---|
J 42385- | MM | (IN) | MM | (IN) | |||||||
1 | 8 x 1.25 | 206 | 207 | N/A | 208 | 209 | 210 | 25 | 0.984 | 20 | 0.787 |
2 | 10 x 1.5 | 211 | 212 | N/A | 213 | 214 | 215 | 32 | 1.260 | 26 | 1.024 |
3 | 16 x 1.5 | 861 | 862 | N/A | 863 | 864 | 860 | 20 | 0.787 | 16 | 0.630 |
Hole Location | Thread Size | Drill | Counter Bore Tool | Stop Collar | Tap | Driver | Insert | Drill Depth (Maximum) | Tap Depth (Minimum) | ||
|---|---|---|---|---|---|---|---|---|---|---|---|
J 42385- | MM | (IN) | MM | (IN) | |||||||
1 | 16 x 1.5 | 861 | 862 | N/A | 863 | 864 | 860 | 20 | 0.787 | 16 | 0.630 |
2 | 10 x 1.5 | 211 | 212 | N/A | 213 | 214 | 215 | 32 | 1.260 | 26 | 1.024 |
3 | 10 x 1.5 | 211 | 212 | N/A | 208 | 214 | 215 | 32 | 1.260 | 26 | 1.024 |
4 | 8 x 1.25 | 206 | 207 | N/A | 208 | 209 | 210 | 27 | 1.063 | 22 | 0.866 |
5 | 3/8 x 18 NPSF | 2013 | N/A | N/A | 2014 | 2015 | 2016 | THRU | THRU | ||
Hole Location | Thread Size | Drill | Counter Bore Tool | Stop Collar | Tap | Driver | Insert | Drill Depth (Maximum) | Tap Depth (Minimum) | ||
|---|---|---|---|---|---|---|---|---|---|---|---|
J 42385- | MM | (IN) | MM | (IN) | |||||||
1 | 8 x 1.25 | 206 | 207 | N/A | 208 | 209 | 210 | 27 | 1.063 | 22 | 0.866 |
2 | 6 x 1.0 | 201 | 202 | N/A | 203 | 204 | 205 | 19.5 | 0.768 | 15.5 | 0.610 |
3 | 6 x 1.0 | 201 | 202 | N/A | 203 | 204 | 205 | 24 | 0.945 | 17 | 0.669 |
4 | 6 x 1.0 | 201 | 202 | N/A | 203 | 204 | 205 | THRU | 17 | 0.669 | |
5 | 10 x 1.5 | 211 | 212 | N/A | 213 | 214 | 215 | 33 | 1.299 | 27 | 1.063 |
6 | 8 x 1.25 | 206 | 207 | N/A | 208 | 209 | 210 | THRU | THRU | ||
7 | 6 x 1.0 | 201 | 202 | N/A | 203 | 204 | 205 | THRU | THRU | ||
8 | 10 x 1.5 | 211 | 212 | N/A | 213 | 214 | 215 | THRU | THRU | ||
9 | 8 x 1.25 | 610 | N/A | 619 | 208 | 209 | 620 | THRU | THRU | ||
10 | 6 x 1.0 | 201 | 202 | N/A | 203 | 204 | 205 | THRU | 15.5 | 0.610 | |
11 | 8 x 1.75 | 2001 | 2002 | N/A | 2003 | 2004 | 2005 | 26 | 1.024 | 21 | 0.827 |
Hole Location | Thread Size | Drill | Counter Bore Tool | Stop Collar | Tap | Driver | Insert | Drill Depth (Maximum) | Tap Depth (Minimum) | ||
|---|---|---|---|---|---|---|---|---|---|---|---|
J 42385- | MM | (IN) | MM | (IN) | |||||||
1 | 10 x 1.5 | 211 | 212 | N/A | 213 | 214 | 215 | 30 | 1.181 | 24 | 0.945 |
2 | 6 x 1.0 | 608 | N/A | N/A | 203 | 204 | 205 | 27.5 | 1.083 | 22.5 | 0.886 |
3 | 6 x 1.0 | 201 | 202 | N/A | 203 | 204 | 205 | THRU | 21 | 0.827 | |
4 | 8 x 1.25 | 610 | N/A | N/A | 207 | 208 | 620 | 30 | 1.181 | 25 | 0.984 |
5 | 8 x 1.25 | 206 | 207 | N/A | 208 | 209 | 210 | 20 | 0.787 | 16 | 0.630 |
6 | 8 x 1.25 | 206 | 207 | N/A | 208 | 209 | 210 | 25 | 1.020 | 20 | 0.787 |
Hole Location | Thread Size | Drill | Counter Bore Tool | Stop Collar | Tap | Driver | Insert | Drill Depth (Maximum) | Tap Depth (Minimum) | ||
|---|---|---|---|---|---|---|---|---|---|---|---|
J 42385- | MM | (IN) | MM | (IN) | |||||||
1 | 10 x 1.5 | 211 | 212 | N/A | 213 | 214 | 215 | 30 | 1.181 | 24 | 0.945 |
2 | 6 x 1.0 | 608 | N/A | N/A | 203 | 204 | 205 | 27.5 | 1.083 | 22.5 | 0.886 |
3 | 10 x 1.5 | 211 | 212 | N/A | 213 | 214 | 215 | 33 | 1.299 | 27 | 1.063 |
Hole Location | Thread Size | Drill | Counter Bore Tool | Stop Collar | Tap | Driver | Insert | Drill Depth (Maximum) | Tap Depth (Minimum) | ||
|---|---|---|---|---|---|---|---|---|---|---|---|
J 42385- | MM | (IN) | MM | (IN) | |||||||
1 | 12 x 1.75 | 856 | 857 | N/A | 858 | 859 | 855 | THRU | THRU | ||
2 | 8 x 1.25 | 206 | 207 | N/A | 208 | 209 | 210 | THRU | THRU | ||
3 | No Service-Not Threaded | ||||||||||
4 | 8 x 1.25 | 206 | 207 | N/A | 208 | 209 | 210 | 30 | 1.181 | 24 | 0.945 |
5 | 8 x 1.25 | 206 | 207 | N/A | 208 | 209 | 210 | THRU | 24 | 0.945 | |
Hole Location | Thread Size | Drill | Counter Bore Tool | Stop Collar | Tap | Driver | Insert | Drill Depth (Maximum) | Tap Depth (Minimum) | ||
|---|---|---|---|---|---|---|---|---|---|---|---|
J 42385- | MM | (IN) | MM | (IN) | |||||||
1 | 6 x 1.0 | 201 | 202 | N/A | 203 | 204 | 205 | 20.0 | 0.7874 | 16.0 | 0.6299 |
2 | 8 x 1.25 | 206 | 207 | N/A | 208 | 209 | 210 | 23.5 | 0.9250 | 18.5 | 0.7280 |
3 | 8 x 1.25 | 206 | 207 | N/A | 208 | 209 | 210 | 23.0 | 0.9055 | 19.0 | 0.7480 |
4 | 10 x 1.5 | 211 | 212 | N/A | 213 | 214 | 215 | 31.5 | 1.2400 | 26.5 | 1.0820 |
5 | 6 x 1.0 | 201 | 202 | N/A | 203 | 204 | 205 | 23.0 | 0.9055 | 19.0 | 0.7480 |
Hole Location | Thread Size | Drill | Counter Bore Tool | Stop Collar | Tap | Driver | Insert | Drill Depth (Maximum) | Tap Depth (Minimum) | ||
|---|---|---|---|---|---|---|---|---|---|---|---|
J 42385- | MM | (IN) | MM | (IN) | |||||||
1 | 11 x 2.0 | 2031 | N/A | 2034 | 2032 | 2033 | 108 | 73 | 2.874 | 67 | 2.638 |
2 | 11 x 2.0 | 2031 | N/A | N/A | 2032 | 2033 | 108 | 89.5 | 3.524 | 83.5 | 3.287 |
3 | 6 x 1.0 | 608 | N/A | N/A | 203 | 204 | 205 | 30 | 1.181 | 25 | 0.984 |
Hole Location | Thread Size | Drill | Counter Bore Tool | Stop Collar | Tap | Driver | Insert | Drill Depth (Maximum) | Tap Depth (Minimum) | ||
|---|---|---|---|---|---|---|---|---|---|---|---|
J 42385- | MM | (IN) | MM | (IN) | |||||||
1 | 11 x 2.0 | 2031 | N/A | 2034 | 2032 | 2033 | 108 | 73 | 2.874 | 67 | 2.638 |
2 | 10 x 1.5 | 211 | 212 | N/A | 213 | 214 | 215 | 31.5 | 1.240 | 26.5 | 1.082 |
3 | 6 x 1.0 | 608 | N/A | N/A | 203 | 204 | 205 | 30 | 1.181 | 25 | 0.894 |
4 | 11 x 2.0 | 2031 | N/A | N/A | 2032 | 2033 | 108 | 89.5 | 3.524 | 83.5 | 3.287 |
Hole Location | Thread Size | Drill | Counter Bore Tool | Stop Collar | Tap | Driver | Insert | Drill Depth (Maximum) | Tap Depth (Minimum) | ||
|---|---|---|---|---|---|---|---|---|---|---|---|
J 42385- | MM | (IN) | MM | (IN) | |||||||
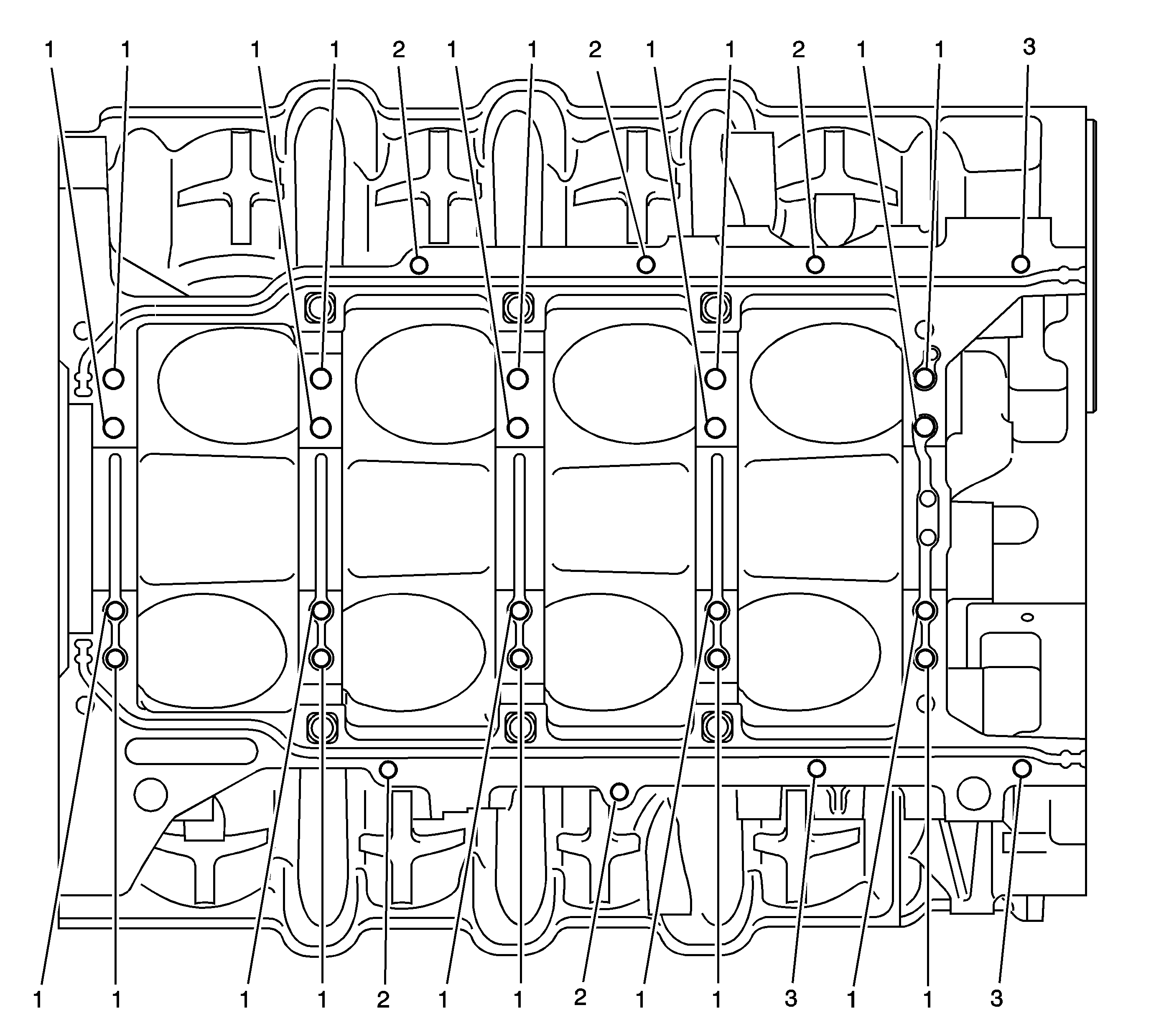
1 | 10 x 1.5 | 511 | N/A | N/A | 512 | 513 | 514 | 32 | 1.260 | 26.5 | 1.043 |
2 | 8 x 1.25 | 610 | N/A | N/A | 208 | 209 | 620 | THRU | THRU | ||
3 | 8 x 1.25 | 610 | N/A | N/A | 208 | 209 | 620 | 37 | 1.457 | 32 | 1.260 |
|
Important: Items required for Main Bearing repair (3) 510 bolts (1) 306 Plate SPX (1) 307 bushing (1) 308 alignment pin | |||||||||||
Hole Location | Thread Size | Drill | Counter Bore Tool | Stop Collar | Tap | Driver | Insert | Drill Depth (Maximum) | Tap Depth (Minimum) | ||
|---|---|---|---|---|---|---|---|---|---|---|---|
J 42385- | MM | (IN) | MM | (IN) | |||||||
1 | 6 x 1.0 | 201 | 202 | N/A | 203 | 204 | 205 | THRU | THRU | ||
2 | 6 x 1.0 | 201 | 202 | N/A | 203 | 204 | 205 | 22 | 0.866 | 18 | 0.709 |
3 | 6 x 1.0 | 201 | 202 | N/A | 203 | 204 | 205 | 19 | 0.748 | 15 | 0.591 |
Hole Location | Thread Size | Drill | Counter Bore Tool | Stop Collar | Tap | Driver | Insert | Drill Depth (Maximum) | Tap Depth (Minimum) | ||
|---|---|---|---|---|---|---|---|---|---|---|---|
J 42385- | MM | (IN) | MM | (IN) | |||||||
1 | 10 x 1.5 | 211 | 212 | N/A | 213 | 214 | 215 | 29.3 | 1.1535 | 26.0 | 1.0236 |
2 | 8 x 1.25 | 206 | 207 | N/A | 208 | 209 | 210 | 30.0 | 1.1811 | 25.0 | 0.9843 |