GM Service Manual Online
For 1990-2009 cars only
Connector 1: Accelerator Pedal Position (APP) Sensor
Connector 2: Camshaft Position (CMP) Sensor
Connector 3: Crankshaft Position (CKP) Sensor
Connector 4: Engine Coolant Temperature (ECT) Sensor
Connector 5: Evaporative Emission (EVAP) Canister Purge Solenoid Valve
Connector 6: Evaporative Emission (EVAP) Canister Vent Solenoid Valve
Connector 7: Exhaust Gas Recirculation (EGR) Valve
Connector 8: Fuel Injector 1
Connector 9: Fuel Injector 2
Connector 10: Fuel Injector 3
Connector 11: Fuel Injector 4
Connector 12: Fuel Injector 5
Connector 13: Fuel Injector 6
Connector 14: Fuel Injector 7
Connector 15: Fuel Injector 8
Connector 16: Fuel Pump and Sender Assembly
Connector 17: Fuel Tank Pressure (FTP) Sensor
Connector 18: Heated Oxygen Sensor (HO2S) Bank 1 Sensor 1
Connector 19: Heated Oxygen Sensor (HO2S) Bank 2 Sensor 1
Connector 20: Heated Oxygen Sensor (HO2S) 2
Connector 21: Ignition Coil/Module 1
Connector 22: Ignition Coil/Module 2
Connector 23: Ignition Coil/Module 3
Connector 24: Ignition Coil/Module 4
Connector 25: Ignition Coil/Module 5
Connector 26: Ignition Coil/Module 6
Connector 27: Ignition Coil/Module 7
Connector 28: Ignition Coil/Module 8
Connector 29: Knock Sensor (KS) 1
Connector 30: Knock Sensor (KS) 2
Connector 31: Manifold Absolute Pressure (MAP) Sensor
Connector 32: Mass Air Flow (MAF)/Intake Air Temperature (IAT) Sensor
Connector 33: Secondary Air Injection (AIR) Check Valve
Connector 34: Secondary Air Injection (AIR) Pump
Connector 35: Throttle Body Assembly

Accelerator Pedal Position (APP) Sensor


Object Number: 632357  Size: CH

Connector Part Information

  • OEM: 15326829
  • Service: 88953153
  • Description: 6-Way F 150 Series Sealed (BK)

Terminal Part Information

  • Terminal/Tray: 12191819/8
  • Core/Insulation Crimp: E/A
  • Release Tool/Test Probe: 15315247/J-35616-2A (GY)

Accelerator Pedal Position (APP) Sensor

Pin

Wire Color

Circuit No.

Function

A

PU/WH

1272

Low Reference

B

L-BU

1162

APP Sensor 2 Signal

C

TN/BK

1274

5-Volt Reference

D

BN

1271

Low Reference

E

D-BU/WH

1161

APP Sensor 1 Signal

F

WH/BK

1164

5-Volt Reference

Camshaft Position (CMP) Sensor


Object Number: 646415  Size: CH

Connector Part Information

  • OEM: 15326808
  • Service: 15306388
  • Description: 3-Way F GT 150 Series Sealed 4.5 (BK)

Terminal Part Information

  • Terminal/Tray: See Terminal Repair Kit
  • Core/Insulation Crimp: See Terminal Repair Kit
  • Release Tool/Test Probe: See Terminal Repair Kit

Camshaft Position (CMP) Sensor

Pin

Wire Color

Circuit No.

Function

A

D-BU

6259

CMP Sensor 5-Volt Reference

B

BN

6266

Low Reference

C

D-BU/WH

6265

CMP Sensor Signal

Crankshaft Position (CKP) Sensor


Object Number: 646415  Size: CH

Connector Part Information

  • OEM: 15326808
  • Service: 15306388
  • Description: 3-Way F GT 150 Series Sealed 4.5 (BK)

Terminal Part Information

  • Terminal/Tray: See Terminal Repair Kit
  • Core/Insulation Crimp: See Terminal Repair Kit
  • Release Tool/Test Probe: See Terminal Repair Kit

Crankshaft Position (CKP) Sensor

Pin

Wire Color

Circuit No.

Function

A

PU/WH

6270

CKP Sensor 5-Volt Reference

B

GY/BK

6272

Low Reference

C

WH/BK

6271

CKP Sensor Signal

Engine Coolant Temperature (ECT) Sensor


Object Number: 655692  Size: CH

Connector Part Information

  • OEM: 12162195
  • Service: 88987993
  • Description: 2-Way F Metri-Pack 150.2 Series Sealed, Pull To Seat (BK)

Terminal Part Information

  • Terminal/Tray: 12124075/5
  • Core/Insulation Crimp: E/C
  • Release Tool/Test Probe: 12180559-1/J-35616-2A (GY)

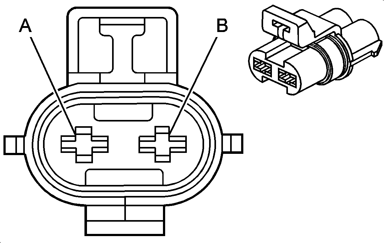
Engine Coolant Temperature (ECT) Sensor

Pin

Wire Color

Circuit No.

Function

A

YE

410

ECT Sensor Signal

B

PK

2761

Low Reference

Evaporative Emission (EVAP) Canister Purge Solenoid Valve


Object Number: 684829  Size: CH

Connector Part Information

  • OEM: 12124037
  • Service: 12101858
  • Description: 2-Way F Metri-Pack 150 Series Sealed (BK)

Terminal Part Information

  • Terminal/Tray: 12048074/2
  • Core/Insulation Crimp: E/1
  • Release Tool/Test Probe: 12094429/J-35616-2A (GY)

Evaporative Emission (EVAP) Canister Purge Solenoid Valve

Pin

Wire Color

Circuit No.

Function

A

PK/BK

5293

Powertrain Main Relay Fused Supply

B

D-GN/WH

428

EVAP Canister Purge Solenoid Control

Evaporative Emission (EVAP) Canister Vent Solenoid Valve


Object Number: 684829  Size: CH

Connector Part Information

  • OEM: 12124037
  • Service: 12101858
  • Description: 2-Way F Metri-Pack 150 Series Sealed (BK)

Terminal Part Information

  • Terminal/Tray: 12048074/2
  • Core/Insulation Crimp: E/1
  • Release Tool/Test Probe: 12094429/J-35616-2A (GY)

Evaporative Emission (EVAP) Canister Vent Solenoid Valve

Pin

Wire Color

Circuit No.

Function

A

RD/WH

2840

Battery Positive Voltage

B

TN/WH

1310

EVAP Canister Vent Solenoid Control

Exhaust Gas Recirculation (EGR) Valve


Object Number: 684863  Size: CH

Connector Part Information

  • OEM: 12186056
  • Service: 15306027
  • Description: 5-Way F Metri-Pack 150.2 Series Pull To Seat, Sealed (BK)

Terminal Part Information

  • Terminal/Tray: 12124075/5
  • Core/Insulation Crimp: E/C
  • Release Tool/Test Probe: 12180559-1/J-35616-2A (GY)

Exhaust Gas Recirculation (EGR) Valve

Pin

Wire Color

Circuit No.

Function

A

GY

435

EGR Solenoid Low Control

B

TN/D-GN

2753

Low Reference

C

L-GN/RD

1456

EGR Valve Position Signal

D

PK/TN

2702

5-Volt Reference

E

RD/L-BU

1676

EGR Solenoid High Control

Fuel Injector 1


Object Number: 1527729  Size: CH

Connector Part Information

  • OEM: 15419715
  • Service: 88988313
  • Description: 2-Way F Metri-Pack 150 Series (BK)

Terminal Part Information

  • Terminal/Tray: 12191819/8
  • Core/Insulation Crimp: E/A
  • Release Tool/Test Probe: 15315247/J-35616-2A (GY)

Fuel Injector 1

Pin

Wire Color

Circuit No.

Function

A

PK/GY

5291

Ignition 1 Voltage

B

TN/BK

1744

Fuel Injector 1 Control

Fuel Injector 2


Object Number: 1527729  Size: CH

Connector Part Information

  • OEM: 15419715
  • Service: 88988313
  • Description: 2-Way F Metri-Pack 150 Series (BK)

Terminal Part Information

  • Terminal/Tray: 12191819/8
  • Core/Insulation Crimp: E/A
  • Release Tool/Test Probe: 15315247/J-35616-2A (GY)

Fuel Injector 2

Pin

Wire Color

Circuit No.

Function

A

PK/BK

5292

Ignition 1 Voltage

B

L-GN/BK

1745

Fuel Injector 2 Control

Fuel Injector 3


Object Number: 1527729  Size: CH

Connector Part Information

  • OEM: 15419715
  • Service: 88988313
  • Description: 2-Way F Metri-Pack 150 Series (BK)

Terminal Part Information

  • Terminal/Tray: 12191819/8
  • Core/Insulation Crimp: E/A
  • Release Tool/Test Probe: 15315247/J-35616-2A (GY)

Fuel Injector 3

Pin

Wire Color

Circuit No.

Function

A

PK/GY

5291

Ignition 1 Voltage

B

PK

1746

Fuel Injector 3 Control

Fuel Injector 4


Object Number: 1527729  Size: CH

Connector Part Information

  • OEM: 15419715
  • Service: 88988313
  • Description: 2-Way F Metri-Pack 150 Series (BK)

Terminal Part Information

  • Terminal/Tray: 12191819/8
  • Core/Insulation Crimp: E/A
  • Release Tool/Test Probe: 15315247/J-35616-2A (GY)

Fuel Injector 4

Pin

Wire Color

Circuit No.

Function

A

PK/BK

5292

Ignition 1 Voltage

B

L-BU/BK

844

Fuel Injector 4 Control

Fuel Injector 5


Object Number: 1527729  Size: CH

Connector Part Information

  • OEM: 15419715
  • Service: 88988313
  • Description: 2-Way F Metri-Pack 150 Series (BK)

Terminal Part Information

  • Terminal/Tray: 12191819/8
  • Core/Insulation Crimp: E/A
  • Release Tool/Test Probe: 15315247/J-35616-2A (GY)

Fuel Injector 5

Pin

Wire Color

Circuit No.

Function

A

PK/GY

5291

Ignition 1 Voltage

B

TN/WH

845

Fuel Injector 5 Control

Fuel Injector 6


Object Number: 1527729  Size: CH

Connector Part Information

  • OEM: 15419715
  • Service: 88988313
  • Description: 2-Way F Metri-Pack 150 Series (BK)

Terminal Part Information

  • Terminal/Tray: 12191819/8
  • Core/Insulation Crimp: E/A
  • Release Tool/Test Probe: 15315247/J-35616-2A (GY)

Fuel Injector 6

Pin

Wire Color

Circuit No.

Function

A

PK/BK

5292

Ignition 1 Voltage

B

YE/BK

846

Fuel Injector 6 Control

Fuel Injector 7


Object Number: 1527729  Size: CH

Connector Part Information

  • OEM: 15419715
  • Service: 88988313
  • Description: 2-Way F Metri-Pack 150 Series (BK)

Terminal Part Information

  • Terminal/Tray: 12191819/8
  • Core/Insulation Crimp: E/A
  • Release Tool/Test Probe: 15315247/J-35616-2A (GY)

Fuel Injector 7

Pin

Wire Color

Circuit No.

Function

A

PK/GY

5291

Ignition 1 Voltage

B

OG/BK

877

Fuel Injector 7 Control

Fuel Injector 8


Object Number: 1527729  Size: CH

Connector Part Information

  • OEM: 15419715
  • Service: 88988313
  • Description: 2-Way F Metri-Pack 150 Series (BK)

Terminal Part Information

  • Terminal/Tray: 12191819/8
  • Core/Insulation Crimp: E/A
  • Release Tool/Test Probe: 15315247/J-35616-2A (GY)

Fuel Injector 8

Pin

Wire Color

Circuit No.

Function

A

PK/BK

5292

Ignition 1 Voltage

B

RD/BK

878

Fuel Injector 8 Control

Fuel Pump and Sender Assembly


Object Number: 684908  Size: CH

Connector Part Information

  • OEM: 15326632
  • Service: 15306360
  • Description: 4-Way F GT 280 Series Sealed 5.8 (BK)

Terminal Part Information

  • Terminal/Tray: See Terminal Repair Kit
  • Core/Insulation Crimp: See Terminal Repair Kit
  • Release Tool/Test Probe: See Terminal Repair Kit

Fuel Pump and Sender Assembly

Pin

Wire Color

Circuit No.

Function

A

BK

1050

Ground

B

PU

1589

Primary Fuel Level Sensor Signal

C

BK/WH

651

Low Reference

D

GY

120

Fuel Pump Supply Voltage

Fuel Tank Pressure (FTP) Sensor


Object Number: 516611  Size: CH

Connector Part Information

  • OEM: 12059595
  • Service: 88986451
  • Description: 3-Way F Metri-Pack 150 Series Sealed (BK)

Terminal Part Information

  • Terminal/Tray: See Terminal Repair Kit
  • Core/Insulation Crimp: See Terminal Repair Kit
  • Release Tool/Test Probe: See Terminal Repair Kit

Fuel Tank Pressure (FTP) Sensor

Pin

Wire Color

Circuit No.

Function

A

TN

2759

Low Reference

B

D-GN

890

Fuel Tank Pressure Sensor Signal

C

GY

416

5-Volt Reference

Heated Oxygen Sensor (HO2S) Bank 1 Sensor 1


Object Number: 456551  Size: CH

Connector Part Information

  • OEM: 12160482
  • Service: 88988598
  • Description: 4-Way F (BK)

Terminal Part Information

  • Terminal/Tray: 12048074/2
  • Core/Insulation Crimp: E/1
  • Release Tool/Test Probe: 12094429/J-35616-2A (GY)

Heated Oxygen Sensor (HO2S) Bank 1 Sensor 1

Pin

Wire Color

Circuit No.

Function

A

TN/OG

3111

HO2S Low Reference Bank 1 Sensor 1

B

D-GN

3110

HO2S Reference Voltage Bank 1 Sensor 1

C

WH

3113

HO2S Heater Low Control Bank 1 Sensor 1

D

PK/BK

5293

Powertrain Main Relay Fused Supply

Heated Oxygen Sensor (HO2S) Bank 2 Sensor 1


Object Number: 456551  Size: CH

Connector Part Information

  • OEM: 12160482
  • Service: 88988598
  • Description: 4-Way F (BK)

Terminal Part Information

  • Terminal/Tray: 12048074/2
  • Core/Insulation Crimp: E/1
  • Release Tool/Test Probe: 12094429/J-35616-2A (GY)

Heated Oxygen Sensor (HO2S) Bank 2 Sensor 1

Pin

Wire Color

Circuit No.

Function

A

TN/WH

3211

HO2S Low Reference Bank 2 Sensor 1

B

PU/WH

3210

HO2S Reference Voltage Bank 2 Sensor 1

C

L-GN/WH

3112

HO2S Heater Low Control Bank 2 Sensor 1

D

PK/BK

5293

Powertrain Main Relay Fused Supply

Heated Oxygen Sensor (HO2S) 2


Object Number: 280761  Size: CH

Connector Part Information

  • OEM: 12160825
  • Service: 15305801
  • Description: 4-Way M Metri-Pack 150 Series (BK)

Terminal Part Information

  • Terminal/Tray: 12045773/2
  • Core/Insulation Crimp: E/1
  • Release Tool/Test Probe: 12094429/J-35616-3 (GY)

Heated Oxygen Sensor (HO2S) 2

Pin

Wire Color

Circuit No.

Function

A

TN/PK

3121

HO2S 2 Low Reference

B

PK/OG

3120

HO2S 2 Reference Voltage

C

GY/WH

3122

HO2S 2 Heater Low Control

D

PK/BK

5294

Engine Main Relay Fused Control

Ignition Coil/Module 1


Object Number: 1711350  Size: CH

Connector Part Information

  • OEM: 7283-7449-30
  • Service: Service by Harness - See Part Catalog
  • Description: 4-Way F Metri-Pack 150 Series (BK)

Terminal Part Information

  • Terminal/Tray: See Terminal Repair Kit
  • Core/Insulation Crimp: See Terminal Repair Kit
  • Release Tool/Test Probe: See Terminal Repair Kit

Ignition Coil/Module 1

Pin

Wire Color

Circuit No.

Function

A

PK

-

Ignition 1 Voltage

B

RD

-

IC 1 Control

C

BN

-

Low Reference

D

BK

-

Ground

Ignition Coil/Module 2


Object Number: 1711350  Size: CH

Connector Part Information

  • OEM: 7283-7449-30
  • Service: Service by Harness - See Part Catalog
  • Description: 4-Way F Metri-Pack 150 Series (BK)

Terminal Part Information

  • Terminal/Tray: See Terminal Repair Kit
  • Core/Insulation Crimp: See Terminal Repair Kit
  • Release Tool/Test Probe: See Terminal Repair Kit

Ignition Coil/Module 2

Pin

Wire Color

Circuit No.

Function

A

PK

-

Ignition 1 Voltage

B

PU

-

IC 2 Control

C

BN

-

Low Reference

D

BK

-

Ground

Ignition Coil/Module 3


Object Number: 1711350  Size: CH

Connector Part Information

  • OEM: 7283-7449-30
  • Service: Service by Harness - See Part Catalog
  • Description: 4-Way F Metri-Pack 150 Series (BK)

Terminal Part Information

  • Terminal/Tray: See Terminal Repair Kit
  • Core/Insulation Crimp: See Terminal Repair Kit
  • Release Tool/Test Probe: See Terminal Repair Kit

Ignition Coil/Module 3

Pin

Wire Color

Circuit No.

Function

A

PK

-

Ignition 1 Voltage

B

D-GN

-

IC 3 Control

C

BN

-

Low Reference

D

BK

-

Ground

Ignition Coil/Module 4


Object Number: 1711350  Size: CH

Connector Part Information

  • OEM: 7283-7449-30
  • Service: Service by Harness - See Part Catalog
  • Description: 4-Way F Metri-Pack 150 Series (BK)

Terminal Part Information

  • Terminal/Tray: See Terminal Repair Kit
  • Core/Insulation Crimp: See Terminal Repair Kit
  • Release Tool/Test Probe: See Terminal Repair Kit

Ignition Coil/Module 4

Pin

Wire Color

Circuit No.

Function

A

PK

-

Ignition 1 Voltage

B

L-BU

-

IC 4 Control

C

BN

-

Low Reference

D

BK

-

Ground

Ignition Coil/Module 5


Object Number: 1711350  Size: CH

Connector Part Information

  • OEM: 7283-7449-30
  • Service: Service by Harness - See Part Catalog
  • Description: 4-Way F Metri-Pack 150 Series (BK)

Terminal Part Information

  • Terminal/Tray: See Terminal Repair Kit
  • Core/Insulation Crimp: See Terminal Repair Kit
  • Release Tool/Test Probe: See Terminal Repair Kit

Ignition Coil/Module 5

Pin

Wire Color

Circuit No.

Function

A

PK

-

Ignition 1 Voltage

B

L-BU

-

IC 5 Control

C

BN

-

Low Reference

D

BK

-

Ground

Ignition Coil/Module 6


Object Number: 1711350  Size: CH

Connector Part Information

  • OEM: 7283-7449-30
  • Service: Service by Harness - See Part Catalog
  • Description: 4-Way F Metri-Pack 150 Series (BK)

Terminal Part Information

  • Terminal/Tray: See Terminal Repair Kit
  • Core/Insulation Crimp: See Terminal Repair Kit
  • Release Tool/Test Probe: See Terminal Repair Kit

Ignition Coil/Module 6

Pin

Wire Color

Circuit No.

Function

A

PK

-

Ignition 1 Voltage

B

D-GN

-

IC 6 Control

C

BN

-

Low Reference

D

BK

-

Ground

Ignition Coil/Module 7


Object Number: 1711350  Size: CH

Connector Part Information

  • OEM: 7283-7449-30
  • Service: Service by Harness - See Part Catalog
  • Description: 4-Way F Metri-Pack 150 Series (BK)

Terminal Part Information

  • Terminal/Tray: See Terminal Repair Kit
  • Core/Insulation Crimp: See Terminal Repair Kit
  • Release Tool/Test Probe: See Terminal Repair Kit

Ignition Coil/Module 7

Pin

Wire Color

Circuit No.

Function

A

PK

-

Ignition 1 Voltage

B

PU

-

IC 7 Control

C

BN

-

Low Reference

D

BK

-

Ground

Ignition Coil/Module 8


Object Number: 1711350  Size: CH

Connector Part Information

  • OEM: 7283-7449-30
  • Service: Service by Harness - See Part Catalog
  • Description: 4-Way F Metri-Pack 150 Series (BK)

Terminal Part Information

  • Terminal/Tray: See Terminal Repair Kit
  • Core/Insulation Crimp: See Terminal Repair Kit
  • Release Tool/Test Probe: See Terminal Repair Kit

Ignition Coil/Module 8

Pin

Wire Color

Circuit No.

Function

A

PK

-

Ignition 1 Voltage

B

RD

-

IC 8 Control

C

BN

-

Low Reference

D

BK

-

Ground

Knock Sensor (KS) 1


Object Number: 1232999  Size: CH

Connector Part Information

  • OEM: 15374222
  • Service: 88953268
  • Description: 2-Way F GT 150 Series Sealed (GY)

Terminal Part Information

  • Terminal/Tray: See Terminal Repair Kit
  • Core/Insulation Crimp: See Terminal Repair Kit
  • Release Tool/Test Probe: See Terminal Repair Kit

Knock Sensor (KS) 1

Pin

Wire Color

Circuit No.

Function

A

D-BU

496

Knock Sensor 1 Signal

B

GY

1716

Knock Sensor 1 Signal

Knock Sensor (KS) 2


Object Number: 1232999  Size: CH

Connector Part Information

  • OEM: 15374222
  • Service: 88953268
  • Description: 2-Way F GT 150 Series Sealed (GY)

Terminal Part Information

  • Terminal/Tray: See Terminal Repair Kit
  • Core/Insulation Crimp: See Terminal Repair Kit
  • Release Tool/Test Probe: See Terminal Repair Kit

Knock Sensor (KS) 2

Pin

Wire Color

Circuit No.

Function

A

L-BU

1876

Knock Sensor 2 Signal

B

GY

2303

Knock Sensor 2 Signal

Manifold Absolute Pressure (MAP) Sensor


Object Number: 684840  Size: CH

Connector Part Information

  • OEM: 12129946
  • Service: 88987997
  • Description: 3-Way F Metri-Pack 150 Series Sealed (GY)

Terminal Part Information

  • Terminal/Tray: 12048074/2
  • Core/Insulation Crimp: E/1
  • Release Tool/Test Probe: 12094429/J-35616-2A (GY)

Manifold Absolute Pressure (MAP) Sensor

Pin

Wire Color

Circuit No.

Function

A

OG/BK

469

Low Reference

B

L-GN/BK

432

MAP Sensor Signal

C

GY/WH

2704

5-Volt Reference

Mass Air Flow (MAF)/Intake Air Temperature (IAT) Sensor


Object Number: 647974  Size: CH

Connector Part Information

  • OEM: 13519051
  • Service: 19151498
  • Description: 5-Way F GT 150 Series Sealed 4.0 (BK)

Terminal Part Information

  • Terminal/Tray: 12191819/8
  • Core/Insulation Crimp: E/A
  • Release Tool/Test Probe: 15315247/J-35616-2A (GY)

Mass Air Flow (MAF)/Intake Air Temperature (IAT) Sensor

Pin

Wire Color

Circuit No.

Function

A

TN/YE

492

MAF Sensor Signal

B

PK/BK

5294

Engine Main Relay Fused Control

C

BK/WH

1551

Ground

D

TN

472

IAT Sensor Signal

E

TN/D-BU

2760

Low Reference

Secondary Air Injection (AIR) Check Valve


Object Number: 1526382  Size: CH

Connector Part Information

  • OEM: 13539171
  • Service: 88988601
  • Description: 6-Way F GT 150 Series Sealed (BK)

Terminal Part Information

  • Pins: 1, 2, 3, 4, 6
  • Terminal/Tray: See Terminal Repair Kit
  • Core/Insulation Crimp: See Terminal Repair Kit
  • Release Tool/Test Probe: See Terminal Repair Kit

Secondary Air Injection (AIR) Check Valve

Pin

Wire Color

Circuit No.

Function

1

WH/GY

6786

Low Reference

2

YE/GY

6788

Air Injection Position Signal

3

BN/WH

6790

5-Volt Reference

4

BK

1150

Ground

5

--

--

Not Used

6

PK/BK

415

Air Injection Reaction Solenoid Supply Voltage

Secondary Air Injection (AIR) Pump


Object Number: 1664608  Size: CH

Connector Part Information

  • OEM: 12147067
  • Service: 89046640
  • Description: 2-Way F (GY)

Terminal Part Information

  • Terminal/Tray: 12147474/24
  • Core/Insulation Crimp: G/F/3
  • Release Tool/Test Probe: 12094430/J-35616-42 (RD)

Secondary Air Injection (AIR) Pump

Pin

Wire Color

Circuit No.

Function

A

OG

78

AIR Pump Supply Voltage

B

BK

1150

Ground

Throttle Body Assembly


Object Number: 1664617  Size: CH

Connector Part Information

  • OEM: 15355297
  • Service: 88988106
  • Description: 6-Way F (BK)

Terminal Part Information

  • Pins: A, B, C, D, E, F
  • Terminal/Tray: 12191819/8
  • Core/Insulation Crimp: Pins A, B - 2/A
  • Core/Insulation Crimp: Pins C, D, E, F - E/A
  • Release Tool/Test Probe: 15315247/J-35616-2A (GY)

Throttle Body Assembly

Pin

Wire Color

Circuit No.

Function

A

OG/PK

582

TAC Motor Control - 2

B

YE

581

TAC Motor Control - 1

C

RD/YE

2752

Low Reference

D

D-GN

485

TP Sensor 1 Signal

E

PK/RD

2701

5-Volt Reference

F

PU

486

TP Sensor 2 Signal