GM Service Manual Online
For 1990-2009 cars only
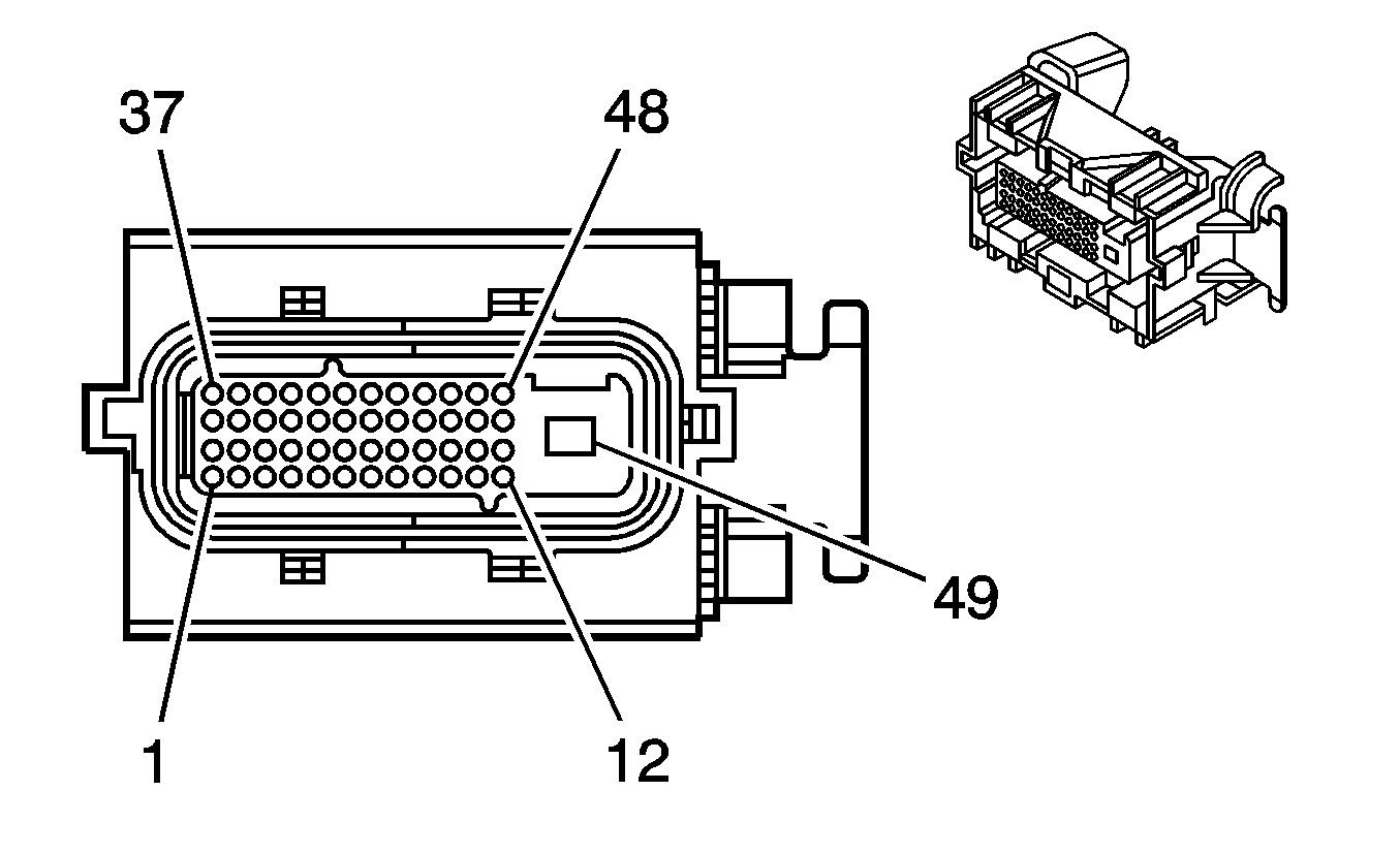
Connector 1: Transmission Control Module (TCM)
Connector 2: Vehicle Speed Sensor Assembly, Wiring Harness Side

Transmission Control Module (TCM)


Object Number: 1664621  Size: CH

Connector Part Information

  • OEM: 13511977
  • Service: See Catalog
  • Description: Connector 49-Way GT 280 Micro 64 Series SLD 5P4

Terminal Part Information

  • Terminal/Tray: See Terminal Repair Kit
  • Core/Insulation Crimp: See Terminal Repair Kit
  • Release Tool/Test Probe: See Terminal Repair Kit

Transmission Control Module (TCM)

Pin

Wire Color

Circuit No.

Function

1

BN

418

TCC Solenoid Valve Control

2

L-GN

1222

Shift Solenoid Valve Control A

3

OG

1230

ISS High Signal

4-5

--

--

Not Used

6

TN

2501

High Speed GMLAN Serial Data Bus -

7

TN/BK

2500

High Speed GMLAN Serial Data Bus +

8-10

--

--

Not Used

11

D-BU

5985

Accessory Wake-up Serial Data

12-15

--

--

Not Used

16

PU

401

OSS Low Signal

17

L-BU/WH

1229

PC Solenoid Valve Low Control

18-19

--

--

Not Used

20

D-GN

1223

Shift Solenoid Valve Control B

21-22

--

--

Not Used

23

GY

773

Transmission Range Switch Signal C

24-25

--

--

Not Used

26

D-BU/WH

1231

ISS Low Signal

27-28

--

--

Not Used

29

TN/WH

771

Transmission Range Switch Signal A

30

TN

2762

TFT Sensor Low Reference

31

PK

539

Ignition 1 Voltage

32

RD/WH

540

Battery Positive Voltage

33-34

--

--

Not Used

35

YE/BK

1227

TFT Sensor Signal

36

--

--

Not Used

37

TN

2501

High Speed GMLAN Serial Data Bus -

38

TN/BK

2500

High Speed GMLAN Serial Data Bus +

39

WH

776

Transmission Range Switch Signal P

40

OG/BK

1228

PC Solenoid Valve High Control

41

YE/GY

400

OSS High Signal

42

WH

17

Stop Lamp Switch Signal

43-45

--

--

Not Used

46

YE

772

Transmission Range Switch Signal B

47-48

--

--

Not Used

49

BK/WH

1551

Ground

Vehicle Speed Sensor Assembly, Wiring Harness Side


Object Number: 646406  Size: CH

Connector Part Information

  • OEM: 15336024
  • Service: See Catalog
  • Description: Connector 2-Way F GT 150 Series Sealed (BK)

Terminal Part Information

  • Terminal/Tray: See Terminal Repair Kit
  • Core/Insulation Crimp: See Terminal Repair Kit
  • Release Tool/Test Probe: See Terminal Repair Kit

Vehicle Speed Sensor Assembly, Wiring Harness Side

Pin

Wire Color

Circuit No.

Function

A

PU

401

VSS Low Signal

B

YE/GY

400

VSS High Signal