GM Service Manual Online
For 1990-2009 cars only
Connector 1: Fuse Block - Underhood Label
Connector 2: Fuse Block - Underhood Top View
Connector 3: Fuse Block - Underhood Bottom View
Connector 4: Fuse Block - Underhood C1
Connector 5: Fuse Block - Underhood C2
Connector 6: Fuse Block - Underhood C3
Connector 7: Fuse Block - Rear Label
Connector 8: Fuse Block - Rear Top View
Connector 9: Fuse Block - Rear Bottom View
Connector 10: Fuse Block - Rear (Wire Entry)

Fuse Block - Underhood Label


Object Number: 1860171  Size: MF

Fuse Block - Underhood Label Usage

No.

Device

Rating

Description

F1

SPARE Fuse

20A

Spare Fuse

F2

LT LO BEAM Fuse

20A

Headlamp Assembly - LF

F3

RT LO BEAM Fuse

20A

Headlamp Assembly - RF

F4

AIRBAG IGN 3 Fuse

10A

Inflatable Restraint I/P Module Indicator, Inflatable Restraint Sensing and Diagnostic Module (SDM)

F5

ECM IGN 3 Fuse

10A

Engine Control Module (ECM)

F6

TRANS IGN 3 Fuse

10A

Transmission Control Module (TCM), Automatic Transmission

F7-F9

SPARE Fuse

--

Spare Fuses

F10

HI BEAM Fuse

10A

Headlamp Assembly - RF

F11

HI BEAM Fuse

10A

Headlamp Assembly - LF

F12

WSW/PUMP Fuse

15A

Windshield Washer Fluid Pump

F13

SPARE Fuse

--

Spare Fuses

F14

HVAC/IPC Fuse

10A

HVAC Control Module, Instrument Panel Cluster (IPC)

F15

SPARE Fuse

--

Spare Fuses

F16

FOG Fuse

15A

Fog/Cornering Lamp - LF, Fog/Cornering Lamp - RF

F17

HORN Fuse

15A

Horn Assembly

F18

WPR Fuse

25A

WIPER Relay, WIPER HI Relay

F19

LT CRN LAMP Fuse

10A

Fog/Cornering Lamp - LF

F20

RT CRN LAMP Fuse

10A

Fog/Cornering Lamp - RF

F21

OXY PST Fuse

15A

Heated Oxygen Sensor (HO2S) 2

F22

PWR TRN Fuse

15A

Heated Oxygen Sensor (HO2S) Bank 2 Sensor 1, Heated Oxygen Sensor (HO2S) Bank 1 Sensor 1, Evaporative Emission (EVAP) Canister Purge Solenoid Valve

F23

ECM/CRNK Fuse

15A

Engine Control Module (ECM)

F24

INJ/COIL Fuse

15A

Fuel Injectors - Odd Bank, Ignition Coil/Modules - Odd Bank

F25

INJ/COIL Fuse

15A

Fuel Injectors - Even Bank, Ignition Coil/Modules - Even Bank

F26

A/C Fuse

10A

AC Relay

F27

AIR/SOL Fuse

15A

CNTRL Relay

F28

ECM/TCM Fuse

15A

Spare Fuse

F29-F30

SPARE Fuse

--

Spare Fuses

F31

SPARE Fuse

15A

Spare Fuse

F32

SPARE Fuse

25A

Spare Fuse

JC1

WSW HTD Fuse

60A

Windshield Heated Washer Fluid Module

JC2

FAN 1 Fuse

30A

COOL/FAN 1 Relay

JC3

SPARE Fuse

--

Spare Fuse

JC4

CRNK Fuse

40A

CRNK Relay

JC5

FAN 2 Fuse

30A

COOL/FAN 3 Relay

JC6

ABS2 Fuse

50A

Electronic Brake Control Module (EBCM)

JC7

ABS1 Fuse

60A

Electronic Brake Control Module (EBCM)

JC8

AIR PUMP Fuse

50A

AIR PUMP Relay

R1

COOL/FAN 1 Relay

--

Engine Control Module (ECM), Cooling Fan - Left

R2

COOL/FAN Relay

--

Engine Control Module (ECM)

R3

CRNK Relay

--

Starter Motor

R4

PWR/TRAIN Relay

--

ECM, FUEL, VAC, ELEK IGN, OXY Fuses

R5

SPARE Relay

--

Spare Relay

R6

RUN/CRNK Relay

--

PCM, HVAC, TRANS, AIR BAG Fuses

R7

COOL/FAN 2 Relay

--

Engine Control Module (ECM), Cooling Fan - Right

R8

WPR Relay

--

WPR HI Relay, Body Control Module (BCM)

R9

AIR PUMP Relay

--

Secondary Air Injection (AIR) Pump, Engine Control Module (ECM)

R10

WPR HI Relay

--

Windshield Wiper Motor

R11

A/C Relay

--

Engine Control Module (ECM), A/C Compressor Clutch

R12

AIR/SOL Relay

--

Engine Control Module, Secondary Air Injection (AIR) Solenoid

Printed Circuit Board (PCB) Relays - Not Serviceable

--

HORN PCB Relay

--

HORN Fuse

--

TRN/SIG PCB Relay

--

LT CRN LAMP Fuse

--

TRN/SIG PCB Relay

--

RT CRN LAMP Fuse

--

FOG LAMP PCB Relay

--

FOG Fuse

--

HIGH/BEAM PCB Relay

--

Both HIGH BEAM Fuses

--

LO/BEAM PCB Relay

--

LT LO BEAM Fuse, RT LO BEAM Fuse

--

WSH PCB Relay

--

WSW/PUMP Fuse

Fuse Block - Underhood Top View


Object Number: 1633288  Size: MF

Fuse Block - Underhood Bottom View


Object Number: 1633291  Size: MF

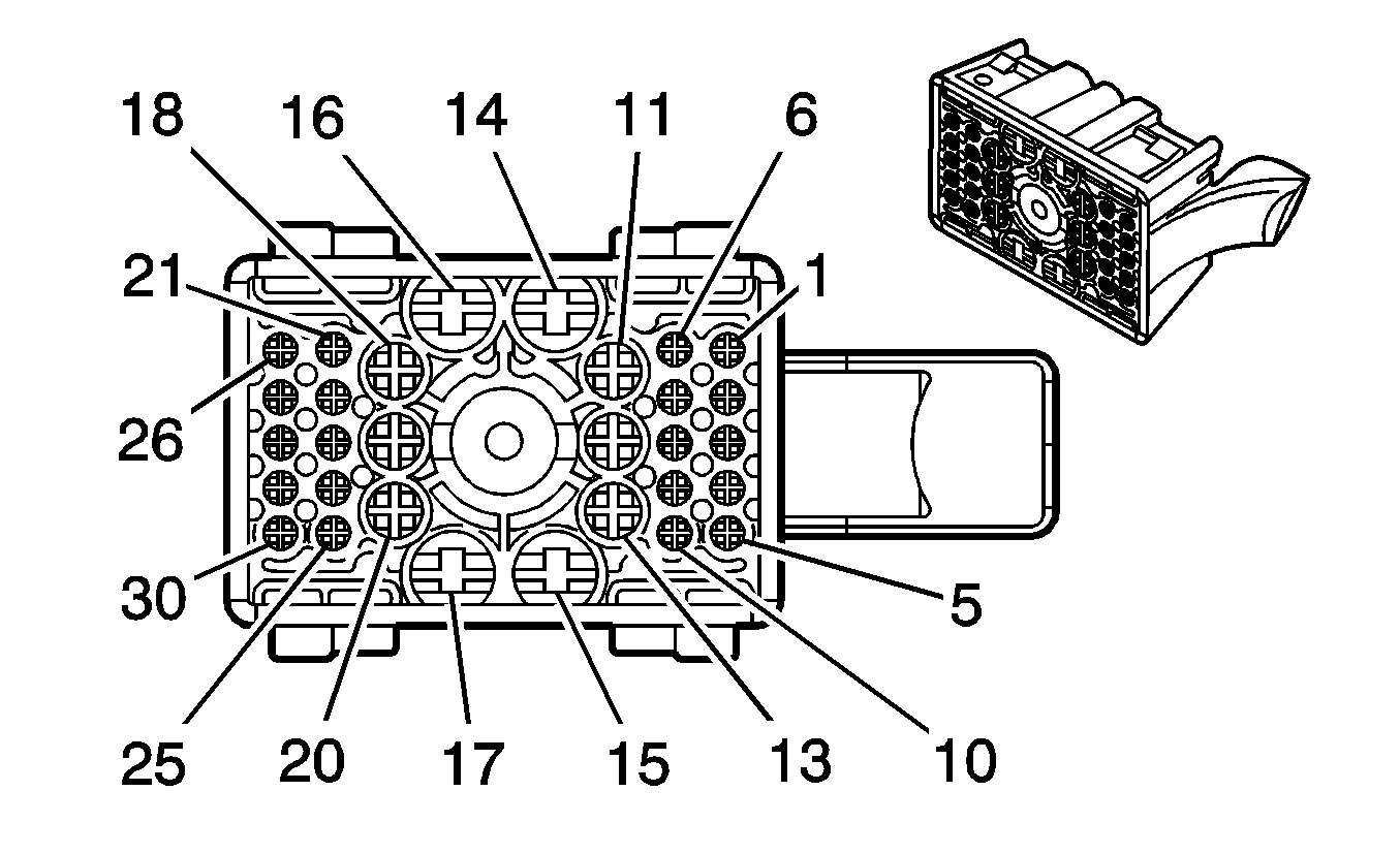
Fuse Block - Underhood C1


Object Number: 1676622  Size: CH

Connector Part Information

  • OEM: 514609130
  • Service: See Catalog
  • Description: 22-Way F (BK)

Terminal Part Information

  • Terminal/Tray: See Terminal Repair Kit
  • Core/Insulation Crimp: See Terminal Repair Kit
  • Release Tool/Test Probe: See Terminal Repair Kit

Fuse Block - Underhood C1

Pin

Wire Color

Circuit No.

Function

1

PU

34

Front Fog Lamp Supply Voltage

2

D-BU/WH

1315

Right Front Turn Signal Lamp Supply Voltage

3

--

--

Not Used

4

OG

228

Windshield Washer Pump Control

5

L-BU/WH

1314

Left Front Turn Signal Lamp Supply Voltage

6

OG/L-GN

57

Left Cornering Lamp Supply Voltage

7

--

--

Not Used

8

WH

504

Cooling Fan Low Reference

9

D-GN

29

Horn Control

10

YE

712

Left Headlamp Low Beam Supply Voltage

11

L-BU

409

Cooling Fan Motor Supply Voltage

12

BK

250

Ground

13

--

--

Not Used

14

GY

532

Cooling Fan Motor Supply Voltage

15

TN/WH

312

Right Headlamp Low Beam Supply Voltage

16

BK

250

Ground

17

L-GN/BK

311

Right Headlamp High Beam Supply Voltage

18

D-GN/WH

711

Left Headlamp High Beam Supply Voltage

19-20

--

--

Not Used

21

TN

58

Right Cornering Lamp Supply Voltage

22

--

--

Not Used

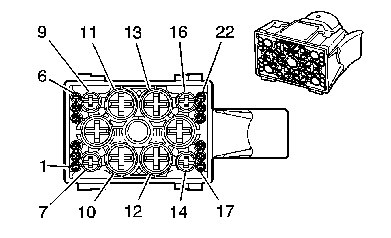
Fuse Block - Underhood C2


Object Number: 1676624  Size: CH

Connector Part Information

  • OEM: 514609122
  • Service: See Catalog
  • Description: 30-Way F (BK)

Terminal Part Information

  • Terminal/Tray: See Terminal Repair Kit
  • Core/Insulation Crimp: See Terminal Repair Kit
  • Release Tool/Test Probe: See Terminal Repair Kit

Fuse Block - Underhood C2

Pin

Wire Color

Circuit No.

Function

1

--

--

Not Used

2

D-BU

6561

Right Cornering Lamp Relay Control

3

BN

6560

Left Cornering Lamp Relay Control

4

PK

1439

Ignition 1 Voltage

5

WH

17

Stop Lamp Switch Signal

6

PK/RD

239

Ignition 1 Voltage

7

PK

239

Ignition 1 Voltage

8

PK

339

Ignition 1 Voltage

9

--

--

Not Used

10

PK/WH

1970

Headlamp Low Beam Relay Control

11

TN/D-GN

860

Front Windshield Wiper Switch High Signal

12

D-GN

95

Windshield Washer Switch Signal

13

OG/GY

227

Windshield Washer Relay Control

14

--

--

Not Used

15

RD/GY

640

Battery Positive Voltage

16-17

--

--

Not Used

18

PU

92

Windshield Wiper Motor High Speed Control

19

TN/WH

1969

Headlamp High Beam Relay Control

20

OG/YE

5727

High Speed GMLAN Serial Data Wake Up

21

OG

228

Windshield Washer Pump Control

22

--

--

Not Used

23

D-GN/WH

1317

Fog Lamp Relay Control

24-25

--

--

Not Used

26

TN

28

Horn Relay Control

27

GY

91

Windshield Wiper Switch Signal 2

28

D-BU/WH

1315

Right Front Turn Signal Lamp Supply Voltage

29

OG

228

Windshield Washer Pump Control

30

L-BU/WH

1314

Left Front Turn Signal Lamp Supply Voltage

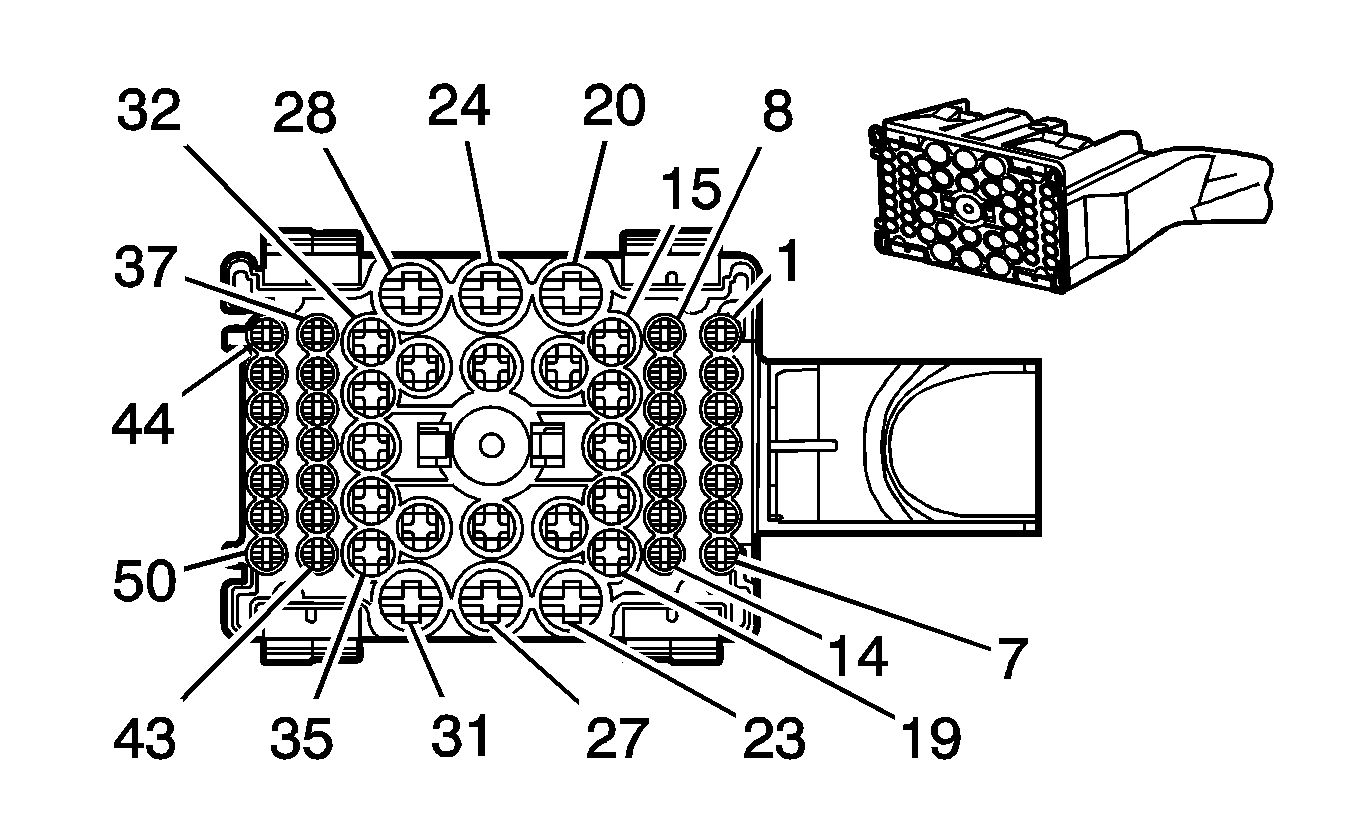
Fuse Block - Underhood C3


Object Number: 1676625  Size: CH

Connector Part Information

  • OEM: 514609114
  • Service: See Catalog
  • Description: 50-Way F (BK)

Terminal Part Information

  • Terminal/Tray: See Terminal Repair Kit
  • Core/Insulation Crimp: See Terminal Repair Kit
  • Release Tool/Test Probe: See Terminal Repair Kit

Fuse Block - Underhood C3

Pin

Wire Color

Circuit No.

Function

1-2

--

--

Not Used

3

PK

439

Ignition 1 Voltage

4-5

--

--

Not Used

6

OG/WH

5069

Main Relay Control

7

BK/WH

1551

Ground

8

PU

421

Air Injection Reaction Solenoid Relay Coil Control

9

PK

539

Ignition 1 Voltage

10-11

--

--

Not Used

12

BK/WH

1551

Ground

13

D-GN

335

Low Speed Cooling Fan Relay Control

14

YE

447

Starter Relay Coil Control

15

PK/BK

5294

Engine Main Relay Fused Control (5)

16

PK/BK

5294

Engine Main Relay Fused Control (5)

17

--

--

Not Used

18

WH/BK

436

AIR Pump Relay Control

19

OG

473

High Speed Cooling Fan Relay Control

20

--

--

Not Used

21

PK/BK

415

Air Injection Reaction Solenoid Supply Voltage

22

--

--

Not Used

23

PU

6

Starter Solenoid Crank Voltage

24-26

--

--

Not Used

27

RD/BK

1442

Battery Positive Voltage

28

OG

78

AIR Pump Supply Voltage

29-30

--

--

Not Used

31

RD

1542

Battery Positive Voltage

32-33

--

--

Not Used

34

OG/YE

5727

High Speed GMLAN Serial Data Wake Up

35-37

--

--

Not Used

38

D-GN

59

A/C Compressor Clutch Supply Voltage

39

D-GN/WH

459

A/C Compressor Clutch Relay Control

40

WH

17

Stop Lamp Switch Signal

41

WH

17

Stop Lamp Switch Signal

42-43

--

--

Not Used

44

PK/BK

5292

Ignition 1 Voltage

45

PK/GY

5291

Ignition 1 Voltage

46

PK/BK

5290

Ignition 1 Voltage

47

PK/BK

5293

Powertrain Main Relay Fused Supply (4)

48

PK/BK

5293

Powertrain Main Relay Fused Supply (4)

49-50

--

--

Not Used

Fuse Block - Rear Label


Object Number: 1776700  Size: MF

Fuse Block - Rear Label Usage

No.

Device

Rating

Description

JC1

HVAC BLWR Fuse

40A

Blower Motor Control Module (CJ2), FRT HVAC BLWR Relay (CJ4)

JC2

REAR DEFOG Fuse

40A

REAR DEFOG Relay

JC3

ELC CMPRSR Fuse (w/o F38)

30A (w/o F38)

ELC COMPRSR Relay

JC3

ECAS CMPRSR Fuse 40A (F38)

40A (F38)

ELC COMPRSR Relay

F1

AMP Fuse

20A (BASE) 30A (UP LVL)

Amplifier

F2

NAV Fuse (DTS-EXP)

10A

Traffic Information Receiver, Video Display

F3

INT LAMPS Fuse

10A

Body Control Module (BCM)

F4

CTSY/RF TRN Fuse

10A

Body Control Module (BCM)

F5

CNSTR VENT Fuse

10A

Evaporative Emissions (EVAP) Canister Vent Solenoid Valve

F6

MRTD MDL Fuse

25A

Electronic Suspension Control (ESC) Module

F7

ELC MDL Fuse

10A

Electronic Suspension Control (ESC) Module (FE1), Automatic Level Control (ALC) Compressor (w/o F38, w/FE1, F55)

F8

REAR SEAT LUM Fuse

20A

Seat Lumbar Switch - LR, Seat Lumbar Switch - RR, Digital Radio Antenna Module (B9Q)

F9

DR UNLATCH (LIMO) Fuse

10A

DR UNLATCH Relay (V4U)

F10

SWTCH DIM Fuse

10A

Body Control Module (BCM)

F11

FUEL PUMP Fuse

20A

FUEL/PUMP Relay

F12

BCM LOGIC Fuse

10A

Body Control Module (BCM)

F13

AIRBAG Fuse

10A

Inflatable Restraint Sensing and Diagnostic Module (SDM)

F14

AUX PWR Fuse

20A

Auxiliary Power Outlet - LR, Auxiliary Power Outlet - RR, Auxiliary Power Outlet - Front

F15

LT TRN/SIG Fuse

15A

Body Control Module (BCM)

F16

RR TRN/SIG Fuse

15A

Body Control Module (BCM)

F17

S/ROOF (LUCERNE) Fuse

25A

Not Used

F18

CHMSL/BCK-UP Fuse

10A

Body Control Module (BCM)

F19

REAR DR LCK Fuse

20A

DR LCK Relay, DR UNLCK Relay

F20

STOP LAMP (DTS-EXP) Fuse

10A

STOP LAMPS Relay (Export)

F21

RDO/S-BAND Fuse

15A

Radio, Digital Radio Receiver (U2K)

F22

ONSTAR Fuse

10A

Vehicle Communication Interface Module (UE1)

F23

LTR/CNSL (DTS) Fuse

20A

Cigar Lighter, Auxiliary Power Outlet - Console

F23

AUX PWR (LUCERNE) Fuse

20A

Not Used

F24

DDM Fuse

15A

Driver Door Module (DDM)

F25

PDM Fuse

15A

Front Passenger Door Module (FPDM)

F26

TRUNK RELSE Fuse

10A

Rear Compartment Lid Latch

F27

HTD/COOL Fuse

30A

Climate Control Seat Module - Front (KB6)

F28

ECM/TCM Fuse

15A

Engine Control Module (ECM), Transmission Control Module (TCM)

F29

RVC SENSE Fuse

10A

Body Control Module (BCM)

F30

DRL (LUCERNE) Fuse

15A

Not Used

F31

I/P HARN MDL Fuse

10A

Theft Deterrent Module (TDM), Data Link Connector (DLC), Instrument Panel Cluster (IPC), HVAC Control Module, Clock, Valet Switch

F32

REAR HTD/SEAT (DTS) Fuse

20A

Heated Seat Module - Rear

F33

SPARE Fuse

--

Spare Fuse

F34

STR/WHL/ILLUM Fuse

2A

Steering Wheel Control Switch - Left, Steering Wheel Control Switch - Right

F35

BODY HARN MDL Fuse

10A

Inside Rearview Mirror (TQ5), Distance Sensing Cruise Control Module (K59), HVAC Control Module - Auxiliary (CJ4), Remote Control Door Lock Receiver (RCDLR), Front and Rear Object Alarm Module (UFR)

F36

MSM LOGIC/RF MASSAGE Fuse

10A

Memory Seat Module (MSM) (A45)

F37

OBJ SNSR Fuse

10A

Front and Rear Object Alarm Module (UFR)

F38

S/ROOF (DTS) Fuse

25A

Sunroof Control Module

F40

SHFTR SOL Fuse

10A

Traffic Information Receiver (U3Q), Reverse Lockout Solenoid (AQ9), Park Switch (AQ9)

F41

RAP Fuse

10A

Rear Window Sunshade Module (DE9), Upfitter Provisions (V4U), Inside Rearview Mirror, Outside Moisture Sensor (CE1)

F42

LT PRK LAMP Fuse

10A

Tail Lamp Assembly - Left, Headlamp Assembly - LF, Park Lamp - Left Middle (V4U), Park Lamp - Left Rear (V4U, B9Q), EXP LIC LAMP Relay (Export)

F43

RT PRK LAMP Fuse

10A

Tail Lamp Assembly - Right, Headlamp Assembly - RF, Park Lamp - Right Middle (V4U), Park Lamp - Right Rear (V4U, B9Q), EXP LIC LAMP Relay (Export)

F44

HTD STR Fuse

15A

Heated Steering Wheel Control Module (KA1)

F45

REAR HVAC Fuse

5A

Blower Motor - Auxiliary (CJ4)

F46

SPARE Fuse

--

Spare Fuse

F47

HTD/COOL/IGN3 Fuse

10A

Climate Control Seat Module - Front (KB6), Windshield Washer Solvent Heater (XA7)

F48

IGN SWTCH Fuse

5A

Ignition Switch

F49

SPARE Fuse

--

Spare Fuse

CB1

MSM/RT FRT PWR SEAT Circuit Breaker

25A

Seat Adjuster Switch - Passenger, Lumbar Adjuster Switch - Passenger

CB2

MSM/LT FRT PWR SEAT Circuit Breaker

25A

Seat Adjuster Switch - Driver, Lumbar Adjuster Switch - Driver, Memory Seat Module (MSM) (A45)

CB3

DR MDL/PWR WNDW Circuit Breaker

25A

Window Motor - Driver, Window Motor - LR, Door Park Relay Assembly - Left Middle (V4U), Door Park Relay Assembly - Right Middle (V4U), Window Motor - RR, Window Motor - Front Passenger

CB4

MSM/TILT STR WHL (DTS) Circuit Breaker

25A

Memory Seat Module (MSM) (A45, N37)

F39

121 OHM Resistor

--

Electronic Suspension Control (ESC) Module

R1

RAP Relay

--

SHFTR SOL, S/ROOF, RAP Fuses

R2

PRK LAMP Relay

--

LT PRK LAMP, RT PRK LAMP Fuses

R3

RUN Relay

--

HTD/COOL/IGN3, REAR HVAC, HTD STR Fuses

R4

RT PRK LAMP (DTS - EXP) Relay, DRL (LUCERNE) Relay

--

RT PRK LAMP Fuse

R5

FRT HVAC BLWR Relay

--

HVAC Control Module, Blower Motor, Blower Motor Control Module

R6

TRUNK RELSE Relay

--

TRUNK RELSE Fuse

R7

FUEL/PUMP Relay

--

Engine Control Module (ECM), Fuel Pump and Sender Assembly

R8

DR UNLATCH (LIMO) Relay or EXP LIC LAMP (DTS - EXP) Relay (Export)

--

Door Release Switch - Left Rear (V4U), Door Release Switch - Left Middle (V4U), Door Release Switch - Right Middle (V4U), Door Release Switch - Right Rear (V4U) or License Lamps (Export)

R9

DR LCK Relay

--

Body Control Module (BCM), Door Latch Assembly - LR, Door Latch Assembly - RR

R10

DR UNLCK Relay

--

Body Control Module (BCM), Door Latch Assembly - LR, Door Latch Assembly - RR

R11

OVRHD LAMPS Relay (LIMO)

--

Body Control Module (BCM), Overhead Console Lamp (V4U)

R12

STOP LAMPS (DTS - EXP) Relay

--

Stop Lamp - Left, Stop Lamp - Right, Center High Mounted Stop Lamp (CHMSL)

R13

SPARE Relay

--

Spare Relay

R14

REAR DEFOG Relay

--

HVAC Control Module, Rear Window Defogger

R15

ELC CMPRSR Relay

--

Electronic Suspension Control (ESC) Module

Fuse Block - Rear Top View


Object Number: 1631608  Size: MF

Fuse Block - Rear Bottom View


Object Number: 1631609  Size: MF

Fuse Block - Rear (Wire Entry)

Connector Part Information

  • OEM: L0055954
  • Service: See Catalog
  • Description: 143-Way F (BK)

Terminal Part Information

  • Terminal/Tray: See Terminal Repair Kit
  • Core/Insulation Crimp: See Terminal Repair Kit
  • Release Tool/Test Probe: See Terminal Repair Kit

Fuse Block - Rear (Wire Entry)

Pin

Wire Color

Circuit No.

Function

1

--

--

Battery Positive Voltage Bus

2

PK/OG

2540

Battery Positive Voltage

3

--

--

Battery Positive Voltage Bus

4

--

--

Battery Positive Voltage Bus

5

TN/D-BU

3440

Battery Positive Voltage

6

--

--

Battery Positive Voltage Bus

7

RD/WH

3840

Battery Positive Voltage (U3Q/Japan)

8

--

--

Battery Positive Voltage Bus

9

D-GN/PU

1940

Battery Positive Voltage

10

--

--

Battery Positive Voltage Bus

11

TN/PK

5040

Battery Positive Voltage

12

--

--

Battery Positive Voltage Bus

13

RD/WH

2840

Battery Positive Voltage

14

--

--

Battery Positive Voltage Bus

15

TN/VT

4340

Battery Positive Voltage (F55)

16

--

--

Battery Positive Voltage Bus

17

RD/WH

3340

Battery Positive Voltage (F38)

RD/WH

3340

Battery Positive Voltage (FE1/F55 w/o F38)

RD/WH

3340

Battery Positive Voltage (FE1)

18

--

--

Battery Positive Voltage Bus

19

PK/TN

3240

Battery Positive Voltage

PK/TN

3240

Battery Positive Voltage

20

RD/WH

1540

Battery Positive Voltage (V4U)

21

--

--

Battery Positive Voltage Bus

22

PK/D-BU

3140

Battery Positive Voltage

23

--

--

Battery Positive Voltage Bus

24

RD/WH

740

Battery Positive Voltage

25

--

--

Battery Positive Voltage Bus

26

PK/GY

3040

Battery Positive Voltage

27

--

--

Battery Positive Voltage Bus

28

RD/BK

742

Battery Positive Voltage

29

--

--

Battery Positive Voltage Bus

30

PK/RD

2440

Battery Positive Voltage

PK/RD

2440

Battery Positive Voltage

31

--

--

Battery Positive Voltage Bus

32

PK/D-GN

2740

Battery Positive Voltage

33

--

--

Battery Positive Voltage Bus

34

RD/YE

340

Battery Positive Voltage

35

--

--

Battery Positive Voltage Bus

36

RD/GN

440

Battery Positive Voltage

37

--

--

Battery Positive Voltage Bus

38

RD/BK

1342

Battery Positive Voltage

39

--

--

Battery Positive Voltage Bus

40

--

--

Battery Positive Voltage Bus

41

--

--

Not Used

42

--

--

Battery Positive Voltage Bus

43

YE/VT

1240

Battery Positive Voltage

44

--

--

Battery Positive Voltage Bus

45

RD/BK

542

Battery Positive Voltage

RD/BK

542

Battery Positive Voltage

46

--

--

Battery Positive Voltage Bus

47

RD/WH

2140

Battery Positive Voltage (Export)

48

D-GN/TN

2040

Battery Positive Voltage

D-GN/TN

2040

Battery Positive Voltage (U2K)

49

--

--

Battery Positive Voltage Bus

50

--

--

Battery Positive Voltage Bus

51

PK/BN

2340

Battery Positive Voltage

52

--

--

Battery Positive Voltage Bus

53

RD/WH

1740

Battery Positive Voltage

RD/WH

1740

Battery Positive Voltage (AQ9)

54

--

--

Battery Positive Voltage Bus

55

PK/VT

2940

Battery Positive Voltage

56

--

--

Battery Positive Voltage Bus

57

TN/RD

3540

Battery Positive Voltage

58

WH

956

Relay Control

59

TN/WH

56

Trunk Release Motor [Control or Supply Voltage]

60

YE/GY

1440

Battery Positive Voltage

61

--

--

Battery Positive Voltage Bus

62

RD/WH

4640

Battery Positive Voltage Bus

63

--

--

Battery Positive Voltage Bus

64

TN/OG

3640

Battery Positive Voltage

65

--

--

Battery Positive Voltage Bus

66-67

--

--

Not Used

68

OG/PK

1840

Battery Positive Voltage

OG/PK

1840

Battery Positive Voltage

69

--

--

Battery Positive Voltage Bus

70

TN/D-GN

4040

Battery Positive Voltage

71

--

--

Battery Positive Voltage Bus

72-73

--

--

Not Used

74

YE

1491

Backlight Lamp Control

75

GY/BK

1381

LCD Dimming Signal

76

RD/D-GN

1040

Battery Positive Voltage

77

--

--

Battery Positive Voltage Bus

78

OG/BN

1640

Battery Positive Voltage

OG/BN

1640

Battery Positive Voltage (AM3)

79

--

--

Battery Positive Voltage Bus

80

RD/WH

4540

Battery Positive Voltage

81

--

--

Battery Positive Voltage Bus

82

TN/D-BU

4240

Battery Positive Voltage

83

--

--

Battery Positive Voltage Bus

84

RD/PK

1140

Battery Positive Voltage

85

--

--

Battery Positive Voltage Bus

86

RD/BN

140

Battery Positive Voltage

87

--

--

Battery Positive Voltage Bus

88

TN/YE

3740

Battery Positive Voltage

89

--

--

Battery Positive Voltage Bus

R4 - (Right Park Lamp Relay - Export)

90

--

--

Battery Positive Voltage Bus

91

--

--

Not Used

92

WH

1080

Park Lamp Relay Control (Export)

93

--

--

Battery Positive Voltage Bus

94

RD/WH

240

Battery Positive Voltage (Export)

R3 (Run Relay)

95

--

--

Battery Positive Voltage Bus

96

--

--

Not Used

97

L-GN/BN

5486

Run Relay Coil Control

98

BK

750

Ground

99

--

--

Battery Positive Voltage Bus

R2 - (PRK LAMP Relay)

100

--

--

Battery Positive Voltage Bus

101

D-BU

45

Park Lamp Relay Control

102

--

--

Battery Positive Voltage Bus

103

--

--

Not Used

104

RD/BK

642

Battery Positive Voltage

RD/BK

642

Battery Positive Voltage (Domestic)

R1 (RAP Relay)

105

--

--

Battery Positive Voltage Bus

106

--

--

Not Used

107

BK

750

Ground

108

BK/TN

707

RAP Relay Coil Supply Voltage

109

--

--

Battery Positive Voltage Bus

110

--

--

Battery Positive Voltage Bus

111

TN/GY

75

RAP Relay Switch Supply Voltage

112

TN/BK

2500

High Speed GMLAN Serial Data Bus+

113

TN

2501

High Speed GMLAN Serial Data Bus-

114

--

--

Battery Positive Voltage Bus

115

YE/BN

143

Accessory Voltage (AQ9)

YE/BN

143

Accessory Voltage (U3Q)

116

--

--

Battery Positive Voltage Bus

117

YE

643

Accessory Voltage (V4U)

YE

643

Accessory Voltage (DE9)

YE

643

Accessory Voltage (CE1)

118

RD/BK

642

Battery Positive Voltage (Domestic)

118

RD/WH

240

Battery Positive Voltage (Export)

119

PU

709

Left Park Lamp Supply Voltage

120

RD/BK

642

Battery Positive Voltage (Domestic)

RD/WH

240

Battery Positive Voltage (Export)

121

BN/WH

309

Right Park Lamp Supply Voltage

BN/WH

309

Right Park Lamp Supply Voltage

122

--

--

Battery Positive Voltage Bus

123

BN

41

Ignition 3 Voltage

124

--

--

Battery Positive Voltage Bus

125

BN

341

Ignition 3 Voltage

126

--

--

Battery Positive Voltage Bus

127

--

--

Not Used

128

--

--

Battery Positive Voltage Bus

129

BN

741

Ignition 3 Voltage (AV8/AQ9)

BN

741

Ignition 3 Voltage (XA7)

130

--

--

Battery Positive Voltage Bus

131

PK/YE

2640

Battery Positive Voltage

132

--

--

Battery Positive Voltage Bus

133

--

--

Not Used

R5 - (FRT HVAC BLWR Relay)

134

RD/BK

442

Battery Positive Voltage (CJ4)

135

--

--

Battery Positive Voltage Bus (CJ4)

136

--

--

Not Used

137

BN

64

High Blower Motor Relay Control (CJ4)

138

PK/OG

2540

Battery Positive Voltage (CJ4)

R6 (TRUNK RELSE Relay)

139

L-BU

1344

Trunk Release Relay Control

140

WH

956

Relay Control

141

--

--

Not Used

142

--

--

Battery Positive Voltage Bus

143

BK

750

Ground

R7 - (Fuel/ Pump Relay)

1

RD/WH

740

Battery Positive Voltage

2

--

--

Not Used

3

D-GN/WH

465

Fuel Pump Relay Control - Primary

4

BK

750

Ground

5

GY

120

Fuel Pump Supply Voltage

R8 - (EXP LIC LAMP - DTS - EXP)

6

BN/WH

309

License Lamp Supply Voltage (Export)

7

--

--

Not Used

8

PU

709

License Lamp Relay Coil Supply Voltage (Export)

9

BK

750

Ground (Export)

10

GN/RD

6846

Rear License Lamp Supply Voltage (Export)

R8 - (DR UNLATCH Relay - Limo)

6

RD/WH

1540

Battery Positive Voltage (V4U)

7

--

--

Not Used

8

YE

5810

Park Enable Signal (V4U)

9

BK

750

Ground (V4U)

10

WH

1430

Exterior Courtesy Lamps Supply Voltage (V4U)

R9 - (DR LCK Relay)

1

RD/BK

542

Battery Positive Voltage

2

BK

750

Ground

3

L-BU/BK

6692

Rear Door Lock Control

4

BK

750

Ground

5

GY

295

Door Lock Actuator Lock Control

GY

295

Door Lock Actuator Lock Control

R10 - (DR UNLCK Relay)

6

RD/BK

542

Battery Positive Voltage

RD/BK

542

Battery Positive Voltage

7

BK

750

Ground

8

RD/BK

542

Battery Positive Voltage

9

L-BU/WH

6693

Rear Door Unlock Control

10

TN

294

Door Lock Actuator Unlock Control

TN

294

Door Lock Actuator Unlock Control

R11 - (OVRHD LAMPS Relay - Limo)

1

GY/BK

690

Courtesy Lamp Control (V4U)

2

--

--

Not Used

3

BK

750

Ground (V4U)

4

D-BU

1393

Courtesy Lamp Relay Coil Control (V4U)

5

OG

1732

Courtesy Lamp Supply Voltage (V4U)

R12 - (STOP LAMPS Relay - DTS - EXP)

6

L-BU

1320

Stop Lamp Supply Voltage (Export)

L-BU

1320

Stop Lamp Supply Voltage (Export)

7

--

--

Not Used

8

YE/WH

5065

Stop Lamp Relay Coil Supply Voltage (Export)

9

BK

750

Ground (Export)

10

RD/WH

2140

Battery Positive Voltage (Export)

R14 - (REAR DEFOG Relay)

11

BK

750

Ground

12

PU

293

Rear Defog Element Supply Voltage

13

--

--

Not Used

14

RD/BK

742

Battery Positive Voltage

15

WH

193

Rear Defog Relay Control

R15 - (ELC CMPRSR Relay)

11

BN

5955

Relay Ground (F38)

11

YE

321

Automatic Level Control Relay Control (w/o F38)

12

D-GN

322

Electronic Level Control Compressor Motor Supply Voltage

13

--

--

Not Used

14

RD/BK

1342

Battery Positive Voltage

15

PU

5956

ELC Compressor Coil Supply Voltage (F38)

15

RD/BK

1342

Battery Positive Voltage (w/o F38)