GM Service Manual Online
For 1990-2009 cars only

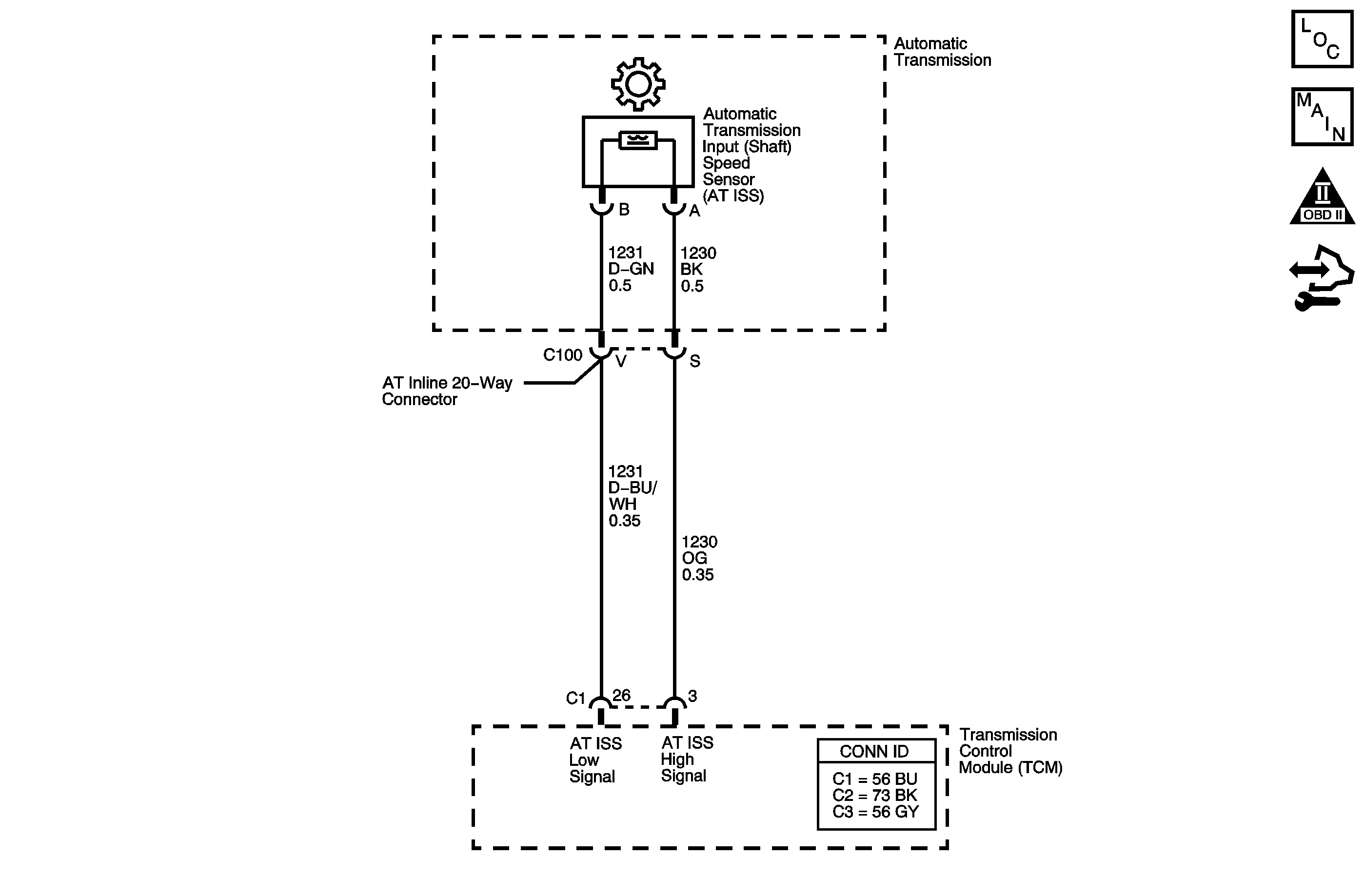
Object Number: 1650966  Size: MF
Master Electrical Component List
Automatic Transmission Controls Schematics
OBD II Symbol Description Notice
Control Module References

Circuit Description

The automatic transmission input shaft speed sensor (AT ISS) is a permanent magnet generator. The AT ISS mounts in the transmission case facing the drive sprocket of the input shaft. As the drive sprocket rotates, an AC voltage is induced and transmitted to the transmission control module (TCM). The TCM converts the AC voltage into a digital signal. The TCM uses the input shaft speed signal to determine shift timing, torque converter clutch slip speed and gear ratio.

If the TCM detects a low input speed while the vehicle and engine speeds are high, then DTC P0717 sets. DTC P0717 is a type B DTC.

DTC Descriptor

This diagnostic procedure supports the following DTC:

DTC P0717 Input Speed Sensor Circuit Low Voltage

Conditions for Running the DTC

    • No MAF DTCs P0101, P0102, P0103.
    • No MAP DTCs P0106, P0107 or P0108.
    • No OSS DTCs P0722 or P0723.
    • DTC P0717 has passed this ignition cycle.
    • The engine run time is greater than 5 seconds.
    • Engine torque is 54 N·m (40 lb ft) or greater.
    • The vehicle speed is 16 km/h (10 mph) or greater.

Conditions for Setting the DTC

The transmission input shaft speed is less than 100 RPM for 4.5 seconds.

Action Taken When the DTC Sets

    • The TCM requests the engine control module (ECM) to illuminate the malfunction indicator lamp (MIL) during the second consecutive trip in which the Conditions for Setting the DTC are met.
    • The TCM commands maximum line pressure.
    • The TCM calculates input shaft speed from vehicle speed and commanded gear.
    • The ECM records the operating conditions when the Conditions for Setting the DTC are met. The ECM stores this information as Freeze Frame and Failure Records and the TCM records the operating conditions when the Conditions for Setting the DTC are met. The TCM stores this information as Failure Records.
    • The TCM stores DTC P0717 in TCM history during the second consecutive trip in which the Conditions for Setting the DTC are met.

Conditions for Clearing the MIL/DTC

    • The ECM turns OFF the MIL after the third consecutive drive trip in which the TCM does not send a MIL illumination request.
    • The TCM clears the DIC message when the condition no longer exists.
    • A scan tool can clear the MIL/DTC.
    • The TCM clears the DTC from TCM history if the vehicle completes 40 warm-up cycles without an emission-related diagnostic fault occurring.
    • The TCM cancels the DTC default actions when the ignition switch is OFF long enough in order to power down the TCM.

Test Description

The numbers below refer to the step numbers on the diagnostic table.

  1. This step tests the AT ISS for correct resistance.

  2. This step tests the AT ISS high signal circuit for being shorted to another circuit within the transmission.

DTC P0717

Step

Action

Values

Yes

No

1

Did you perform the Diagnostic System Check - Vehicle?

--

Go to Step 2

Go to Diagnostic System Check - Vehicle

2

  1. Install a scan tool.
  2. Turn ON the ignition, with the engine OFF.
  3. Important: Before clearing the DTC, use the scan tool in order to record the Freeze Frame and Failure Records. Using the Clear Info function erases the Freeze Frame and Failure Records from the TCM.

  4. Record the DTC Freeze Frame and Failure Records.
  5. Clear the DTC.
  6. Start the engine.
  7. Select Transmission ISS on the scan tool.

Is the transmission input speed greater than the specified value?

500 RPM

Go to Testing for Intermittent Conditions and Poor Connections

Go to Step 3

3

  1. Turn OFF the ignition.
  2. Disconnect the AT inline 20-way connector. Additional DTCs may set.
  3. Install the J 44152 Jumper Harness (20 pins) on the transmission side of the AT inline 20-way connector.
  4. Using the DMM, and the J 35616 GM Terminal Test Kit, measure the resistance between terminals S and V of the J 44152 .
  5. Refer to Automatic Transmission Inline 20-Way Connector End View .

Does the resistance measure within the specified range?

1,260-1,872 ohms

Go to Step 7

Go to Step 4

4

Is the resistance greater than the specified value?

1,872 ohms

Go to Step 5

Go to Step 6

5

  1. Test the high signal circuit of the AT ISS for a high resistance or an open between the AT inline 20-way connector and the AT ISS.
  2. Test the low signal circuit of the AT ISS for a high resistance or an open between the AT inline 20-way connector and the AT ISS.
  3. Refer to Circuit Testing .

Did you find a high resistance or open condition?

--

Go to Step 11

Go to Step 12

6

Test the high signal circuit and the low signal circuit of the AT ISS for being shorted together between the AT inline 20-way connector and the AT ISS.

Refer to Circuit Testing .

Did you find the condition?

--

Go to Step 11

Go to Step 12

7

Measure the resistance between terminal S of the J 44152 and ground.

Refer to Automatic Transmission Inline 20-Way Connector End View .

Does the resistance measure less than the specified value?

10M ohms

Go to Step 11

Go to Step 8

8

Measure the resistance between terminal S and all other terminals, except terminal V, of the J 44152 .

Refer to Automatic Transmission Inline 20-Way Connector End View .

Is the resistance between terminal S and any other terminal, except terminal V, less than the specified value?

10M ohms

Go to Step 11

Go to Step 9

9

Test the high signal circuit of the AT ISS for a high resistance, an open, a short to ground or a short to voltage between the TCM connector and the AT inline 20-way connector.

Refer to Circuit Testing and Wiring Repairs .

Did you find and correct a condition?

--

Go to Step 14

Go to Step 10

10

Test the low signal circuit of the AT ISS for high resistance or an open between the TCM connector and the AT inline 20-way connector.

Refer to Testing for Continuity and Wiring Repairs .

Did you find and correct a condition?

--

Go to Step 14

Go to Step 13

11

Important: The automatic transmission wiring harness consists of 2 separate harnesses, the Automatic Transmission Wiring Harness Assembly and the Automatic Transmission Wiring Extension Harness Assembly. In order to avoid the unnecessary replacement of parts, only replace the Automatic Transmission Wiring Harness Assembly.

Replace the automatic transmission wiring harness.

Refer to Input Speed Sensor and Wiring Harness Removal .

Did you complete the replacement?

--

Go to Step 14

--

12

Replace the AT ISS.

Refer to Input Speed Sensor and Wiring Harness Removal .

Did you complete the replacement?

--

Go to Step 14

--

13

Replace the TCM.

Refer to Control Module References .

Did you complete the replacement?

--

Go to Step 14

--

14

Perform the following procedure in order to verify the repair:

  1. Select DTC.
  2. Select Clear Info.
  3. Operate the vehicle under the following conditions:
  4. • Place the transmission in PARK.
    • Start the engine.
    • The transmission input shaft speed must be greater than 500 RPM for 3 seconds.
  5. Select Specific DTC.
  6. Enter DTC P0717.

Has the test run and passed?

--

Go to Step 15

Go to Step 2

15

With the scan tool, observe the stored information, capture info. and DTC info.

Does the scan tool display any DTCs that you have not diagnosed?

--

Go to Diagnostic Trouble Code (DTC) List - Vehicle

System OK