GM Service Manual Online
For 1990-2009 cars only
Figure 1:

Engine Covers and Component Assemblies (1 of 2)


Object Number: 1564055  Size: LF
(2)Intake Manifold Assembly
(8)Water Crossover Assembly
(20)Left Camshaft Cover Assembly
(27)Drive Belt Tensioner
(28)Drive Belt Tensioner Bolt
(34)Oil Pump Assembly
(35)Engine Block Assembly
(38)Right Camshaft Cover Assembly
(281)Crankcase Ventilation Tube - PCV Fresh Air
(283)Crankcase Ventilation Tube - PCV Dirty Air
(350)Engine Front Cover
(351)Engine Front Cover Gasket
(352)Engine Front Cover Bolt
(354)Water Pump Drive Belt Tensioner
(355)Water Pump Drive Belt Tensioner Bolt
(357)Water Pump Drive Belt Shield
(358)Water Pump Drive Belt Shield Bolt
(359)Water Pump Drive Belt Shield Nut
(372)Water Crossover Upper Gasket
(372)Water Crossover Upper Gasket
(373)Water Crossover Lower Gasket
(374)Water Crossover Bolt - Long - 115 mm
(375)Water Crossover Bolt - Medium - 92 mm
(376)Water Crossover Bolt - Short - 35 mm
(389)Water Crossover Bolt - Long - 109 mm
(390)Crankshaft Balancer
(391)Crankshaft Balancer Bolt
(395)Water Pump Drive Belt
(396)Water Pump Drive Pulley
(397)Water Pump Drive Pulley Cap
(398)Camshaft Seal
(399)Camshaft Seal Bolt
(400)Oil Pan
(401)Oil Pan Gasket
(412)Oil Pan Drain Plug
(413)Oil Pan Drain Plug O-ring
(420)Oil Pan Bolt
(475)Oil Pan Assembly Bolt
(530)Intake Manifold Bolt
(576)Ignition Coil Module Assembly Sight Shield
(590)Fuel Injector Sight Shield
(670)Engine Lift Bracket - Front
(671)Engine Lift Bracket Bolt - Front
(680)Engine Lift Bracket - Rear
(681)Engine Lift Bracket Bolt - Rear
(712)Oil Level Sensor
(713)Oil Level Sensor O-ring
(767)Ground Bracket
(768)Ground Bracket Bolt
(770)Ground Strap
(770)Ground Strap
(771)Camshaft Cover Ground Strap Bolt
(771)Camshaft Cover Ground Strap Bolt
(772)Cylinder Head Ground Strap Bolt
(772)Cylinder Head Ground Strap Bolt
(786)EGR Valve Inlet Pipe
(787)EGR Valve Inlet Bolt
Figure 2:

Engine Covers and Component Assemblies (2 of 2)


Object Number: 1564056  Size: LF
(1)Engine Block Assembly
(11)Oil Level Indicator and Tube
(131)Transaxle Alignment Pin
(405)Oil Pump Suction Tube
(407)Oil Pump Suction Tube Bolt
(408)Oil Pump Suction Tube Nut
(435)Oil Level Indicator Tube Nut
(440)Oil Filter Adapter Assembly
(441)Oil Filter Adapter Assembly Gasket
(442)Oil Filter Adapter Assembly Bolt
(449)Oil Filter
(601)Left Exhaust Manifold Gasket
(602)Left Exhaust Manifold
(606)Left AIR Control Valve
(607)Left AIR Control Valve Bolt
(608)Right AIR Control Valve Pipe Gasket
(608)Right AIR Control Valve Pipe Gasket
(609)Right AIR Control Valve Pipe Nut
(609)Right AIR Control Valve Pipe Nut
(609)Right AIR Control Valve Pipe Nut
(618)Right AIR Control Valve
(619)Right AIR Control Valve Bolt
(621)Right Exhaust Manifold Gasket
(622)Right Exhaust Manifold
(623)Right Exhaust Manifold Nut
(625)Left Exhaust Manifold Bolt
(650)Exhaust Intermediate Pipe
(651)Exhaust Intermediate Pipe Bolt - to Oil Pan
(652)Exhaust Intermediate Pipe Bolt
(790)Starter Motor
(791)Starter Motor Bolt
(792)Starter Motor Solenoid Cable Nut - Large
(793)Starter Motor Solenoid Cable Nut - Small
(798)Starter Motor Wiring Harness
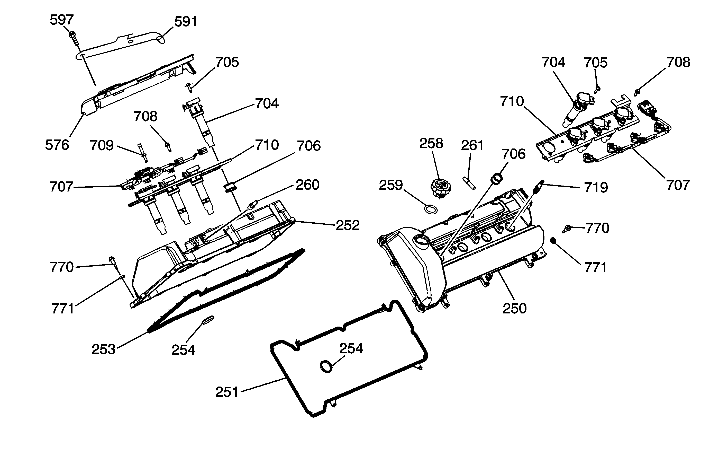
Figure 3:

Camshaft Cover Assembly


Object Number: 1564059  Size: MF
(250)Left Camshaft Cover
(251)Left Camshaft Cover Gasket
(252)Right Camshaft Cover
(253)Right Camshaft Cover Gasket
(254)Spark Plug Port Seal
(254)Spark Plug Port Seal
(258)Oil Fill Cap
(259)Oil Fill Cap O-ring
(260)PCV Fitting - Dirty Air
(261)PCV Fitting - Fresh Air
(576)Ignition Coil Module Assembly Sight Shield
(591)Sight Shield Bracket
(597)Sight Shield Bracket Bolt
(704)Ignition Coil
(704)Ignition Coil
(705)Ignition Coil Bolt
(705)Ignition Coil Bolt
(706)Ignition Coil Seal
(706)Ignition Coil Seal
(707)Ignition Coil Assembly Wiring Harness
(707)Ignition Coil Assembly Wiring Harness
(708)Ignition Coil Assembly Bolt
(708)Ignition Coil Assembly Bolt
(709)Ignition Coil Assembly Ball Stud
(710)Ignition Coil Assembly Bracket
(710)Ignition Coil Assembly Bracket
(719)Spark Plug
(770)Ground Strap
(770)Ground Strap
(771)Camshaft Cover Ground Strap Bolt
(771)Camshaft Cover Ground Strap Bolt
Figure 4:

Camshaft Timing Components


Object Number: 1564060  Size: LF
(150)Camshaft Sprocket
(152)Primary Camshaft Drive Chain Tensioner
(153)Camshaft Drive Chain Tensioner Bolt
(153)Camshaft Drive Chain Tensioner Bolt
(153)Camshaft Drive Chain Tensioner Bolt
(155)Primary Camshaft Drive Chain
(158)Primary Camshaft Drive Chain Guide
(159)Camshaft Drive Chain Guide or Shoe Bolt
(159)Camshaft Drive Chain Guide or Shoe Bolt
(159)Camshaft Drive Chain Guide or Shoe Bolt
(159)Camshaft Drive Chain Guide or Shoe Bolt
(159)Camshaft Drive Chain Guide or Shoe Bolt
(160)Camshaft Intermediate Drive Shaft Sprocket
(161)Camshaft Intermediate Drive Shaft Sprocket Bolt
(162)Camshaft Intermediate Drive Shaft
(163)Camshaft Intermediate Drive Shaft Bolt
(170)Secondary Camshaft Drive Chain
(170)Secondary Camshaft Drive Chain
(171)Secondary Camshaft Drive Chain Guide
(171)Secondary Camshaft Drive Chain Guide
(173)Left Secondary Camshaft Drive Chain Shoe
(175)Secondary Camshaft Drive Chain Tensioner
(175)Secondary Camshaft Drive Chain Tensioner
(177)Left Camshaft Sprocket
(177)Left Camshaft Sprocket
(179)Camshaft Sprocket Bolt
(183)Right Secondary Camshaft Drive Chain Shoe
(187)Right Exhaust Camshaft Sprocket
(188)Right Intake Camshaft Sprocket
Figure 5:

Intake Manifold


Object Number: 1564064  Size: LF
(6)Fuel Injector Rail
(283)PCV Air Tube
(500)Intake Manifold
(501)Intake Manifold Vacuum Plug Cap
(502)Intake Manifold Power Brake Vacuum Source Hole Fitting
(520)Intake Manifold Seal
(530)Intake Manifold Bolt
(531)Fuel Injector Rail Bolts
(570)Fuel Rail Nut
(590)Upper Intake Manifold Sight Shield - LD8
(590)Upper Intake Manifold Sight Shield - L37
(593)Fuel Injector Sight Shield
(593)Fuel Injector Sight Shield
(594)Fuel Injector Sight Shield Cover Ball Stud
(595)Fuel Injector Sight Shield Cover Ball Stud
(595)Fuel Injector Sight Shield Cover Ball Stud
(596)Intake Manifold Sight Shield Emblem
(596)Intake Manifold Sight Shield Emblem
Figure 6:

Fuel Rail


Object Number: 1564068  Size: MF
(560)Fuel Rail
(561)Fuel Injector
(562)Fuel Injector Clip
(563)Upper Fuel Injector O-ring
(564)Lower Fuel Injector O-ring
(565)Fuel Pressure Service Valve Cap
(566)Fuel Pressure Service Valve
Figure 7:

Cylinder Head Assemblies


Object Number: 1564071  Size: MF
(300)Left Cylinder Head
(301)Right Cylinder Head
(308)Cylinder Head Core Hole Plug
(308)Cylinder Head Core Hole Plug
(309)Cylinder Head Core Hole Plug O-ring
(309)Cylinder Head Core Hole Plug O-ring
(309)Cylinder Head Core Hole Plug O-ring
(310)Cylinder Head Bolt (M11)
(311)Cylinder Head Bolt (M6)
(312)Cylinder Head Coolant Hole Expansion Plug
(313)Cylinder Head Coolant Hole Threaded Plug
(314)Cylinder Head Coolant Hole Plug Seal Ring
(315)Cylinder Head Oil Gallery Threaded Plug
(315)Cylinder Head Oil Gallery Threaded Plug
(316)Cylinder Head Oil Gallery Plug Ring
(316)Cylinder Head Oil Gallery Plug Ring
(320)Exhaust Valve
(321)Intake Valve
(322)Follower - Rocker Arm
(323)Stationary Hydraulic Lifter Adjuster (SHLA)
(324)Valve Stem Oil Seal
(325)Valve Spring
(326)Valve Spring Retainer
(327)Valve Lock Keepers
(330)Left Exhaust Camshaft
(331)Left Intake Camshaft
(332)Right Intake Camshaft
(333)Right Exhaust Camshaft
(334)Exhaust Camshaft Thrust Bearing Cap
(335)Intake Camshaft Thrust Bearing Cap
(336)Camshaft Bearing Cap
(337)Camshaft Bearing Cap Bolt
(337)Camshaft Bearing Cap Bolt
(337)Camshaft Bearing Cap Bolt
(338)Camshaft Sprocket Locating Pin
(624)Cylinder Head Exhaust Manifold Stud
(711)ECT Sensor
(725)Camshaft Position Sensor
(726)Camshaft Position Sensor O-ring
(727)Camshaft Position Sensor Bolt
Figure 8:

Water Crossover and Throttle Body Assembly


Object Number: 1564072  Size: MF
(360)Water Pump
(361)Water Pump Bolt
(362)Water Pump O-ring
(365)Thermostat
(366)Thermostat O-ring
(367)Thermostat Housing
(368)Thermostat Housing Bolt
(372)Water Crossover Upper Gasket
(372)Water Crossover Upper Gasket
(373)Water Crossover Lower Gasket
(373)Water Crossover Lower Gasket
(374)Water Crossover Bolt - Long - 115 mm
(375)Water Crossover Bolt - Medium - 92 mm
(376)Water Crossover Bolt - Short - 35 mm
(377)Water Pump Cover
(378)Water Pump Cover Gasket
(379)Water Pump Cover Stud
(383)Water Pump Cover Bolt
(386)Engine Coolant Fitting
(389)Water Crossover Bolt - Long - 109 mm
(525)Plenum Duct
(526)Plenum Duct Clamp
(526)Plenum Duct Clamp
(660)Automatic Transmission Range Selector Lever Cable Clip Bracket
(680)Engine Lift Bracket
(681)Engine Lift Bracket Bolt
(701)Throttle Body
(702)Throttle Body Bolt
(703)Throttle Body Gasket
(740)MAP Sensor
(741)MAP Sensor Seal
(742)MAP Sensor Bracket
(743)MAP Sensor Bracket Bolt
(744)EVAP Purge Solenoid
(745)EVAP Purge Solenoid O-ring
(746)EVAP Purge Solenoid Bolt
(781)EGR Valve
(782)EGR Valve Gasket
(783)EGR Valve Bolt
(784)EGR Valve Heat Shield
(785)EGR Valve Heat Shield Nut
(786)EGR Valve Inlet Pipe
(787)EGR Valve Inlet Pipe Bolt
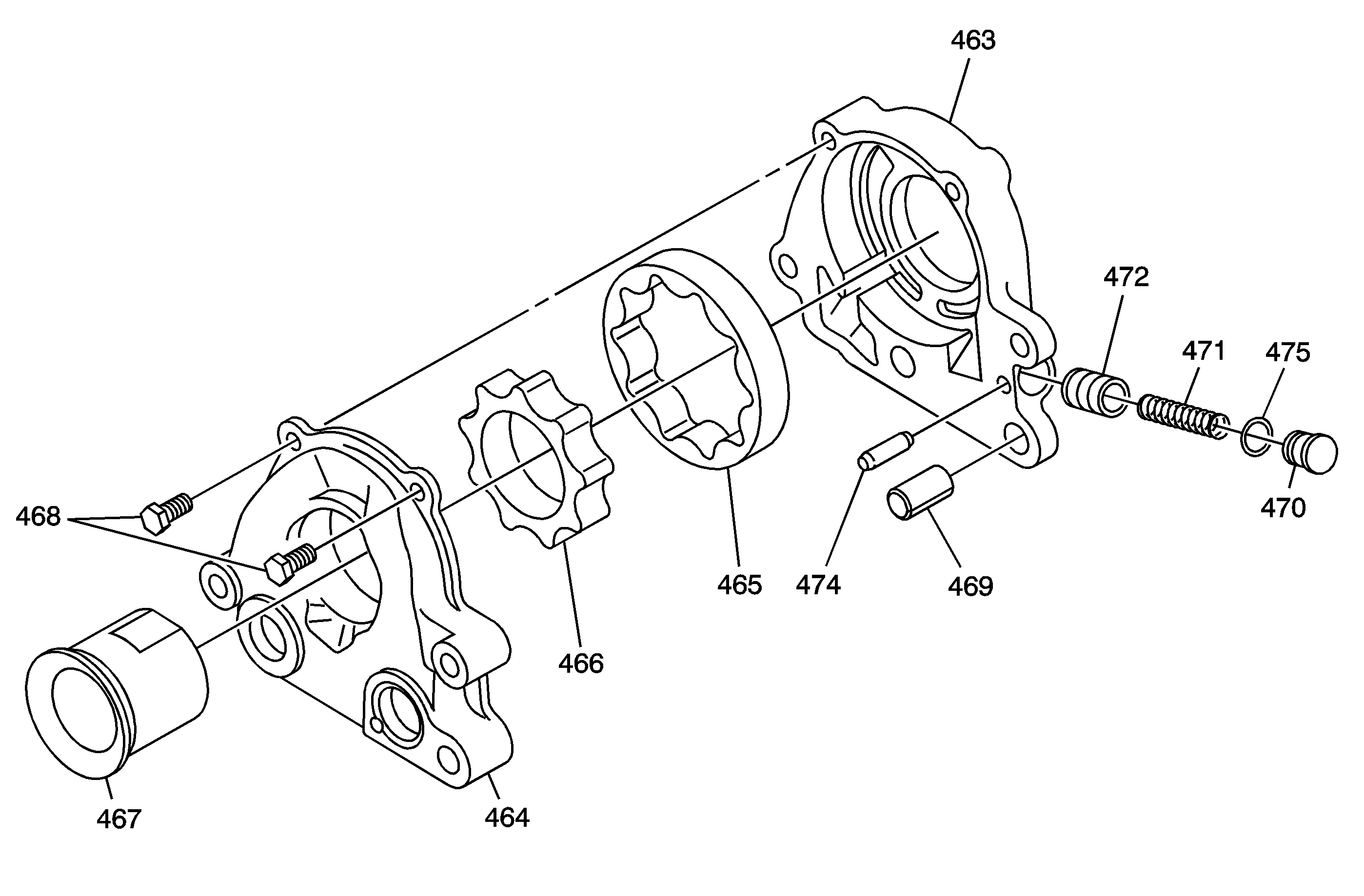
Figure 9:

Oil Pump


Object Number: 911058  Size: MF
(463)Oil Pump Housing
(464)Oil Pump Cover
(465)Oil Pump Driven Rotor
(466)Oil Pump Drive Rotor
(467)Oil Pump Drive Spacer
(468)Oil Pump Cover Bolts
(469)Oil Pump Alignment Pin
(470)Oil Pump Pressure Relief Valve Cap
(471)Oil Pump Spring
(472)Oil Pump Plunger
(474)Oil Pump Pressure Relief Valve Cap Retaining Pin
(475)Oil Pump Pressure Relief Valve Cap O-Ring
Figure 10:

Engine Block Assembly


Object Number: 1564074  Size: LF
(100)Engine Block
(101)Lower Crankcase
(102)Engine Oil Manifold
(105)Lower Crankcase Perimeter Bolt
(106)Engine Oil Manifold Bolt
(107)Oil Pan Baffle Stud
(112)Lower Crankcase Bolt
(113)Lower Crankcase Stud - Oil Pump Suction Pipe
(118)Lower Crankcase-to-Engine Block Pin
(120)Crankshaft
(121)Crankshaft Pin
(122)Crankshaft Upper Bearing
(123)Crankshaft Lower Bearing
(124)Crankshaft Upper Thrust Bearing #3
(125)Crankshaft Rear Oil Seal
(131)Engine Block Dowel Pins
(132)Engine Front Cover-to-Engine Block Pin
(137)Cylinder Head Dowel Pins
(138)Camshaft Plug - Intermediate Driveshaft
(139)Lower Crankcase Stud
(140)Engine Flywheel
(141)Engine Flywheel Bolt
(410)Oil Pan Baffle
(720)Crankshaft Position Sensor
(721)Crankshaft Position Sensor O-ring
(722)Crankshaft Position Sensor Bolt
(723)Knock Sensor
(724)Knock Sensor Bolt
(724)Knock Sensor Bolt
(767)Jump Start Ground Bracket
(768)Jump Start Ground Bracket Bolt
(795)Crankshaft Position Sensor and Knock Sensor Wiring Harness Bracket Bolt
(796)Crankshaft Position Sensor and Knock Sensor Wiring Harness
(797)Crankshaft Position Sensor and Knock Sensor Wiring Harness Bracket
Figure 11:

Piston, Rings, Bearing and Connecting Rod


Object Number: 911074  Size: LF
(200)Connecting Rod
(201)Connecting Rod Bolt
(202)Connecting Rod Piston Pin Bushing
(203)Connecting Rod Bearing
(210)Piston
(211)Piston Pin
(212)Piston Pin Retainer
(212)Piston Pin Retainer
(213)Upper Compression Ring
(214)Lower Compression Ring
(215)Upper Oil Control Ring
(216)Oil Control Ring Expander
(217)Lower Oil Control Ring
Figure 12:

Oil Filter Adapter


Object Number: 911077  Size: SH
(440)Oil Filter Adapter
(441)Oil Filter Adapter Gasket
(442)Oil Filter Adapter Bolt
(445)Oil Filter Fitting
(446)Oil Filter Bypass Valve
(449)Oil Filter
(457)Bypass Hole Plug
(715)Oil Pressure Switch
(716)Oil Pressure Switch O-ring
Figure 13:

Oil Filter Adapter with Oil Cooler


Object Number: 911080  Size: SH
(440)Oil Filter Adapter
(441)Oil Filter Adapter Gasket
(442)Oil Filter Adapter Bolt
(445)Oil Filter Fitting
(446)Oil Filter Bypass Valve
(449)Oil Filter
(452)Oil Cooler Bypass Valve
(453)Oil Cooler Bypass Valve Plug O-ring
(454)Oil Cooler Bypass Valve Plug
(455)Oil Cooler Pipe Fitting
(455)Oil Cooler Pipe Fitting
(715)Oil Pressure Switch
(716)Oil Pressure Switch O-ring