GM Service Manual Online
For 1990-2009 cars only

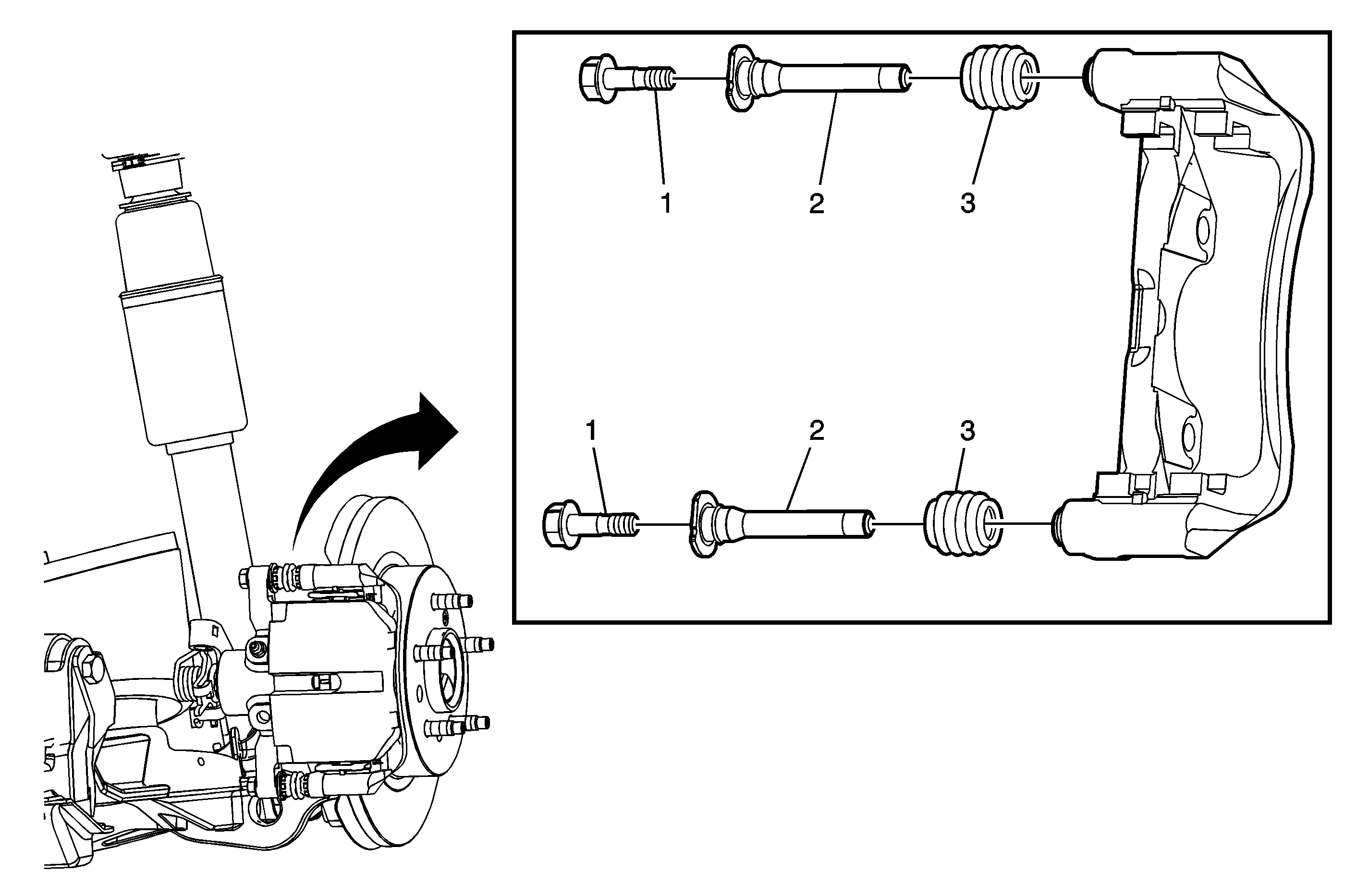
Rear Disc Brake Hardware Replacement JL9


Object Number: 1657024  Size: MF

Callout

Component Name

Caution: Refer to Brake Dust Caution in the Preface section.

Notice: Support the brake caliper with heavy mechanic wire, or equivalent, whenever it is separated from its mount and the hydraulic flexible brake hose is still connected. Failure to support the caliper in this manner will cause the flexible brake hose to bear the weight of the caliper, which may cause damage to the brake hose and in turn may cause a brake fluid leak.

Preliminary Procedures

  1. Raise and support the vehicle. Refer to Lifting and Jacking the Vehicle.
  2. Remove the tire and wheel. Refer to Tire and Wheel Removal and Installation.

1

Guide Pin Bolt (Qty: 2)

Notice: Refer to Fastener Notice in the Preface section.

Important: Install an open end wrench to hold the caliper guide pin in line with the caliper while removing or installing the caliper guide pin bolt. DO NOT allow the open end wrench to come in contact with the brake caliper.

Tip

    • Hold the guide pin stationary when removing or installing the guide pin bolt.
    • Remove the brake caliper from the caliper bracket and support with heavy mechanics wire or equivalent.

Tighten
34 N·m (25 lb ft)

2

Guide Pin (Qty: 2)

Tip
Apply a small amount of high temperature silicone brake lubricate to the inside of the guide pin seal.

3

Guide Pin Seal

Tip
Ensure the lip of the seal is fully seated in the groove of the guide pin and the caliper bracket.

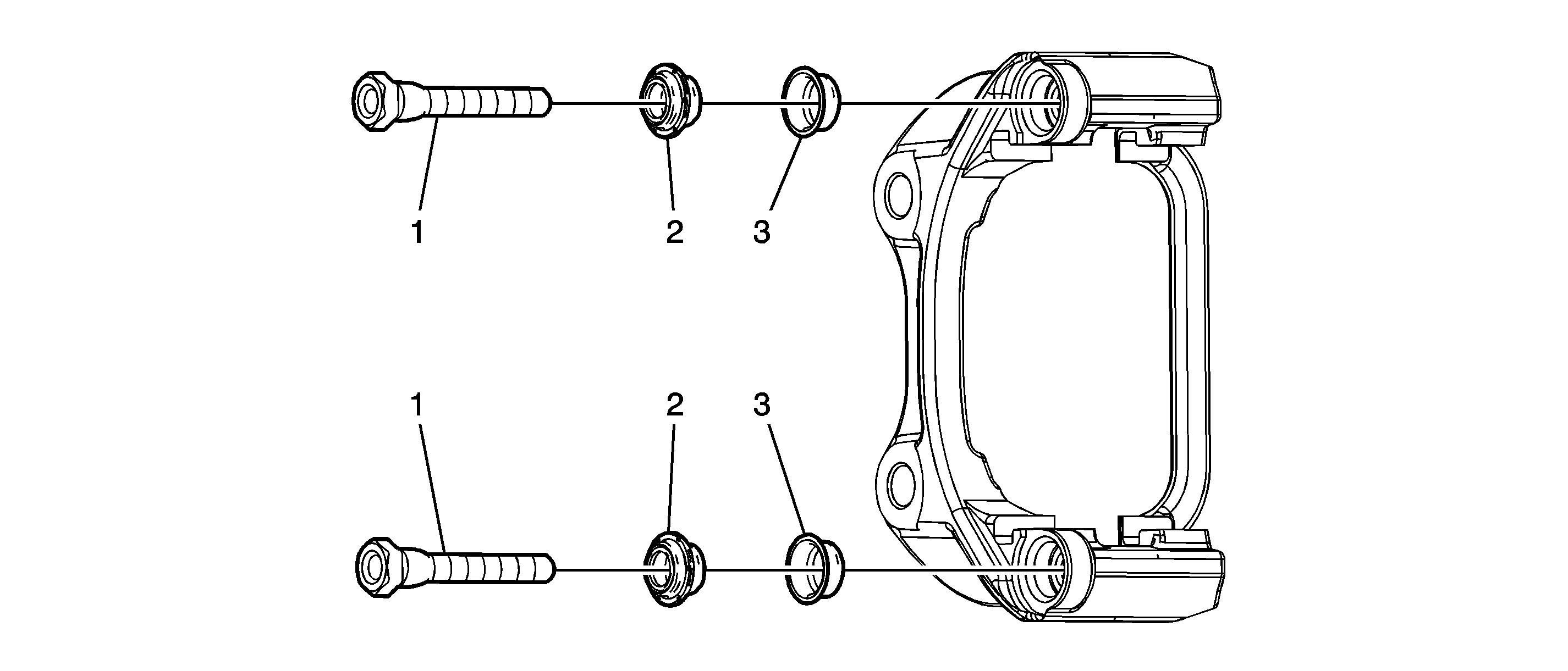
Rear Disc Brake Hardware Replacement J55


Object Number: 1664281  Size: SF

Callout

Component Name

Fastener Tightening Specifications: Refer to Fastener Tightening Specifications .

Preliminary Procedure

Remove the brake caliper mounting bracket. Refer to Rear Disc Brake Hardware Replacement .

1

Guide Pin

2

Guide Pin Boot

Tip

  1. Install the bracket in a vise.
  2. Insert a flat-bladed screwdriver between the boot and the bracket.
  3. Using a flat-bladed screwdriver, remove the boot.

3

Guide Pin Bushing

Tip

    • Using a small flat-bladed screwdriver, carefully insert the screwdriver into the mounting bore for the bushing. Rotate and pull the bushing outward to remove the bushing.
    • Use denature alcohol to clean the mounting bracket.