GM Service Manual Online
For 1990-2009 cars only
Connector 1: 1-2 Shift Solenoid (SS) Valve
Connector 2: 2-3 Shift Solenoid (SS) Valve
Connector 3: A/C Compressor Clutch
Connector 4: A/C Refrigerant Pressure Sensor
Connector 5: Accelerator Pedal Position (APP) Sensor
Connector 6: Air Suspension Control Module (ASCM) X1 (F38)
Connector 7: Air Suspension Control Module (ASCM) X2 (F38)
Connector 8: Air Temperature Actuator - Driver
Connector 9: Air Temperature Actuator - Front Passenger
Connector 10: Air Temperature Actuator - Rear Passenger (CJ4)
Connector 11: Air Temperature Sensor - Inside
Connector 12: Ambient Air Temperature Sensor
Connector 13: Amplifier X1 (UQ3)
Connector 14: Amplifier X1 (UQA)
Connector 15: Amplifier X2 (UQ3)
Connector 16: Amplifier X2 (UQA)
Connector 17: Amplifier X3 (UQ3)
Connector 18: Amplifier X3 (UQA)
Connector 19: Ashtray Lamp (AV8)
Connector 20: Automatic Level Control (ALC) Compressor (FE1/F55)
Connector 21: Automatic Level Control Module (FE1)
Connector 22: Automatic Transmission Fluid Temperature (TFT) Sensor
Connector 23: Automatic Transmission Input Shaft Speed Sensor (AT ISS)
Connector 24: Automatic Transmission Shift Indicator Lamp
Connector 25: Auxiliary Power Outlet - Console (AQ9)
Connector 26: Auxiliary Power Outlet - Front Seat
Connector 27: Auxiliary Power Outlet - Left Rear
Connector 28: Auxiliary Power Outlet - Right Rear
Connector 29: Battery (-)
Connector 30: Battery (+)
Connector 31: Battery Current Sensor
Connector 32: Blower Motor
Connector 33: Blower Motor - Auxiliary (CJ4)
Connector 34: Blower Motor Control Module - Auxiliary (CJ4)
Connector 35: Blower Motor Control Module (CJ4)
Connector 36: Blower Motor Control Module X1 (CJ2)
Connector 37: Blower Motor Control Module X2 (CJ2)
Connector 38: Body Control Module (BCM) X1
Connector 39: Body Control Module (BCM) X2
Connector 40: Body Control Module (BCM) X3
Connector 41: Body Control Module (BCM) X4
Connector 42: Body Control Module (BCM) X5
Connector 43: Body Control Module (BCM) X6
Connector 44: Body Control Module (BCM) X7
Connector 45: Brake Fluid Level Switch
Connector 46: Brake Pedal Position Sensor
Connector 47: Camshaft Position (CMP) Sensor
Connector 48: Cellular Microphone (UE1, U3Q, U3R, U3U)
Connector 49: Center High Mounted Stop Lamp (CHMSL)
Connector 50: Cigar Lighter (AV8/AQ9 with DT4)/Auxiliary Power Outlet (AV8/AQ9 without DT4)
Connector 51: Climate Control Seat Module - Front Passenger X1 (KB6)
Connector 52: Climate Control Seat Module - Front Passenger X2 (KB6)
Connector 53: Climate Control Seat Module - Front Passenger X3 (KB6)
Connector 54: Clock
Connector 55: Column Shifter Shift Lock Control Solenoid (AV8)
Connector 56: Cooling Fan - Left
Connector 57: Cooling Fan - Right
Connector 58: Cornering Lamp - Left
Connector 59: Cornering Lamp - Right
Connector 60: Courtesy Lamp - Front (V4U)
Connector 61: Courtesy Lamp - Left Front (V4U)
Connector 62: Courtesy Lamp - Left Front Door
Connector 63: Courtesy Lamp - Left Middle Door (V4U)
Connector 64: Courtesy Lamp - Left Rear (V4U)
Connector 65: Courtesy Lamp - Left Rear (without V4U)
Connector 66: Courtesy Lamp - Left Rear Door
Connector 67: Courtesy Lamp - Right Front
Connector 68: Courtesy Lamp - Right Front Door
Connector 69: Courtesy Lamp - Right Middle Door (V4U)
Connector 70: Courtesy Lamp - Right Rear (V4U)
Connector 71: Courtesy Lamp - Right Rear (without V4U)
Connector 72: Courtesy Lamp - Right Rear Door
Connector 73: Courtesy Lamp Module (without C97/V4U)
Connector 74: Courtesy Lamp Module (C97)
Connector 75: Crankshaft Position (CKP) Sensor
Connector 76: Data Link Connector (DLC)
Connector 77: Digital Radio Receiver (DRR) (U2K)
Connector 78: Distance Sensing Cruise Control Module (K59)
Connector 79: Dome Lamp (V4U, B9Q)
Connector 80: Door Latch Assembly - Driver X1
Connector 81: Door Latch Assembly - Driver X2
Connector 82: Door Latch Assembly - Front Passenger X1
Connector 83: Door Latch Assembly - Front Passenger X2
Connector 84: Door Latch Assembly - Left Middle X1 (V4U)
Connector 85: Door Latch Assembly - Left Middle X2 (V4U)
Connector 86: Door Latch Assembly - Left Rear X1
Connector 87: Door Latch Assembly - Left Rear X2
Connector 88: Door Latch Assembly - Rear (B9Q)
Connector 89: Door Latch Assembly - Right Middle X1 (V4U)
Connector 90: Door Latch Assembly - Right Middle X2 (V4U)
Connector 91: Door Latch Assembly - Right Rear X1
Connector 92: Door Latch Assembly - Right Rear X2
Connector 93: Door Lock Key Cylinder Switch - Driver
Connector 94: Door Park Relay Assembly - Left Middle (V4U)
Connector 95: Door Park Relay Assembly - Right Middle (V4U)
Connector 96: Door Release Switch - Left Middle (V4U)
Connector 97: Door Release Switch - Left Rear (V4U)
Connector 98: Door Release Switch - Right Middle (V4U)
Connector 99: Door Release Switch - Right Rear (V4U)
Connector 100: Driver Door Module (DDM) X1
Connector 101: Driver Door Module (DDM) X2
Connector 102: Driver Door Module (DDM) X3
Connector 103: Driver Door Module (DDM) X4 (KB6)
Connector 104: Driver Door Module (DDM) X7
Connector 105: Driver Information Display Switch
Connector 106: Electronic Brake Control Module (EBCM)
Connector 107: Electronic Suspension Control (ESC) Module (F55)
Connector 108: Engine Control Module (ECM) X1
Connector 109: Engine Control Module (ECM) X2
Connector 110: Engine Control Module (ECM) X3
Connector 111: Engine Coolant Temperature (ECT) Sensor
Connector 112: Engine Oil Pressure (EOP) Switch
Connector 113: Evaporative Emission (EVAP) Canister Purge Solenoid Valve
Connector 114: Evaporative Emission (EVAP) Canister Vent Solenoid Valve
Connector 115: Exhaust Gas Recirculation (EGR) Valve
Connector 116: Floor Shifter Assembly X1 (AQ9)
Connector 117: Floor Shifter Assembly X2 (AQ9)
Connector 118: Fog Lamp - Left
Connector 119: Fog Lamp - Right
Connector 120: Footwell Lamp - Left Front (C97)
Connector 121: Footwell Lamp - Left Rear (C97)
Connector 122: Footwell Lamp - Right Front (C97)
Connector 123: Footwell Lamp - Right Rear (C97)
Connector 124: Front and Rear Object Alarm Module (UFR) X1
Connector 125: Front and Rear Object Alarm Module (UFR) X2
Connector 126: Front and Rear Object Alarm Module (UFR) X3
Connector 127: Front Passenger Door Module (FPDM) X1
Connector 128: Front Passenger Door Module (FPDM) X2
Connector 129: Front Passenger Door Module (FPDM) X3
Connector 130: Front Passenger Door Module (FPDM) X4 (KB6)
Connector 131: Front Passenger Door Module (FPDM) X7
Connector 132: Fuel Injector 1
Connector 133: Fuel Injector 2
Connector 134: Fuel Injector 3
Connector 135: Fuel Injector 4
Connector 136: Fuel Injector 5
Connector 137: Fuel Injector 6
Connector 138: Fuel Injector 7
Connector 139: Fuel Injector 8
Connector 140: Fuel Pump and Sender Assembly
Connector 141: Fuel Tank Pressure (FTP) Sensor
Connector 142: Garage Door Opener Transmitter (UG1)
Connector 143: Generator X1
Connector 144: Generator X2
Connector 145: Hazard Switch
Connector 146: Headlamp Ballast - Left (without T72)
Connector 147: Headlamp Ballast - Right (without T72)
Connector 148: Headlamp High/Low Beam Solenoid - Left
Connector 149: Headlamp High/Low Beam Solenoid - Right
Connector 150: Headlamp Switch
Connector 151: Heated Oxygen Sensor (HO2S) 2
Connector 152: Heated Oxygen Sensor (HO2S) Bank 1 Sensor 1
Connector 153: Heated Oxygen Sensor (HO2S) Bank 2 Sensor 1
Connector 154: Heated Seat Element - Left Rear Back (KA6)
Connector 155: Heated Seat Element - Left Rear Cushion (KA6)
Connector 156: Heated Seat Element - Right Rear Back (KA6)
Connector 157: Heated Seat Element - Right Rear Cushion (KA6)
Connector 158: Heated Seat Module - Rear X1 (KA6)
Connector 159: Heated Seat Module - Rear X2 (KA6)
Connector 160: Heated Seat Module - Rear X3 (KA6)
Connector 161: Heated Seat Module - Rear X4 (KA6)
Connector 162: Heated Seat Switch - Left Rear (KA6)
Connector 163: Heated Seat Switch - Right Rear (KA6)
Connector 164: Heated Steering Wheel Element (N30)
Connector 165: Heated Steering Wheel Module (N30)
Connector 166: Hood Ajar Switch
Connector 167: Horn Assembly
Connector 168: Horn Switch
Connector 169: HVAC Control Module - Auxiliary (CJ4)
Connector 170: HVAC Control Module X1
Connector 171: HVAC Control Module X2
Connector 172: HVAC Control Module X3
Connector 173: I/P Compartment Lamp
Connector 174: Ignition Coil 1
Connector 175: Ignition Coil 2
Connector 176: Ignition Coil 3
Connector 177: Ignition Coil 4
Connector 178: Ignition Coil 5
Connector 179: Ignition Coil 6
Connector 180: Ignition Coil 7
Connector 181: Ignition Coil 8
Connector 182: Ignition Lock Cylinder Solenoid (AQ9)
Connector 183: Ignition Switch
Connector 184: Inflatable Restraint Front End Sensor - Left
Connector 185: Inflatable Restraint Front End Sensor - Right
Connector 186: Inflatable Restraint I/P Module X1
Connector 187: Inflatable Restraint I/P Module X2
Connector 188: Inflatable Restraint I/P Module Indicator
Connector 189: Inflatable Restraint Passenger Presence System (PPS) Module
Connector 190: Inflatable Restraint Passenger Presence System (PPS) Sensor
Connector 191: Inflatable Restraint Roof Rail Module - Left (AY0)
Connector 192: Inflatable Restraint Roof Rail Module - Right (AY0)
Connector 193: Inflatable Restraint Seat Belt Tension Sensor
Connector 194: Inflatable Restraint Seat Position Sensor (SPS) - Right
Connector 195: Inflatable Restraint Sensing and Diagnostic Module (SDM)
Connector 196: Inflatable Restraint Side Impact Module - Left
Connector 197: Inflatable Restraint Side Impact Module - Right
Connector 198: Inflatable Restraint Side Impact Sensor - Left
Connector 199: Inflatable Restraint Side Impact Sensor - Right
Connector 200: Inflatable Restraint Steering Wheel Module X1
Connector 201: Inflatable Restraint Steering Wheel Module X2
Connector 202: Inside Rearview Mirror
Connector 203: Instrument Panel Cluster (IPC)
Connector 204: Internal Mode Switch (IMS)
Connector 205: Knock Sensor (KS) 1
Connector 206: Knock Sensor (KS) 2
Connector 207: License Lamp - Left
Connector 208: License Lamp - Right
Connector 209: Lumbar Adjuster Switch - Driver (A45/AL2)
Connector 210: Lumbar Adjuster Switch - Driver (without A45)
Connector 211: Lumbar Adjuster Switch - Passenger (AL2)
Connector 212: Manifold Absolute Pressure (MAP) Sensor
Connector 213: Mass Air Flow (MAF)/Intake Air Temperature (IAT) Sensor
Connector 214: Memory Seat Module (MSM) X1 (A45/AM3/KB6)
Connector 215: Memory Seat Module (MSM) X2 (A45/AM3/KB6)
Connector 216: Memory Seat Module (MSM) X3 (A45/AM3/KB6)
Connector 217: Memory Seat Module (MSM) X4 (A45/AM3/KB6)
Connector 218: Memory Seat Module (MSM) X5 (A45/AM3/KB6)
Connector 219: Memory Seat Module (MSM) X6 (A45/AM3/KB6)
Connector 220: Memory Seat Module (MSM) X7 (A45/AM3/KB6)
Connector 221: Mode Actuator
Connector 222: Mode Actuator - Auxiliary (CJ4)
Connector 223: Noise Compensation Microphone (UQA)
Connector 224: Object Alarm Sensor - Left Front Corner (UFR)
Connector 225: Object Alarm Sensor - Left Front Middle (UFR)
Connector 226: Object Alarm Sensor - Left Rear Corner (UFR)
Connector 227: Object Alarm Sensor - Left Rear Middle (UFR)
Connector 228: Object Alarm Sensor - Right Front Corner (UFR)
Connector 229: Object Alarm Sensor - Right Front Middle (UFR)
Connector 230: Object Alarm Sensor - Right Rear Corner (UFR)
Connector 231: Object Alarm Sensor - Right Rear Middle (UFR)
Connector 232: Outside Moisture Sensor (CE1)
Connector 233: Outside Rearview Mirror - Driver X1
Connector 234: Outside Rearview Mirror - Driver X2
Connector 235: Outside Rearview Mirror - Passenger X1
Connector 236: Outside Rearview Mirror - Passenger X2
Connector 237: Overhead Console Lamp (V4U)
Connector 238: Park Brake Switch
Connector 239: Park Lamp - Left Front
Connector 240: Park Lamp - Left Middle (V4U)
Connector 241: Park Lamp - Left Rear (V4U, B9Q)
Connector 242: Park Lamp - Right Front
Connector 243: Park Lamp - Right Middle (V4U)
Connector 244: Park Lamp - Right Rear (V4U, B9Q)
Connector 245: Park Switch (AQ9)
Connector 246: Pressure Control (PC) Solenoid Valve
Connector 247: Radio Antenna Module (B9Q)
Connector 248: Radio Antenna Module (without B9Q)
Connector 249: Radio X1
Connector 250: Radio X2
Connector 251: Radio X3
Connector 252: Rear Compartment Courtesy Lamp
Connector 253: Rear Compartment Courtesy Lamp (B9Q)
Connector 254: Rear Compartment Lid Latch
Connector 255: Rear Park Assist Indicator (UFR)
Connector 256: Rear Window Defogger X1
Connector 257: Rear Window Defogger X2
Connector 258: Rear Window Sunshade Control Module X1 (DE9)
Connector 259: Rear Window Sunshade Control Module X2 (DE9)
Connector 260: Recirculation Actuator
Connector 261: Remote Control Door Lock Receiver (RCDLR)
Connector 262: Repeater Lamp - Left (EXP)
Connector 263: Repeater Lamp - Right (EXP)
Connector 264: Roof Rail Reading Lamp - Left (V4U/BQ9)
Connector 265: Roof Rail Reading Lamp - Right (V4U/BQ9)
Connector 266: Seat Adjuster Motor Assembly - Driver X1 (AM3/A45)
Connector 267: Seat Adjuster Motor Assembly - Driver X2 (AM3/A45)
Connector 268: Seat Adjuster Motor Assembly - Front Passenger (AG2/AM3)
Connector 269: Seat Adjuster Switch - Driver (A45)
Connector 270: Seat Adjuster Switch - Driver (without A45)
Connector 271: Seat Adjuster Switch - Passenger (AG2)
Connector 272: Seat Adjuster Switch - Passenger (AM3)
Connector 273: Seat Back Ventilation Heat and Cool Module - Driver (KB6)
Connector 274: Seat Back Ventilation Heat and Cool Module - Front Passenger (KB6)
Connector 275: Seat Belt Pretensioner - Left Front
Connector 276: Seat Belt Pretensioner - Right Front
Connector 277: Seat Belt Switch - Left
Connector 278: Seat Belt Switch - Right
Connector 279: Seat Cushion Ventilation Heat and Cool Module - Driver (KB6)
Connector 280: Seat Cushion Ventilation Heat and Cool Module - Front Passenger (KB6)
Connector 281: Seat Front Vertical Position Sensor - Driver (A45) (Part of Seat Adjuster Motor Assembly Driver)
Connector 282: Seat Lumbar Horizontal Motor - Left Rear (ARC)
Connector 283: Seat Lumbar Horizontal Motor - Right Rear (ARC)
Connector 284: Seat Lumbar Massage Motor Driver Horizontal Motor (AM3) (Part of Seat Lumbar Massage Motor - Driver)
Connector 285: Seat Lumbar Massage Motor Driver Vertical Motor (AM3) (Part of Seat Lumbar Massage Motor - Driver)
Connector 286: Seat Lumbar Massage Motor Position Sensor - Front Passenger (AM3)
Connector 287: Seat Lumbar Massage Switch - Driver (AM3)
Connector 288: Seat Lumbar Massage Switch - Front Passenger (AM3)
Connector 289: Seat Lumbar Position Sensor Driver Vertical Sensor Motor (AM3) (Part of Seat Lumbar Massage Motor - Driver)
Connector 290: Seat Lumbar Motor Position Sensor - Front Passenger (without A45)
Connector 291: Seat Lumbar Motor Position Sensor - Driver Horizontal (AM3) (Part of Seat Lumbar Massage Motor - Driver)
Connector 292: Seat Lumbar Switch - Left Rear (ARC)
Connector 293: Seat Lumbar Switch - Right Rear (ARC)
Connector 294: Seat Lumbar Vertical Motor - Left Rear (ARC)
Connector 295: Seat Lumbar Vertical Motor - Right Rear (ARC)
Connector 296: Seat Rear Horizontal Position Sensor - Driver (A45) (Part of Seat Adjuster Motor Assembly Driver)
Connector 297: Seat Rear Vertical Position Sensor - Driver (A45) (Part of Seat Adjuster Motor Assembly Driver)
Connector 298: Seat Recline Motor - Driver (AG1, A45) (Part of Driver Seat Recline Motor Assembly)
Connector 299: Seat Recline Motor - Front Passenger (AM3)
Connector 300: Seat Recline Motor Position Sensor - Driver (A45)
Connector 301: Secondary Air Injection (AIR) Check Valve
Connector 302: Secondary Air Injection (AIR) Pump
Connector 303: Shock Absorber Actuator - Left Front (F55)
Connector 304: Shock Absorber Actuator - Left Rear (F55)
Connector 305: Shock Absorber Actuator - Right Front (F55)
Connector 306: Shock Absorber Actuator - Right Rear (F55)
Connector 307: Side Object Detection - Left (UFT)
Connector 308: Side Object Detection - Right (UFT)
Connector 309: Sillplate Lamp - Left Front (C97)
Connector 310: Sillplate Lamp - Left Rear (C97)
Connector 311: Sillplate Lamp - Right Front (C97)
Connector 312: Sillplate Lamp - Right Rear (C97)
Connector 313: Speaker - Front Center (UQ3)
Connector 314: Speaker - Front Center (UQA)
Connector 315: Speaker - Left Front Door (UQ3)
Connector 316: Speaker - Left Front Door (UQA)
Connector 317: Speaker - Left Front Tweeter (UQ3)
Connector 318: Speaker - Left Front Tweeter (UQA)
Connector 319: Speaker - Left Rear Door (UQ3)
Connector 320: Speaker - Left Rear Door (UQA)
Connector 321: Speaker - Right Front Door (UQ3)
Connector 322: Speaker - Right Front Door (UQA)
Connector 323: Speaker - Right Front Tweeter (UQ3)
Connector 324: Speaker - Right Front Tweeter (UQA)
Connector 325: Speaker - Right Rear Door (UQ3)
Connector 326: Speaker - Right Rear Door (UQA)
Connector 327: Speaker - Subwoofer (UQ3)
Connector 328: Speaker - Subwoofer (UQA)
Connector 329: Starter Motor X1
Connector 330: Starter Motor X2
Connector 331: Steering Angle Sensor (JL4)
Connector 332: Steering Wheel Control Switch - Left
Connector 333: Steering Wheel Control Switch - Right
Connector 334: Sunload Twilight Sensor
Connector 335: Sunroof Control Module(CF5)
Connector 336: Sunroof Switch (CF5)
Connector 337: Sunshade - Left Front
Connector 338: Sunshade - Left Rear (DC5)
Connector 339: Sunshade - Right Front
Connector 340: Sunshade - Right Rear (DC5)
Connector 341: Sunshade Switch (DE9)
Connector 342: Suspension Position Sensor - Left Front (F55)
Connector 343: Suspension Position Sensor - Left Rear (F38)
Connector 344: Suspension Position Sensor - Left Rear (F55)
Connector 345: Suspension Position Sensor - Right Front (F55)
Connector 346: Suspension Position Sensor - Right Rear (F38)
Connector 347: Suspension Position Sensor - Right Rear (F55)
Connector 348: Tail Lamp Assembly - Left
Connector 349: Tail Lamp Assembly - Right
Connector 350: Telescoping Actuator X1 (N37)
Connector 351: Telescoping Actuator X2 (N37/A45)
Connector 352: Telltale Assembly Info Center (UFR)
Connector 353: Theft Deterrent Module (TDM)
Connector 354: Throttle Body Assembly
Connector 355: Tilt Actuator X1 (N37)
Connector 356: Tilt Actuator X2 (N37/A45)
Connector 357: Tilt/Telescope Switch (N37)
Connector 358: Torque Converter Clutch Pulse Width Modulated (TCC PWM) Solenoid Valve
Connector 359: Traction Control Switch (AQ9)
Connector 360: Traction Control Switch (AV8)
Connector 361: Traffic Information Receiver (U3Q/Japan)
Connector 362: Transmission Control Module (TCM)
Connector 363: Transmission Fluid Temperature (TFT) Sensor
Connector 364: Turn Signal/DRL Lamp - Left Front
Connector 365: Turn Signal/DRL Lamp - Right Front
Connector 366: Turn Signal/Multifunction Switch X1
Connector 367: Turn Signal/Multifunction Switch X2
Connector 368: Turn Signal/Multifunction Switch X3
Connector 369: Turn Signal/Multifunction Switch X4 (XA7)
Connector 370: Valet Switch
Connector 371: Variable Effort Steering Actuator
Connector 372: Vehicle Communication Interface Module (VCIM) X1 (UE1)
Connector 373: Vehicle Communication Interface Module (VCIM) X2 (UE1)
Connector 374: Vehicle Communication Interface Module (VCIM) X3 (UE1)
Connector 375: Vehicle Direction Alert Alarm Warning Module (UFL)
Connector 376: Vehicle Speed Sensor Assembly (VSS)
Connector 377: Video Display (U3Q/Japan)
Connector 378: Wheel Speed Sensor (WSS) - Left Front
Connector 379: Wheel Speed Sensor (WSS) - Left Rear
Connector 380: Wheel Speed Sensor (WSS) - Right Front
Connector 381: Wheel Speed Sensor (WSS) - Right Rear
Connector 382: Window Motor - Driver
Connector 383: Window Motor - Front Passenger
Connector 384: Window Motor - Left Rear
Connector 385: Window Motor - Right Rear
Connector 386: Window Switch - Left Rear Door
Connector 387: Window Switch - Right Rear Door
Connector 388: Windshield Washer Fluid Level Switch
Connector 389: Windshield Washer Fluid Pump
Connector 390: Windshield Washer Solvent Heater X1 (XA7)
Connector 391: Windshield Washer Solvent Heater X2 (XA7)
Connector 392: Windshield Wiper Motor
Connector 393: Yaw and Lateral Acceleration Sensor (JL4)

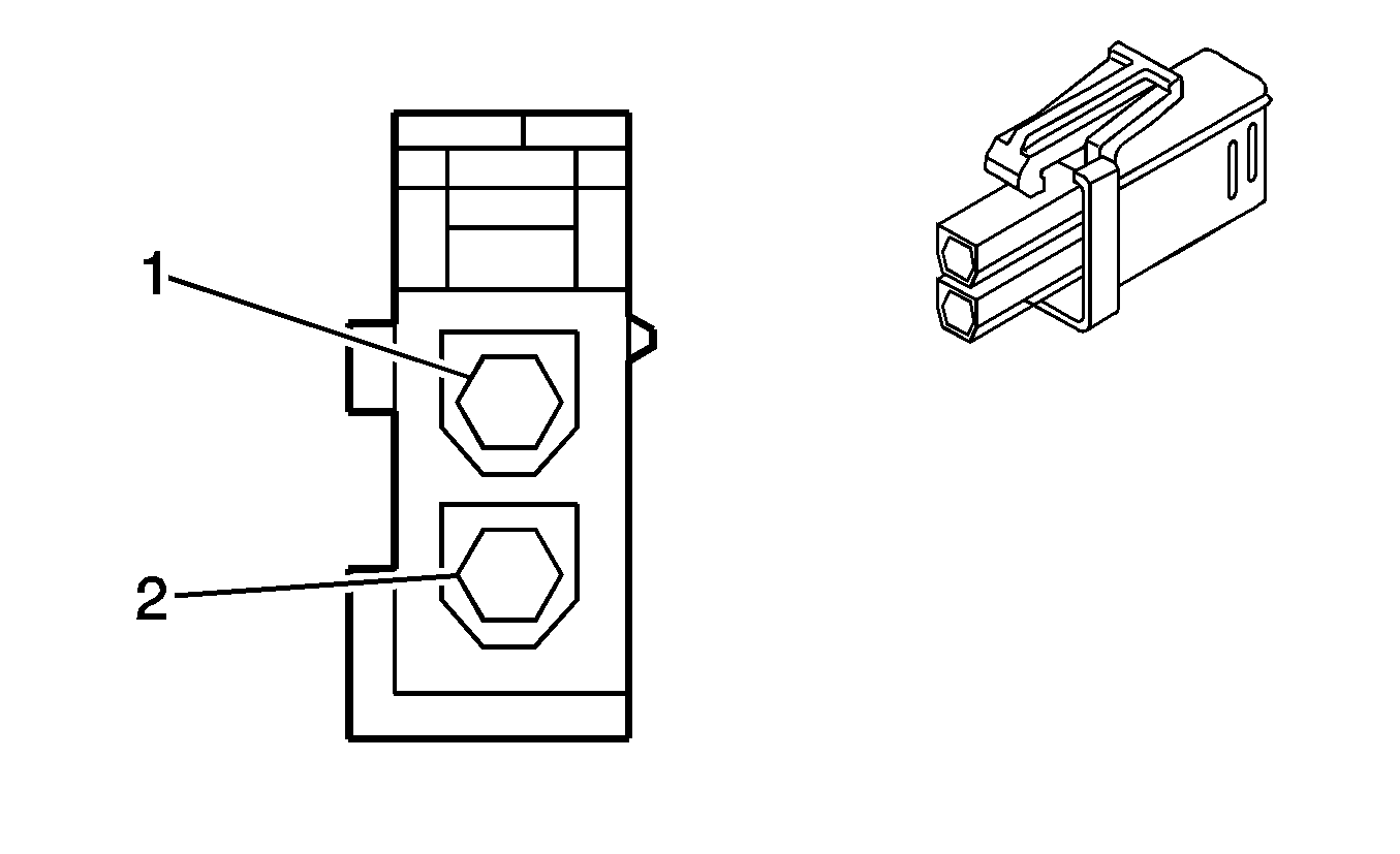
1-2 Shift Solenoid (SS) Valve


Object Number: 168428  Size: CH

Connector Part Information

  • OEM: 15473844
  • Service: See Catalog
  • Description: Connector 2-Way F Metri-Pack 150.2 Series (GN)

Terminal Part Information

  • Terminal/Tray: See Terminal Repair Kit
  • Core/Insulation Crimp: See Terminal Repair Kit
  • Release Tool/Test Probe: See Terminal Repair Kit

1-2 Shift Solenoid (SS) Valve

Pin

Wire

Circuit

Function

A

0.5 RD

539

Ignition 1 Voltage

B

0.5 L-GN

1222

Shift Solenoid Valve Control A

2-3 Shift Solenoid (SS) Valve


Object Number: 168428  Size: CH

Connector Part Information

  • OEM: 15473845
  • Service: See Catalog
  • Description: Connector 2-Way F Metri-Pack 150.2 Series (BU)

Terminal Part Information

  • Terminal/Tray: See Terminal Repair Kit
  • Core/Insulation Crimp: See Terminal Repair Kit
  • Release Tool/Test Probe: See Terminal Repair Kit

2-3 Shift Solenoid (SS) Valve

Pin

Wire

Circuit

Function

A

0.5 RD

539

Ignition 1 Voltage

B

0.5 YE

1223

Shift Solenoid Valve Control B

A/C Compressor Clutch


Object Number: 897985  Size: CH

Connector Part Information

  • OEM: 7282-5548-30
  • Service: 88953303
  • Description: 2-Way M YESC Weather Pack, Sealed (BK)

Terminal Part Information

  • Terminal/Tray: 7114-4102-08/9
  • Core/Insulation Crimp: E/1
  • Release Tool/Test Probe: 12094430/J-35616-3 (GY)

A/C Compressor Clutch

Pin

Wire

Circuit

Function

1

0.5 GN

59

A/C Compressor Clutch Supply Voltage

2

0.5 BK

1150

Ground

A/C Refrigerant Pressure Sensor


Object Number: 258299  Size: CH

Connector Part Information

  • OEM: 12078090
  • Service: 88988301
  • Description: 3-Way F Metri-Pack 150 Series, Sealed (BK)

Terminal Part Information

  • Terminal/Tray: 12103881/2
  • Core/Insulation Crimp: E/C
  • Release Tool/Test Probe: 12180559-1/J-35616-2A (GY)

A/C Refrigerant Pressure Sensor

Pin

Wire

Circuit

Function

A

0.5 L-BU

5514

Low Reference

B

0.5 GY/BK

2700

5-Volt Reference

C

0.5 OG/WH

380

A/C Refrigerant Pressure Sensor Signal

Accelerator Pedal Position (APP) Sensor


Object Number: 632357  Size: CH

Connector Part Information

  • OEM: 15326829
  • Service: 88953153
  • Description: 6-Way F 150 Series Sealed (BK)

Terminal Part Information

  • Terminal/Tray: 12191819/8
  • Core/Insulation Crimp: E/A
  • Release Tool/Test Probe: 15315247/J-35616-2A (GY)

Accelerator Pedal Position (APP) Sensor

Pin

Wire

Circuit

Function

A

0.35 PU/WH

1272

Low Reference

B

0.35 L-BU

1162

APP Sensor 2 Signal

C

0.35 TN/BK

1274

5-Volt Reference

D

0.35 BN

1271

Low Reference

E

0.35 D-BU/WH

1161

APP Sensor 1 Signal

F

0.35 WH/BK

1164

5-Volt Reference

Air Suspension Control Module (ASCM) X1 (F38)


Object Number: 646372  Size: CH

Connector Part Information

  • OEM: 15326654
  • Service: 88986254
  • Description: 8-Way F GT 280 Series Sealed 5.8 (BK)

Terminal Part Information

  • Pins: A, E
  • Terminal/Tray: 15304720/19
  • Core/Insulation Crimp: 4/5
  • Release Tool/Test Probe: 15315247/J-35616-4A (PU)
  • Pins: B-D, G, H
  • Terminal/Tray: 15304719/19
  • Core/Insulation Crimp: E/5
  • Release Tool/Test Probe: 15315247/J-35616-4A (PU)

Air Suspension Control Module (ASCM) X1 (F38)

Pin

Wire

Circuit

Function

A

3 D-GN

322

Automatic Level Control Compressor Motor Supply Voltage

B

0.5 OG/YE

5727

High Speed GMLAN Serial Data Wake Up

C

0.5 RD/WH

3340

Battery Positive Voltage

D

0.5 PU

5956

Leveling Compressor Relay Coil Supply Voltage

E

3 BK

1050

Ground (Compressor)

F

--

--

Not Used

G

0.5 BK

850

Ground (ECU)

H

0.5 BN

5955

Leveling Compressor Relay Coil Low Reference

Air Suspension Control Module (ASCM) X2 (F38)


Object Number: 632344  Size: CH

Connector Part Information

  • OEM: 15326842
  • Service: 15326842
  • Description: 10-Way F 150 Sealed (BK)

Terminal Part Information

  • Terminal/Tray: 12191819/8
  • Core/Insulation Crimp: E/A
  • Release Tool/Test Probe: 15315247/J-35616-2A (GY)

Air Suspension Control Module (ASCM) X2 (F38)

Pin

Wire

Circuit

Function

A

0.35 OG/BK

1208

Left Rear Strut Position Sensor Voltage Reference

B

0.35 L-GN/WH

1210

Left Rear Strut Position Sensor Signal

C

0.35 L-GN/BK

1209

Left Rear Strut Position Sensor Low Reference

D

0.5 TN

2501

High Speed GMLAN Serial Data Bus -

E

0.5 TN/BK

2500

High Speed GMLAN Serial Data Bus +

F

0.35 L-GN/BK

1215

Right Rear Strut Position Sensor Voltage Reference

G

0.35 L-GN/WH

1216

Right Rear Strut Position Sensor Signal

H

0.35 OG/BK

1214

Right Rear Strut Position Sensor Low Reference

J

0.5 TN

2501

High Speed GMLAN Serial Data Bus -

K

0.5 TN/BK

2500

High Speed GMLAN Serial Data Bus +

Air Temperature Actuator - Driver


Object Number: 1283833  Size: CH

Connector Part Information

  • OEM: 7283-5830-30
  • Service: 89046839
  • Description: 5-Way F (BK)

Terminal Part Information

  • Terminal/Tray: See Terminal Repair Kit
  • Core/Insulation Crimp: See Terminal Repair Kit
  • Release Tool/Test Probe: See Terminal Repair Kit

Air Temperature Actuator - Driver

Pin

Wire

Circuit

Function

1

0.35 GY

598

5-Volt Reference

2

0.35 GY/BK

1798

Low Reference

3

0.35 D-BU/GN

733

Driver Air Temperature Door Position Signal

4

0.35 YE/OG

1791

Driver Air Temperature Door Control A

5

0.35 D-BU/WH

1199

Driver Air Temperature Door Control B

Air Temperature Actuator - Front Passenger


Object Number: 1283833  Size: CH

Connector Part Information

  • OEM: 7283-5830-30
  • Service: 89046839
  • Description: 5-Way F (BK)

Terminal Part Information

  • Terminal/Tray: See Terminal Repair Kit
  • Core/Insulation Crimp: See Terminal Repair Kit
  • Release Tool/Test Probe: See Terminal Repair Kit

Air Temperature Actuator - Front Passenger

Pin

Wire

Circuit

Function

1

0.35 GY/BK

1798

Low Reference

2

0.35 GY

598

5-Volt Reference

3

0.35 D-BU

1646

Passenger Air Temperature Door Position

4

0.35 WH/BU

1236

Passenger Air Temperature Door Control B

5

0.35 BN/BK

1641

Passenger Air Temperature Door Control A

Air Temperature Actuator - Rear Passenger (CJ4)


Object Number: 861682  Size: CH

Connector Part Information

  • OEM: 7283-5830 -30
  • Service: 89046839
  • Description: 5-Way F Unsealed (WH)

Terminal Part Information

  • Terminal/Tray: See Terminal Repair Kit
  • Core/Insulation Crimp: See Terminal Repair Kit
  • Release Tool/Test Probe: See Terminal Repair Kit

Air Temperature Actuator - Rear Passenger (CJ4)

Pin

Wire

Circuit

Function

1

0.5 GY

598

5-Volt Reference

2

0.35 GY/BK

1798

Low Reference

3

0.35 PK

2145

Rear Air Temperature Door Position

4

0.35 YE

2214

Rear Air Temperature Door Control B

5

0.35 GY/RD

2614

Rear Air Temperature Door Control A

Air Temperature Sensor - Inside


Object Number: 39661  Size: CH

Connector Part Information

  • OEM: 12047786
  • Service: 12085536
  • Description: 4-Way M Metri-Pack 150 Series (BK)

Terminal Part Information

  • Terminal/Tray: 12047581/2
  • Core/Insulation Crimp: E/C
  • Release Tool/Test Probe: 12094429/J-35616-3 (GY)

Air Temperature Sensor - Inside

Pin

Wire

Circuit

Function

A

0.35 D-GN

734

Inside Air Temperature Sensor Signal

B

0.35 WH/BK

5515

Air Temperature Motor Control

C

0.35 BK

350

Ground

D

0.35 GY/BK

1798

Low Reference

Ambient Air Temperature Sensor


Object Number: 684793  Size: CH

Connector Part Information

  • OEM: 12052642
  • Service: 12101856
  • Description: 2-Way F Metri-Pack 150 Series Sealed (L-GN)

Terminal Part Information

  • Terminal/Tray: 12048074/2
  • Core/Insulation Crimp: E/1
  • Release Tool/Test Probe: 12094429/J-35616-2A (GY)

Ambient Air Temperature Sensor

Pin

Wire

Circuit

Function

A

0.35 L-GN/BK

735

Ambient Air Temperature Sensor Signal

B

0.35 GY/BK

1798

Low Reference

Amplifier X1 (UQ3)


Object Number: 1664463  Size: CH

Connector Part Information

  • OEM: 6098-4713
  • Service: 88988652
  • Description: 8-Way F (BK)

Terminal Part Information

  • Pins: 1, 2
  • Terminal/Tray: 8100-4445/22
  • Core/Insulation Crimp: F/D
  • Release Tool/Test Probe: 15315247/J-35616-35 (VT)
  • Pins: 3-4, 7-8
  • Terminal/Tray: 8100-4444/22
  • Core/Insulation Crimp: 2/A
  • Release Tool/Test Probe: 15315247/J-35616-35 (VT)

Amplifier X1 (UQ3)

Pin

Wire

Circuit

Function

1

3 TN/D-BU

3440

Battery Positive Voltage

2

3 BK

550

Ground

3

0.8 YE

1860

Front Center Speaker (+)

4

0.8 L-BU

1960

Front Center Speaker (-)

5-6

--

--

Not Used

7

0.8 PK

6766

Subwoofer Low Level Audio (-)

8

0.8 WH

6765

Subwoofer Low Level Audio Signal

Amplifier X1 (UQA)


Object Number: 1664464  Size: CH

Connector Part Information

  • OEM: 6098-4798
  • Service: See Catalog
  • Description: 8-Way F (GY)

Terminal Part Information

  • Terminal/Tray: 8100-4445/22
  • Core/Insulation Crimp: Pins 1, 2 - 4/4
  • Core/Insulation Crimp: Pins 4, 8 - F/D
  • Release Tool/Test Probe: 15315247/J-35616-35 (VT)

Amplifier X1 (UQA)

Pin

Wire

Circuit

Function

1

2 WH

6765

Subwoofer Low Level Audio Signal

2

2 TN/PK

6766

Subwoofer Low Level Audio (-)

3

--

--

Not Used

4

3 TN/D-BU

3440

Battery Positive Voltage

5-7

--

--

Not Used

8

3 BK

550

Ground

Amplifier X2 (UQ3)


Object Number: 1664465  Size: CH

Connector Part Information

  • OEM: 6098-4611
  • Service: 15134091
  • Description: 16-Way F (BK)

Terminal Part Information

  • Pins: 1-4
  • Terminal/Tray: 8240-0127/22
  • Core/Insulation Crimp: E/C
  • Release Tool/Test Probe: 15315247/J-35616-2A (GY)
  • Pins: 5-8, 13-16
  • Terminal/Tray: 8240-0128/22
  • Core/Insulation Crimp: C/A
  • Release Tool/Test Probe: 15315247/J-35616-2A (GY)

Amplifier X2 (UQ3)

Pin

Wire

Circuit

Function

1

0.5 TN/L-BU

1856

Left Front Tweeter Speaker (+)

2

0.5 YE

1956

Left Front Tweeter Speaker (-)

3

0.5 L-GN/BK

1852

Right Front Tweeter Speaker (+)

4

0.5 PU

1952

Right Front Tweeter Speaker (-)

5

0.8 WH

1959

Left Rear Midrange Speaker (-)

6

0.8 TN/OG

1859

Left Rear Midrange Speaker (+)

7

0.8 OG

1955

Right Rear Midrange Speaker (-)

8

0.8 TN/BK

1855

Right Rear Midrange Speaker (+)

9-12

--

--

Not Used

13

0.8 L-GN

200

Right Front Speaker (+)

14

0.8 PK/BK

117

Right Front Speaker Output (-)

15

0.8 TN

201

Left Front Speaker (+)

16

0.8 GY

118

Left Front Speaker Signal (-)

Amplifier X2 (UQA)


Object Number: 1664465  Size: CH

Connector Part Information

  • OEM: 6098-4611
  • Service: 15134091
  • Description: 16-Way F (BK)

Terminal Part Information

  • Pins: 1, 12, 13
  • Terminal/Tray: 8240-0127/22
  • Core/Insulation Crimp: E/C
  • Release Tool/Test Probe: 15315247/J-35616-2A (GY)
  • Pins: 4-8, 14-16
  • Terminal/Tray: 8240-0128/22
  • Core/Insulation Crimp: Pins 4-7 - See Terminal Repair Kit
  • Core/Insulation Crimp: Pins 8, 14-16 - C/A
  • Release Tool/Test Probe: 15315247/J-35616-2A (GY)

Amplifier X2 (UQA)

Pin

Wire

Circuit

Function

1

0.35 D-GN

5060

Low Speed GMLAN Serial Data

2-3

--

--

Not Used

4

1 TN

201

Left Front Speaker (+)

5

0.35 GY

118

Left Front Speaker Signal (-)

6

1 PK/BK

117

Right Front Speaker Signal (-)

7

1 L-GN

200

Right Front Speaker (+)

8

0.8 OG

1955

Right Rear Midrange Speaker (-)

9-11

--

--

Not Used

12

0.5 L-BU

1960

Front Center Speaker (-)

13

0.5 YE

1860

Front Center Speaker (+)

14

0.8 WH

1959

Left Rear Midrange Speaker (-)

15

0.8 TN/OG

1859

Left Rear Midrange Speaker (+)

16

0.8 TN/BK

1855

Right Rear Midrange Speaker (+)

Amplifier X3 (UQ3)


Object Number: 1664488  Size: CH

Connector Part Information

  • OEM: 7283-9078-80
  • Service: 15136074
  • Description: 16-Way F (BN)

Terminal Part Information

  • Terminal/Tray: 7116-4618-02/14
  • Core/Insulation Crimp: P/P
  • Release Tool/Test Probe: J-38125-215/J-35616-64B (L-BU)

Amplifier X3 (UQ3)

Pin

Wire

Circuit

Function

1

0.5 TN

511

Left Front Low Level Audio Signal

2

0.5 D-GN/RD

1947

Left Front Low Level Audio (-)

3

0.5 BN

1999

Left Rear Low Level Audio (-)

4

0.5 BN/WH

599

Left Rear Low Level Audio Signal

5

--

--

Not Used

6

0.35 PK

5165

Antenna 14-Volt Switched Supply Voltage

7-8

--

--

Not Used

9

0.5 L-GN

1948

Right Front Low Level Audio (-)

10

0.5 L-GN/WH

512

Right Front Low Level Audio Signal

11

0.5 D-BU

546

Right Rear Low Level Audio Signal

12

0.5 TN/RD

1946

Right Rear Low Level Audio (-)

13-15

--

--

Not Used

16

0.35 PU

2334

Amplifier Control

Amplifier X3 (UQA)


Object Number: 1664490  Size: CH

Connector Part Information

  • OEM: 7283-9076-30
  • Service: 15136073
  • Description: 16-Way F (BK)

Terminal Part Information

  • Terminal/Tray: 7116-4618-02/14
  • Core/Insulation Crimp: P/P
  • Release Tool/Test Probe: J-38125-215/J-35616-64B (L-BU)

Amplifier X3 (UQA)

Pin

Wire

Circuit

Function

1-2

--

--

Not Used

3

0.5 L-GN/WH

512

Right Front Low Level Audio Signal

4

0.5 L-GN

1948

Right Front Low Level Audio (-)

5

0.35 D-BU

658

Cellular Telephone Voice Signal

6

0.5 BARE

514

Drain Wire

7-10

--

--

Not Used

11

0.5 TN

511

Left Front Low Level Audio Signal

12

0.5 D-GN/RD

1947

Left Front Low Level Audio (-)

13

0.35 L-BU/BK

659

Cellular Telephone Voice Low Reference

14

0.35 D-GN/WH

1488

Noise Reduction Microphone (+)

15-16

--

--

Not Used

Ashtray Lamp (AV8)


Object Number: 38556  Size: CH

Connector Part Information

  • OEM: 12124722
  • Service: See Catalog
  • Description: 2-Way F Lamp Socket Wedge Base W2 (GY)

Terminal Part Information

  • Terminal/Tray: Service w/pigtail
  • Core/Insulation Crimp: See Terminal Repair Kit
  • Release Tool/Test Probe: See Terminal Repair Kit

Ashtray Lamp (AV8)

Pin

Wire

Circuit

Function

A

0.35 GY

8

Instrument Panel Lamp Supply Voltage

B

0.35 BK

350

Ground

Automatic Level Control (ALC) Compressor (FE1/F55)


Object Number: 684908  Size: CH

Connector Part Information

  • OEM: 13521459
  • Service: 15306360
  • Description: 4-Way F GT 280 Series Sealed 5.8 (BK)

Terminal Part Information

  • Pins: A, C
  • Terminal/Tray: 15304719/19
  • Core/Insulation Crimp: E/5
  • Release Tool/Test Probe: 15315247/J-35616-4A (PU)
  • Pins: B, D
  • Terminal/Tray: 15304720/19
  • Core/Insulation Crimp: 4/5
  • Release Tool/Test Probe: 15315247/J-35616-4A (PU)

Automatic Level Control (ALC) Compressor (FE1/F55)

Pin

Wire

Circuit

Function

A

0.35 WH

320

Automatic Level Control Exhaust Solenoid Control

B

3 D-GN

322

Automatic Level Control Compressor Motor Supply Voltage

C

0.5 RD/WH

3340

Battery Positive Voltage

D

3 BK

1050

Ground

Automatic Level Control Module (FE1)


Object Number: 632344  Size: CH

Connector Part Information

  • OEM: 15326842
  • Service: 15326842
  • Description: 10-Way F 150 Sealed (BK)

Terminal Part Information

  • Terminal/Tray: 12191819/8
  • Core/Insulation Crimp: E/A
  • Release Tool/Test Probe: 15315247/J-35616-2A (GY)

Automatic Level Control Module (FE1)

Pin

Wire

Circuit

Function

A

0.35 WH

320

Automatic Level Control Exhaust Solenoid Control

B

--

--

Not Used

C

0.5 BK

850

Ground

D

0.5 TN/BK

2500

High Speed GMLAN Serial Data Bus +

E

0.5 RD/WH

3340

Battery Positive Voltage

F

0.35 YE

321

Automatic Level Control Relay Control

G

0.5 TN

2501

High Speed GMLAN Serial Data Bus -

H

0.5 TN

2501

High Speed GMLAN Serial Data Bus -

J

0.5 TN/BK

2500

High Speed GMLAN Serial Data Bus +

K

0.35 OG/YE

5727

High Speed GMLAN Serial Data Wake Up

Automatic Transmission Fluid Temperature (TFT) Sensor


Object Number: 168428  Size: CH

Connector Part Information

  • OEM: 15473843
  • Service: See Catalog
  • Description: Connector 2-Way F Metri-Pack 150.2 Series (NA)

Terminal Part Information

  • Terminal/Tray: See Terminal Repair Kit
  • Core/Insulation Crimp: See Terminal Repair Kit
  • Release Tool/Test Probe: See Terminal Repair Kit

Automatic Transmission Fluid Temperature (TFT) Sensor

Pin

Wire

Circuit

Function

A

0.35 BN

1227

TFT Sensor Signal

B

0.35 GY

2762

Low Reference

Automatic Transmission Input Shaft Speed Sensor (AT ISS)


Object Number: 333035  Size: CH

Connector Part Information

  • OEM: 12047781
  • Service: See Catalog
  • Description: Connector 3-Way F Metri-Pack 150 Series (BK)

Terminal Part Information

  • Terminal/Tray: See Terminal Repair Kit
  • Core/Insulation Crimp: See Terminal Repair Kit
  • Release Tool/Test Probe: See Terminal Repair Kit

Automatic Transmission Input Shaft Speed Sensor (AT ISS)

Pin

Wire

Circuit

Function

A

0.35 BK

1230

AT ISS High Signal

B

--

--

Not Used

C

0.35 D-GN

1231

AT ISS Low Signal

Automatic Transmission Shift Indicator Lamp


Object Number: 810080  Size: CH

Connector Part Information

  • OEM: 12162083
  • Service: See Catalog
  • Description: 2-Way F Lamp Socket Bulb Base Type W-2 Axial (BK)

Terminal Part Information

  • Terminal/Tray: See Terminal Repair Kit
  • Core/Insulation Crimp: See Terminal Repair Kit
  • Release Tool/Test Probe: See Terminal Repair Kit

Automatic Transmission Shift Indicator Lamp

Pin

Wire

Circuit

Function

A

0.35 RD

--

Instrument Panel Lamp Supply Voltage

B

0.35 RD

--

Ground

Auxiliary Power Outlet - Console (AQ9)


Object Number: 362748  Size: CH

Connector Part Information

  • OEM: 12176836
  • Service: 15305923
  • Description: 3-Way F Metri-Pack 280 Series (GY)

Terminal Part Information

  • Terminal/Tray: 12110844/4
  • Core/Insulation Crimp: C/A
  • Release Tool/Test Probe: 15315247/J-35616-4A (PU)

Auxiliary Power Outlet - Console (AQ9)

Pin

Wire

Circuit

Function

A

0.8 RD/WH

1740

Battery Positive Voltage

B

--

--

Not Used

C

0.8 BK

450

Ground

Auxiliary Power Outlet - Front Seat


Object Number: 362748  Size: CH

Connector Part Information

  • OEM: 12176836
  • Service: 15305923
  • Description: 3-Way F Metri-Pack 280 Series (GY)

Terminal Part Information

  • Terminal/Tray: 12110844/4
  • Core/Insulation Crimp: C/A
  • Release Tool/Test Probe: 15315247/J-35616-4A (PU)

Auxiliary Power Outlet - Front Seat

Pin

Wire

Circuit

Function

A

0.8 PK/D-GN

2740

Battery Positive Voltage

B

--

--

Not Used

C

0.8 BK

350

Ground

Auxiliary Power Outlet - Left Rear


Object Number: 362748  Size: CH

Connector Part Information

  • OEM: 12176836
  • Service: 15305923
  • Description: 3-Way F Metri-Pack 280 Series (GY)

Terminal Part Information

  • Terminal/Tray: 12110844/4
  • Core/Insulation Crimp: C/A
  • Release Tool/Test Probe: 15315247/J-35616-4A (PU)

Auxiliary Power Outlet - Left Rear

Pin

Wire

Circuit

Function

A

0.8 PK/D-GN

2740

Battery Positive Voltage

B

--

--

Not Used

C

0.8 BK

750

Ground

Auxiliary Power Outlet - Right Rear


Object Number: 362748  Size: CH

Connector Part Information

  • OEM: 12176836
  • Service: 15305923
  • Description: 3-Way F Metri-Pack 280 Series (GY)

Terminal Part Information

  • Terminal/Tray: 12110844/4
  • Core/Insulation Crimp: C/A
  • Release Tool/Test Probe: 15315247/J-35616-4A (PU)

Auxiliary Power Outlet - Right Rear

Pin

Wire

Circuit

Function

A

0.8 PK/D-GN

2740

Battery Positive Voltage

B

--

--

Not Used

C

0.8 BK

750

Ground

Battery (-)

Terminal Part Information

  • Terminal: R61014-002
  • Core/Insulation Crimp: N/A
  • Description: Battery Terminal

Battery (-)

Pin

Wire

Circuit

Function

-

5 BK

50

Ground

32 BK

50

Ground

Battery (+)

Terminal Part Information

  • Terminal: R3311-033
  • Core/Insulation Crimp: N/A
  • Description: Battery Terminal

Battery (+)

Pin

Wire

Circuit

Function

+

50 RD

1

Battery Positive Voltage

5 RD

1

Battery Positive Voltage

Battery Current Sensor


Object Number: 646415  Size: CH

Connector Part Information

  • OEM: 15326808
  • Service: See Catalog
  • Description: 3-Way F GT 150 Series Sealed 4.5 (BK)

Terminal Part Information

  • Terminal/Tray: 12191819/8
  • Core/Insulation Crimp: E/A
  • Release Tool/Test Probe: 15315247/J-35616-2A (GY)

Battery Current Sensor

Pin

Wire

Circuit

Function

A

0.35 PK/D-BU

5076

Current Sensor Supply Voltage

B

0.35 BN/OG

5077

Current Sensor Low Reference

C

0.35 PU/WH

5075

Current Sensor Signal

Blower Motor


Object Number: 1664494  Size: CH

Connector Part Information

  • OEM: 6098-1315
  • Service: See Catalog
  • Description: 2-Way F (BK)

Terminal Part Information

  • Terminal/Tray: See Terminal Repair Kit
  • Core/Insulation Crimp: See Terminal Repair Kit
  • Release Tool/Test Probe: See Terminal Repair Kit

Blower Motor

Pin

Wire

Circuit

Function

1

5 PU

65

Blower Motor Supply Voltage (CJ2)

5 RD/BK

442

Battery Positive Voltage (CJ4)

2

5 BK/RD

5987

Front Blower Motor Low Reference

Blower Motor - Auxiliary (CJ4)


Object Number: 820083  Size: CH

Connector Part Information

  • OEM: 7283-7433
  • Service: See Catalog
  • Description: 3-Way F Metri-Pack 280 Series (WH)

Terminal Part Information

  • Terminal/Tray: See Terminal Repair Kit
  • Core/Insulation Crimp: See Terminal Repair Kit
  • Release Tool/Test Probe: See Terminal Repair Kit

Blower Motor - Auxiliary (CJ4)

Pin

Wire

Circuit

Function

1

0.35 BN

341

Ignition 3 Voltage

2

0.35 BK

450

Ground

3

0.35 OG/RD

5988

Low Reference

Blower Motor Control Module - Auxiliary (CJ4)


Object Number: 1664492  Size: CH

Connector Part Information

  • OEM: 6070-4612
  • Service: See Catalog
  • Description: 4-Way F (BK)

Terminal Part Information

  • Terminal/Tray: See Terminal Repair Kit
  • Core/Insulation Crimp: See Terminal Repair Kit
  • Release Tool/Test Probe: See Terminal Repair Kit

Blower Motor Control Module - Auxiliary (CJ4)

Pin

Wire

Circuit

Function

1

0.35 D-GN

2211

Rear Blower Motor Speed Control

2

0.35 BK

450

Ground

3

0.35 OG

761

Blower Speed Feed Back Signal

4

0.35 OG/RD

5988

Low Reference

Blower Motor Control Module (CJ4)


Object Number: 1331457  Size: CH

Connector Part Information

  • OEM: 6098-1449
  • Service: 88988396
  • Description: 4-Way F (BK)

Terminal Part Information

  • Terminal/Tray: See Terminal Repair Kit
  • Core/Insulation Crimp: See Terminal Repair Kit
  • Release Tool/Test Probe: See Terminal Repair Kit

Blower Motor Control Module (CJ4)

Pin

Wire

Circuit

Function

1

5 BK

450

Ground

2

0.35 GY/GN

754

Blower Motor Speed Control

3

5 RD/BK

442

Battery Positive Voltage

4

5 BK/RD

5987

Front Blower Motor Low Reference

Blower Motor Control Module X1 (CJ2)


Object Number: 1522871  Size: CH

Connector Part Information

  • OEM: 15226103
  • Service: See Catalog
  • Description: 2-Way F (BK)

Terminal Part Information

  • Terminal/Tray: See Terminal Repair Kit
  • Core/Insulation Crimp: See Terminal Repair Kit
  • Release Tool/Test Probe: See Terminal Repair Kit

Blower Motor Control Module X1 (CJ2)

Pin

Wire

Circuit

Function

1

5 PU

65

Blower Motor Supply Voltage

2

5 BK/RD

5987

Front Blower Motor Low Reference

Blower Motor Control Module X2 (CJ2)


Object Number: 1798802  Size: CH

Connector Part Information

  • OEM: 7283-9749-30
  • Service: 15226104
  • Description: 6-Way F (BK)

Terminal Part Information

  • Terminal/Tray: See Terminal Repair Kit
  • Core/Insulation Crimp: See Terminal Repair Kit
  • Release Tool/Test Probe: See Terminal Repair Kit

Blower Motor Control Module X2 (CJ2)

Pin

Wire

Circuit

Function

1-2

--

--

Not Used

3

0.5 GY/GN

754

Blower Motor Speed Control

4

--

--

Not Used

5

5 BK

450

Ground

6

5 PK/OG

2540

Battery Positive Voltage

Body Control Module (BCM) X1


Object Number: 1664495  Size: CH

Connector Part Information

  • OEM: HITPB-27-A-LM
  • Service: 88988838
  • Description: 27-Way F (GN)

Terminal Part Information

  • Pins: 2-9, 14-19, 21, 24-26
  • Terminal/Tray: SNAC3-A021T-M0.64/20
  • Core/Insulation Crimp: J/J
  • Release Tool/Test Probe: 12094429/J-35616-64B (L-BU)
  • Pins: 23
  • Terminal/Tray: See Terminal Repair Kit
  • Core/Insulation Crimp: See Terminal Repair Kit
  • Release Tool/Test Probe: See Terminal Repair Kit

Body Control Module (BCM) X1

Pin

Wire

Circuit

Function

1

--

--

Not Used

2

0.35 WH

1390

Off/Run/Crank Voltage

3

0.35 GY/PK

1884

Cruise Control Set/Coast/Resume/Accel Switch Signal

4

0.35 WH/BK

1073

5-Volt Reference

5

0.35 L-GN

1715

Windshield Wiper Switch High Signal

6

0.35 D-BU

1796

Steering Column Radio Control Signal

7

0.35 GY

397

Cruise Control On Switch Signal

8

0.35 BK/WH

1251

Ground

9

0.35 L-BU

1714

Windshield Wiper Switch Low Signal

10-13

--

--

Not Used

14

0.35 PK

3

Ignition 1 Voltage

15

0.35 L-BU/WH

1414

Left Turn Signal Switch Signal

16

0.35 D-BU/WH

1415

Right Turn Signal Switch Signal

17

0.35 PU

1375

Remote Radio Control ACC Supply Voltage

18

0.35 PU/L-GN

524

Headlamp Switch High Beam Signal

19

0.35 TN

2144

Hazard Switch Signal

20

--

--

Not Used

21

0.35 BN

4

Accessory Voltage

22

--

--

Not Used

23

0.5 TN/GY

1355

Valet Mode Switch Signal

24

0.35 PK

94

Windshield Washer Switch Signal

25

0.35 YE

307

Flash to Pass Switch Signal

26

0.35 PU/WH

816

A/T Shift Lock Solenoid Supply Voltage (AV8)

27

--

--

Not Used

Body Control Module (BCM) X2


Object Number: 1664496  Size: CH

Connector Part Information

  • OEM: HITPB-25-B-S
  • Service: 88988839
  • Description: 25-Way F (WH)

Terminal Part Information

  • Pins: 1-3
  • Terminal/Tray: SNAC-A061T-M2.8/20
  • Core/Insulation Crimp: E/A
  • Release Tool/Test Probe: 12094429/J-35616-4A (PU)
  • Pins: 8, 10-12, 17, 18, 21, 22
  • Terminal/Tray: SNAC3-A021T-M0.64/20
  • Core/Insulation Crimp: J/J
  • Release Tool/Test Probe: 12094429/J-35616-64B (L-BU)

Body Control Module (BCM) X2

Pin

Wire

Circuit

Function

1

0.8 OG

1732

12-Volt Reference

2

0.8 PK/D-BU

3140

Battery Positive Voltage

3

0.8 GY

8

Instrument Panel Lamp Supply Voltage

4

--

--

Not Used

5

0.8 GY/BK

690

Courtesy Lamp Control (C97)

6-7

--

--

Not Used

8

0.35 L-BU

13

Park Lamp Switch ON Signal

9

--

--

Not Used

10

0.35 L-BU

383

Trunk Release Control

11

0.35 L-GN/BK

1137

Ambient Light Sensor Signal

12

0.35 WH

103

Headlamp Switch Off Signal

13-16

--

--

Not Used

17

0.35 D-GN

306

Park Lamp Switch ON Signal

18

0.35 PK/BK

1597

Courtesy Lamp Switch On Signal

19-20

--

--

Not Used

21

0.35 BN/WH

1571

Traction Control Switch Signal

22

0.35 PU

6027

Brake Transmission Shift Interlock Solenoid Control

23-25

--

--

Not Used

Body Control Module (BCM) X3


Object Number: 1664498  Size: CH

Connector Part Information

  • OEM: HITPB-25-C-LE
  • Service: 88988840
  • Description: 25-Way F (BU)

Terminal Part Information

  • Pins: 1-3, 5
  • Terminal/Tray: SNAC-A061T-M2.8/20
  • Core/Insulation Crimp: E/A
  • Release Tool/Test Probe: 12094429/J-35616-4A (PU)
  • Pins: 8-19, 21, 22, 25
  • Terminal/Tray: SNAC3-A021T-M0.64/20
  • Core/Insulation Crimp: J/J
  • Release Tool/Test Probe: 12094429/J-35616-64B (L-BU)

Body Control Module (BCM) X3

Pin

Wire

Circuit

Function

1

0.8 BK

450

Ground

2

0.8 D-GN/PU

1940

Battery Positive Voltage

3

0.8 PK/GY

3040

Battery Positive Voltage

4

--

--

Not Used

5

0.8 BK

450

Ground

6-7

--

--

Not Used

8

0.35 TN/BK

2500

High Speed GMLAN Serial Data Bus +

9

0.35 TN

2501

High Speed GMLAN Serial Data Bus -

10

0.35 D-GN

5060

Low Speed GMLAN Serial Data

11

0.35 PK

1444

I/P Dimming Signal

12

0.35 OG/WH

812

12-Volt Reference

13

0.35 L-BU/YE

5361

Brake Apply Sensor Signal

14

0.35 L-BU/BK

853

Brake Apply Sensor Supply Voltage

15

0.35 GY

5381

Brake Apply Sensor Low Reference

16

0.35 TN/BK

2500

High Speed GMLAN Serial Data Bus +

17

0.35 TN

2501

High Speed GMLAN Serial Data Bus -

18

0.35 YE

1491

Backlight Lamp Control

19

0.35 OG/YE

5727

High Speed GMLAN Serial Data Wake Up

20

--

--

Not Used

21

0.35 OG

192

Front Fog Lamp Switch Signal

22

0.35 D-GN/WH

7158

Cruise Control Indicator Dimming Signal

23-24

--

--

Not Used

25

0.35 PU/WH

1382

LED Dimming Signal

Body Control Module (BCM) X4


Object Number: 1664499  Size: CH

Connector Part Information

  • OEM: HITPB-25-D-K
  • Service: 88988841
  • Description: 25-Way F (BK)

Terminal Part Information

  • Pins: 1-5
  • Terminal/Tray: SNAC-A061T-M2.8/20
  • Core/Insulation Crimp: E/A
  • Release Tool/Test Probe: 12094429/J-35616-4A (PU)
  • Pins: 7, 9-11, 14-21, 24, 25
  • Terminal/Tray: SNAC3-A021T-M0.64/20
  • Core/Insulation Crimp: J/J
  • Release Tool/Test Probe: 12094429/J-35616-64B (L-BU)

Body Control Module (BCM) X4

Pin

Wire

Circuit

Function

1

0.8 RD/YE

340

Battery Positive Voltage

2

0.8 TN/PK

5040

Battery Positive Voltage

3

0.8 RD/GN

440

Battery Positive Voltage

4

0.8 YE/VT

1240

Battery Positive Voltage

5

0.8 D-BU/WH

1315

Right Front Turn Signal Lamp Supply Voltage

6

--

--

Not Used

7

1 YE

196

Windshield Wiper Motor Park Switch Signal

8

--

--

Not Used

9

0.35 BK

50

Ground

10

0.35 TN/OG

3640

Battery Positive Voltage

11

0.35 D-GN/WH

1317

Fog Lamp Relay Control

12-13

--

--

Not Used

14

0.35 L-GN

482

Outside Moisture Sensor Signal 2 (CE1)

15

0.35 OG/GY

227

Windshield Washer Relay Control

16

0.35 TN/WH

1969

Headlamp High Beam Relay Control

17

0.35 PK/BK

109

Hood Ajar Switch Signal

18

0.35 TN/YE

481

Outside Moisture Sensor Signal 1 (CE1)

19

0.35 D-BU/WH

5985

Accessory Wake up Serial Data

20

0.35 D-BU

6561

Right Cornering Lamp Relay Control

21

0.35 PK

1439

Run/Crank Ignition 1 Voltage

22-23

--

--

Not Used

24

0.35 BN

6560

Left Cornering Lamp Relay Control

25

0.35 WH

1080

Park Lamp Relay Control

Body Control Module (BCM) X5


Object Number: 1664500  Size: CH

Connector Part Information

  • OEM: HITPB-25-E-N
  • Service: 88988837
  • Description: 25-Way F (BN)

Terminal Part Information

  • Pins: 1, 2, 4, 5
  • Terminal/Tray: SNAC-A061T-M2.8/20
  • Core/Insulation Crimp: E/A
  • Release Tool/Test Probe: 12094429/J-35616-4A (PU)
  • Pins: 5
  • Terminal/Tray: See Terminal Repair Kit
  • Core/Insulation Crimp: See Terminal Repair Kit
  • Release Tool/Test Probe: See Terminal Repair Kit
  • Pins: 6, 8-11, 13, 15-21, 23, 24
  • Terminal/Tray: SNAC3-A021T-M0.64/20
  • Core/Insulation Crimp: J/J
  • Release Tool/Test Probe: 12094429/J-35616-64B (L-BU)

Body Control Module (BCM) X5

Pin

Wire

Circuit

Function

1

0.8 YE

18

Left Rear Stop/Turn Lamp Supply Voltage

2

0.8 D-GN

19

Right Rear Stop/Turn Lamp Supply Voltage

3

--

--

Not Used

4

0.8 L-BU/WH

1314

Left Front Turn Signal Lamp Supply Voltage

5

0.8 L-BU

1320

Stop Lamp Relay Coil Supply Voltage (without EXP)

0.8 YE/WH

5065

Stop Lamp Relay Coil Supply Voltage (EXP)

6

0.5 WH

17

Stop Lamp Switch Signal

7

--

--

Not Used

8

0.35 PK

5076

Current Sensor Supply Voltage

9

0.35 PU/WH

5075

Current Sensor Signal

10

0.35 BN

5077

Current Sensor Low Reference

11

0.35 BK/TN

707

RAP Relay Coil Supply Voltage

12

--

--

Not Used

13

0.35 L-GN

5486

Run Relay Coil Control

14

--

--

Not Used

15

0.35 PU/OG

5531

Hood Closed Switch Signal

16

0.5 L-BU/WH

1134

Park Brake Switch Signal

17

0.5 YE/WH

5356

Left Tail Lamp Outage Detection Signal

18

0.35 TN

28

Horn Relay Control

19

0.35 YE

5810

Park Enable Signal

20

0.35 GY

91

Wiper Relay Control

21

0.35 TN

860

Wiper High Speed Relay Control

22

--

--

Not Used

23

0.35 PK/WH

1970

Headlamp Low Beam Relay Control

24

0.35 D-BU

45

Park Lamp Relay Control

25

--

--

Not Used

Body Control Module (BCM) X6


Object Number: 1664502  Size: CH

Connector Part Information

  • OEM: HITPB-25-F-PK
  • Service: 88988842
  • Description: 25-Way F (PK)

Terminal Part Information

  • Pins: 1-3
  • Terminal/Tray: SNAC-A061T-M2.8/20
  • Core/Insulation Crimp: E/A
  • Release Tool/Test Probe: 12094429/J-35616-4A (PU)
  • Pins: 8, 12, 14-16, 21, 22
  • Terminal/Tray: SNAC3-A021T-M0.64/20
  • Core/Insulation Crimp: J/J
  • Release Tool/Test Probe: 12094429/J-35616-64B (L-BU)

Body Control Module (BCM) X6

Pin

Wire

Circuit

Function

1

0.8 GY/BK

690

Courtesy Lamp Control

2

0.8 L-GN

24

Backup Lamp Supply Voltage

3

0.8 GY

8

Instrument Panel Lamp Supply Voltage

4-7

--

--

Not Used

8

0.35 L-GN/BK

5926

Rear Access Open Switch Signal

9-11

--

--

Not Used

12

0.35 OG/GY

744

Trunk Ajar Switch Signal

13

--

--

Not Used

14

0.35 L-GN/BK

748

Right Rear Door Ajar Switch Signal

15

0.35 BK

747

Left Rear Door Ajar Switch Signal

16

0.35 D-BU/WH

1179

Left Rear Door Open Switch Signal

17-20

--

--

Not Used

21

0.35 YE

1491

Backlight Lamp Control

22

0.5 PU

5357

Right Tail Lamp Outage Detection Signal

23-25

--

--

Not Used

Body Control Module (BCM) X7


Object Number: 1664505  Size: CH

Connector Part Information

  • OEM: HITPB-28-G-H
  • Service: 88988806
  • Description: 28-Way F (GY)

Terminal Part Information

  • Pins: 2
  • Terminal/Tray: See Terminal Repair Kit
  • Core/Insulation Crimp: See Terminal Repair Kit
  • Release Tool/Test Probe: See Terminal Repair Kit
  • Pins: 7, 9, 22, 25, 28
  • Terminal/Tray: SNAC3-A021T-M0.64/20
  • Core/Insulation Crimp: J/J
  • Release Tool/Test Probe: 12094429/J-35616-64B (L-BU)

Body Control Module (BCM) X7

Pin

Wire

Circuit

Function

1

--

--

Not Used

2

0.35 TN/WH

56

Trunk Release Relay Control

3-6

--

--

Not Used

7

0.35 D-BU/BK

6692

Door Lock Motor Lock Control

8

--

--

Not Used

9

0.35 L-BU/WH

6693

Door Lock Motor Unlock Control

10-21

--

--

Not Used

22

0.35 D-GN

5060

Low Speed GMLAN Serial Data

23-24

--

--

Not Used

25

0.35 PU/WH

1382

LED Dimming Signal

26-27

--

--

Not Used

28

0.35 D-BU

1393

Courtesy Lamp Relay Coil Control

Brake Fluid Level Switch


Object Number: 1401776  Size: CH

Connector Part Information

  • OEM: 15336024
  • Service: 88987993
  • Description: 2-Way F GT 150 Sealed (BK)

Terminal Part Information

  • Terminal/Tray: See Terminal Repair Kit
  • Core/Insulation Crimp: See Terminal Repair Kit
  • Release Tool/Test Probe: See Terminal Repair Kit

Brake Fluid Level Switch

Pin

Wire

Circuit

Function

A

0.5 TN/WH

33

Brake Fluid Level Sensor Signal

B

0.5 BK

350

Ground

Brake Pedal Position Sensor


Object Number: 1243663  Size: CH

Connector Part Information

  • OEM: 15332132
  • Service: 88953364
  • Description: 3-Way F GT 150 Series (BK)

Terminal Part Information

  • Terminal/Tray: 12191812/19
  • Core/Insulation Crimp: E/C
  • Release Tool/Test Probe: 15315247/J-35616-2A (GY)

Brake Pedal Position Sensor

Pin

Wire

Circuit

Function

A

0.35 GY

5381

Brake Apply Sensor Supply Voltage

B

0.35 L-BU/YE

5361

Brake Apply Sensor Signal

C

0.35 L-BU/BK

853

Low Reference

Camshaft Position (CMP) Sensor


Object Number: 646415  Size: CH

Connector Part Information

  • OEM: 15326808
  • Service: See Catalog
  • Description: 3-Way F GT 150 Series Sealed 4.5 (BK)

Terminal Part Information

  • Terminal/Tray: See Terminal Repair Kit
  • Core/Insulation Crimp: See Terminal Repair Kit
  • Release Tool/Test Probe: See Terminal Repair Kit

Camshaft Position (CMP) Sensor

Pin

Wire

Circuit

Function

A

0.5 BU

6259

CMP Sensor 5-Volt Reference

B

0.5 BN

6266

Low Reference

C

0.5 BU/WH

6265

CMP Sensor Signal

Cellular Microphone (UE1, U3Q, U3R, U3U)


Object Number: 35441  Size: CH

Connector Part Information

  • OEM: 12047663
  • Service: 12085481
  • Description: 2-Way M Metri-Pack 150 Series (BK)

Terminal Part Information

  • Terminal/Tray: 12047581/2
  • Core/Insulation Crimp: E/C
  • Release Tool/Test Probe: 12094429/J-35616-3 (GY)

Cellular Microphone (UE1, U3Q, U3R, U3U)

Pin

Wire

Circuit

Function

A

0.5 BK

1489

Drain Wire

B

0.35 GY/WH

655

Cellular Microphone Low Reference

Center High Mounted Stop Lamp (CHMSL)


Object Number: 82383  Size: CH

Connector Part Information

  • OEM: 12047662
  • Service: 12085535
  • Description: 2-Way F Metri-Pack 150 Series (BK)

Terminal Part Information

  • Terminal/Tray: 12064971/5
  • Core/Insulation Crimp: E/C
  • Release Tool/Test Probe: 12094429/J-35616-2A (GY)

Center High Mounted Stop Lamp (CHMSL)

Pin

Wire

Circuit

Function

A

0.5 L-BU

1320

CHMSL Supply Voltage (without EXP)

0.5 YE/WH

5065

Stop Lamp Relay Coil Supply Voltage (EXP)

B

0.5 BK

850

Ground

Cigar Lighter (AV8/AQ9 with DT4)/Auxiliary Power Outlet (AV8/AQ9 without DT4)


Object Number: 362748  Size: CH

Connector Part Information

  • OEM: 12176836
  • Service: 15305923
  • Description: 3-Way F Metri-Pack 280 Series (GY)

Terminal Part Information

  • Terminal/Tray: 12110844/4
  • Core/Insulation Crimp: C/A
  • Release Tool/Test Probe: 15315247/J-35616-4A (PU)

Cigar Lighter (AV8/AQ9 with DT4)/Auxiliary Power Outlet (AV8/AQ9 without DT4)

Pin

Wire

Circuit

Function

A

0.8 RD/WH

1740

Battery Positive Voltage

B

--

--

Not Used

C

0.5 BK

350

Ground (AV8)

0.5 BK

450

Ground (AQ9)

Climate Control Seat Module - Front Passenger X1 (KB6)


Object Number: 476149  Size: CH

Connector Part Information

  • OEM: 15326110
  • Service: 15306171
  • Description: 12-Way F 280 GT Series (BK)

Terminal Part Information

  • Pins: A-D, G-K
  • Terminal/Tray: 15304711/8
  • Core/Insulation Crimp: 2/A
  • Release Tool/Test Probe: 15315247/J-35616-4A (PU)
  • Pins: E, M
  • Terminal/Tray: 15304713/19
  • Core/Insulation Crimp: F/D
  • Release Tool/Test Probe: 15315247/J-35616-4A (PU)

Climate Control Seat Module - Front Passenger X1 (KB6)

Pin

Wire

Circuit

Function

A

1 L-GN/WH

6227

Passenger Seat Cushion Heated/Cool Ventilation Module Heat Control

B

1 L-GN/OG

6228

Passenger Seat Cushion Heated/Cool Ventilation Module Cool Control

C

1 L-BU

6225

Passenger Seat Back Heated/Cool Ventilation Module Heat Control

D

1 TN/OG

6226

Passenger Seat Back Heated/Cool Ventilation Module Cool Control

E

3 YE/GY

1440

Battery Positive Voltage

F

--

--

Not Used

G

1 PK

7022

Driver Seat Cushion Heated/Cooled Ventilation Module Heat Control

H

1 L-GN

6216

Driver Seat Cushion Heated/Cool Ventilation Module Cool Control

J

1 PU

7023

Driver Seat Back Heated/Cool Ventilation Module Heat Control

K

1 TN/PU

7024

Driver Seat Back Heated/Cool Ventilation Module Cool Control

L

--

--

Not Used

M

3 BK

450

Ground

Climate Control Seat Module - Front Passenger X2 (KB6)


Object Number: 1455858  Size: CH

Connector Part Information

  • OEM: 15431080
  • Service: 88988292
  • Description: 10-Way F Micro-Pack 64 Series (BK)

Terminal Part Information

  • Terminal/Tray: 15359541/4
  • Core/Insulation Crimp: M/M
  • Release Tool/Test Probe: 15381651-2/J-35616-64B (L-BU)

Climate Control Seat Module - Front Passenger X2 (KB6)

Pin

Wire

Circuit

Function

1

0.35 BN

741

Run Ignition 3 Voltage

2

0.35 GY

2434

Passenger Seat Cushion Temperature Sensor Signal

3

0.35 PK

2435

Passenger Seat Cushion Temperature Low Reference

4

0.35 TN

2436

Passenger Seat Back Temperature Sensor Signal

5

0.35 TN/GY

2482

Passenger Seat Back Temperature Low Reference

6

--

--

Not Used

7

0.35 OG/PK

7018

Driver Seat Cushion Temperature Sensor Signal

8

0.35 OG/WH

7019

Driver Seat Cushion Temperature Sensor Low Reference

9

0.35 YE/BN

7020

Driver Seat Back Temperature Sensor Signal

10

0.35 YE/WH

7021

Driver Seat Back Temperature Sensor Low Reference

Climate Control Seat Module - Front Passenger X3 (KB6)


Object Number: 850856  Size: CH

Connector Part Information

  • OEM: 15394150
  • Service: See Catalog
  • Description: 16-Way F (BK)

Terminal Part Information

  • Terminal/Tray: 15359541/4
  • Core/Insulation Crimp: M/M
  • Release Tool/Test Probe: 15381651-2/J-35616-64B (L-BU)

Climate Control Seat Module - Front Passenger X3 (KB6)

Pin

Wire

Circuit

Function

1-2

--

--

Not Used

3

0.35 PU

6229

Passenger Seat Cushion Blower Speed Control

4

0.35 BN

6223

Passenger Seat Back Blower Speed Control

5

--

--

Not Used

6

0.35 TN/L-BU

5961

Right Heated/Cooled Seat Mode Signal

7

0.5 TN/PK

6446

Passenger Seat Blower Low Reference

8

0.5 D-BU/WH

6222

Passenger Seat Blower Supply Voltage

9

0.35 WH/BK

5043

Keyword 2000 Serial Data

10

--

--

Not Used

11

0.35 BK/TN

6218

Driver Seat Cushion Blower Speed Control

12

0.35 GY/PU

6211

Driver Seat Back Blower Speed Control

13

--

--

Not Used

14

0.35 L-GN/BK

181

Left Heated/Cooled Seat Mode Signal

15

0.5 D-GN

6238

Driver Seat Blower Low Reference

16

0.5 D-BU

6143

Driver Seat Blower Supply Voltage

Clock


Object Number: 1664516  Size: CH

Connector Part Information

  • OEM: 174921-1
  • Service: 88953272
  • Description: 3-Way F (WH)

Terminal Part Information

  • Terminal/Tray: 173630-7/7
  • Core/Insulation Crimp: E/4
  • Release Tool/Test Probe: 15315247/J-35616-33 (YE)

Clock

Pin

Wire

Circuit

Function

1

0.35 OG/PK

1840

Battery Positive Voltage

2

0.35 BK

450

Ground

3

0.35 YE

1491

Backlight Lamp Control

Column Shifter Shift Lock Control Solenoid (AV8)


Object Number: 280768  Size: CH

Connector Part Information

  • OEM: 12052832
  • Service: 12101825
  • Description: 2-Way F Metri-Pack 150 Series (BK)

Terminal Part Information

  • Terminal/Tray: See Terminal Repair Kit
  • Core/Insulation Crimp: See Terminal Repair Kit
  • Release Tool/Test Probe: See Terminal Repair Kit

Column Shifter Shift Lock Control Solenoid (AV8)

Pin

Wire

Circuit

Function

A

0.35 PU

6027

A/T Shift Lock Solenoid Supply Voltage

B

0.35 BK

350

Ground

Cooling Fan - Left


Object Number: 811182  Size: CH

Connector Part Information

  • OEM: 7283-5596-10
  • Service: 88953307
  • Description: 2-Way F 6.3 (GY)

Terminal Part Information

  • Terminal/Tray: 7116-4142-02/10
  • Core/Insulation Crimp: A/3
  • Release Tool/Test Probe: 12094430/J-35616-42, Sealed (RD)

Cooling Fan - Left

Pin

Wire

Circuit

Function

1

3 WH

504

Cooling Fan Low Reference

2

3 GY

532

Cooling Fan Motor Supply Voltage

Cooling Fan - Right


Object Number: 811182  Size: CH

Connector Part Information

  • OEM: 7283-5596-10
  • Service: 88953307
  • Description: 2-Way F 6.3, Sealed (GY)

Terminal Part Information

  • Terminal/Tray: 7116-4142-02/10
  • Core/Insulation Crimp: A/3
  • Release Tool/Test Probe: 12094430/J-35616-42 (RD)

Cooling Fan - Right

Pin

Wire

Circuit

Function

1

3 L-BU

409

Cooling Fan Motor Supply Voltage

2

3 BK

250

Ground

Cornering Lamp - Left


Object Number: 1694736  Size: CH

Connector Part Information

  • OEM: 101350C
  • Service: See Catalog
  • Description: 3-Way F CIC W3 Socket Sealed (L-GY)

Terminal Part Information

  • Terminal: Not Serviced in Kit
  • Core/Insulation Crimp: N/A
  • Release Tool/Test Probe: N/A

Cornering Lamp - Left

Pin

Wire

Circuit

Function

A

0.5 L-BU

57

Cornering Lamps Supply Voltage

B

--

--

Not Used

C

0.5 BK

250

Ground

0.5 BK

250

Ground

Cornering Lamp - Right


Object Number: 1694736  Size: CH

Connector Part Information

  • OEM: 101350C
  • Service: See Catalog
  • Description: 3-Way F CIC W3 Socket Sealed (L-GY)

Terminal Part Information

  • Terminal: Not Serviced in Kit
  • Core/Insulation Crimp: N/A
  • Release Tool/Test Probe: N/A

Cornering Lamp - Right

Pin

Wire

Circuit

Function

A

0.5 L-BU

58

Cornering Lamps Supply Voltage

B

--

--

Not Used

C

0.5 BK

250

Ground

0.5 BK

250

Ground

Courtesy Lamp - Front (V4U)


Object Number: 333035  Size: CH

Connector Part Information

  • OEM: 12047781
  • Service: 12101864
  • Description: 3-Way F Metri-Pack 150 Series (BK)

Terminal Part Information

  • Pins: A
  • Terminal/Tray: See Terminal Repair Kit
  • Core/Insulation Crimp: See Terminal Repair Kit
  • Release Tool/Test Probe: See Terminal Repair Kit
  • Pins: B, C
  • Terminal/Tray: 12064971/5
  • Core/Insulation Crimp: E/C
  • Release Tool/Test Probe: 12094429/J-35616-2A (GY)

Courtesy Lamp - Front (V4U)

Pin

Wire

Circuit

Function

A

0.5 BK

850

Ground

B

0.5 GY/BK

690

Courtesy Lamp Control

C

0.5 OG

1732

12-Volt Reference

Courtesy Lamp - Left Front (V4U)


Object Number: 333035  Size: CH

Connector Part Information

  • OEM: 12047781
  • Service: 12101864
  • Description: 3-Way F Metri-Pack 150 Series (BK)

Terminal Part Information

  • Terminal/Tray: 12064971/5
  • Core/Insulation Crimp: E/C
  • Release Tool/Test Probe: 12094429/J-35616-2A (GY)

Courtesy Lamp - Left Front (V4U)

Pin

Wire

Circuit

Function

A

0.35 L-BU

941

12-Volt Reference

B

0.35 BK/WH

943

Signal Ground

C

0.35 D-GN

942

Courtesy Lamp Relay Control

Courtesy Lamp - Left Front Door


Object Number: 82383  Size: CH

Connector Part Information

  • OEM: 12047662
  • Service: 12085535
  • Description: 2-Way F Metri-Pack 150 Series (BK)

Terminal Part Information

  • Terminal/Tray: 12064971/5
  • Core/Insulation Crimp: E/C
  • Release Tool/Test Probe: 12094429/J-35616-2A (GY)

Courtesy Lamp - Left Front Door

Pin

Wire

Circuit

Function

A

0.35 D-BU/GY

5116

Courtesy Lamps Supply Voltage

B

0.35 L-BU/RD

660

Courtesy Lamp Control

Courtesy Lamp - Left Middle Door (V4U)


Object Number: 82383  Size: CH

Connector Part Information

  • OEM: 12047662
  • Service: 12085535
  • Description: 2-Way F Metri-Pack 150 Series (BK)

Terminal Part Information

  • Terminal/Tray: 12064971/5
  • Core/Insulation Crimp: E/C
  • Release Tool/Test Probe: 12094429/J-35616-2A (GY)

Courtesy Lamp - Left Middle Door (V4U)

Pin

Wire

Circuit

Function

A

0.5 GY/BK

690

Courtesy Lamp Control

B

0.5 BK

750

Ground

Courtesy Lamp - Left Rear (V4U)


Object Number: 365949  Size: CH

Connector Part Information

  • OEM: 12084388
  • Service: See Catalog
  • Description: 2-Way F Lamp Socket Connector, Bulb Bases, Type W2 (BK)

Terminal Part Information

  • Terminal/Tray: See Terminal Repair Kit
  • Core/Insulation Crimp: See Terminal Repair Kit
  • Release Tool/Test Probe: See Terminal Repair Kit

Courtesy Lamp - Left Rear (V4U)

Pin

Wire

Circuit

Function

A

0.5 GY/BK

690

Courtesy Lamp Low Control

B

0.5 BK

450

Ground

Courtesy Lamp - Left Rear (without V4U)


Object Number: 333035  Size: CH

Connector Part Information

  • OEM: 12047781
  • Service: 12101864
  • Description: 3-Way F Metri-Pack 150 Series (BK)

Terminal Part Information

  • Terminal/Tray: 12064971/5
  • Core/Insulation Crimp: E/C
  • Release Tool/Test Probe: 12094429/J-35616-2A (GY)

Courtesy Lamp - Left Rear (without V4U)

Pin

Wire

Circuit

Function

A

0.35 PK

947

12-Volt Reference

B

0.35 BK

949

Signal Ground

C

0.35 YE

948

Courtesy Lamp Relay Control

Courtesy Lamp - Left Rear Door


Object Number: 82383  Size: CH

Connector Part Information

  • OEM: 12047662
  • Service: 12085535
  • Description: 2-Way F Metri-Pack 150 Series (BK)

Terminal Part Information

  • Terminal/Tray: 12064971/5
  • Core/Insulation Crimp: E/C
  • Release Tool/Test Probe: 12094429/J-35616-2A (GY)

Courtesy Lamp - Left Rear Door

Pin

Wire

Circuit

Function

A

0.5 GY/BK

690

Courtesy Lamp Control

B

0.5 BK

750

Ground

Courtesy Lamp - Right Front


Object Number: 333035  Size: CH

Connector Part Information

  • OEM: 12047781
  • Service: 12101864
  • Description: 3-Way F Metri-Pack 150 Series (BK)

Terminal Part Information

  • Terminal/Tray: 12064971/5
  • Core/Insulation Crimp: E/C
  • Release Tool/Test Probe: 12094429/J-35616-2A (GY)

Courtesy Lamp - Right Front

Pin

Wire

Circuit

Function

A

0.35 OG/WH

944

12-Volt Reference

B

0.35 PK

946

Signal Ground

C

0.35 PU

945

Courtesy Lamp Relay Control

Courtesy Lamp - Right Front Door


Object Number: 82383  Size: CH

Connector Part Information

  • OEM: 12047662
  • Service: 12085535
  • Description: 2-Way F Metri-Pack 150 Series (BK)

Terminal Part Information

  • Terminal/Tray: 12064971/5
  • Core/Insulation Crimp: E/C
  • Release Tool/Test Probe: 12094429/J-35616-2A (GY)

Courtesy Lamp - Right Front Door

Pin

Wire

Circuit

Function

A

0.35 D-BU

5117

Courtesy Lamps Supply Voltage

B

0.35 L-BU

661

Courtesy Lamp Control

Courtesy Lamp - Right Middle Door (V4U)


Object Number: 82383  Size: CH

Connector Part Information

  • OEM: 12047662
  • Service: 12085535
  • Description: 2-Way F Metri-Pack 150 Series (BK)

Terminal Part Information

  • Terminal/Tray: 12064971/5
  • Core/Insulation Crimp: E/C
  • Release Tool/Test Probe: 12094429/J-35616-2A (GY)

Courtesy Lamp - Right Middle Door (V4U)

Pin

Wire

Circuit

Function

A

0.5 GY/BK

690

Courtesy Lamp Control

B

0.5 BK

450

Ground

Courtesy Lamp - Right Rear (V4U)


Object Number: 365949  Size: CH

Connector Part Information

  • OEM: 12084388
  • Service: See Catalog
  • Description: 2-Way F Lamp Socket Connector, Bulb Bases, Type W2 (BK)

Terminal Part Information

  • Terminal/Tray: See Terminal Repair Kit
  • Core/Insulation Crimp: See Terminal Repair Kit
  • Release Tool/Test Probe: See Terminal Repair Kit

Courtesy Lamp - Right Rear (V4U)

Pin

Wire

Circuit

Function

A

0.5 GY/BK

690

Courtesy Lamp Control

B

0.5 BK

450

Ground

Courtesy Lamp - Right Rear (without V4U)


Object Number: 333035  Size: CH

Connector Part Information

  • OEM: 12047781
  • Service: 12101864
  • Description: 3-Way F Metri-Pack 150 Series (BK)

Terminal Part Information

  • Terminal/Tray: 12064971/5
  • Core/Insulation Crimp: E/C
  • Release Tool/Test Probe: 12094429/J-35616-2A (GY)

Courtesy Lamp - Right Rear (without V4U)

Pin

Wire

Circuit

Function

A

0.35 RD

950

12-Volt Reference

B

0.35 BK/GY

952

Signal Ground

C

0.35 RD/WH

951

Courtesy Lamp Relay Control

Courtesy Lamp - Right Rear Door


Object Number: 82383  Size: CH

Connector Part Information

  • OEM: 12047662
  • Service: 12085535
  • Description: 2-Way F Metri-Pack 150 Series (BK)

Terminal Part Information

  • Terminal/Tray: 12064971/5
  • Core/Insulation Crimp: E/C
  • Release Tool/Test Probe: 12094429/J-35616-2A (GY)

Courtesy Lamp - Right Rear Door

Pin

Wire

Circuit

Function

A

0.5 GY/BK

690

Courtesy Lamp Control

B

0.5 BK

450

Ground

Courtesy Lamp Module (without C97/V4U)


Object Number: 1982445  Size: CH

Connector Part Information

  • OEM: 50-57-9415
  • Service: See Catalog
  • Description: 15-Way F (BK)

Terminal Part Information

  • Terminal/Tray: 16-02-1110/20
  • Core/Insulation Crimp: H/H
  • Release Tool/Test Probe: J-38125-213/J-35616-64B (L-BU)

Courtesy Lamp Module (without C97/V4U)

Pin

Wire

Circuit

Function

1

0.35 RD/WH

951

Courtesy Lamp Relay Control

2

0.35 YE

948

Courtesy Lamp Relay Control

3

0.35 PU

945

Courtesy Lamp Relay Control

4

0.35 D-GN

942

Courtesy Lamp Relay Control

5

0.35 PK

946

Signal Ground

6

0.5 GY/BK

690

Courtesy Lamp Control

7

0.5 BK

850

Ground

8

0.5 OG

1732

12-Volt Reference

9

0.35 BK/WH

943

Signal Ground

10

0.35 BK/GY

952

Signal Ground

11

0.35 BK

949

Signal Ground

12

0.35 RD

950

12-Volt Reference

13

0.35 PK

947

12-Volt Reference

14

0.35 OG/WH

944

12-Volt Reference

15

0.35 L-BU

941

12-Volt Reference

Courtesy Lamp Module (C97)


Object Number: 1982445  Size: CH

Connector Part Information

  • OEM: 50-57-9415
  • Service: See Catalog
  • Description: 15-Way F (BK)

Terminal Part Information

  • Terminal/Tray: 16-02-1110/20
  • Core/Insulation Crimp: H/H
  • Release Tool/Test Probe: J-38125-213/J-35616-64B (L-BU)

Courtesy Lamp Module (C97)

Pin

Wire

Circuit

Function

1

0.35 D-GN

953

Backlight Lamp Signal

2

0.35 D-GN

953

Backlight Lamp Signal

3

0.35 D-GN

953

Backlight Lamp Signal

4

0.35 D-GN

953

Backlight Lamp Signal

5

--

--

Not Used

6

0.5 GY/BK

690

Courtesy Lamp Control

7

0.5 BK

850

Ground

8

0.35 YE

1491

12-Volt Reference

9-11

--

--

Not Used

12

0.35 D-GN

959

Backlight Lamp Signal

13

0.35 D-GN

959

Backlight Lamp Signal

14

0.35 D-GN

958

Backlight Lamp Signal

15

0.35 D-GN

957

Backlight Lamp Signal

Crankshaft Position (CKP) Sensor


Object Number: 646415  Size: CH

Connector Part Information

  • OEM: 15326808
  • Service: See Catalog
  • Description: 3-Way F GT 150 Series Sealed 4.5 (BK)

Terminal Part Information

  • Terminal/Tray: See Terminal Repair Kit
  • Core/Insulation Crimp: See Terminal Repair Kit
  • Release Tool/Test Probe: See Terminal Repair Kit

Crankshaft Position (CKP) Sensor

Pin

Wire

Circuit

Function

A

0.5 PU/WH

6270

CKP Sensor 5-Volt Reference

B

0.5 GY/BK

6272

Low Reference

C

0.5 WH/BK

6271

CKP Sensor Signal

Data Link Connector (DLC)


Object Number: 1243575  Size: CH

Connector Part Information

  • OEM: 348822-2
  • Service: 89046778
  • Description: 16-Way F AMP Diagnostic Connector (BK)

Terminal Part Information

  • Terminal/Tray: 776001-1/16
  • Core/Insulation Crimp: E/C
  • Release Tool/Test Probe: 15315247/J-35616-2A (GY)

Data Link Connector (DLC)

Pin

Wire

Circuit

Function

1

0.35 D-GN

5060

Low Speed GMLAN Serial Data

2-3

--

--

Not Used

4

0.5 BK

350

Ground

5

0.35 BK

350

Ground

6

0.35 TN/BK

2500

High Speed GMLAN Serial Data Bus +

7

0.35 WH/BK

5043

Keyword 2000 Serial Data

8-13

--

--

Not Used

14

0.35 TN

2501

High Speed GMLAN Serial Data Bus -

15

--

--

Not Used

16

0.5 OG/PK

1840

Battery Positive Voltage

Digital Radio Receiver (DRR) (U2K)


Object Number: 1664490  Size: CH

Connector Part Information

  • OEM: 7283-9076-30
  • Service: 15136073
  • Description: 16-Way F (BK)

Terminal Part Information

  • Terminal/Tray: 7116-4618-02/14
  • Core/Insulation Crimp: P/P
  • Release Tool/Test Probe: J-38125-215/J-35616-64B (L-BU)

Digital Radio Receiver (DRR) (U2K)

Pin

Wire

Circuit

Function

1

0.35 TN/WH

372

Remote Radio Audio (-)

2

0.35 BN/WH

367

Remote Radio Left Audio Signal

3

0.35 GY

388

Remote Radio Right Audio Signal (2)

4

0.35 D-GN/WH

368

Remote Radio Right Audio Signal (1)

5

0.35 D-GN

5060

Low Speed GMLAN Serial Data

6-8

--

--

Not Used

9

0.5 BK

550

Ground

10-15

--

--

Not Used

16

1 D-GN/TN

2040

Battery Positive Voltage

Distance Sensing Cruise Control Module (K59)


Object Number: 1420665  Size: CH

Connector Part Information

  • OEM: 2-967616-1
  • Service: 88953345
  • Description: 6-Way F Micro Series (GY)

Terminal Part Information

  • Terminal/Tray: 962885-5/15
  • Core/Insulation Crimp: 6/6
  • Release Tool/Test Probe: 12094429/J-35616-64B (L-BU)

Distance Sensing Cruise Control Module (K59)

Pin

Wire

Circuit

Function

1

0.35 RD/GN

1040

Battery Positive Voltage

2

--

--

Not Used

3

0.35 YE

5727

High Speed GMLAN Serial Data Wake Up

4

0.35 BN/BK

2500

High Speed GMLAN Serial Data Bus +

5

0.35 BN

2501

High Speed GMLAN Serial Data Bus -

6

0.35 BK

250

Ground

Dome Lamp (V4U, B9Q)


Object Number: 280768  Size: CH

Connector Part Information

  • OEM: 12052832
  • Service: 12101825
  • Description: 2-Way F Metri-Pack 150 Series (BK)

Terminal Part Information

  • Terminal/Tray: 12064971/5
  • Core/Insulation Crimp: E/C
  • Release Tool/Test Probe: 12094429/J-35616-2A (GY)

Dome Lamp (V4U, B9Q)

Pin

Wire

Circuit

Function

A

0.35 GY/BK

690

Courtesy Lamp Control

B

0.5 BK

1050

Ground

Door Latch Assembly - Driver X1


Object Number: 647979  Size: CH

Connector Part Information

  • OEM: 15336035
  • Service: 15306197
  • Description: 4-Way F GT 150 Sealed (BK)

Terminal Part Information

  • Terminal/Tray: 15326267/19
  • Core/Insulation Crimp: E/4
  • Release Tool/Test Probe: 15315247/J-35616-2A (GY)

Door Latch Assembly - Driver X1

Pin

Wire

Circuit

Function

1

0.35 TN/D-GN

126

Left Front Door Open Switch Signal

2

0.35 GY/BK

745

Left Front Door Ajar Switch Signal

3

--

--

Not Used

4

0.35 BN

1183

Left Front Door Switch Low Reference

Door Latch Assembly - Driver X2


Object Number: 68721  Size: CH

Connector Part Information

  • OEM: 15300027
  • Service: 12101855
  • Description: 2-Way F Metri-Pack 280 Series Sealed (BK)

Terminal Part Information

  • Terminal/Tray: 12077411/2
  • Core/Insulation Crimp: 2/5
  • Release Tool/Test Probe: 12094430/J-35616-4A (PU)

Door Latch Assembly - Driver X2

Pin

Wire

Circuit

Function

A

0.5 TN

694

Driver Door Lock Actuator Unlock Control

B

0.5 GY

295

Door Lock Actuator Lock Control

Door Latch Assembly - Front Passenger X1


Object Number: 647979  Size: CH

Connector Part Information

  • OEM: 15336035
  • Service: 15306197
  • Description: 4-Way F GT 150 Sealed (BK)

Terminal Part Information

  • Terminal/Tray: 15326267/19
  • Core/Insulation Crimp: E/4
  • Release Tool/Test Probe: 15315247/J-35616-2A (GY)

Door Latch Assembly - Front Passenger X1

Pin

Wire

Circuit

Function

1

0.35 D-GN/WH

1178

Right Front Door Switch Low Reference

2

--

--

Not Used

3

0.35 TN/WH

746

Right Front Door Ajar Switch Signal

4

0.35 L-GN/RD

1177

Right Front Door Open Switch Signal

Door Latch Assembly - Front Passenger X2


Object Number: 68721  Size: CH

Connector Part Information

  • OEM: 15300027
  • Service: 12101855
  • Description: 2-Way F Metri-Pack 280 Series Sealed (BK)

Terminal Part Information

  • Terminal/Tray: 12077411/2
  • Core/Insulation Crimp: 2/5
  • Release Tool/Test Probe: 12094430/J-35616-4A (PU)

Door Latch Assembly - Front Passenger X2

Pin

Wire

Circuit

Function

A

0.5 GY/BK

1663

Passenger Door Lock Actuator Unlock Control

B

0.5 L-GN/OG

1090

Passenger Door Lock Actuator Lock Control

Door Latch Assembly - Left Middle X1 (V4U)


Object Number: 647979  Size: CH

Connector Part Information

  • OEM: 15336035
  • Service: 15306197
  • Description: 4-Way F GT 150 Sealed (BK)

Terminal Part Information

  • Terminal/Tray: 15326267/19
  • Core/Insulation Crimp: E/4
  • Release Tool/Test Probe: 15315247/J-35616-2A (GY)

Door Latch Assembly - Left Middle X1 (V4U)

Pin

Wire

Circuit

Function

1

0.35 D-BU/WH

1179

Left Rear Door Open Switch Signal

2

0.35 L-BU/BK

747

Left Rear Door Ajar Switch Signal

3

--

--

Not Used

4

0.35 BK

750

Ground

Door Latch Assembly - Left Middle X2 (V4U)


Object Number: 68721  Size: CH

Connector Part Information

  • OEM: 15300027
  • Service: 12101855
  • Description: 2-Way F Metri-Pack 280 Series Sealed (BK)

Terminal Part Information

  • Terminal/Tray: 12077411/2
  • Core/Insulation Crimp: 2/5
  • Release Tool/Test Probe: 12094430/J-35616-4A (PU)

Door Latch Assembly - Left Middle X2 (V4U)

Pin

Wire

Circuit

Function

A

1 TN

294

Door Lock Actuator Unlock Control

B

1 GY

295

Door Lock Actuator Lock Control

Door Latch Assembly - Left Rear X1


Object Number: 647979  Size: CH

Connector Part Information

  • OEM: 15336035
  • Service: 15306197
  • Description: 4-Way F GT 150 Sealed (BK)

Terminal Part Information

  • Terminal/Tray: 15326267/19
  • Core/Insulation Crimp: E/4
  • Release Tool/Test Probe: 15315247/J-35616-2A (GY)

Door Latch Assembly - Left Rear X1

Pin

Wire

Circuit

Function

1

0.35 D-BU/WH

1179

Left Rear Door Open Switch Signal

2

0.35 L-BU/BK

747

Left Rear Door Ajar Switch Signal

3

--

--

Not Used

4

0.35 BK

750

Ground

Door Latch Assembly - Left Rear X2


Object Number: 68721  Size: CH

Connector Part Information

  • OEM: 15300027
  • Service: 12101855
  • Description: 2-Way F Metri-Pack 280 Series Sealed (BK)

Terminal Part Information

  • Terminal/Tray: 12077411/2
  • Core/Insulation Crimp: 2/5
  • Release Tool/Test Probe: 12094430/J-35616-4A (PU)

Door Latch Assembly - Left Rear X2

Pin

Wire

Circuit

Function

A

1 TN

294

Door Lock Actuator Unlock Control

B

1 GY

295

Door Lock Actuator Lock Control

Door Latch Assembly - Rear (B9Q)


Object Number: 68721  Size: CH

Connector Part Information

  • OEM: 15300027
  • Service: 12101855
  • Description: 2-Way F Metri-Pack 280 Series Sealed (BK)

Terminal Part Information

  • Terminal/Tray: 12077411/2
  • Core/Insulation Crimp: 2/5
  • Release Tool/Test Probe: 12094430/J-35616-4A (PU)

Door Latch Assembly - Rear (B9Q)

Pin

Wire

Circuit

Function

A

1 TN

294

Door Lock Actuator Unlock Control

B

1 GY

295

Door Lock Actuator Lock Control

Door Latch Assembly - Right Middle X1 (V4U)


Object Number: 647979  Size: CH

Connector Part Information

  • OEM: 15336035
  • Service: 15306197
  • Description: 4-Way F GT 150 Sealed (BK)

Terminal Part Information

  • Terminal/Tray: 15326267/19
  • Core/Insulation Crimp: E/4
  • Release Tool/Test Probe: 15315247/J-35616-2A (GY)

Door Latch Assembly - Right Middle X1 (V4U)

Pin

Wire

Circuit

Function

1

0.35 BK

450

Ground

2

--

--

Not Used

3

0.35 L-GN/BK

748

Right Rear Door Ajar Switch Signal

4

0.35 D-BU/WH

1179

Left Rear Door Open Switch Signal

Door Latch Assembly - Right Middle X2 (V4U)


Object Number: 68721  Size: CH

Connector Part Information

  • OEM: 15300027
  • Service: 12101855
  • Description: 2-Way F Metri-Pack 280 Series Sealed (BK)

Terminal Part Information

  • Terminal/Tray: 12077411/2
  • Core/Insulation Crimp: 2/5
  • Release Tool/Test Probe: 12094430/J-35616-4A (PU)

Door Latch Assembly - Right Middle X2 (V4U)

Pin

Wire

Circuit

Function

A

1 TN

294

Door Lock Actuator Unlock Control

B

1 GY

295

Door Lock Actuator Lock Control

Door Latch Assembly - Right Rear X1


Object Number: 647979  Size: CH

Connector Part Information

  • OEM: 15336035
  • Service: 15306197
  • Description: 4-Way F GT 150 Sealed (BK)

Terminal Part Information

  • Terminal/Tray: 15326267/19
  • Core/Insulation Crimp: E/4
  • Release Tool/Test Probe: 15315247/J-35616-2A (GY)

Door Latch Assembly - Right Rear X1

Pin

Wire

Circuit

Function

1

0.35 BK

450

Ground

2

--

--

Not Used

3

0.35 L-GN/BK

748

Right Rear Door Ajar Switch Signal

4

0.35 D-BU/WH

1179

Left Rear Door Open Switch Signal

Door Latch Assembly - Right Rear X2


Object Number: 68721  Size: CH

Connector Part Information

  • OEM: 15300027
  • Service: 12101855
  • Description: 2-Way F Metri-Pack 280 Series Sealed (BK)

Terminal Part Information

  • Terminal/Tray: 12077411/2
  • Core/Insulation Crimp: 2/5
  • Release Tool/Test Probe: 12094430/J-35616-4A (PU)

Door Latch Assembly - Right Rear X2

Pin

Wire

Circuit

Function

A

1 TN

294

Door Lock Actuator Unlock Control

B

1 GY

295

Door Lock Actuator Lock Control

Door Lock Key Cylinder Switch - Driver


Object Number: 605500  Size: CH

Connector Part Information

  • OEM: 12162343
  • Service: 12162343
  • Description: 2-Way M Metri-Pack 150 (GY)

Terminal Part Information

  • Terminal/Tray: 12045773/2
  • Core/Insulation Crimp: See Terminal Repair Kit
  • Release Tool/Test Probe: 12094429/J-35616-3 (GY)

Door Lock Key Cylinder Switch - Driver

Pin

Wire

Circuit

Function

A

0.35 L-GN

262

Driver Door Key Switch Signal

B

0.35 D-BU

536

Driver Door Key Switch Low Reference

Door Park Relay Assembly - Left Middle (V4U)


Object Number: 309380  Size: CH

Connector Part Information

  • OEM: MDL_RLY_ASM_J1
  • Service: See Catalog
  • Description: 3-Way F (BK)

Terminal Part Information

  • Terminal/Tray: See Terminal Repair Kit
  • Core/Insulation Crimp: See Terminal Repair Kit
  • Release Tool/Test Probe: See Terminal Repair Kit

Door Park Relay Assembly - Left Middle (V4U)

Pin

Wire

Circuit

Function

A

0.5 WH/BK

9256

Open Signal

B

2 RD/BN

140

Battery Positive Voltage

C

2 BK

750

Ground

Door Park Relay Assembly - Right Middle (V4U)


Object Number: 309380  Size: CH

Connector Part Information

  • OEM: MDL_RLY_ASM_J1
  • Service: See Catalog
  • Description: 3-Way F (BK)

Terminal Part Information

  • Terminal/Tray: See Terminal Repair Kit
  • Core/Insulation Crimp: See Terminal Repair Kit
  • Release Tool/Test Probe: See Terminal Repair Kit

Door Park Relay Assembly - Right Middle (V4U)

Pin

Wire

Circuit

Function

A

0.5 WH/BK

9257

Open Signal

B

2 RD/BN

140

Battery Positive Voltage

C

2 BK

450

Ground

Door Release Switch - Left Middle (V4U)


Object Number: 280768  Size: CH

Connector Part Information

  • OEM: 12052832
  • Service: 12101825
  • Description: 2-Way F Metri-Pack 150 Series (BK)

Terminal Part Information

  • Terminal/Tray: 12064971/5
  • Core/Insulation Crimp: E/C
  • Release Tool/Test Probe: 12094429/J-35616-2A (GY)

Door Release Switch - Left Middle (V4U)

Pin

Wire

Circuit

Function

A

0.5 WH/BK

9256

Open Signal

B

0.5 WH

1430

Exterior Courtesy Lamp Supply Voltage

Door Release Switch - Left Rear (V4U)


Object Number: 280768  Size: CH

Connector Part Information

  • OEM: 12052832
  • Service: 12101825
  • Description: 2-Way F Metri-Pack 150 Series (BK)

Terminal Part Information

  • Terminal/Tray: 12064971/5
  • Core/Insulation Crimp: E/C
  • Release Tool/Test Probe: 12094429/J-35616-2A (GY)

Door Release Switch - Left Rear (V4U)

Pin

Wire

Circuit

Function

A

0.5 WH/BK

9256

Open Signal

B

0.35 WH

1430

Exterior Courtesy Lamp Supply Voltage

Door Release Switch - Right Middle (V4U)


Object Number: 280768  Size: CH

Connector Part Information

  • OEM: 12052832
  • Service: 12101825
  • Description: 2-Way F Metri-Pack 150 Series (BK)

Terminal Part Information

  • Terminal/Tray: 12064971/5
  • Core/Insulation Crimp: E/C
  • Release Tool/Test Probe: 12094429/J-35616-2A (GY)

Door Release Switch - Right Middle (V4U)

Pin

Wire

Circuit

Function

A

0.5 WH/BK

9257

Open Signal

B

0.5 WH

1430

Exterior Courtesy Lamp Supply Voltage

Door Release Switch - Right Rear (V4U)


Object Number: 280768  Size: CH

Connector Part Information

  • OEM: 12052832
  • Service: 12101825
  • Description: 2-Way F Metri-Pack 150 Series (BK)

Terminal Part Information

  • Terminal/Tray: 12064971/5
  • Core/Insulation Crimp: E/C
  • Release Tool/Test Probe: 12094429/J-35616-2A (GY)

Door Release Switch - Right Rear (V4U)

Pin

Wire

Circuit

Function

A

0.5 WH/BK

9257

Open Signal

B

0.5 WH

1430

Exterior Courtesy Lamp Supply Voltage

Driver Door Module (DDM) X1


Object Number: 1664521  Size: CH

Connector Part Information

  • OEM: 6098-4607
  • Service: See Catalog
  • Description: 6-Way F (BK)

Terminal Part Information

  • Terminal/Tray: 8100-4443/22
  • Core/Insulation Crimp: E/A
  • Release Tool/Test Probe: 15315247/J-35616-35 (VT)

Driver Door Module (DDM) X1

Pin

Wire

Circuit

Function

1-3

--

--

Not Used

4

0.5 PK/VT

2940

Battery Positive Voltage

5

--

--

Not Used

6

0.5 BK

350

Ground

Driver Door Module (DDM) X2


Object Number: 1664488  Size: CH

Connector Part Information

  • OEM: 7283-9078-80
  • Service: 15136074
  • Description: 16-Way F (BN)

Terminal Part Information

  • Terminal/Tray: 7116-4618-02/14
  • Core/Insulation Crimp: P/P
  • Release Tool/Test Probe: J-38125-215/J-35616-64B (L-BU)

Driver Door Module (DDM) X2

Pin

Wire

Circuit

Function

1-2

--

--

Not Used

3

0.35 L-BU/D-GN

6132

Local Interconnect Network 1

4

0.35 L-GN

262

Driver Door Key Switch Signal

5

0.35 BN

1183

Left Front Door Switch Low Reference

6

0.35 D-BU

536

Driver Door Key Switch Low Reference

7

0.5 GY

295

Door Lock Actuator Lock Control

8

0.5 TN

694

Driver Door Lock Actuator Unlock Control

9

0.35 D-GN

5060

Low Speed GMLAN Serial Data

10

0.35 D-BU/GY

5116

Courtesy Lamps Supply Voltage

11

0.35 TN/D-GN

126

Left Front Door Open Switch Signal

12

--

--

Not Used

13

0.35 GY/BK

745

Left Front Door Ajar Switch Signal

14

0.35 BN/YE

6710

Power Window Switch Left Rear Signal

15

0.35 L-BU/RD

660

Courtesy Lamp Control

16

0.35 PK

5864

Power Window Driver Switch Voltage Reference

Driver Door Module (DDM) X3


Object Number: 1664581  Size: CH

Connector Part Information

  • OEM: 7283-9040-30
  • Service: See Catalog
  • Description: 10-Way F (BK)

Terminal Part Information

  • Terminal/Tray: 7116-4618-02/14
  • Core/Insulation Crimp: P/P
  • Release Tool/Test Probe: J-38125-215/J-35616-64B (L-BU)

Driver Door Module (DDM) X3

Pin

Wire

Circuit

Function

1

0.35 L-GN

89

Left Mirror Motor Down Control

2

0.35 WH

81

Left Mirror Motor Left Control

3

0.35 GY/L-GN

627

Driver Mirror Heating Element Low Reference

4-5

--

--

Not Used

6

0.35 TN/RD

329

Left Mirror Motor - Up/Right Control

7

0.35 TN/PK

606

Driver Mirror Heating Element Supply Voltage

8

0.35 PK/BK

5855

LED Control (UFT)

9

--

--

Not Used

10

0.35 BN/L-BU

5478

Low Reference

Driver Door Module (DDM) X4 (KB6)


Object Number: 1664522  Size: CH

Connector Part Information

  • OEM: 7283-9065-40
  • Service: See Catalog
  • Description: 14-Way F (GY)

Terminal Part Information

  • Terminal/Tray: See Terminal Repair Kit
  • Core/Insulation Crimp: See Terminal Repair Kit
  • Release Tool/Test Probe: See Terminal Repair Kit

Driver Door Module (DDM) X4 (KB6)

Pin

Wire

Circuit

Function

1

0.35 WH/BK

--

Driver Heated Seat Medium Indicator Control

2

0.35 D-GN/BK

--

Driver Heated Seat High Indicator Control

3

0.35 L-GN/BK

--

Driver Heated Seat Cool Switch Signal

4

0.35 D-BU/WH

--

Driver Heated Seat Switch Low Reference

5

0.35 OG

--

Memory Recall Switch Signal

6

0.35 D-BU

--

Driver Heated Seat Back Cushion Switch Signal

7

0.35 GY

--

Driver Heated Seat Back Only Mode Switch Signal

8

0.35 GY/BK

--

Memory Function Switch Supply Voltage

9

0.35 BN/WH

--

Driver Heated Seat Switch Lamp Dimming

10

0.35 OG/WH

--

Driver Heated Seat Cool Indicator Control

11

0.35 PU

--

Driver Heated Seat Back Only Mode Indicator Control

12

0.35 BN

--

Driver Heated Seat Back Cushion Indicator Control

13

0.35 L-BU

--

Driver Heated Seat Low Indicator Control

14

--

--

Not Used

Driver Door Module (DDM) X7


Object Number: 1664543  Size: CH

Connector Part Information

  • OEM: 7283-9045
  • Service: See Catalog
  • Description: 10-Way F (WH)

Terminal Part Information

  • Terminal/Tray: 7116-4618-02/14
  • Core/Insulation Crimp: P/P
  • Release Tool/Test Probe: J-38125-215/J-35616-64B (L-BU)

Driver Door Module (DDM) X7

Pin

Wire

Circuit

Function

1

0.35 YE

190

Folding Mirror Motor Extend Control (DL3)

2

0.35 L-BU

191

Folding Mirror Motor Retract Control (DL3)

3

--

--

Not Used

4

0.35 D-GN/TN

784

Driver Mirror Vertical Position Sensor Signal (A45)

5

0.35 GY/PU

786

Driver Mirror Horizontal Position Sensor Signal (A45)

6

--

--

Not Used

7

0.35 D-BU

672

5-Volt Reference (A45)

8

0.35 PK

5853

LED Signal (UFT)

9

--

--

Not Used

10

0.35 BN/L-GN

673

Low Reference (A45)

Driver Information Display Switch


Object Number: 1664548  Size: CH

Connector Part Information

  • OEM: HCMPB-06-K
  • Service: See Catalog
  • Description: 6-Way F (BK)

Terminal Part Information

  • Terminal/Tray: SHCM-A03T-P025/20
  • Core/Insulation Crimp: J/J
  • Release Tool/Test Probe: 12094429/J-35616-64B (L-BU)

Driver Information Display Switch

Pin

Wire

Circuit

Function

1

0.35 D-GN/WH

1358

Driver Information Center Switch Signal

2

0.35 BN

897

Driver Information Center Switch Low Reference

3

0.35 PK

893

Driver Information Center Select Menu Switch Signal

4

--

--

Not Used

5

0.35 YE

1491

Backlight Lamp Control

6

0.35 BK

350

Ground

Electronic Brake Control Module (EBCM)


Object Number: 1664563  Size: CH

Connector Part Information

  • OEM: 3-1326339-7 (JL4), 3-1326339-5 (-JL4)
  • Service: See Catalog
  • Description: 46-Way F Sealed (BK)

Terminal Part Information

  • Pins: 2, 16, 31, 45
  • Terminal/Tray: 7116-4142-02/10
  • Core/Insulation Crimp: D/3
  • Release Tool/Test Probe: 12094430/J-35616-42 (RD)
  • Pins: 3, 4, 8-10, 12, 13, 15, 18, 19, 21, 22, 23-27, 29, 32, 37-39, 41-44
  • Terminal/Tray: 638551-1/16
  • Core/Insulation Crimp: Pins 3, 4, 8-10, 12, 13, 15, 18, 19, 22-27, 29, 32, 37-39, 41-44 - K/K
  • Core/Insulation Crimp: Pins 21 - J/J
  • Release Tool/Test Probe: 15315247/J-35616-64B (L-BU)

Electronic Brake Control Module (EBCM)

Pin

Wire

Circuit

Function

1

--

--

Not Used

2

5 RD/BK

1442

Battery Positive Voltage

3

0.5 BN/BK

2500

High Speed GMLAN Serial Data Bus +

4

0.35 BN/BK

2500

High Speed GMLAN Serial Data Bus +

5-7

--

--

Not Used

8

0.35 WH/BK

715

Lateral Accelerometer Signal (JL4)

9

0.35 YE/BK

7033

Yaw Rate Diagnostic (JL4)

10

0.35 L-BU/BK

1764

Steering Wheel Position Signal B (JL4)

11

--

--

Not Used

12

0.8 L-BU

830

Left Front Wheel Speed Sensor Signal

13

0.8 YE

873

Left Front Wheel Speed Sensor Low Reference

14

--

--

Not Used

15

0.8 GY/PK

1787

Variable Effort Steering Actuator High Effort Control

16

5 BK

1650

Ground

17

--

--

Not Used

18

0.5 BN

2501

High Speed GMLAN Serial Data Bus -

19

0.35 BN

2501

High Speed GMLAN Serial Data Bus -

20

--

--

Not Used

21

0.35 GN/WH

817

Vehicle Speed Signal

22

0.35 PU

719

Low Reference (JL4)

23

0.35 GY/BK

1337

5-Volt Reference (JL4)

24

0.35 OG/BK

556

Low Reference (JL4)

25

0.35 GY

1056

5-Volt Reference (JL4)

26

0.8 D-GN

872

Right Front Wheel Speed Sensor Signal

27

0.8 TN/YE

833

Right Front Wheel Speed Sensor Low Reference

28

--

--

Not Used

29

0.8 WH

345

Variable Effort Steering Actuator Low Effort Control

30

--

--

Not Used

31

5 RD

1542

Battery Positive Voltage

32

0.5 OG/YE

5727

High Speed GMLAN Serial Data Wake Up

33-36

--

--

Not Used

37

0.35 BU

716

Yaw Rate Sensor Signal (JL4)

38

0.35 BU

5370

Longitudinal Accelerometer Signal (JL4)

39

0.35 L-GN

1763

Steering Wheel Position Signal A (JL4)

40

--

--

Not Used

41

0.5 OG

885

Left Rear Wheel Speed Sensor Low Reference

42

0.5 GY/YE

884

Left Rear Wheel Speed Sensor Signal

43

0.5 TN

882

Right Rear Wheel Speed Sensor Signal

44

0.5 GY/BU

883

Right Rear Wheel Speed Sensor Low Reference

45

5 BK

1650

Ground

46

--

--

Not Used

Electronic Suspension Control (ESC) Module (F55)


Object Number: 1457400  Size: CH

Connector Part Information

  • OEM: 54210060
  • Service: 89047158
  • Description: 48-Way F DRAD (BK)

Terminal Part Information

  • Pins: 1, 2
  • Terminal/Tray: 60040441/21
  • Core/Insulation Crimp: 4/5
  • Release Tool/Test Probe: 12093647/J-35616-40 (BU)
  • Pins: 6, 19, 22, 40
  • Terminal/Tray: 60000611/21
  • Core/Insulation Crimp: 8/8
  • Release Tool/Test Probe: 15314260/J-35616-2A (GY)
  • Pins: 3, 4, 17, 18, 31-34, 13-16, 20, 21, 27-30, 39, 45-48
  • Terminal/Tray: 60000631/21
  • Core/Insulation Crimp: Pins 3, 4, 17, 18, 31-34 - 2/1
  • Core/Insulation Crimp: Pins 13-16, 20, 21, 27-30, 39, 45-48 - See Terminal Repair Kit
  • Release Tool/Test Probe: 15314260/J-35616-2A (GY)

Electronic Suspension Control (ESC) Module (F55)

Pin

Wire

Circuit

Function

1

2 TN/VT

4340

Battery Positive Voltage

2

2 BK

1050

Ground

3

0.35 TN

1006

Right Front Damper Control

4

0.8 PK/D-GN

1010

Left Rear Damper Control

5

--

--

Not Used

6

0.35 YE

321

Automatic Level Control Relay Control

7-12

--

--

Not Used

13

0.35 GY/BN

1216

Right Rear Suspension Position Sensor Signal

14

0.35 L-GN/WH

1210

Left Rear Suspension Position Sensor Signal

15

0.35 TN/D-BU

1213

Right Front Suspension Position Sensor Signal

16

0.35 TN/WH

1207

Left Front Suspension Position Sensor Signal

17

0.8 L-BU

1448

Left Front Damper Control

18

0.8 YE/BK

1014

Right Rear Damper Control

19

0.35 OG/YE

5727

High Speed GMLAN Serial Data Wake Up

20

0.35 WH

320

Automatic Level Control Exhaust Solenoid Control

21

0.5 TN/BK

2500

High Speed GMLAN Serial Data Bus +

22

0.5 TN/BK

2500

High Speed GMLAN Serial Data Bus +

23-26

--

--

Not Used

27

0.35 TN/OG

1214

Right Rear Suspension Position Sensor Voltage Reference

28

0.35 OG/WH

1208

Left Rear Suspension Position Sensor Voltage Reference

29

0.35 PU/BK

1211

Right Front Suspension Position Sensor Voltage Reference

30

0.35 PU/WH

1205

Left Front Suspension Position Sensor Voltage Reference

31

0.8 YE

1005

Left Front Damper Low Reference

32

0.8 D-GN

1009

Right Front Damper Low Reference

33

0.8 GY/OG

1013

Left Rear Damper Low Reference

34

0.8 PU

1017

Right Rear Damper Low Reference

35-38

--

--

Not Used

39

0.5 TN

2501

High Speed GMLAN Serial Data Bus -

40

0.5 TN

2501

High Speed GMLAN Serial Data Bus -

41-44

--

--

Not Used

45

0.35 TN/D-GN

1215

Right Rear Suspension Position Sensor Low Reference

46

0.35 L-GN/BK

1209

Left Rear Suspension Position Sensor Low Reference

47

0.35 L-BU/YE

1212

Right Front Suspension Position Sensor Low Reference

48

0.35 L-BU/BK

1206

Left Front Suspension Position Sensor Low Reference

Engine Control Module (ECM) X1


Object Number: 1228485  Size: CH

Connector Part Information

  • OEM: 34576-2803
  • Service: See Catalog
  • Description: 56-Way F Sealed (BU)

Terminal Part Information

  • Pins: 7, 9, 12, 13, 18, 19, 26, 33-37, 40, 44, 47-49, 51, 53-55
  • Terminal/Tray: 33467-0005/23
  • Core/Insulation Crimp: J/J
  • Release Tool/Test Probe: J-38125-213/J-35616-64B (L-BU)
  • Pins: 20
  • Terminal/Tray: See Terminal Repair Kit
  • Core/Insulation Crimp: See Terminal Repair Kit
  • Release Tool/Test Probe: See Terminal Repair Kit

Engine Control Module (ECM) X1

Pin

Wire

Circuit

Function

1-6

--

--

Not Used

7

0.5 WH

17

Stop Lamp Switch Signal

8

--

--

Not Used

9

0.5 BN

2759

Low Reference

10-11

--

--

Not Used

12

0.35 BN/WH

419

MIL Control

13

0.5 GN/WH

465

Fuel Pump Relay Control

14-17

--

--

Not Used

18

0.5 D-BU

5985

Accessory Wake up Serial Data

19

0.5 PK

439

Ignition 1 Voltage

20

0.5 RD/WH

4640

Battery Positive Voltage

21-25

--

--

Not Used

26

0.5 YE

447

Starter Relay Coil Control

27-32

--

--

Not Used

33

0.5 WH/BK

1164

5-Volt Reference 2

34

0.5 GY

416

5-Volt Reference 1

35

0.5 BN/BK

1274

5-Volt Reference 1

36

0.5 TN

1271

Low Reference

37

0.5 PU/WH

1272

Low Reference

38-39

--

--

Not Used

40

0.5 OG/WH

5069

PWTRAIN Relay Control

41-43

--

--

Not Used

44

0.5 PU/BK

1589

Primary Fuel Level Sensor Signal

45-46

--

--

Not Used

47

0.5 D-BU/WH

1161

APP Sensor 1 Signal

48

0.35 GN

890

Fuel Tank Pressure Sensor Signal

49

0.5 L-BU

1162

APP Sensor 2 Signal

50

--

--

Not Used

51

0.5 PU

421

Air Solenoid Relay Control

52

--

--

Not Used

53

0.5 GN/WH

459

A/C Compressor Clutch Relay Control

54

0.5 OG

473

High Speed Cooling Fan Relay Control

55

0.5 BN/WH

1310

EVAP Canister Vent Solenoid Control

56

--

--

Not Used

Engine Control Module (ECM) X2


Object Number: 1650395  Size: CH

Connector Part Information

  • OEM: 34566-2903
  • Service: See Catalog
  • Description: 73-Way F Sealed (BK)

Terminal Part Information

  • Pins: 24
  • Terminal/Tray: See Terminal Repair Kit
  • Core/Insulation Crimp: See Terminal Repair Kit
  • Release Tool/Test Probe: See Terminal Repair Kit
  • Pins: 73
  • Terminal/Tray: 7116-4152-02/9
  • Core/Insulation Crimp: 2/5
  • Release Tool/Test Probe: 12094430/J-35616-35 (VT)
  • Pins: 1-9, 11-13, 16-19, 23, 25, 27, 29, 31-35, 39, 41-44, 48, 49, 51-55, 59, 61-64, 66, 67-69, 70-72
  • Terminal/Tray: 33467-0005/23
  • Core/Insulation Crimp: Pins 1-9, 16-19, 23, 25, 27, 29, 31-35, 39, 41-44, 48, 49, 51-54, 55, 59, 61-64, 66, 67, 70-72 - J/J
  • Core/Insulation Crimp: Pins 11-13, 68, 69 - K/K
  • Release Tool/Test Probe: J-38125-213/J-35616-64B (L-BU)

Engine Control Module (ECM) X2

Pin

Wire

Circuit

Function

1

0.5 PU/BK

2121

IC 1 Control

2

0.35 TN/OG

3111

HO2S Low Reference Bank 2 Sensor 1

3

0.35 GN

3110

HO2S Reference Voltage Bank 2 Sensor 1

4

0.5 PK/OG

3120

HO2S 2 High Signal

5

0.5 BN/PK

3121

HO2S 2 Low Signal

6

0.5 PK/YE

1876

Knock Sensor 2 Signal

7

0.5 GY

2303

Knock Sensor 2 Signal

8

0.5 BU

496

Knock Sensor 1 Signal

9

0.5 WH/GY

1716

Knock Sensor 1 Signal

10

--

--

Not Used

11

0.8 YE

581

TAC Motor Control - 1

12

0.8 TN

582

TAC Motor Control - 2

13

0.75 PK

5290

Ignition 1 Voltage

14-15

--

--

Not Used

16

0.5 RD/BK

878

Fuel Injector 8 Control

17

0.5 OG/WH

2122

IC 2 Control

18

0.5 L-BU/WH

2126

IC 6 Control

19

0.5 TN/WH

2130

Low Reference

20-22

--

--

Not Used

23

0.5 TN

6266

Low Reference

24

--

--

Not Used

25

0.5 BN/GN

2753

Low Reference

26

--

--

Not Used

27

0.5 GY/BK

6272

Low Reference

28

--

--

Not Used

29

0.5 RD/YE

2752

Low Reference

30

--

--

Not Used

31

0.5 GY

435

EGR Solenoid Low Control

32

0.5 PK

1746

Fuel Injector 3 Control

33

0.5 OG

2127

IC 7 Control

34

0.5 GN

2125

IC 5 Control

35

0.5 TN

2129

Low Reference

36-38

--

--

Not Used

39

0.5 PK/WH

6259

5-Volt Reference 2

40

--

--

Not Used

41

0.5 PK/BN

2702

5-Volt Reference 1

42

0.5 BN/D-BU

2760

Low Reference

43

0.5 RD/GY

6270

CKP Sensor 5-Volt Reference

44

0.5 PK/RD

2701

5-Volt Reference 2

45-47

--

--

Not Used

48

0.5 L-GN/BK

1745

Fuel Injector 2 Control

49

0.5 BN/WH

845

Fuel Injector 5 Control

50

--

--

Not Used

51

0.5 RD/L-BU

1676

EGR Solenoid High Control

52

0.5 L-BU/BK

844

Fuel Injector 4 Control

53

0.5 L-BU

2123

IC 3 Control

54

0.5 GN/WH

2124

IC 4 Control

55

0.5 PU/WH

2128

IC 8 Control

56-58

--

--

Not Used

59

0.5 BU/WH

6265

CMP Sensor Signal

60

--

--

Not Used

61

0.5 L-GN/RD

1456

EGR Valve Position Signal

62

0.5 BN

472

IAT Sensor Signal

63

0.5 WH/BK

6271

CKP Sensor Signal

64

0.5 GN

485

TP Sensor 1 Signal

65

--

--

Not Used

66

0.5 PU

486

TP Sensor 2 Signal

67

0.5 BN/YE

492

MAF Sensor Signal

68

0.35 WH

3113

HO2S Heater Low Control Bank 2 Sensor 1

69

0.8 GY/WH

3122

HO2S 2 Heater Low Control

70

0.5 YE/BK

846

Fuel Injector 6 Control

71

0.5 OG/BK

877

Fuel Injector 7 Control

72

0.5 BN/BK

1744

Fuel Injector 1 Control

73

2 BK/WH

1551

Ground

Engine Control Module (ECM) X3


Object Number: 1590596  Size: CH

Connector Part Information

  • OEM: 34566-3103
  • Service: 88988612
  • Description: 73-Way F (GY)

Terminal Part Information

  • Terminal/Tray: 33467-0005/23
  • Core/Insulation Crimp: Pins 3, 4, 7-9, 18, 21, 23, 26, 29, 33, 35, 37, 39, 42, 46, 48, 49, 53, 55, 57, 59, 62, 65 - J/J
  • Core/Insulation Crimp: Pins 15 - K/K
  • Release Tool/Test Probe: J-38125-213/J-35616-64B (L-BU)

Engine Control Module (ECM) X3

Pin

Wire

Circuit

Function

1-2

--

--

Not Used

3

0.5 BN/WH

3211

HO2S Low Reference Bank 1 Sensor 1

4

0.5 PU/WH

3210

HO2S Reference Voltage Bank 1 Sensor 1

5-6

--

--

Not Used

7

0.5 OG

225

Generator Turn On Signal

8

0.5 L-GN

1652

Reverse Lockout Solenoid Control

9

0.5 WH/BK

436

AIR Pump Relay Control

10-14

--

--

Not Used

15

0.8 L-GN/WH

3112

HO2S Heater Low Control Bank 1 Sensor 1

16-20

--

--

Not Used

21

0.5 L-BU

5514

Low Reference

22

--

--

Not Used

23

0.5 OG/BK

469

Low Reference

24-25

--

--

Not Used

26

0.5 WH/GY

6786

Low Reference

27-28

--

--

Not Used

29

0.5 GY

23

Generator Field Duty Cycle Signal

30-32

--

--

Not Used

33

0.35 BN

2501

High Speed GMLAN Serial Data Bus -

34

--

--

Not Used

35

0.35 PK

2761

Low Reference

36

--

--

Not Used

37

0.5 GY/BK

2700

5-Volt Reference 1

38

--

--

Not Used

39

0.5 GY/WH

2704

5-Volt Reference 1

40-41

--

--

Not Used

42

0.5 TN/WH

6790

5-Volt Reference 2

43-45

--

--

Not Used

46

0.5 GY/OG

1786

Park/Neutral Signal

47

--

--

Not Used

48

0.5 GN/WH

428

EVAP Canister Purge Solenoid Control

49

0.5 GN

335

Low Speed Cooling Fan Relay Control

50-52

--

--

Not Used

53

0.35 BN/BK

2500

High Speed GMLAN Serial Data Bus +

54

--

--

Not Used

55

0.5 YE

410

ECT Sensor Signal

56

--

--

Not Used

57

0.5 OG/WH

380

A/C Refrigerant Pressure Sensor Signal

58

--

--

Not Used

59

0.5 L-GN/BK

432

MAP Sensor Signal

60-61

--

--

Not Used

62

0.5 YE/GY

6788

Air Injection Position Signal

63-64

--

--

Not Used

65

0.5 YE/GN

231

Oil Pressure Switch Signal

66-73

--

--

Not Used

Engine Coolant Temperature (ECT) Sensor


Object Number: 655692  Size: CH

Connector Part Information

  • OEM: 12162195
  • Service: 88987993
  • Description: 2-Way F Metri-Pack 150.2 Series Sealed (BK)

Terminal Part Information

  • Terminal/Tray: 12124075/5
  • Core/Insulation Crimp: E/C
  • Release Tool/Test Probe: 12180559-1/J-35616-2A (GY)

Engine Coolant Temperature (ECT) Sensor

Pin

Wire

Circuit

Function

A

0.5 YE

410

ECT Sensor Signal

B

0.5 PK

2761

Low Reference

Engine Oil Pressure (EOP) Switch


Object Number: 1664567  Size: CH

Connector Part Information

  • OEM: 12065298
  • Service: 12085539
  • Description: 4-Way F Metri-Pack 150 Series Sealed (BK)

Terminal Part Information

  • Terminal/Tray: 12048074/2
  • Core/Insulation Crimp: E/1
  • Release Tool/Test Probe: 12094429/J-35616-2A (GY)

Engine Oil Pressure (EOP) Switch

Pin

Wire

Circuit

Function

A

0.5 YE/D-GN

231

Oil Pressure Switch Signal

B

0.5 BK/WH

1551

Ground

C-D

--

--

Not Used

Evaporative Emission (EVAP) Canister Purge Solenoid Valve


Object Number: 684829  Size: CH

Connector Part Information

  • OEM: 12124037
  • Service: 12101858
  • Description: 2-Way F Metri-Pack 150 Series Sealed (BK)

Terminal Part Information

  • Terminal/Tray: 12048074/2
  • Core/Insulation Crimp: E/1
  • Release Tool/Test Probe: 12094429/J-35616-2A (GY)

Evaporative Emission (EVAP) Canister Purge Solenoid Valve

Pin

Wire

Circuit

Function

A

0.8 PK/BK

5293

Powertrain Main Relay Fused Supply

B

0.5 GN/WH

428

EVAP Canister Purge Solenoid Control

Evaporative Emission (EVAP) Canister Vent Solenoid Valve


Object Number: 684829  Size: CH

Connector Part Information

  • OEM: 12124037
  • Service: 12101858
  • Description: 2-Way F Metri-Pack 150 Series Sealed (BK)

Terminal Part Information

  • Terminal/Tray: 12048074/2
  • Core/Insulation Crimp: E/1
  • Release Tool/Test Probe: 12094429/J-35616-2A (GY)

Evaporative Emission (EVAP) Canister Vent Solenoid Valve

Pin

Wire

Circuit

Function

A

0.35 RD/WH

2840

Battery Positive Voltage

B

0.35 TN/WH

1310

EVAP Canister Vent Solenoid Control

Exhaust Gas Recirculation (EGR) Valve


Object Number: 684863  Size: CH

Connector Part Information

  • OEM: 12186056
  • Service: 15306027
  • Description: 5-Way F Metri-Pack 150.2 Series Sealed (BK)

Terminal Part Information

  • Terminal/Tray: 12124075/5
  • Core/Insulation Crimp: E/C
  • Release Tool/Test Probe: 12180559-1/J-35616-2A (GY)

Exhaust Gas Recirculation (EGR) Valve

Pin

Wire

Circuit

Function

A

0.5 GY

435

EGR Solenoid Low Control

B

0.5 BN/GN

2753

Low Reference

C

0.5 L-GN/RD

1456

EGR Valve Position Signal

D

0.5 PK/BN

2702

5-Volt Reference

E

0.5 RD/L-BU

1676

EGR Solenoid High Control

Floor Shifter Assembly X1 (AQ9)


Object Number: 333035  Size: CH

Connector Part Information

  • OEM: 12047781
  • Service: 12101864
  • Description: 3-Way F Metri-Pack 150 Series (BK)

Terminal Part Information

  • Terminal/Tray: 12064971/5
  • Core/Insulation Crimp: E/C
  • Release Tool/Test Probe: 12094429/J-35616-2A (GY)

Floor Shifter Assembly X1 (AQ9)

Pin

Wire

Circuit

Function

A

0.35 YE/BN

143

Accessory Voltage

B

0.35 PU

6027

Brake Transmission Shift Interlock Solenoid Control

C

0.35 BK

450

Ground

Floor Shifter Assembly X2 (AQ9)


Object Number: 130637  Size: CH

Connector Part Information

  • OEM: 12064760
  • Service: 12085208
  • Description: 4-Way F Metri-Pack 150 Series (BK)

Terminal Part Information

  • Pins: A
  • Terminal/Tray: See Terminal Repair Kit
  • Core/Insulation Crimp: See Terminal Repair Kit
  • Release Tool/Test Probe: See Terminal Repair Kit
  • Pins: B-D
  • Terminal/Tray: 12064971/5
  • Core/Insulation Crimp: E/C
  • Release Tool/Test Probe: 12094429/J-35616-2A (GY)

Floor Shifter Assembly X2 (AQ9)

Pin

Wire

Circuit

Function

A

0.35 BN

741

Accessory Voltage

B

0.35 L-GN

1652

Reverse Lockout Solenoid Control

C

0.35 GY

8

Instrument Panel Lamp Supply Voltage

D

0.35 BK

450

Ground

Fog Lamp - Left


Object Number: 684797  Size: CH

Connector Part Information

  • OEM: 12059183
  • Service: 12101898
  • Description: 2-Way F Metri-Pack 280 Series, Sealed (BK)

Terminal Part Information

  • Terminal/Tray: 12077411/2
  • Core/Insulation Crimp: 2/5
  • Release Tool/Test Probe: 12094430/J-35616-4A (PU)

Fog Lamp - Left

Pin

Wire

Circuit

Function

A

0.5 BK

250

Ground

B

0.5 RD

34

Front Fog Lamp Supply Voltage

Fog Lamp - Right


Object Number: 684797  Size: CH

Connector Part Information

  • OEM: 12059183
  • Service: 12101898
  • Description: 2-Way F Metri-Pack 280 Series, Sealed (BK)

Terminal Part Information

  • Terminal/Tray: 12077411/2
  • Core/Insulation Crimp: 2/5
  • Release Tool/Test Probe: 12094430/J-35616-4A (PU)

Fog Lamp - Right

Pin

Wire

Circuit

Function

A

0.5 BK

250

Ground

B

0.5 RD

34

Front Fog Lamp Supply Voltage

Footwell Lamp - Left Front (C97)


Object Number: 1581759  Size: CH

Connector Part Information

  • OEM: 19115637
  • Service: See Catalog
  • Description: 2-Way M (BK)

Terminal Part Information

  • Terminal/Tray: See Terminal Repair Kit
  • Core/Insulation Crimp: See Terminal Repair Kit
  • Release Tool/Test Probe: See Terminal Repair Kit

Footwell Lamp - Left Front (C97)

Pin

Wire

Circuit

Function

1

0.35 D-GN

957

Backlight Lamp Signal

2

0.35 BK

350

Ground

Footwell Lamp - Left Rear (C97)


Object Number: 1581759  Size: CH

Connector Part Information

  • OEM: 19115637
  • Service: See Catalog
  • Description: 2-Way M (BK)

Terminal Part Information

  • Terminal/Tray: See Terminal Repair Kit
  • Core/Insulation Crimp: See Terminal Repair Kit
  • Release Tool/Test Probe: See Terminal Repair Kit

Footwell Lamp - Left Rear (C97)

Pin

Wire

Circuit

Function

1

0.35 D-GN

959

Backlight Lamp Signal

2

0.35 BK

350

Ground

Footwell Lamp - Right Front (C97)


Object Number: 1581759  Size: CH

Connector Part Information

  • OEM: 19115637
  • Service: See Catalog
  • Description: 2-Way M (BK)

Terminal Part Information

  • Terminal/Tray: See Terminal Repair Kit
  • Core/Insulation Crimp: See Terminal Repair Kit
  • Release Tool/Test Probe: See Terminal Repair Kit

Footwell Lamp - Right Front (C97)

Pin

Wire

Circuit

Function

1

0.35 D-GN

958

Backlight Lamp Signal

2

0.35 BK

350

Ground

Footwell Lamp - Right Rear (C97)


Object Number: 1581759  Size: CH

Connector Part Information

  • OEM: 19115637
  • Service: See Catalog
  • Description: 2-Way M (BK)

Terminal Part Information

  • Terminal/Tray: See Terminal Repair Kit
  • Core/Insulation Crimp: See Terminal Repair Kit
  • Release Tool/Test Probe: See Terminal Repair Kit

Footwell Lamp - Right Rear (C97)

Pin

Wire

Circuit

Function

1

0.35 D-GN

959

Backlight Lamp Signal

2

0.35 BK

450

Ground

Front and Rear Object Alarm Module (UFR) X1


Object Number: 1664569  Size: CH

Connector Part Information

  • OEM: 31410-1120
  • Service: See Catalog
  • Description: 12-Way F (BK)

Terminal Part Information

  • Terminal/Tray: 7116-4618-02/14
  • Core/Insulation Crimp: P/P
  • Release Tool/Test Probe: J-38125-215/J-35616-64B (L-BU)

Front and Rear Object Alarm Module (UFR) X1

Pin

Wire

Circuit

Function

1

0.35 RD/WH

4540

Ignition 1 Voltage

2

0.35 GY/BK

7035

Telltale Assembly Supply Voltage

3

--

--

Not Used

4

0.35 YE/BK

7036

Left Amber Indicator Control

5

--

--

Not Used

6

0.35 D-GN

5060

Low Speed GMLAN Serial Data

7

0.5 BK

750

Ground

8

--

--

Not Used

9

0.35 YE/WH

7037

Center Amber Indicator Control

10

0.35 TN/WH

7038

Red Indicator Control

11-12

--

--

Not Used

Front and Rear Object Alarm Module (UFR) X2


Object Number: 1664573  Size: CH

Connector Part Information

  • OEM: 7283-9029-40
  • Service: See Catalog
  • Description: 8-Way F (GY)

Terminal Part Information

  • Terminal/Tray: 7116-4618-02/14
  • Core/Insulation Crimp: P/P
  • Release Tool/Test Probe: J-38125-215/J-35616-64B (L-BU)

Front and Rear Object Alarm Module (UFR) X2

Pin

Wire

Circuit

Function

1

0.35 PU

2378

Right Rear Corner Object Sensor Signal

2

0.35 D-GN

2377

Right Rear Middle Object Sensor Signal

3

0.35 OG

2376

Left Rear Middle Object Sensor Signal

4

0.35 D-BU

2374

Object Sensor Supply Voltage

5

0.35 YE

2375

Left Rear Corner Object Sensor Signal

6-7

--

--

Not Used

8

0.35 GY

2379

Object Sensor Low Reference

Front and Rear Object Alarm Module (UFR) X3


Object Number: 1664575  Size: CH

Connector Part Information

  • OEM: 7283-9068-90
  • Service: See Catalog
  • Description: 14-Way F (BU)

Terminal Part Information

  • Terminal/Tray: 7116-4618-02/14
  • Core/Insulation Crimp: P/P
  • Release Tool/Test Probe: J-38125-215/J-35616-64B (L-BU)

Front and Rear Object Alarm Module (UFR) X3

Pin

Wire

Circuit

Function

1

0.35 BN

6581

Object Sensor Supply Voltage

2-3

--

--

Not Used

4

0.35 PU/WH

5215

Left Front Corner Object Sensor Signal

5

0.35 WH

5216

Left Front Middle Object Sensor Signal

6

0.35 GY/BN

7039

Left Amber Indicator Control

7

0.35 D-BU/TN

7041

Center Amber Indicator Control

8

0.35 OG/BK

5214

Object Sensor Low Reference

9

--

--

Not Used

10

0.35 PU/BK

5218

Right Front Middle Object Sensor Signal

11

0.35 BN/WH

5217

Right Front Corner Object Sensor Signal

12

--

--

Not Used

13

0.35 D-GN/TN

7042

Red Indicator Control

14

--

--

Not Used

Front Passenger Door Module (FPDM) X1


Object Number: 1664521  Size: CH

Connector Part Information

  • OEM: 6098-4607
  • Service: See Catalog
  • Description: 6-Way F (BK)

Terminal Part Information

  • Terminal/Tray: 8100-4443/22
  • Core/Insulation Crimp: E/A
  • Release Tool/Test Probe: 15315247/J-35616-35 (VT)

Front Passenger Door Module (FPDM) X1

Pin

Wire

Circuit

Function

1-3

--

--

Not Used

4

0.5 TN/RD

3540

Battery Positive Voltage

5

--

--

Not Used

6

0.5 BK

450

Ground

Front Passenger Door Module (FPDM) X2


Object Number: 1664488  Size: CH

Connector Part Information

  • OEM: 7283-9078-80
  • Service: 15136074
  • Description: 16-Way F (BN)

Terminal Part Information

  • Terminal/Tray: 7116-4618-02/14
  • Core/Insulation Crimp: P/P
  • Release Tool/Test Probe: J-38125-215/J-35616-64B (L-BU)

Front Passenger Door Module (FPDM) X2

Pin

Wire

Circuit

Function

1-2

--

--

Not Used

3

0.35 D-BU/TN

6133

Local Interconnect Network 2

4

--

--

Not Used

5

0.35 D-GN/WH

1178

Right Front Door Switch Low Reference

6

--

--

Not Used

7

0.5 L-GN/OG

1090

Passenger Door Lock Actuator Lock Control

8

0.5 GY/BK

1663

Passenger Door Lock Actuator Unlock Control

9

0.35 D-GN/WH

5060

Low Speed GMLAN Serial Data

10

0.35 D-BU

5117

Courtesy Lamps Supply Voltage

11

0.35 L-GN/RD

1177

Right Front Door Open Switch Signal

12

--

--

Not Used

13

0.35 TN/WH

746

Right Front Door Ajar Switch Signal

14

0.35 BN/YE

6709

Power Window Switch Right Rear Signal

15

0.35 L-BU

661

Right Courtesy Lamp Control

16

0.35 PK/BN

5865

Power Window Passenger Switch Voltage Reference

Front Passenger Door Module (FPDM) X3


Object Number: 1664581  Size: CH

Connector Part Information

  • OEM: 7283-9040-30
  • Service: See Catalog
  • Description: 10-Way F (BK)

Terminal Part Information

  • Terminal/Tray: 7116-4618-02/14
  • Core/Insulation Crimp: P/P
  • Release Tool/Test Probe: J-38125-215/J-35616-64B (L-BU)

Front Passenger Door Module (FPDM) X3

Pin

Wire

Circuit

Function

1

0.35 PU/WH

889

Right Mirror Motor Down Control

2

0.35 OG/WH

881

Passenger Mirror Motor Left Control

3

0.35 D-GN/YE

628

Passenger Mirror Heating Element Low Reference (DR2/D25)

4-5

--

--

Not Used

6

0.35 TN/PU

330

Right Mirror Motor - Up/Right Control

7

0.35 PU

607

Passenger Mirror Heating Element Supply Voltage (DR2/D25)

8

0.35 PK/BK

5862

LED Control (UFT)

9

--

--

Not Used

10

0.35 BN/L-BU

5478

Low Reference (DS3/D25)

Front Passenger Door Module (FPDM) X4 (KB6)


Object Number: 1664522  Size: CH

Connector Part Information

  • OEM: 7283-9065-40
  • Service: See Catalog
  • Description: 14-Way F (GY)

Terminal Part Information

  • Terminal/Tray: See Terminal Repair Kit
  • Core/Insulation Crimp: See Terminal Repair Kit
  • Release Tool/Test Probe: See Terminal Repair Kit

Front Passenger Door Module (FPDM) X4 (KB6)

Pin

Wire

Circuit

Function

1

0.35 WH/BK

--

Front Passenger Heated Seat Medium Indicator Control

2

0.35 D-GN/BK

--

Front Passenger Heated Seat High Indicator Control

3

0.35 L-GN/BK

--

Front Passenger Heated Seat Cool Switch Signal

4

0.35 BK/WH

--

Front Passenger Heated Seat Switch Low Reference

5

--

--

Not Used

6

0.35 BK

--

Front Passenger Heated Seat Back Cushion Switch Signal

7

0.35 GY

--

Front Passenger Heated Seat Back Only Mode Switch Signal

8

--

--

Not Used

9

0.35 D-BU

--

Front Passenger Heated Seat Switch Lamp Dimming

10

0.35 BN

--

Front Passenger Heated Seat Cool Indicator Control

11

0.35 PU

--

Front Passenger Heated Seat Back Only Mode Indicator Control

12

0.35 OG/WH

--

Front Passenger Heated Seat Back Cushion Indicator Control

13

0.35 BN/WH

--

Front Passenger Heated Seat Low Indicator Control

14

--

--

Not Used

Front Passenger Door Module (FPDM) X7


Object Number: 1664543  Size: CH

Connector Part Information

  • OEM: 7283-9045
  • Service: See Catalog
  • Description: 10-Way F (WH)

Terminal Part Information

  • Terminal/Tray: 7116-4618-02/14
  • Core/Insulation Crimp: P/P
  • Release Tool/Test Probe: J-38125-215/J-35616-64B (L-BU)

Front Passenger Door Module (FPDM) X7

Pin

Wire

Circuit

Function

1

0.35 YE

190

Folding Mirror Motor Extend Control (DL3)

2

0.35 L-BU

191

Folding Mirror Motor Retract Control (DL3)

3

--

--

Not Used

4

0.35 BN

787

Passenger Mirror Vertical Position Sensor Signal (UFT)

5

0.35 L-BU/BK

785

Passenger Mirror Horizontal Position Sensor Signal (UFT)

6

--

--

Not Used

7

0.35 YE/PU

674

5-Volt Reference (A45)

8

0.35 PK

5861

LED Signal (UFT)

9

--

--

Not Used

10

0.35 L-GN/PU

675

Low Reference (A45)

Fuel Injector 1


Object Number: 1527729  Size: CH

Connector Part Information

  • OEM: 15419715
  • Service: 88988313
  • Description: 2-Way F Metri-Pack 150 Series Sealed (GY)

Terminal Part Information

  • Terminal/Tray: 12191819/8
  • Core/Insulation Crimp: E/A
  • Release Tool/Test Probe: 15315247/J-35616-2A (GY)

Fuel Injector 1

Pin

Wire

Circuit

Function

A

0.5 PK/GY

5291

Ignition 1 Voltage

B

0.5 BN/BK

1744

Fuel Injector 1 Control

Fuel Injector 2


Object Number: 1527729  Size: CH

Connector Part Information

  • OEM: 15419715
  • Service: 88988313
  • Description: 2-Way F Metri-Pack 150 Series Sealed (GY)

Terminal Part Information

  • Terminal/Tray: 12191819/8
  • Core/Insulation Crimp: E/A
  • Release Tool/Test Probe: 15315247/J-35616-2A (GY)

Fuel Injector 2

Pin

Wire

Circuit

Function

A

0.5 PK/BK

5292

Ignition 1 Voltage

B

0.5 L-GN/BK

1745

Fuel Injector 2 Control

Fuel Injector 3


Object Number: 1527729  Size: CH

Connector Part Information

  • OEM: 15419715
  • Service: 88988313
  • Description: 2-Way F Metri-Pack 150 Series Sealed (GY)

Terminal Part Information

  • Terminal/Tray: 12191819/8
  • Core/Insulation Crimp: E/A
  • Release Tool/Test Probe: 15315247/J-35616-2A (GY)

Fuel Injector 3

Pin

Wire

Circuit

Function

A

0.5 PK/GY

5291

Ignition 1 Voltage

B

0.5 PK

1746

Fuel Injector 3 Control

Fuel Injector 4


Object Number: 1527729  Size: CH

Connector Part Information

  • OEM: 15419715
  • Service: 88988313
  • Description: 2-Way F Metri-Pack 150 Series Sealed (GY)

Terminal Part Information

  • Terminal/Tray: 12191819/8
  • Core/Insulation Crimp: E/A
  • Release Tool/Test Probe: 15315247/J-35616-2A (GY)

Fuel Injector 4

Pin

Wire

Circuit

Function

A

0.5 PK/BK

5292

Ignition 1 Voltage

B

0.5 L-BU/BK

844

Fuel Injector 4 Control

Fuel Injector 5


Object Number: 1527729  Size: CH

Connector Part Information

  • OEM: 15419715
  • Service: 88988313
  • Description: 2-Way F Metri-Pack 150 Series Sealed (GY)

Terminal Part Information

  • Terminal/Tray: 12191819/8
  • Core/Insulation Crimp: E/A
  • Release Tool/Test Probe: 15315247/J-35616-2A (GY)

Fuel Injector 5

Pin

Wire

Circuit

Function

A

0.5 PK/GY

5291

Ignition 1 Voltage

B

0.5 BN/WH

845

Fuel Injector 5 Control

Fuel Injector 6


Object Number: 1527729  Size: CH

Connector Part Information

  • OEM: 15419715
  • Service: 88988313
  • Description: 2-Way F Metri-Pack 150 Series Sealed (GY)

Terminal Part Information

  • Terminal/Tray: 12191819/8
  • Core/Insulation Crimp: E/A
  • Release Tool/Test Probe: 15315247/J-35616-2A (GY)

Fuel Injector 6

Pin

Wire

Circuit

Function

A

0.5 PK/BK

5292

Ignition 1 Voltage

B

0.5 YE/BK

846

Fuel Injector 6 Control

Fuel Injector 7


Object Number: 1527729  Size: CH

Connector Part Information

  • OEM: 15419715
  • Service: 88988313
  • Description: 2-Way F Metri-Pack 150 Series Sealed (GY)

Terminal Part Information

  • Terminal/Tray: 12191819/8
  • Core/Insulation Crimp: E/A
  • Release Tool/Test Probe: 15315247/J-35616-2A (GY)

Fuel Injector 7

Pin

Wire

Circuit

Function

A

0.5 PK/GY

5291

Ignition 1 Voltage

B

0.5 OG/BK

877

Fuel Injector 7 Control

Fuel Injector 8


Object Number: 1527729  Size: CH

Connector Part Information

  • OEM: 15419715
  • Service: 88988313
  • Description: 2-Way F Metri-Pack 150 Series Sealed (GY)

Terminal Part Information

  • Terminal/Tray: 12191819/8
  • Core/Insulation Crimp: E/A
  • Release Tool/Test Probe: 15315247/J-35616-2A (GY)

Fuel Injector 8

Pin

Wire

Circuit

Function

A

0.5 PK/BK

5292

Ignition 1 Voltage

B

0.5 RD/BK

878

Fuel Injector 8 Control

Fuel Pump and Sender Assembly


Object Number: 684908  Size: CH

Connector Part Information

  • OEM: 15326632
  • Service: 15306360
  • Description: 4-Way F GT 280 Series Sealed 5.8 (BK)

Terminal Part Information

  • Terminal/Tray: See Terminal Repair Kit
  • Core/Insulation Crimp: See Terminal Repair Kit
  • Release Tool/Test Probe: See Terminal Repair Kit

Fuel Pump and Sender Assembly

Pin

Wire

Circuit

Function

A

1 BK

1050

Ground

B

0.35 PU

1589

Primary Fuel Level Sensor Signal

C

0.35 BK/WH

651

Low Reference

D

1 GY

120

Fuel Pump Supply Voltage

Fuel Tank Pressure (FTP) Sensor


Object Number: 2004806  Size: CH

Connector Part Information

  • OEM: 12059595
  • Service: 88986451
  • Description: 3-Way F Metri-Pack 150 Series Sealed (BK)

Terminal Part Information

  • Terminal/Tray: See Terminal Repair Kit
  • Core/Insulation Crimp: See Terminal Repair Kit
  • Release Tool/Test Probe: See Terminal Repair Kit

Fuel Tank Pressure (FTP) Sensor

Pin

Wire

Circuit

Function

1

0.5 TN

2759

Low Reference

2

0.5 D-GN

890

Fuel Tank Pressure Sensor Signal

3

0.35 GY

416

5-Volt Reference

Garage Door Opener Transmitter (UG1)


Object Number: 406848  Size: CH

Connector Part Information

  • OEM: 12162335
  • Service: 12162335
  • Description: 3-Way F (WH)

Terminal Part Information

  • Terminal/Tray: 08-50-0115/20
  • Core/Insulation Crimp: E/C
  • Release Tool/Test Probe: J-38125-213/J-35616-4A (PU)

Garage Door Opener Transmitter (UG1)

Pin

Wire

Circuit

Function

1

0.35 RD/D-GN

1040

Battery Positive Voltage

2

0.35 GY

8

Instrument Panel Lamp Supply Voltage

3

0.5 TN/GY

1355

Valet Mode Switch Signal

Generator X1


Object Number: 1283861  Size: CH

Connector Part Information

  • OEM: 1928403137
  • Service: 89046837
  • Description: 2-Way F JPT, Sealed (BK)

Terminal Part Information

  • Terminal/Tray: 4-964286-1/16
  • Core/Insulation Crimp: E/1
  • Release Tool/Test Probe: 12093647/J-35616-4A (PU)

Generator X1

Pin

Wire

Circuit

Function

1

0.5 OG

225

Generator Turn On Signal

2

0.5 GY

23

Generator Field Duty Cycle Signal

Generator X2

Terminal Part Information

  • Terminal: 12146365
  • Core/Insulation Crimp: N/A
  • Description: Ring Terminal

Generator X2

Pin

Wire

Circuit

Function

--

13 RD/BK

1

Battery Positive Voltage

Hazard Switch


Object Number: 333035  Size: CH

Connector Part Information

  • OEM: 12047781
  • Service: 12101864
  • Description: 3-Way F Metri-Pack 150 Series (BK)

Terminal Part Information

  • Pins: A
  • Terminal/Tray: 12047767/2
  • Core/Insulation Crimp: E/A
  • Release Tool/Test Probe: 12094429/J-35616-2A (GY)
  • Pins: B, C
  • Terminal/Tray: 12064971/5
  • Core/Insulation Crimp: E/C
  • Release Tool/Test Probe: 12094429/J-35616-2A (GY)

Hazard Switch

Pin

Wire

Circuit

Function

A

0.35 GY

8

Instrument Panel Lamp Supply Voltage

B

0.35 BK

350

Ground

C

0.35 TN

2144

Hazard Switch Signal

Headlamp Ballast - Left (without T72)


Object Number: 1911012  Size: CH

Connector Part Information

  • OEM: 43025-0400
  • Service: See Catalog
  • Description: 4-Way F Micro-Fit 3.0 Series (WH)

Terminal Part Information

  • Terminal/Tray: See Terminal Repair Kit
  • Core/Insulation Crimp: See Terminal Repair Kit
  • Release Tool/Test Probe: See Terminal Repair Kit

Headlamp Ballast - Left (without T72)

Pin

Wire

Circuit

Function

1

0.5 BK/PU

949

Left Headlamp High/Low Beam Solenoid

2

0.5 D-GN/WH

711

Left Headlamp High Beam Supply Voltage

3

2 BK

250

Ground

4

3 YE

712

Left Headlamp Low Beam Supply Voltage

Headlamp Ballast - Right (without T72)


Object Number: 1911012  Size: CH

Connector Part Information

  • OEM: 43025-0400
  • Service: See Catalog
  • Description: 4-Way F Micro-Fit 3.0 Series (WH)

Terminal Part Information

  • Terminal/Tray: See Terminal Repair Kit
  • Core/Insulation Crimp: See Terminal Repair Kit
  • Release Tool/Test Probe: See Terminal Repair Kit

Headlamp Ballast - Right (without T72)

Pin

Wire

Circuit

Function

1

0.5 BK/PU

949

Right Headlamp High/Low Beam Solenoid

2

0.5 D-GN/WH

311

Right Headlamp High Beam Supply Voltage

3

2 BK

250

Ground

4

3 YE

312

Right Headlamp Low Beam Supply Voltage

Headlamp High/Low Beam Solenoid - Left


Object Number: 1661439  Size: CH

Connector Part Information

  • OEM: 968705
  • Service: See Catalog
  • Description: 3-Way F AMP (GN)

Terminal Part Information

  • Terminal/Tray: See Terminal Repair Kit
  • Core/Insulation Crimp: See Terminal Repair Kit
  • Release Tool/Test Probe: See Terminal Repair Kit

Headlamp High/Low Beam Solenoid - Left

Pin

Wire

Circuit

Function

1

0.5 D-GN/WH

711

Left Headlamp High Beam Supply Voltage

2

--

--

Not Used

3

0.35 BK/PU

--

Headlamp Ballast

Headlamp High/Low Beam Solenoid - Right


Object Number: 1661439  Size: CH

Connector Part Information

  • OEM: 968705
  • Service: See Catalog
  • Description: 3-Way F AMP (GN)

Terminal Part Information

  • Terminal/Tray: See Terminal Repair Kit
  • Core/Insulation Crimp: See Terminal Repair Kit
  • Release Tool/Test Probe: See Terminal Repair Kit

Headlamp High/Low Beam Solenoid - Right

Pin

Wire

Circuit

Function

1

0.5 D-GN/WH

311

Right Headlamp High Beam Supply Voltage

2

--

--

Not Used

3

0.35 BK/PU

--

Headlamp Ballast

Headlamp Switch


Object Number: 850856  Size: CH

Connector Part Information

  • OEM: 15416970
  • Service: 22715969
  • Description: 16-Way F Micro-Pack 64 Series (BK)

Terminal Part Information

  • Terminal/Tray: 15359541/4
  • Core/Insulation Crimp: M/M
  • Release Tool/Test Probe: 15381651-2/J-35616-64B (L-BU)

Headlamp Switch

Pin

Wire

Circuit

Function

1

0.35 WH

103

Headlamp Switch Headlamps On Signal

2

0.35 L-BU

13

Park Lamp Switch ON Signal

3

0.35 D-GN

306

Headlamp Switch OFF Signal

4-5

--

--

Not Used

6

0.35 OG

192

Front Fog Lamp Switch Signal

7

0.35 YE

1491

Backlight Lamp Control

8

0.35 BK

450

Ground

9

0.35 D-GN

900

Lane Departure Warning On Signal (UFL)

10

0.35 L-BU

383

Trunk Release Control

11

0.35 PU/WH

1382

LED Dimming Signal (UFL)

12

0.35 PK/BK

1597

Courtesy Lamp Switch On Signal

13

0.35 PK

1444

I/P Dimming Signal

14

--

--

Not Used

15

0.35 OG/WH

812

12-Volt Reference

16

0.35 OG

901

Lane Departure Warning Control (UFL)

Heated Oxygen Sensor (HO2S) 2


Object Number: 280761  Size: CH

Connector Part Information

  • OEM: 12160825
  • Service: 15305801
  • Description: 4-Way M Metri-Pack 150 Series Sealed (BK)

Terminal Part Information

  • Terminal/Tray: 12045773/2
  • Core/Insulation Crimp: E/1
  • Release Tool/Test Probe: 12094429/J-35616-3 (GY)

Heated Oxygen Sensor (HO2S) 2

Pin

Wire

Circuit

Function

A

0.5 BN/PK

3121

HO2S 2 Low Signal

B

0.5 PK/OG

3120

HO2S 2 High Signal

C

0.8 GY/WH

3122

HO2S 2 Heater Low Control

D

0.8 PK/BK

5294

Engine Main Relay Fused Control

Heated Oxygen Sensor (HO2S) Bank 1 Sensor 1


Object Number: 456551  Size: CH

Connector Part Information

  • OEM: 12160482
  • Service: 88988598
  • Description: 4-Way F Sealed (BK)

Terminal Part Information

  • Terminal/Tray: 12048074/2
  • Core/Insulation Crimp: E/1
  • Release Tool/Test Probe: 12094429/J-35616-2A (GY)

Heated Oxygen Sensor (HO2S) Bank 1 Sensor 1

Pin

Wire

Circuit

Function

A

0.5 BN/WH

3211

HO2S Low Reference Bank 1 Sensor 1

B

0.5 PU/WH

3210

HO2S Reference Voltage Bank 1 Sensor 1

C

0.8 L-GN/WH

3112

HO2S Heater Low Control Bank 1 Sensor 1

D

0.8 PK/BK

5293

Powertrain Main Relay Fused Supply

Heated Oxygen Sensor (HO2S) Bank 2 Sensor 1


Object Number: 456551  Size: CH

Connector Part Information

  • OEM: 12160482
  • Service: 88988598
  • Description: 4-Way F Sealed (BK)

Terminal Part Information

  • Terminal/Tray: 12048074/2
  • Core/Insulation Crimp: E/1
  • Release Tool/Test Probe: 12094429/J-35616-2A (GY)

Heated Oxygen Sensor (HO2S) Bank 2 Sensor 1

Pin

Wire

Circuit

Function

A

0.35 BN/OG

3111

HO2S Low Reference Bank 2 Sensor 1

B

0.35 GN

3110

HO2S Reference Voltage Bank 2 Sensor 1

C

0.35 WH

3113

HO2S Heater Low Control Bank 2 Sensor 1

D

0.8 PK/BK

5293

Powertrain Main Relay Fused Supply

Heated Seat Element - Left Rear Back (KA6)


Object Number: 40399  Size: CH

Connector Part Information

  • OEM: 12064761
  • Service: See Catalog
  • Description: 4-Way M Metri-Pack 150 Series (BK)

Terminal Part Information

  • Terminal/Tray: 12047581/2
  • Core/Insulation Crimp: Pins A, B - E/A
  • Core/Insulation Crimp: Pins C, D - E/C
  • Release Tool/Test Probe: 12094429/J-35616-3 (GY)

Heated Seat Element - Left Rear Back (KA6)

Pin

Wire

Circuit

Function

A

0.8 BN

2295

Left Heated Seat Element Supply Voltage

B

0.8 BK/WH

2432

Left Heated Seat Back Element Control

C

0.35 L-GN

7045

Left Rear Heated Seat Back Temperature Sensor Signal

D

0.35 L-GN/WH

7046

Left Rear Heated Seat Back Temperature Sensor Low Reference

Heated Seat Element - Left Rear Cushion (KA6)


Object Number: 283890  Size: CH

Connector Part Information

  • OEM: 12066498
  • Service: 12085536
  • Description: 4-Way F Metri-Pack 150 Series (BK)

Terminal Part Information

  • Terminal/Tray: 12047581/2
  • Core/Insulation Crimp: Pins A, B - E/A
  • Core/Insulation Crimp: Pins C, D - E/C
  • Release Tool/Test Probe: 12094429/J-35616-3 (GY)

Heated Seat Element - Left Rear Cushion (KA6)

Pin

Wire

Circuit

Function

A

0.8 BN

2295

Left Heated Seat Element Supply Voltage

B

0.8 GY

2294

Left Seat Cushion Element Control

C

0.35 L-BU

7047

Left Rear Passenger Heated Seat Cushion Temperature Sensor Signal

D

0.35 L-BU/WH

7048

Left Rear Passenger Heated Seat Cushion Temperature Sensor Low Reference

Heated Seat Element - Right Rear Back (KA6)


Object Number: 40399  Size: CH

Connector Part Information

  • OEM: 12064761
  • Service: See Catalog
  • Description: 4-Way M Metri-Pack 150 Series (BK)

Terminal Part Information

  • Terminal/Tray: 12047581/2
  • Core/Insulation Crimp: Pins A, B - E/A
  • Core/Insulation Crimp: Pins C, D - E/C
  • Release Tool/Test Probe: 12094429/J-35616-3 (GY)

Heated Seat Element - Right Rear Back (KA6)

Pin

Wire

Circuit

Function

A

0.8 BN/WH

2297

Right Heated Seat Element Supply Voltage

B

0.8 TN

2481

Right Heated Seat Back Element Control

C

0.35 YE

7049

Right Rear Heated Seat Back Temperature Sensor Signal

D

0.35 YE/BK

7052

Right Rear Heated Seat Back Low Reference

Heated Seat Element - Right Rear Cushion (KA6)


Object Number: 283890  Size: CH

Connector Part Information

  • OEM: 12066498
  • Service: 12085536
  • Description: 4-Way F Metri-Pack 150 Series (BK)

Terminal Part Information

  • Terminal/Tray: 12047581/2
  • Core/Insulation Crimp: Pins A, B - E/A
  • Core/Insulation Crimp: Pins C, D - E/C
  • Release Tool/Test Probe: 12094429/J-35616-3 (GY)

Heated Seat Element - Right Rear Cushion (KA6)

Pin

Wire

Circuit

Function

A

0.8 BN/WH

2297

Right Heated Seat Element Supply Voltage

B

0.8 D-GN

2296

Right Heated Seat Cushion Element Control

C

0.35 OG

7053

Right Rear Cushion Temperature Sensor Signal

D

0.35 OG/WH

7054

Right Rear Cushion Temperature Sensor Low Reference

Heated Seat Module - Rear X1 (KA6)


Object Number: 1664577  Size: CH

Connector Part Information

  • OEM: 6098-4606
  • Service: See Catalog
  • Description: 6-Way F (BN)

Terminal Part Information

  • Terminal/Tray: 8100-4444/22
  • Core/Insulation Crimp: 2/A
  • Release Tool/Test Probe: 15315247/J-35616-35 (VT)

Heated Seat Module - Rear X1 (KA6)

Pin

Wire

Circuit

Function

1

0.8 BK/WH

2432

Left Heated Seat Back Element Control

2

0.8 D-GN

2296

Right Heated Seat Cushion Element Control

3

0.8 BN

2295

Left Heated Seat Element Supply Voltage

4

0.8 TN

2481

Right Heated Seat Back Element Control

5

0.8 GY

2294

Left Seat Cushion Element Control

6

0.8 BN/WH

2297

Right Heated Seat Element Supply Voltage

Heated Seat Module - Rear X2 (KA6)


Object Number: 1664463  Size: CH

Connector Part Information

  • OEM: 6098-4713
  • Service: 88988652
  • Description: 8-Way F (BK)

Terminal Part Information

  • Pins: 1, 2
  • Terminal/Tray: 8100-4444/22
  • Core/Insulation Crimp: 2/A
  • Release Tool/Test Probe: 15315247/J-35616-35 (VT)
  • Pins: 5-8
  • Terminal/Tray: 8100-4443/22
  • Core/Insulation Crimp: E/A
  • Release Tool/Test Probe: 15315247/J-35616-35 (VT)

Heated Seat Module - Rear X2 (KA6)

Pin

Wire

Circuit

Function

1

1 TN/D-GN

4040

Battery Positive Voltage

2

0.8 BK

750

Ground

3-4

--

--

Not Used

5

0.35 L-GN/WH

7046

Left Rear Heated Seat Back Temperature Sensor Low Reference

6

0.35 L-BU/WH

7048

Left Rear Passenger Heated Seat Cushion Temperature Sensor Low Reference

7

0.35 YE/BK

7052

Right Rear Heated Seat Back Low Reference

8

0.35 OG/WH

7054

Right Rear Cushion Temperature Sensor Low Reference

Heated Seat Module - Rear X3 (KA6)


Object Number: 1664581  Size: CH

Connector Part Information

  • OEM: 7283-9040-30
  • Service: See Catalog
  • Description: 10-Way F (BK)

Terminal Part Information

  • Terminal/Tray: 7116-4618-02/14
  • Core/Insulation Crimp: P/P
  • Release Tool/Test Probe: J-38125-215/J-35616-64B (L-BU)

Heated Seat Module - Rear X3 (KA6)

Pin

Wire

Circuit

Function

1-3

--

--

Not Used

4

0.35 TN/WH

1638

Heated Seat High Indicator Control

5

0.35 PK/YE

1631

Heated Seat Low Indicator Control

6

0.35 D-GN

5060

Low Speed GMLAN Serial Data

7-8

--

--

Not Used

9

0.35 TN/YE

1635

Heated Seat High Indicator Control

10

0.35 PK/D-BU

1636

Heated Seat Low Indicator Control

Heated Seat Module - Rear X4 (KA6)


Object Number: 1664552  Size: CH

Connector Part Information

  • OEM: 31410-1200
  • Service: See Catalog
  • Description: 20-Way F (BK)

Terminal Part Information

  • Terminal/Tray: 7116-4618-02/14
  • Core/Insulation Crimp: P/P
  • Release Tool/Test Probe: J-38125-215/J-35616-64B (L-BU)

Heated Seat Module - Rear X4 (KA6)

Pin

Wire

Circuit

Function

1

0.35 PU/WH

6597

Left Rear Heated Seat Back Cushion Switch Signal

2

--

--

Not Used

3

0.35 PU

6596

Right Rear Heated Seat Back Only Mode Switch Signal

4-5

--

--

Not Used

6

0.35 D-BU/WH

6586

Heated Seat Medium Indicator Control

7

0.35 L-GN/BK

6592

Right Rear Heated Seat Heat Back Cushion Indicator Control

8

--

--

Not Used

9

0.35 L-BU

7047

Left Rear Passenger Heated Seat Cushion Temperature Sensor Signal

10

0.35 YE

7049

Right Rear Heated Seat Back Temperature Sensor Signal

11

0.35 PK/BK

6595

Left Rear Heated Seat Back Only Mode Switch Signal

12-13

--

--

Not Used

14

0.35 TN

6598

Right Rear Heated Seat Back Cushion Switch Signal

15

0.35 L-BU/BK

6589

Left Rear Heated Seat Back Only Mode Indicator Control

16

0.35 BN/WH

6585

Heated Seat Medium Indicator Control

17

0.35 L-GN

6591

Left Rear Heated Seat Heat Back Cushion Indicator Control

18

0.35 L-BU/WH

6590

Right Rear Heated Seat Back Only Mode Indicator Control

19

0.35 L-GN

7045

Left Rear Heated Seat Back Temperature Sensor Signal

20

0.35 OG

7053

Right Rear Cushion Temperature Sensor Signal

Heated Seat Switch - Left Rear (KA6)


Object Number: 646388  Size: CH

Connector Part Information

  • OEM: 15332158
  • Service: 88953270
  • Description: 10-Way M GT 150 Series (BK)

Terminal Part Information

  • Terminal/Tray: 15304702/19
  • Core/Insulation Crimp: E/C
  • Release Tool/Test Probe: 15315247/J-35616-3 (GY)

Heated Seat Switch - Left Rear (KA6)

Pin

Wire

Circuit

Function

A

0.35 PK/BK

6595

Left Rear Heated Seat Back Only Mode Switch Signal

B

0.35 L-BU/BN

6589

Left Rear Heated Seat Back Only Mode Indicator Control

C

0.35 PK/YE

1631

Heated Seat Low Indicator Control

D

0.35 BN/WH

6585

Heated Seat Medium Indicator Control

E

0.35 TN/WH

1638

Heated Seat High Indicator Control

F

0.35 GY

8

Instrument Panel Lamp Supply Voltage

G

0.35 PU/WH

6597

Left Rear Heated Seat Back Cushion Switch Signal

H

0.35 L-GN

6591

Left Rear Heated Seat Heat Back Cushion Indicator Control

J

0.35 BK

750

Ground

K

0.35 PU

1382

LED Dimming Signal

Heated Seat Switch - Right Rear (KA6)


Object Number: 646388  Size: CH

Connector Part Information

  • OEM: 15332158
  • Service: 88953270
  • Description: 10-Way M GT 150 Series (BK)

Terminal Part Information

  • Terminal/Tray: 15304702/19
  • Core/Insulation Crimp: E/C
  • Release Tool/Test Probe: 15315247/J-35616-3 (GY)

Heated Seat Switch - Right Rear (KA6)

Pin

Wire

Circuit

Function

A

0.35 PK/BK

6595

Right Rear Heated Seat Back Only Mode Switch Signal

B

0.35 L-BU/BN

6589

Right Rear Heated Seat Back Only Mode Indicator Control

C

0.35 PK/YE

1631

Heated Seat Low Indicator Control

D

0.35 BN/WH

6585

Heated Seat Medium Indicator Control

E

0.35 TN/WH

1638

Heated Seat High Indicator Control

F

0.35 GY

8

Instrument Panel Lamp Supply Voltage

G

0.35 PU/WH

6597

Right Rear Heated Seat Back Cushion Switch Signal

H

0.35 L-GN

6591

Right Rear Heated Seat Heat Back Cushion Indicator Control

J

0.35 BK

750

Ground

K

0.35 PU

1382

LED Dimming Signal

Heated Steering Wheel Element (N30)


Object Number: 894480  Size: CH

Connector Part Information

  • OEM: 12064778
  • Service: See Catalog
  • Description: 2-Way M Metri-Pack 150 Series (L-GN)

Terminal Part Information

  • Terminal/Tray: 120475581/2
  • Core/Insulation Crimp: E/A
  • Release Tool/Test Probe: 12094429/J-35616-3 (GY)

Heated Steering Wheel Element (N30)

Pin

Wire

Circuit

Function

A

0.35 RD/WH

5888

Heated Steering Wheel High Control

B

0.35 RD/WH

5886

Heated Steering Wheel Sensor Signal

Heated Steering Wheel Module (N30)


Object Number: 901282  Size: CH

Connector Part Information

  • OEM: 15327190
  • Service: See Catalog
  • Description: 8-Way F (BK)

Terminal Part Information

  • Terminal/Tray: See Terminal Tray
  • Core/Insulation Crimp: See Terminal Tray
  • Release Tool/Test Probe: See Terminal Tray

Heated Steering Wheel Module (N30)

Pin

Wire

Circuit

Function

1

0.35 BK

350

Ground

2

--

--

Not Used

3

0.35 BK/WH

5883

Heated Steering Wheel Switch LED Control

4

1 RD

41

Ignition 3 Voltage

5

0.35 GY

5886

Heated Steering Wheel Sensor Signal

6

0.35 RD/WH

5884

Heated Steering Wheel High Control

7

0.35 YE

5888

Heated Steering Wheel Switch Signal

8

--

--

Not Used

Hood Ajar Switch


Object Number: 646415  Size: CH

Connector Part Information

  • OEM: 15326808
  • Service: See Catalog
  • Description: 3-Way F GT 150 Series Sealed 4.5 (BK)

Terminal Part Information

  • Terminal/Tray: 12191819/8
  • Core/Insulation Crimp: E/A
  • Release Tool/Test Probe: 15315247/J-35616-2A (GY)

Hood Ajar Switch

Pin

Wire

Circuit

Function

A

0.35 PK/BK

109

Hood Ajar Switch Signal

B

0.35 PU/OG

5531

Hood Closed Switch Signal

C

0.35 BK

250

Ground

Horn Assembly


Object Number: 603098  Size: CH

Connector Part Information

  • OEM: 15305086
  • Service: 15306318
  • Description: 2-Way F Metri-Pack 150 Series Sealed (BK)

Terminal Part Information

  • Terminal/Tray: 12176636/19
  • Core/Insulation Crimp: C/1
  • Release Tool/Test Probe: 12094429/J-35616-2A (GY)

Horn Assembly

Pin

Wire

Circuit

Function

A

0.8 BK

250

Ground

B

0.8 GN

29

Horn Control

Horn Switch


Object Number: 1335523  Size: CH

Connector Part Information

  • OEM: 50-57-9402
  • Service: See Catalog
  • Description: 2-Way F C Grid/SL 70066G Series (BK)

Terminal Part Information

  • Terminal/Tray: See Terminal Repair Kit
  • Core/Insulation Crimp: See Terminal Repair Kit
  • Release Tool/Test Probe: See Terminal Repair Kit

Horn Switch

Pin

Wire

Circuit

Function

1

0.35 TN

28

Horn Relay Control

2

0.35 BK

350

Ground

HVAC Control Module - Auxiliary (CJ4)


Object Number: 1664584  Size: CH

Connector Part Information

  • OEM: X40383-B523
  • Service: See Catalog
  • Description: 10-Way F (BK)

Terminal Part Information

  • Terminal/Tray: See Terminal Repair Kit
  • Core/Insulation Crimp: See Terminal Repair Kit
  • Release Tool/Test Probe: See Terminal Repair Kit

HVAC Control Module - Auxiliary (CJ4)

Pin

Wire

Circuit

Function

1

0.35 RD/D-GN

1040

Battery Positive Voltage

2-3

--

--

Not Used

4

0.35 L-GN

2211

Rear Blower Motor Speed Control

5

0.35 OG

761

Blower Speed Feed Back Signal

6

0.35 D-GN

5060

Low Speed GMLAN Serial Data

7

--

--

Not Used

8

0.35 BK

450

Ground

9

--

--

Not Used

10

0.35 GY

8

Backlight Lamp Control (AQ9)

0.35 YE

1491

Backlight Lamp Control (AV8)

HVAC Control Module X1


Object Number: 1664585  Size: CH

Connector Part Information

  • OEM: 7283-4544-30
  • Service: See Catalog
  • Description: 18-Way F (BK)

Terminal Part Information

  • Terminal/Tray: 7116-4618-02/14
  • Core/Insulation Crimp: P/P
  • Release Tool/Test Probe: J-38125-215/J-35616-64B (L-BU)

HVAC Control Module X1

Pin

Wire

Circuit

Function

1

0.35 GY

598

5-Volt Reference

2

0.35 BN

64

High Blower Motor Relay Control (CJ4)

3

0.35 WH

193

Rear Defog Relay Control

4

0.35 D-GN

5060

Low Speed GMLAN Serial Data

5

0.35 D-GN

5060

Low Speed GMLAN Serial Data

6

--

--

Not Used

7

0.35 GY/PK

754

Blower Motor Speed Control

8

--

--

Not Used

9

0.35 OG/PK

1840

Battery Positive Voltage

10

0.35 GY/BK

1798

Low Reference

11

0.35 BK

350

Ground

12-14

--

--

Not Used

15

0.35 WH/BK

5515

Air Temperature Motor Control

16-17

--

--

Not Used

18

0.35 PK

339

Ignition 1 Voltage

HVAC Control Module X2


Object Number: 1664586  Size: CH

Connector Part Information

  • OEM: 7283-9081
  • Service: See Catalog
  • Description: 16-Way F (WH)

Terminal Part Information

  • Terminal/Tray: 7116-4618-02/14
  • Core/Insulation Crimp: P/P
  • Release Tool/Test Probe: J-38125-215/J-35616-64B (L-BU)

HVAC Control Module X2

Pin

Wire

Circuit

Function

1

--

--

Not Used

2

0.35 L-BU

733

Driver Air Temperature Door Position Signal

3

0.35 YE/BK

1814

Lower Mode Door Position Signal

4

0.35 GY

1548

Right Sunload Sensor Signal

5

0.35 L-BU/BK

590

Left Sunload Sensor Signal

6

0.35 WH

2622

Evaporator Low Temperature Sensor Signal

7

0.35 L-GN/BK

735

Ambient Air Temperature Sensor Signal

8

0.35 D-GN

734

Inside Air Temperature Sensor Signal

9

--

--

Not Used

10

0.35 D-BU

1646

Passenger Air Temperature Door Position

11

0.35 L-BU/OG

706

Recirculation Valve Solenoid Signal

12

0.35 PK

2145

Rear Air Temperature Door Position (CJ4)

13

0.35 GY

2599

Rear Mode Door Position Signal (CJ4)

14-16

--

--

Not Used

HVAC Control Module X3


Object Number: 1664588  Size: CH

Connector Part Information

  • OEM: 7283-4548-60
  • Service: See Catalog
  • Description: 18-Way F (GN)

Terminal Part Information

  • Terminal/Tray: 7116-4618-02/14
  • Core/Insulation Crimp: P/P
  • Release Tool/Test Probe: J-38125-215/J-35616-64B (L-BU)

HVAC Control Module X3

Pin

Wire

Circuit

Function

1

0.35 PU/WH

1382

LED Dimming Signal

2

0.35 YE

1491

Backlight Lamp Control

3

0.35 GY

2614

Rear Air Temperature Door Control A (CJ4)

4

0.35 WH/BK

1236

Passenger Air Temperature Door Control B

5

0.35 L-BU/YE

1199

Driver Air Temperature Door Control B

6

0.35 D-GN

1614

Recirculation Door Control B

7

0.35 YE/WH

1318

Lower Mode Door Control B

8

0.35 L-GN/WH

5729

Rear Mode Door Control A (CJ4)

9-11

--

--

Not Used

12

0.35 BK/YE

2214

Rear Air Temperature Door Control B (CJ4)

13

0.35 L-BU/PU

1641

Passenger Air Temperature Door Control A

14

0.35 YE/GY

1791

Driver Air Temperature Door Control A

15

0.35 TN/BK

2274

Recirculation Door Control A

16

0.35 TN

2273

Mode Door Control A

17

0.35 L-GN/BK

5730

Rear Mode Door Control B (CJ4)

18

--

--

Not Used

I/P Compartment Lamp


Object Number: 82383  Size: CH

Connector Part Information

  • OEM: 12047662
  • Service: 12085535
  • Description: 2-Way F Metri-Pack 150 Series (BK)

Terminal Part Information

  • Terminal/Tray: 12064971/5
  • Core/Insulation Crimp: E/C
  • Release Tool/Test Probe: 12094429/J-35616-2A (GY)

I/P Compartment Lamp

Pin

Wire

Circuit

Function

A

0.5 OG

1732

12-Volt Reference

B

0.5 BK

450

Ground

Ignition Coil 1


Object Number: 1711350  Size: CH

Connector Part Information

  • OEM: 7283-7449-30
  • Service: See Catalog
  • Description: 4-Way F Metri-Pack 150 Series Sealed (BK)

Terminal Part Information

  • Terminal/Tray: See Terminal Repair Kit
  • Core/Insulation Crimp: See Terminal Repair Kit
  • Release Tool/Test Probe: See Terminal Repair Kit

Ignition Coil 1

Pin

Wire

Circuit

Function

A

0.5 PK

5291

Ignition 1 Voltage

B

0.5 RD

2121

IC 1 Control

C

0.5 BN

2129

Low Reference

D

0.5 BK

1451

Ground

Ignition Coil 2


Object Number: 1711350  Size: CH

Connector Part Information

  • OEM: 7283-7449-30
  • Service: See Catalog
  • Description: 4-Way F Metri-Pack 150 Series Sealed (BK)

Terminal Part Information

  • Terminal/Tray: See Terminal Repair Kit
  • Core/Insulation Crimp: See Terminal Repair Kit
  • Release Tool/Test Probe: See Terminal Repair Kit

Ignition Coil 2

Pin

Wire

Circuit

Function

A

0.5 PK

5292

Ignition 1 Voltage

B

0.5 PU

2122

IC 2 Control

C

0.5 BN

2130

Low Reference

D

0.5 BK

1451

Ground

Ignition Coil 3


Object Number: 1711350  Size: CH

Connector Part Information

  • OEM: 7283-7449-30
  • Service: See Catalog
  • Description: 4-Way F Metri-Pack 150 Series Sealed (BK)

Terminal Part Information

  • Terminal/Tray: See Terminal Repair Kit
  • Core/Insulation Crimp: See Terminal Repair Kit
  • Release Tool/Test Probe: See Terminal Repair Kit

Ignition Coil 3

Pin

Wire

Circuit

Function

A

0.5 PK

5291

Ignition 1 Voltage

B

0.5 D-GN

2123

IC 3 Control

C

0.5 BN

2129

Low Reference

D

0.5 BK

1451

Ground

Ignition Coil 4


Object Number: 1711350  Size: CH

Connector Part Information

  • OEM: 7283-7449-30
  • Service: See Catalog
  • Description: 4-Way F Metri-Pack 150 Series Sealed (BK)

Terminal Part Information

  • Terminal/Tray: See Terminal Repair Kit
  • Core/Insulation Crimp: See Terminal Repair Kit
  • Release Tool/Test Probe: See Terminal Repair Kit

Ignition Coil 4

Pin

Wire

Circuit

Function

A

0.5 PK

5292

Ignition 1 Voltage

B

0.5-BU

2124

IC 4 Control

C

0.5 BN

2130

Low Reference

D

0.5 BK

1451

Ground

Ignition Coil 5


Object Number: 1711350  Size: CH

Connector Part Information

  • OEM: 7283-7449-30
  • Service: See Catalog
  • Description: 4-Way F Metri-Pack 150 Series Sealed (BK)

Terminal Part Information

  • Terminal/Tray: See Terminal Repair Kit
  • Core/Insulation Crimp: See Terminal Repair Kit
  • Release Tool/Test Probe: See Terminal Repair Kit

Ignition Coil 5

Pin

Wire

Circuit

Function

A

0.5 PK

5291

Ignition 1 Voltage

B

0.5 L-BU

2125

IC 5 Control

C

0.5 BN

2129

Low Reference

D

0.5 BK

1451

Ground

Ignition Coil 6


Object Number: 1711350  Size: CH

Connector Part Information

  • OEM: 7283-7449-30
  • Service: See Catalog
  • Description: 4-Way F Metri-Pack 150 Series Sealed (BK)

Terminal Part Information

  • Terminal/Tray: See Terminal Repair Kit
  • Core/Insulation Crimp: See Terminal Repair Kit
  • Release Tool/Test Probe: See Terminal Repair Kit

Ignition Coil 6

Pin

Wire

Circuit

Function

A

0.5 PK

5292

Ignition 1 Voltage

B

0.5 GN

2126

IC 6 Control

C

0.5 BN

2130

Low Reference

D

0.5 BK

1451

Ground

Ignition Coil 7


Object Number: 1711350  Size: CH

Connector Part Information

  • OEM: 7283-7449-30
  • Service: See Catalog
  • Description: 4-Way F Metri-Pack 150 Series Sealed (BK)

Terminal Part Information

  • Terminal/Tray: See Terminal Repair Kit
  • Core/Insulation Crimp: See Terminal Repair Kit
  • Release Tool/Test Probe: See Terminal Repair Kit

Ignition Coil 7

Pin

Wire

Circuit

Function

A

0.5 PK

5291

Ignition 1 Voltage

B

0.5 PU

2127

IC 7 Control

C

0.5 BN

2129

Low Reference

D

0.5 BK

1451

Ground

Ignition Coil 8


Object Number: 1711350  Size: CH

Connector Part Information

  • OEM: 7283-7449-30
  • Service: See Catalog
  • Description: 4-Way F Metri-Pack 150 Series Sealed (BK)

Terminal Part Information

  • Terminal/Tray: See Terminal Repair Kit
  • Core/Insulation Crimp: See Terminal Repair Kit
  • Release Tool/Test Probe: See Terminal Repair Kit

Ignition Coil 8

Pin

Wire

Circuit

Function

A

0.5 PK

5292

Ignition 1 Voltage

B

0.5 RD

2128

IC 8 Control

C

0.5 BN

2130

Low Reference

D

0.5 BK

1451

Ground

Ignition Lock Cylinder Solenoid (AQ9)


Object Number: 82383  Size: CH

Connector Part Information

  • OEM: 12047662
  • Service: 12085535
  • Description: 2-Way F Metri-Pack 150 Series (BK)

Terminal Part Information

  • Terminal/Tray: See Terminal Repair Kit
  • Core/Insulation Crimp: See Terminal Repair Kit
  • Release Tool/Test Probe: See Terminal Repair Kit

Ignition Lock Cylinder Solenoid (AQ9)

Pin

Wire

Circuit

Function

A

0.35 YE

5905

Ignition Lock Cylinder Solenoid Control

B

0.35 BK

350

Ground

Ignition Switch


Object Number: 1664590  Size: CH

Connector Part Information

  • OEM: HCMPB-C06-K
  • Service: See Catalog
  • Description: 6-Way F (BK)

Terminal Part Information

  • Terminal/Tray: See Terminal Repair Kit
  • Core/Insulation Crimp: See Terminal Repair Kit
  • Release Tool/Test Probe: See Terminal Repair Kit

Ignition Switch

Pin

Wire

Circuit

Function

1

0.35 PK

3

Ignition 1 Voltage

2

0.5 PK/YE

2640

Battery Positive Voltage

3

0.35 BN

4

Accessory Voltage

4

--

--

Not Used

5

0.35 WH

1390

Off/Run/Crank Voltage

6

0.35 WH/BK

1073

5-Volt Reference

Inflatable Restraint Front End Sensor - Left


Object Number: 744046  Size: CH

Connector Part Information

  • OEM: 15356723
  • Service: 15306439
  • Description: 2-Way F GT 150 Sealed 4.0 (YE)

Terminal Part Information

  • Terminal/Tray: Service with Pigtail
  • Core/Insulation Crimp: See Terminal Repair Kit
  • Release Tool/Test Probe: 15315247/J-35616-2A (GY)

Inflatable Restraint Front End Sensor - Left

Pin

Wire

Circuit

Function

A

0.5 TN/OG

5045

Left Front Discriminating Low Reference

B

0.5 YE

1834

SIR Forward Sensor Signal

Inflatable Restraint Front End Sensor - Right


Object Number: 744046  Size: CH

Connector Part Information

  • OEM: 15356723
  • Service: 15306439
  • Description: 2-Way F GT 150 Sealed 4.0 (YE)

Terminal Part Information

  • Terminal/Tray: Service with Pigtail
  • Core/Insulation Crimp: See Terminal Repair Kit
  • Release Tool/Test Probe: 15315247/J-35616-2A (GY)

Inflatable Restraint Front End Sensor - Right

Pin

Wire

Circuit

Function

A

0.5 D-GN

1409

Right Front Discriminating Sensor Signal

B

0.5 GY/RD

5600

Right Front Discriminating Low Reference

Inflatable Restraint I/P Module X1


Object Number: 1861740  Size: CH

Connector Part Information

  • OEM: 252922343
  • Service: See Catalog
  • Description: 2-Way F (YE)

Terminal Part Information

  • Terminal/Tray: Service with Pigtail
  • Core/Insulation Crimp: See Terminal Repair Kit
  • Release Tool/Test Probe: See Terminal Repair Kit

Inflatable Restraint I/P Module X1

Pin

Wire

Circuit

Function

1

0.5 YE

--

I/P Module - Stage 2 - High Control

2

0.5 OG

--

I/P Module - Stage 2 - Low Control

Inflatable Restraint I/P Module X2


Object Number: 1861740  Size: CH

Connector Part Information

  • OEM: 252922343
  • Service: See Catalog
  • Description: 2-Way F (YE)

Terminal Part Information

  • Terminal/Tray: Service with Pigtail
  • Core/Insulation Crimp: See Terminal Repair Kit
  • Release Tool/Test Probe: See Terminal Repair Kit

Inflatable Restraint I/P Module X2

Pin

Wire

Circuit

Function

1

0.5 PU

--

I/P Module - Stage 1 - High Control

2

0.5 GY

--

I/P Module - Stage 1 - Low Control

Inflatable Restraint I/P Module Indicator


Object Number: 1538776  Size: CH

Connector Part Information

  • OEM: HCMPB-05-S
  • Service: See Catalog
  • Description: 5-Way F HCM Series (WH)

Terminal Part Information

  • Terminal/Tray: SHCM-A03T-P025/20
  • Core/Insulation Crimp: J/J
  • Release Tool/Test Probe: 12094429/J-35616-64B (L-BU)

Inflatable Restraint I/P Module Indicator

Pin

Wire

Circuit

Function

1

0.35 D-BU

2307

Passenger Air Bag On Indicator Control

2

0.35 BK

850

Ground

3

0.35 PK/TN

2308

Passenger Air Bag Off Indicator Control

4

0.35 PK/RD

239

Battery Positive Voltage

5

0.35 PU

5234

Passenger Seat Belt Indicator

Inflatable Restraint Passenger Presence System (PPS) Module


Object Number: 1550231  Size: CH

Connector Part Information

  • OEM: 13510845
  • Service: See Catalog
  • Description: 18-Way F Micro-Pack 100W Sealed (BK)

Terminal Part Information

  • Terminal/Tray: 15435885/20
  • Core/Insulation Crimp: W/W
  • Release Tool/Test Probe: 12122523/J-35616-6 (BN)

Inflatable Restraint Passenger Presence System (PPS) Module

Pin

Wire

Circuit

Function

1

0.35 PK/RD

2440

Battery Positive Voltage

2-3

--

--

Not Used

4

0.35 PU

5611

Belt Tension Sensor Signal

5

0.35 BK

350

Ground

6

0.35 YE

5608

Pressure Sensor Signal

7

0.35 GY/D-GN

5609

Pressure Sensor Voltage Reference

8-13

--

--

Not Used

14

0.35 TN

5613

Belt Tension Sensor Low Reference

15

0.35 GY

5610

Pressure Sensor Low Reference

16

0.35 L-BU

5612

Belt Tension Sensor Voltage Reference

17

0.35 D-GN

5060

Low Speed GMLAN Serial Data

18

--

--

Not Used

Inflatable Restraint Passenger Presence System (PPS) Sensor


Object Number: 1424764  Size: CH

Connector Part Information

  • OEM: 15422250
  • Service: 88987995
  • Description: 3-Way F GT 150 Series (GY)

Terminal Part Information

  • Terminal/Tray: 12191819/8
  • Core/Insulation Crimp: E/A
  • Release Tool/Test Probe: 15315247/J-35616-2A (GY)

Inflatable Restraint Passenger Presence System (PPS) Sensor

Pin

Wire

Circuit

Function

A

0.35 GY/D-GN

5609

Pressure Sensor Voltage Reference

B

0.35 YE

5608

Pressure Sensor Signal

C

0.35 GY

5610

Pressure Sensor Low Reference

Inflatable Restraint Roof Rail Module - Left (AY0)


Object Number: 1861740  Size: CH

Connector Part Information

  • OEM: 252912048
  • Service: NA
  • Description: 2-Way F (BK)

Terminal Part Information

  • Terminal/Tray: Service with Pigtail
  • Core/Insulation Crimp: See Terminal Repair Kit
  • Release Tool/Test Probe: See Terminal Repair Kit

Inflatable Restraint Roof Rail Module - Left (AY0)

Pin

Wire

Circuit

Function

1

0.5 L-BU/RD

--

Roof Rail Module - Left - High Control

2

0.5 PK/BK

--

Roof Rail Module - Left - Low Control

Inflatable Restraint Roof Rail Module - Right (AY0)


Object Number: 1861740  Size: CH

Connector Part Information

  • OEM: 252912048
  • Service: NA
  • Description: 2-Way F (BK)

Terminal Part Information

  • Terminal/Tray: Service with Pigtail
  • Core/Insulation Crimp: See Terminal Repair Kit
  • Release Tool/Test Probe: See Terminal Repair Kit

Inflatable Restraint Roof Rail Module - Right (AY0)

Pin

Wire

Circuit

Function

1

0.5 L-BU/RD

--

Roof Rail Module - Right - High Control

2

0.5 PK/BK

--

Roof Rail Module - Right - Low Control

Inflatable Restraint Seat Belt Tension Sensor


Object Number: 646415  Size: CH

Connector Part Information

  • OEM: 15326808
  • Service: See Catalog
  • Description: 3-Way F GT 150 Series Sealed 4.5 (BK)

Terminal Part Information

  • Terminal/Tray: 12191819/8
  • Core/Insulation Crimp: E/A
  • Release Tool/Test Probe: 15315247/J-35616-2A (GY)

Inflatable Restraint Seat Belt Tension Sensor

Pin

Wire

Circuit

Function

A

0.35 L-BU

5612

Belt Tension Sensor Voltage Reference

B

0.35 TN

5613

Belt Tension Sensor Low Reference

C

0.35 PU

5611

Belt Tension Sensor Signal

Inflatable Restraint Seat Position Sensor (SPS) - Right


Object Number: 1664592  Size: CH

Connector Part Information

  • OEM: 54390239
  • Service: See Catalog
  • Description: 2-Way F (BK)

Terminal Part Information

  • Terminal/Tray: See Terminal Repair Kit
  • Core/Insulation Crimp: See Terminal Repair Kit
  • Release Tool/Test Probe: See Terminal Repair Kit

Inflatable Restraint Seat Position Sensor (SPS) - Right

Pin

Wire

Circuit

Function

1

0.5 TN/PK

5017

Low Reference

2

0.5 L-BU

5056

Passenger Seat Position Switch Signal

Inflatable Restraint Sensing and Diagnostic Module (SDM)


Object Number: 1468532  Size: CH

Connector Part Information

  • OEM: 184464-4 (AYO), 184464-5 (without AYO), 5-638595-1 (V4U)
  • Service: See Catalog
  • Description: 60-Way F Sealed (YE)

Terminal Part Information

  • Terminal/Tray: Service with Terminated Lead
  • Core/Insulation Crimp: See Terminal Repair Kit
  • Release Tool/Test Probe: See Terminal Repair Kit

Inflatable Restraint Sensing and Diagnostic Module (SDM)

Pin

Wire

Circuit

Function

1

0.5 BK/WH

1751

Ground

2

0.35 D-GN

5060

Low Speed GMLAN Serial Data

3

0.35 D-GN

5060

Low Speed GMLAN Serial Data

4

0.5 GY/PK

3022

Steering Wheel Module - Stage 2 - Low Control

5

0.5 L-GN/WH

3023

Steering Wheel Module - Stage 2 - High Control

6

0.5 GY

3027

I/P Module - Stage 2 - High Control

7

0.5 PU

3026

I/P Module - Stage 2 - Low Control

8

0.5 BN

3020

Steering Wheel Module - Stage 1 - Low Control

9

0.5 TN/L-BU

3021

Steering Wheel Module - Stage 1 - High Control

10

0.5 WH/BK

1403

I/P Module - Stage 1 - High Control

11

0.5 D-GN/WH

1404

I/P Module - Stage 1 - Low Control

12

0.5 YE/GY

6969

Side Impact Module - Left - Low Control

13

0.5 L-BU/BK

6970

Side Impact Module - Left - High Control

14

0.5 L-GN

2116

Side Impact Module - Right Front - High Control

15

0.5 OG

2117

Side Impact Module - Right Front - Low Control

16

0.5 OG/BK

2119

Seat Belt Pretensioner - Left - Low Control (V4U)

17

0.5 TN/BK

2118

Seat Belt Pretensioner - Left - High Control (V4U)

18

0.5 TN/PU

7074

Seat Belt Pretensioner - Right Front - High Control (V4U)

19

0.5 RD/L-BU

6971

Seat Belt Pretensioner - Right Front - Low Control (V4U)

20

0.5 PK/BK

5020

Roof Rail Module - Left - Low Control (AYO)

21

0.5 PU/WH

5019

Roof Rail Module - Left - High Control (AYO)

22

0.5 YE/BK

5021

Roof Rail Module - Right - High Control (AYO)

23

0.5 L-BU/WH

5022

Roof Rail Module - Right - Low Control (AYO)

24

0.5 OG/BK

2119

Seat Belt Pretensioner - Left - Low Control (without V4U)

25

0.5 TN/BK

2118

Seat Belt Pretensioner - Left - High Control (without V4U)

26

0.5 TN/PU

7074

Seat Belt Pretensioner - Right Front - High Control (without V4U)

27

0.5 RD/L-BU

6971

Seat Belt Pretensioner - Right Front - Low Control (without V4U)

28

0.5 TN/PK

5017

Low Reference

29

--

--

Not Used

30

0.5 L-BU

5056

Passenger Seat Position Switch Signal

31

0.5 PK/RD

2440

Battery Positive Voltage

32

0.5 PK

239

Ignition 1 Voltage

33-35

--

--

Not Used

36

0.5 YE

1834

SIR Forward Sensor Signal

37

0.5 GY/RD

5600

Right Front Discriminating Low Reference

38

0.5 TN/OG

5045

Left Front Discriminating Low Reference

39

0.5 D-GN

1409

Right Front Discriminating Sensor Signal

40

0.5 WH

2132

Side Impact Sensor - Left - Signal

41

0.5 D-GN

2134

Side Impact Sensor - Right - Signal

42

0.5 YE/WH

2131

Side Impact Sensor - Left - Voltage

43

0.5 TN

2133

Side Impact Sensor - Right - Voltage

44-58

--

--

Not Used

59

0.5 TN/WH

238

Left Front Seat Belt Switch Signal

60

0.5 TN/WH

238

Right Front Seat Belt Switch Signal

Inflatable Restraint Side Impact Module - Left


Object Number: 1861740  Size: CH

Connector Part Information

  • OEM: 252922343
  • Service: NA
  • Description: 2-Way F (YE)

Terminal Part Information

  • Terminal/Tray: Service with Pigtail
  • Core/Insulation Crimp: See Terminal Repair Kit
  • Release Tool/Test Probe: See Terminal Repair Kit

Inflatable Restraint Side Impact Module - Left

Pin

Wire

Circuit

Function

1

0.5 YE/GY

6969

Side Impact Module - Left - Low Control

2

0.5 L-BU/BK

6970

Side Impact Module - Left - High Control

Inflatable Restraint Side Impact Module - Right


Object Number: 1861740  Size: CH

Connector Part Information

  • OEM: 252922343
  • Service: NA
  • Description: 2-Way F (YE)

Terminal Part Information

  • Terminal/Tray: Service with Pigtail
  • Core/Insulation Crimp: See Terminal Repair Kit
  • Release Tool/Test Probe: See Terminal Repair Kit

Inflatable Restraint Side Impact Module - Right

Pin

Wire

Circuit

Function

1

0.5 YE/GY

6969

Side Impact Module - Right Front - Low Control

2

0.5 L-BU/BK

6970

Side Impact Module - Right Front - High Control

Inflatable Restraint Side Impact Sensor - Left


Object Number: 744046  Size: CH

Connector Part Information

  • OEM: 15356723
  • Service: 15306439
  • Description: 2-Way F GT 150 Sealed 4.0 (YE)

Terminal Part Information

  • Terminal/Tray: Service with Pigtail
  • Core/Insulation Crimp: See Terminal Repair Kit
  • Release Tool/Test Probe: 15315247/J-35616-2A (GY)

Inflatable Restraint Side Impact Sensor - Left

Pin

Wire

Circuit

Function

A

0.5 WH

2132

Side Impact Sensor - Left - Signal

B

0.5 YE/WH

2131

Side Impact Sensor - Left - Voltage

Inflatable Restraint Side Impact Sensor - Right


Object Number: 744046  Size: CH

Connector Part Information

  • OEM: 15356723
  • Service: 15306439
  • Description: 2-Way F GT 150 Sealed 4.0 (YE)

Terminal Part Information

  • Terminal/Tray: Service with Pigtail
  • Core/Insulation Crimp: See Terminal Repair Kit
  • Release Tool/Test Probe: 15315247/J-35616-2A (GY)

Inflatable Restraint Side Impact Sensor - Right

Pin

Wire

Circuit

Function

A

0.5 D-GN

2134

Side Impact Sensor - Right - Signal

B

0.5 TN

2133

Side Impact Sensor - Right - Voltage

Inflatable Restraint Steering Wheel Module X1


Object Number: 1841819  Size: CH

Connector Part Information

  • OEM: 54560236
  • Service: See Catalog
  • Description: 2-Way F ABX-4 Code B (WH)

Terminal Part Information

  • Terminal/Tray: Service with Pigtail
  • Core/Insulation Crimp: See Terminal Repair Kit
  • Release Tool/Test Probe: See Terminal Repair Kit

Inflatable Restraint Steering Wheel Module X1

Pin

Wire

Circuit

Function

1

0.5 TN

3021

Steering Wheel Module Stage 1 High Control

2

0.5 BN

3020

Steering Wheel Module Stage 1 Low Control

Inflatable Restraint Steering Wheel Module X2


Object Number: 1841821  Size: CH

Connector Part Information

  • OEM: 54560222
  • Service: See Catalog
  • Description: 2-Way F Type G (PK)

Terminal Part Information

  • Terminal/Tray: Service with Pigtail
  • Core/Insulation Crimp: See Terminal Repair Kit
  • Release Tool/Test Probe: See Terminal Repair Kit

Inflatable Restraint Steering Wheel Module X2

Pin

Wire

Circuit

Function

1

0.5 WH

3023

Steering Wheel Module Stage 2 High Control

2

0.5 PK

3022

Steering Wheel Module Stage 2 Low Control

Inside Rearview Mirror


Object Number: 872580  Size: CH

Connector Part Information

  • OEM: 917981-2
  • Service: 15306351
  • Description: 16-Way F 0.040/0.070 HYBRID I/O (BK)

Terminal Part Information

  • Terminal/Tray: 175266-5/15
  • Core/Insulation Crimp: Pins 1, 3, 5, 11-16 - J/J
  • Core/Insulation Crimp: Pins 8, 9 - K/K
  • Release Tool/Test Probe: 15315247/J-35616-16 (L-GN)

Inside Rearview Mirror

Pin

Wire

Circuit

Function

1

0.35 RD/D-GN

1040

Battery Positive Voltage

2

0.35 D-GN

5060

Low Speed GMLAN Serial Data (UFL)

3

0.35 D-GN

5060

Low Speed GMLAN Serial Data

4

--

--

Not Used

5

0.35 GY/BN

1690

Automatic Day/Night Mirror Signal

6-7

--

--

Not Used

8

0.5 BK

850

Ground

9

0.5 L-GN

24

Backup Lamp Supply Voltage

10

--

--

Not Used

11

0.35 D-GN/WH

2514

Keypad Signal

12

0.35 L-GN/BK

2515

Keypad Supply Voltage

13

0.35 YE

643

Ignition Positive Voltage

14

0.35 YE/BK

2516

Keypad Green LED Signal

15

0.35 BN/WH

2517

Keypad Red LED Signal

16

0.35 PK/BN

1691

Automatic Day/Night Mirror Low Reference

Instrument Panel Cluster (IPC)


Object Number: 1468761  Size: CH

Connector Part Information

  • OEM: 1326042-1
  • Service: 88987996
  • Description: 26-Way M USCAR - II Class (BK)

Terminal Part Information

  • Terminal/Tray: See Terminal Repair Kit
  • Core/Insulation Crimp: See Terminal Repair Kit
  • Release Tool/Test Probe: See Terminal Repair Kit

Instrument Panel Cluster (IPC)

Pin

Wire

Circuit

Function

1

0.35 OG/PK

1840

Battery Positive Voltage

2

0.35 PK

339

Ignition 1 Voltage

3

0.35 D-GN

5060

Low Speed GMLAN Serial Data

4

0.35 D-GN

5060

Low Speed GMLAN Serial Data

5

0.35 BK

350

Ground

6-7

--

--

Not Used

8

0.35 TN/WH

33

Brake Warning Indicator Control

9

0.35 BN/WH

419

MIL Control

10-11

--

--

Not Used

12

0.35 D-GN/WH

1358

Driver Information Center Switch Signal

13

0.35 BN

897

Driver Information Center Switch Low Reference

14

0.35 D-BU/WH

5970

Heated Washer Fluid Indicator Control

15-16

--

--

Not Used

17

0.35 TN

185

Low Washer Fluid Indicator Signal

18-19

--

--

Not Used

20

0.35 PK

893

Driver Information Center Select Menu Switch Signal

21

0.35 PU

5234

Passenger Seat Belt Indicator

22

0.35 D-BU

2307

Passenger Air Bag On Indicator Control

23

0.35 PK/TN

2308

Passenger Air Bag Off Indicator Control

24

0.35 L-BU

6996

Adaptive Cruise Control Active Signal (K59)

25

0.35 L-GN

6997

Adaptive Cruise Vehicle Ahead Sensor (K59)

26

0.35 L-GN/PU

7050

Adaptive Cruise Control Vehicle Alert Sensor (K59)

Internal Mode Switch (IMS)


Object Number: 73215  Size: CH

Connector Part Information

  • OEM: 15480750
  • Service: See Catalog
  • Description: 6-Way F Metri-Pack 150.2 Series (NA)

Terminal Part Information

  • Terminal/Tray: See Terminal Repair Kit
  • Core/Insulation Crimp: See Terminal Repair Kit
  • Release Tool/Test Probe: See Terminal Repair Kit

Internal Mode Switch (IMS)

Pin

Wire

Circuit

Function

A

0.5 BK

1786

Park/Neutral Signal

B

0.35 BU/WH

772

Transmission Range Switch Signal B

C

0.5 BK/WH

1551

Ground

D

0.35 YE/BK

773

Transmission Range Switch Signal C

E

0.35 GY/WH

776

Transmission Range Switch Signal P

F

0.35 RD/BK

771

Transmission Range Switch Signal A

Knock Sensor (KS) 1


Object Number: 1232999  Size: CH

Connector Part Information

  • OEM: 15374222
  • Service: See Catalog
  • Description: 2-Way F GT 150 Series Sealed (GY)

Terminal Part Information

  • Terminal/Tray: See Terminal Repair Kit
  • Core/Insulation Crimp: See Terminal Repair Kit
  • Release Tool/Test Probe: See Terminal Repair Kit

Knock Sensor (KS) 1

Pin

Wire

Circuit

Function

A

0.5 D-BU

496

Knock Sensor 1 Signal

B

0.5 GY

1716

Knock Sensor 1 Signal

Knock Sensor (KS) 2


Object Number: 1232999  Size: CH

Connector Part Information

  • OEM: 15374222
  • Service: See Catalog
  • Description: 2-Way F GT 150 Series Sealed (GY)

Terminal Part Information

  • Terminal/Tray: See Terminal Repair Kit
  • Core/Insulation Crimp: See Terminal Repair Kit
  • Release Tool/Test Probe: See Terminal Repair Kit

Knock Sensor (KS) 2

Pin

Wire

Circuit

Function

A

0.5 L-BU

1876

Knock Sensor 2 Signal

B

0.5 GY

2303

Knock Sensor 2 Signal

License Lamp - Left


Object Number: 744036  Size: CH

Connector Part Information

  • OEM: 15324946
  • Service: See Catalog
  • Description: 2-Way F Lamp Socket Wedge Base W2 Sealed (GY)

Terminal Part Information

  • Terminal/Tray: 12124471/5
  • Core/Insulation Crimp: See Terminal Repair Kit
  • Release Tool/Test Probe: 12094430/N/A

License Lamp - Left

Pin

Wire

Circuit

Function

A

0.35 BN/WH

309

Right Park Lamp Supply Voltage (without EXP)

6846

Rear License Lamp Supply Voltage (EXP)

B

0.35 BK

1050

Ground

License Lamp - Right


Object Number: 744036  Size: CH

Connector Part Information

  • OEM: 15324946
  • Service: See Catalog
  • Description: 2-Way F Lamp Socket Wedge Base W2 Sealed (GY)

Terminal Part Information

  • Terminal/Tray: 12124471/5
  • Core/Insulation Crimp: See Terminal Repair Kit
  • Release Tool/Test Probe: 12094430/N/A

License Lamp - Right

Pin

Wire

Circuit

Function

A

0.35 BN/WH

309

Right Park Lamp Supply Voltage (without EXP)

6846

Rear License Lamp Supply Voltage (EXP)

B

0.35 BK

1050

Ground

Lumbar Adjuster Switch - Driver (A45/AL2)


Object Number: 73146  Size: CH

Connector Part Information

  • OEM: 12052854
  • Service: 88953358
  • Description: 7-Way F Metri-Pack 280 Series (BK)

Terminal Part Information

  • Terminal/Tray: 12034046/2
  • Core/Insulation Crimp: E/A
  • Release Tool/Test Probe: 12094430/J-35616-4A (PU)

Lumbar Adjuster Switch - Driver (A45/AL2)

Pin

Wire

Circuit

Function

A

0.35 YE/BK

1067

Driver Seat Lumbar Down Switch Signal

B

0.35 D-BU

1064

Driver Seat Lumbar Rearward Switch Signal

C

0.35 YE

1065

Driver Seat Lumbar Forward Switch Signal

D-E

--

--

Not Used

F

0.35 WH

1066

Driver Seat Lumbar Up Switch Signal

G

0.35 GY/BK

5979

Memory Seat Switch High Reference

Lumbar Adjuster Switch - Driver (without A45)


Object Number: 73146  Size: CH

Connector Part Information

  • OEM: 12052854
  • Service: 88953358
  • Description: 7-Way F Metri-Pack 280 Series (BK)

Terminal Part Information

  • Terminal/Tray: 12015858/4
  • Core/Insulation Crimp: See Terminal Repair Kit
  • Release Tool/Test Probe: 12094430/J-35616-4A (PU)

Lumbar Adjuster Switch - Driver (without A45)

Pin

Wire

Circuit

Function

A

2 PU

767

Driver Seat Lumbar Motor Down Control

B

2 PK

610

Driver Seat Lumbar Motor Rearward Control

C

2 D-BU

611

Driver Seat Lumbar Motor Forward Control

D

--

--

Not Used

E

2 BK

350

Ground

F

2 TN

768

Driver Seat Lumbar Motor Up Control

G

2 RD/PK

1140

Battery Positive Voltage

Lumbar Adjuster Switch - Passenger (AL2)


Object Number: 73146  Size: CH

Connector Part Information

  • OEM: 12052854
  • Service: 88953358
  • Description: 7-Way F Metri-Pack 280 Series (BK)

Terminal Part Information

  • Pins: A-C, E-G
  • Terminal/Tray: 12015858/4
  • Core/Insulation Crimp: See Terminal Repair Kit
  • Release Tool/Test Probe: 12094430/J-35616-4A (PU)
  • Pins: G
  • Terminal/Tray: 12034046/2
  • Core/Insulation Crimp: E/A
  • Release Tool/Test Probe: 12094430/J-35616-4A (PU)

Lumbar Adjuster Switch - Passenger (AL2)

Pin

Wire

Circuit

Function

A

2 OG/PU

792

Passenger Seat Lumbar Down Switch Signal

B

2 D-BU

211

Passenger Seat Lumbar Motor Forward Control

C

2 WH

210

Passenger Seat Lumbar Motor Rearward Control

D

--

--

Not Used

E

0.8 BK

450

Ground

F

2 PK

793

Passenger Seat Lumbar Up Switch Signal

G

0.5 OG/BN

1640

Battery Positive Voltage (A45)

2 TN/D-BU

4240

Battery Positive Voltage (without A45)

Manifold Absolute Pressure (MAP) Sensor


Object Number: 684840  Size: CH

Connector Part Information

  • OEM: 12129946
  • Service: 88987997
  • Description: 3-Way F Metri-Pack 150 Series Sealed (GY)

Terminal Part Information

  • Terminal/Tray: 12048074/2
  • Core/Insulation Crimp: E/1
  • Release Tool/Test Probe: 12094429/J-35616-2A (GY)

Manifold Absolute Pressure (MAP) Sensor

Pin

Wire

Circuit

Function

A

0.5 OG/BK

469

Low Reference

B

0.5 L-GN/BK

432

MAP Sensor Signal

C

0.5 GY/WH

2704

5-Volt Reference

Mass Air Flow (MAF)/Intake Air Temperature (IAT) Sensor


Object Number: 647974  Size: CH

Connector Part Information

  • OEM: 13519051
  • Service: 88987186
  • Description: 5-Way F GT 150 Series Sealed 4.0 (BK)

Terminal Part Information

  • Terminal/Tray: 12191819/8
  • Core/Insulation Crimp: E/A
  • Release Tool/Test Probe: 15315247/J-35616-2A (GY)

Mass Air Flow (MAF)/Intake Air Temperature (IAT) Sensor

Pin

Wire

Circuit

Function

A

0.5 BN/YE

492

MAF Sensor Signal

B

0.8 PK/BK

5294

Engine Main Relay Fused Control

C

0.35 BK/WH

1551

Ground

D

0.5 BN

472

IAT Sensor Signal

E

0.5 BN/BU

2760

Low Reference

Memory Seat Module (MSM) X1 (A45/AM3/KB6)


Object Number: 1664465  Size: CH

Connector Part Information

  • OEM: 6098-4611
  • Service: 15134091
  • Description: 16-Way F (BK)

Terminal Part Information

  • Terminal/Tray: 8240-0128/22
  • Core/Insulation Crimp: See Terminal Repair Kit
  • Release Tool/Test Probe: 15315247/J-35616-2A (GY)

Memory Seat Module (MSM) X1 (A45/AM3/KB6)

Pin

Wire

Circuit

Function

1-6

--

--

Not Used

7

1 TN/D-BU

2110

Steering Column Telescope Motor Control - Reverse

8

1 OG/D-GN

2098

Steering Column Telescope Motor Control - Forward

9

1 TN

285

Driver Power Seat Horizontal Motor Forward Control

10

1 L-GN

284

Driver Power Seat Horizontal Motor Rearward Control

11

--

--

Not Used

12

1 D-GN

286

Driver Power Seat Front Vertical Motor Up Control

13

1 D-BU

287

Driver Power Seat Front Vertical Motor Down Control

14

--

--

Not Used

15

1 YE

282

Driver Power Seat Rear Vertical Motor Up Control

16

1 L-BU

283

Driver Power Seat Rear Vertical Motor Down Control

Memory Seat Module (MSM) X2 (A45/AM3/KB6)


Object Number: 1664521  Size: CH

Connector Part Information

  • OEM: 6098-4607
  • Service: See Catalog
  • Description: 6-Way F (BK)

Terminal Part Information

  • Pins: 1
  • Terminal/Tray: 8100-4443/22
  • Core/Insulation Crimp: E/A
  • Release Tool/Test Probe: 15315247/J-35616-35 (VT)
  • Pins: 2, 3, 5, 6
  • Terminal/Tray: See Terminal Repair Kit
  • Core/Insulation Crimp: See Terminal Repair Kit
  • Release Tool/Test Probe: See Terminal Repair Kit

Memory Seat Module (MSM) X2 (A45/AM3/KB6)

Pin

Wire

Circuit

Function

1

0.35 TN/RD

782

Low Reference

2-6

--

--

Not Used

Memory Seat Module (MSM) X3 (A45/AM3/KB6)


Object Number: 1664577  Size: CH

Connector Part Information

  • OEM: 6098-4606
  • Service: See Catalog
  • Description: 6-Way F (BN)

Terminal Part Information

  • Pins: 1, 2, 4, 5
  • Terminal/Tray: 8100-4445/22
  • Core/Insulation Crimp: F/D
  • Release Tool/Test Probe: 15315247/J-35616-35 (VT)
  • Pins: 3, 6
  • Terminal/Tray: 8100-4443/22
  • Core/Insulation Crimp: E/A
  • Release Tool/Test Probe: 15315247/J-35616-35 (VT)

Memory Seat Module (MSM) X3 (A45/AM3)

Pin

Wire

Circuit

Function

1

3 BK

350

Ground

2

3 TN/YE

3740

Battery Positive Voltage

3

0.35 GY/BK

5979

Memory Seat Switch High Reference

4

3 BK

350

Ground

5

3 RD/PK

1140

Battery Positive Voltage

6

0.5 OG/BN

1640

Battery Positive Voltage

Memory Seat Module (MSM) X4 (A45/AM3/KB6)


Object Number: 1664549  Size: CH

Connector Part Information

  • OEM: 6098-4610
  • Service: See Catalog
  • Description: 16-Way F (GN)

Terminal Part Information

  • Terminal/Tray: 8240-0128/22
  • Core/Insulation Crimp: See Terminal Repair Kit
  • Release Tool/Test Probe: 15315247/J-35616-2A (GY)

Memory Seat Module (MSM) X4 (A45/AM3)

Pin

Wire

Circuit

Function

1

1 PU

767

Driver Seat Lumbar Motor Down Control

2

1 TN

768

Driver Power Seat Lumbar Motor Up Control

3

--

--

Not Used

4

1 TN/BK

7056

Passenger Seat Lumbar Motor Down Control

5

1 L-BU/BK

7057

Passenger Seat Lumbar Motor Up Control

6

--

--

Not Used

7

1 BN

2112

Steering Column Tilt Motor Control - Down

8

1 PK/BN

2111

Steering Column Tilt Motor Control - Up

9-11

--

--

Not Used

12

1 D-BU

611

Driver Power Seat Lumbar Motor Forward Control

13

1 PK/PU

610

Driver Power Seat Lumbar Motor Rearward Control

14

--

--

Not Used

15

1 YE

1257

Driver Power Seat Recline Motor Forward Control

16

1 L-BU

277

Driver Power Seat Recline Motor Rearward Switch Signal

Memory Seat Module (MSM) X5 (A45/AM3/KB6)


Object Number: 1715223  Size: CH

Connector Part Information

  • OEM: 31410-1200
  • Service: See Catalog
  • Description: 20-Way F (BK)

Terminal Part Information

  • Terminal/Tray: 7116-4618-02/14
  • Core/Insulation Crimp: P/P
  • Release Tool/Test Probe: J-38125-215/J-35616-64B (L-BU)

Memory Seat Module (MSM) X5 (A45/AM3/KB6)

Pin

Wire

Circuit

Function

1-7

--

--

Not Used

8

0.35 PK/BK

6608

Passenger Seat Lumbar Vertical Position Sensor Signal

9

0.35 OG/D-BU

2153

Steering Column Telescope Sensor Signal

10

--

--

Not Used

11

0.35 GY

788

5-Volt Reference

12-13

--

--

Not Used

14

0.35 BN/WH

557

Memory Seat Front Vertical Motor Position Sensor Signal

15

0.35 TN

568

Memory Seat Rear Vertical Motor Position Sensor Signal

16

0.35 D-GN

569

Memory Seat Horizontal Motor Position Sensor Signal

17

0.35 WH/BK

570

Driver Seat Recline Motor Position Sensor Signal

18

0.35 TN/WH

1062

Memory Seat Lumbar Vertical Position Sensor Signal

19

0.35 YE

1063

Memory Seat Lumbar Horizontal Position Sensor Signal

20

0.35 OG/WH

2154

Steering Column Tilt Sensor Signal

Memory Seat Module (MSM) X6 (A45/AM3/KB6)


Object Number: 1664552  Size: CH

Connector Part Information

  • OEM: 31410-1201
  • Service: See Catalog
  • Description: 20-Way F (GY)

Terminal Part Information

  • Terminal/Tray: 7116-4618-02/14
  • Core/Insulation Crimp: P/P
  • Release Tool/Test Probe: J-38125-215/J-35616-64B (L-BU)

Memory Seat Module (MSM) X6 (A45/AM3/KB6)

Pin

Wire

Circuit

Function

1

--

--

Not Used

2

0.35 TN/L-BU

5961

Right Heated/Cooled Seat Mode Signal

3-4

--

--

Not Used

5

0.35 WH

1066

Driver Seat Lumbar Up Switch Signal

6

0.35 YE

1065

Driver Seat Lumbar Forward Switch Signal

7

--

--

Not Used

8

0.35 GY/YE

2096

Steering Column Tilt Up Switch Signal

9

0.35 GY/PK

2094

Steering Column Telescope Forward Switch Signal

10

0.35 PK

793

Passenger Seat Lumbar Up Switch Signal

11

0.35 L-GN/BK

181

Left Heated/Cooled Seat Mode Signal

12-14

--

--

Not Used

15

0.35 YE/BK

1067

Driver Seat Lumbar Down Switch Signal

16

0.35 D-BU

1064

Driver Seat Lumbar Rearward Switch Signal

17

0.35 BK/WH

6617

Passenger Seat Massage Switch Signal

18

0.35 YE/D-BU

2097

Steering Column Tilt Down Switch Signal

19

0.35 GY/OG

2095

Steering Column Telescope Reverse Switch Signal

20

0.35 OG/PU

792

Passenger Seat Lumbar Down Switch Signal

Memory Seat Module (MSM) X7 (A45/AM3/KB6)


Object Number: 1664553  Size: CH

Connector Part Information

  • OEM: 31410-1202
  • Service: See Catalog
  • Description: 20-Way F (BN)

Terminal Part Information

  • Terminal/Tray: 7116-4618-02/14
  • Core/Insulation Crimp: P/P
  • Release Tool/Test Probe: J-38125-215/J-35616-64B (L-BU)

Memory Seat Module (MSM) X7 (A45/AM3/KB6)

Pin

Wire

Circuit

Function

1-6

--

--

Not Used

7

0.35 D-GN/WH

1518

Front Vertical Up Switch Signal

8

0.35 YE

1519

Rear Vertical Up Switch Signal

9

0.35 TN

1522

Horizontal Forward Switch Signal

10

0.35 L-GN/YE

276

Recline Motor Forward Switch Signal

11-14

--

--

Not Used

15

0.35 OG/BK

6604

Driver Seat Massage Switch Signal (AM3)

16

0.35 D-GN

5060

Low Speed GMLAN Serial Data

17

0.35 D-BU

1528

Front Vertical Down Switch Signal

18

0.35 L-BU/BK

1521

Rear Vertical Down Switch Signal

19

0.35 L-GN/BK

1523

Horizontal Rearward Switch Signal

20

0.35 L-BU/YE

277

Recline Motor Rearward Switch Signal

Mode Actuator


Object Number: 1283833  Size: CH

Connector Part Information

  • OEM: 7283-5830-30
  • Service: 89046839
  • Description: 5-Way F (BK)

Terminal Part Information

  • Terminal/Tray: See Terminal Repair Kit
  • Core/Insulation Crimp: See Terminal Repair Kit
  • Release Tool/Test Probe: See Terminal Repair Kit

Mode Actuator

Pin

Wire

Circuit

Function

1

0.35 GY

598

5-Volt Reference

2

0.35 GY/BK

1798

Low Reference

3

0.35 YE/BK

1814

Lower Mode Door Position Signal

4

0.35 OG/WH

2273

Mode Door Control A

5

0.35 YE

1318

Lower Mode Door Control B

Mode Actuator - Auxiliary (CJ4)


Object Number: 1283833  Size: CH

Connector Part Information

  • OEM: 7283-5830-30
  • Service: 89046839
  • Description: 5-Way F (BK)

Terminal Part Information

  • Terminal/Tray: See Terminal Repair Kit
  • Core/Insulation Crimp: See Terminal Repair Kit
  • Release Tool/Test Probe: See Terminal Repair Kit

Mode Actuator - Auxiliary (CJ4)

Pin

Wire

Circuit

Function

1

0.35 GY/BK

1798

Low Reference

2

0.5 GY

598

5-Volt Reference

3

0.35 GY/YE

2599

Rear Mode Door Position Signal

4

0.35 GN/BK

5729

Rear Mode Door Control A

5

0.35 GN/WH

5730

Rear Mode Door Control B

Noise Compensation Microphone (UQA)


Object Number: 258301  Size: CH

Connector Part Information

  • OEM: 12059254
  • Service: 12126020
  • Description: 2-Way M Metri-Pack 150 Series (GN)

Terminal Part Information

  • Terminal/Tray: 12047581/2
  • Core/Insulation Crimp: E/C
  • Release Tool/Test Probe: 12094429/J-35616-3 (GY)

Noise Compensation Microphone (UQA)

Pin

Wire

Circuit

Function

A

0.5 BK

514

Drain Wire

B

0.35 D-GN/WH

1488

Noise Reduction Microphone (+)

Object Alarm Sensor - Left Front Corner (UFR)


Object Number: 1664596  Size: CH

Connector Part Information

  • OEM: 31403-3700
  • Service: See Catalog
  • Description: 3-Way F Sealed (BK)

Terminal Part Information

  • Terminal/Tray: 33468-0001/23
  • Core/Insulation Crimp: H/H
  • Release Tool/Test Probe: J-38125-213/J-35616-64B (L-BU)

Object Alarm Sensor - Left Front Corner (UFR)

Pin

Wire

Circuit

Function

1

0.35 BN

6581

Object Sensor Supply Voltage

2

0.35 OG/BK

5214

Object Sensor Low Reference

3

0.35 PU/WH

5215

Left Front Corner Object Sensor Signal

Object Alarm Sensor - Left Front Middle (UFR)


Object Number: 1664596  Size: CH

Connector Part Information

  • OEM: 31403-3700
  • Service: See Catalog
  • Description: 3-Way F Sealed (BK)

Terminal Part Information

  • Terminal/Tray: 33468-0001/23
  • Core/Insulation Crimp: H/H
  • Release Tool/Test Probe: J-38125-213/J-35616-64B (L-BU)

Object Alarm Sensor - Left Front Middle (UFR)

Pin

Wire

Circuit

Function

1

0.35 BN

6581

Object Sensor Supply Voltage

2

0.35 OG/BK

5214

Object Sensor Low Reference

3

0.35 WH

5216

Left Front Middle Object Sensor Signal

Object Alarm Sensor - Left Rear Corner (UFR)


Object Number: 1664596  Size: CH

Connector Part Information

  • OEM: 31403-3700
  • Service: See Catalog
  • Description: 3-Way F Sealed (BK)

Terminal Part Information

  • Terminal/Tray: 33468-0001/23
  • Core/Insulation Crimp: H/H
  • Release Tool/Test Probe: J-38125-213/J-35616-64B (L-BU)

Object Alarm Sensor - Left Rear Corner (UFR)

Pin

Wire

Circuit

Function

1

0.35 D-BU

2374

Object Sensor Supply Voltage

2

0.35 GY

2379

Object Sensor Low Reference

3

0.35 YE

2375

Left Rear Corner Object Sensor Signal

Object Alarm Sensor - Left Rear Middle (UFR)


Object Number: 1664596  Size: CH

Connector Part Information

  • OEM: 31403-3700
  • Service: See Catalog
  • Description: 3-Way F Sealed (BK)

Terminal Part Information

  • Terminal/Tray: 33468-0001/23
  • Core/Insulation Crimp: H/H
  • Release Tool/Test Probe: J-38125-213/J-35616-64B (L-BU)

Object Alarm Sensor - Left Rear Middle (UFR)

Pin

Wire

Circuit

Function

1

0.35 D-BU

2374

Object Sensor Supply Voltage

2

0.35 GY

2379

Object Sensor Low Reference

3

0.35 OG

2376

Left Rear Middle Object Sensor Signal

Object Alarm Sensor - Right Front Corner (UFR)


Object Number: 1664596  Size: CH

Connector Part Information

  • OEM: 31403-3700
  • Service: See Catalog
  • Description: 3-Way F Sealed (BK)

Terminal Part Information

  • Terminal/Tray: 33468-0001/23
  • Core/Insulation Crimp: H/H
  • Release Tool/Test Probe: J-38125-213/J-35616-64B (L-BU)

Object Alarm Sensor - Right Front Corner (UFR)

Pin

Wire

Circuit

Function

1

0.35 BN

6581

Object Sensor Supply Voltage

2

0.35 OG/BK

5214

Object Sensor Low Reference

3

0.35 BN/WH

5217

Right Front Corner Object Sensor Signal

Object Alarm Sensor - Right Front Middle (UFR)


Object Number: 1664596  Size: CH

Connector Part Information

  • OEM: 31403-3700
  • Service: See Catalog
  • Description: 3-Way F Sealed (BK)

Terminal Part Information

  • Terminal/Tray: 33468-0001/23
  • Core/Insulation Crimp: H/H
  • Release Tool/Test Probe: J-38125-213/J-35616-64B (L-BU)

Object Alarm Sensor - Right Front Middle (UFR)

Pin

Wire

Circuit

Function

1

0.35 BN

6581

Object Sensor Supply Voltage

2

0.35 OG/BK

5214

Object Sensor Low Reference

3

0.35 PU/BK

5218

Right Front Middle Object Sensor Signal

Object Alarm Sensor - Right Rear Corner (UFR)


Object Number: 1664596  Size: CH

Connector Part Information

  • OEM: 31403-3700
  • Service: See Catalog
  • Description: 3-Way F Sealed (BK)

Terminal Part Information

  • Terminal/Tray: 33468-0001/23
  • Core/Insulation Crimp: H/H
  • Release Tool/Test Probe: J-38125-213/J-35616-64B (L-BU)

Object Alarm Sensor - Right Rear Corner (UFR)

Pin

Wire

Circuit

Function

1

0.35 D-BU

2374

Object Sensor Supply Voltage

2

0.35 GY

2379

Object Sensor Low Reference

3

0.35 PU

2378

Right Rear Corner Object Sensor Signal

Object Alarm Sensor - Right Rear Middle (UFR)


Object Number: 1664596  Size: CH

Connector Part Information

  • OEM: 31403-3700
  • Service: See Catalog
  • Description: 3-Way F Sealed (BK)

Terminal Part Information

  • Terminal/Tray: 33468-0001/23
  • Core/Insulation Crimp: H/H
  • Release Tool/Test Probe: J-38125-213/J-35616-64B (L-BU)

Object Alarm Sensor - Right Rear Middle (UFR)

Pin

Wire

Circuit

Function

1

0.35 D-BU

2374

Object Sensor Supply Voltage

2

0.35 GY

2379

Object Sensor Low Reference

3

0.35 D-GN

2377

Right Rear Middle Object Sensor Signal

Outside Moisture Sensor (CE1)


Object Number: 605502  Size: CH

Connector Part Information

  • OEM: 43645-0400
  • Service: 15306387
  • Description: 4-Way F Micro Fit (BK)

Terminal Part Information

  • Terminal/Tray: 43030-0010/23
  • Core/Insulation Crimp: Pins 1, 2, 4 - H/H
  • Core/Insulation Crimp: Pins 3 - See Terminal Repair Kit
  • Release Tool/Test Probe: J-38125-213/J-35616-64B (L-BU)

Outside Moisture Sensor (CE1)

Pin

Wire

Circuit

Function

1

0.35 L-GN

482

Outside Moisture Sensor Signal 2

2

0.35 TN/YE

481

Outside Moisture Sensor Signal 1

3

0.5 BK

850

Ground

4

0.35 YE

643

Accessory Voltage

Outside Rearview Mirror - Driver X1


Object Number: 1664597  Size: CH

Connector Part Information

  • OEM: 7282-7696-40
  • Service: See Catalog
  • Description: 12-Way M (GY)

Terminal Part Information

  • Terminal/Tray: 7114-4720-08/14
  • Core/Insulation Crimp: J/J
  • Release Tool/Test Probe: 15315247/J-35616-65B (L-BU)

Outside Rearview Mirror - Driver X1

Pin

Wire

Circuit

Function

1

0.35 L-BU/WH

1314

Left Front Turn Signal Lamp Supply Voltage

2

0.35 BN/L-BU

5478

Low Reference

3

0.35 GY/L-GN

627

Driver Mirror Heating Element Low Reference

4

0.35 TN/PK

606

Driver Mirror Heating Element Supply Voltage

5

0.35 GY/BN

1690

Automatic Day/Night Mirror Signal

6

0.35 PK/BN

1691

Automatic Day/Night Mirror Low Reference

7

0.35 YE

190

Folding Mirror Motor Extend Control

8

0.35 L-BU

191

Folding Mirror Motor Retract Control

9

0.35 L-GN

89

Left Mirror Motor Down Control

10

0.35 TN/RD

329

Left Mirror Motor - Up/Right Control

11

0.35 WH

81

Left Mirror Motor Left Control

12

--

--

Not Used

Outside Rearview Mirror - Driver X2


Object Number: 1664599  Size: CH

Connector Part Information

  • OEM: 7282-8870-40
  • Service: See Catalog
  • Description: 8-Way M (GY)

Terminal Part Information

  • Terminal/Tray: 7114-4720-08/14
  • Core/Insulation Crimp: J/J
  • Release Tool/Test Probe: 15315247/J-35616-65B (L-BU)

Outside Rearview Mirror - Driver X2

Pin

Wire

Circuit

Function

1

0.35 PK/BK

5855

LED Control (UFT)

2

--

--

Not Used

3

0.35 D-BU

672

5-Volt Reference

4

0.35 PK

5853

LED Signal (UFT)

5

0.35 D-GN/TN

784

Driver Mirror Vertical Position Sensor Signal

6

0.35 GY/PK

786

Driver Mirror Horizontal Position Sensor Signal

7

0.35 BN/L-GN

673

Low Reference

8

--

--

Not Used

Outside Rearview Mirror - Passenger X1


Object Number: 1664597  Size: CH

Connector Part Information

  • OEM: 7282-7696-40
  • Service: See Catalog
  • Description: 12-Way M (GY)

Terminal Part Information

  • Terminal/Tray: 7114-4720-08/14
  • Core/Insulation Crimp: J/J
  • Release Tool/Test Probe: 15315247/J-35616-65B (L-BU)

Outside Rearview Mirror - Passenger X1

Pin

Wire

Circuit

Function

1

0.35 D-BU/WH

1315

Right Front Turn Signal Lamp Supply Voltage

2

0.35 BN/L-BU

5478

Low Reference

3

0.35 D-GN/YE

628

Passenger Mirror Heating Element Low Reference

4

0.35 PU

607

Passenger Mirror Heating Element Supply Voltage

5-6

--

--

Not Used

7

0.35 YE

190

Folding Mirror Motor Extend Control

8

0.35 L-BU

191

Folding Mirror Motor Retract Control

9

0.35 PU/WH

889

Right Mirror Motor - Down Control

10

0.35 TN/PU

330

Right Mirror Motor - Up/Right Control

11

0.35 OG/WH

881

Passenger Mirror Motor Left Control

12

--

--

Not Used

Outside Rearview Mirror - Passenger X2


Object Number: 1664599  Size: CH

Connector Part Information

  • OEM: 7282-8870-40
  • Service: See Catalog
  • Description: 8-Way M (GY)

Terminal Part Information

  • Terminal/Tray: 7114-4720-08/14
  • Core/Insulation Crimp: J/J
  • Release Tool/Test Probe: 15315247/J-35616-65B (L-BU)

Outside Rearview Mirror - Passenger X2

Pin

Wire

Circuit

Function

1

0.35 PK/BK

5862

LED Control (UFT)

2

--

--

Not Used

3

0.35 YE/PK

674

5-Volt Reference

4

0.35 PK

5861

LED Signal (UFT)

5

0.35 BN

787

Passenger Mirror Vertical Position Sensor Signal

6

0.35 L-BU/BK

785

Passenger Mirror Horizontal Position Sensor Signal

7

0.35 L-GN/PU

675

Low Reference

8

--

--

Not Used

Overhead Console Lamp (V4U)


Object Number: 333035  Size: CH

Connector Part Information

  • OEM: 12047781
  • Service: 12101864
  • Description: 3-Way F Metri-Pack 150 Series (BK)

Terminal Part Information

  • Pins: A
  • Terminal/Tray: See Terminal Repair Kit
  • Core/Insulation Crimp: See Terminal Repair Kit
  • Release Tool/Test Probe: See Terminal Repair Kit
  • Pins: B, C
  • Terminal/Tray: 12064971/5
  • Core/Insulation Crimp: E/C
  • Release Tool/Test Probe: 12094429/J-35616-2A (GY)

Overhead Console Lamp (V4U)

Pin

Wire

Circuit

Function

A

0.5 BK

850

Ground

B

0.5 GY/BK

690

Courtesy Lamp Control

C

0.5 OG

1732

12-Volt Reference

Park Brake Switch


Object Number: 35348  Size: CH

Connector Part Information

  • OEM: 12004267
  • Service: 12102561
  • Description: 1-Way F 56 Series Lock Type (BK)

Terminal Part Information

  • Terminal/Tray: 12124515/1
  • Core/Insulation Crimp: C/D
  • Release Tool/Test Probe: 12094430/J-35616-42 (RD)

Park Brake Switch

Pin

Wire

Circuit

Function

A

0.5 L-BU/WH

1134

Park Brake Switch Signal

Park Lamp - Left Front


Object Number: 1914599  Size: CH

Connector Part Information

  • OEM: 1012202
  • Service: See Catalog
  • Description: 2-Way F W2 Socket Sealed (BK)

Terminal Part Information

  • Terminal/Tray: See Terminal Repair Kit
  • Core/Insulation Crimp: See Terminal Repair Kit
  • Release Tool/Test Probe: See Terminal Repair Kit

Park Lamp - Left Front

Pin

Wire

Circuit

Function

A

0.5 PU

709

Left Park Lamp Supply Voltage

0.5 PU

709

Left Park Marker Supply Voltage

B

0.5 BK

250

Ground

0.5 BK

250

Ground

Park Lamp - Left Middle (V4U)


Object Number: 82383  Size: CH

Connector Part Information

  • OEM: 12047662
  • Service: 12085535
  • Description: 2-Way F Metri-Pack 150 Series (BK)

Terminal Part Information

  • Terminal/Tray: 12064971/5
  • Core/Insulation Crimp: E/C
  • Release Tool/Test Probe: 12094429/J-35616-2A (GY)

Park Lamp - Left Middle (V4U)

Pin

Wire

Circuit

Function

A

0.35 PU

709

Left Park Lamp Supply Voltage

B

0.35 BK

750

Ground

Park Lamp - Left Rear (V4U, B9Q)


Object Number: 82383  Size: CH

Connector Part Information

  • OEM: 12047662
  • Service: 12085535
  • Description: 2-Way F Metri-Pack 150 Series (BK)

Terminal Part Information

  • Terminal/Tray: 12064971/5
  • Core/Insulation Crimp: E/C
  • Release Tool/Test Probe: 12094429/J-35616-2A (GY)

Park Lamp - Left Rear (V4U, B9Q)

Pin

Wire

Circuit

Function

A

0.35 PU

709

Left Park Lamp Supply Voltage

B

0.5 BK

750

Ground

Park Lamp - Right Front


Object Number: 1914599  Size: CH

Connector Part Information

  • OEM: 1012202
  • Service: See Catalog
  • Description: 2-Way F W2 Socket Sealed (BK)

Terminal Part Information

  • Terminal/Tray: See Terminal Repair Kit
  • Core/Insulation Crimp: See Terminal Repair Kit
  • Release Tool/Test Probe: See Terminal Repair Kit

Park Lamp - Right Front

Pin

Wire

Circuit

Function

A

0.5 PU

309

Right Park Lamp Supply Voltage

0.5 PU

309

Right Park Marker Supply Voltage

B

0.5 BK

250

Ground

0.5 BK

250

Ground

Park Lamp - Right Middle (V4U)


Object Number: 82383  Size: CH

Connector Part Information

  • OEM: 12047662
  • Service: 12085535
  • Description: 2-Way F Metri-Pack 150 Series (BK)

Terminal Part Information

  • Terminal/Tray: 12064971/5
  • Core/Insulation Crimp: E/C
  • Release Tool/Test Probe: 12094429/J-35616-2A (GY)

Park Lamp - Right Middle (V4U)

Pin

Wire

Circuit

Function

A

0.35 BN/WH

309

Right Park Lamp Supply Voltage

B

0.35 BK

450

Ground

Park Lamp - Right Rear (V4U, B9Q)


Object Number: 82383  Size: CH

Connector Part Information

  • OEM: 12047662
  • Service: 12085535
  • Description: 2-Way F Metri-Pack 150 Series (BK)

Terminal Part Information

  • Terminal/Tray: 12064971/5
  • Core/Insulation Crimp: E/C
  • Release Tool/Test Probe: 12094429/J-35616-2A (GY)

Park Lamp - Right Rear (V4U, B9Q)

Pin

Wire

Circuit

Function

A

0.35 BN/WH

309

Right Park Lamp Supply Voltage

B

0.5 BK

450

Ground

Park Switch (AQ9)


Object Number: 1664595  Size: CH

Connector Part Information

  • OEM: 12048457
  • Service: See Catalog
  • Description: 2-Way M Metri-Pack 150 Series (BK)

Terminal Part Information

  • Terminal/Tray: See Terminal Repair Kit
  • Core/Insulation Crimp: See Terminal Repair Kit
  • Release Tool/Test Probe: See Terminal Repair Kit

Park Switch (AQ9)

Pin

Wire

Circuit

Function

A

0.35 YE/BN

143

Accessory Voltage

B

0.35 PU/WH

5905

Key Capture/Column Lock Shift Position Signal

Pressure Control (PC) Solenoid Valve


Object Number: 168421  Size: CH

Connector Part Information

  • OEM: 15467085
  • Service: See Catalog
  • Description: Connector 2-Way F Metri-Pack 150.2 Series (L-GY)

Terminal Part Information

  • Terminal/Tray: See Terminal Repair Kit
  • Core/Insulation Crimp: See Terminal Repair Kit
  • Release Tool/Test Probe: See Terminal Repair Kit

Pressure Control (PC) Solenoid Valve

Pin

Wire

Circuit

Function

A

0.35 PU

1228

PC Solenoid Valve High Control

B

0.35 L-BU

1229

PC Solenoid Valve Low Control

Radio Antenna Module (B9Q)


Object Number: 333042  Size: CH

Connector Part Information

  • OEM: 12020013
  • Service: 12102668
  • Description: 3-Way F Metri-Pack Mixed Series (GY)

Terminal Part Information

  • Pins: A, C
  • Terminal/Tray: See Terminal Repair Kit
  • Core/Insulation Crimp: See Terminal Repair Kit
  • Release Tool/Test Probe: See Terminal Repair Kit
  • Pins: B
  • Terminal/Tray: 12015860/4
  • Core/Insulation Crimp: E/A
  • Release Tool/Test Probe: 12094430/J-35616-40 (BU)

Radio Antenna Module (B9Q)

Pin

Wire

Circuit

Function

A

0.8 PK/TN

3240

Battery Positive Voltage

B

0.5 PK

5165

Antenna 14-Volt Switched Supply Voltage

C

0.8 BK

450

Ground

Radio Antenna Module (without B9Q)


Object Number: 1664518  Size: CH

Connector Part Information

  • OEM: 172165-1
  • Service: 89046733
  • Description: 2-Way M (WH)

Terminal Part Information

  • Terminal/Tray: 770904-1/25
  • Core/Insulation Crimp: E/2
  • Release Tool/Test Probe: J-38125-220/J-35616-6 (BN)

Radio Antenna Module (without B9Q)

Pin

Wire

Circuit

Function

1

0.5 PK

5165

Antenna 14-Volt Switched Supply Voltage

2

0.35 OG

1486

FM Composite Band Selector Signal

Radio X1


Object Number: 1664602  Size: CH

Connector Part Information

  • OEM: 7283-4490-30
  • Service: See Catalog
  • Description: 14-Way F (BK)

Terminal Part Information

  • Pins: 1, 8
  • Terminal/Tray: 12191812/19
  • Core/Insulation Crimp: C/A
  • Release Tool/Test Probe: 15315247/J-35616-2A (GY)
  • Pins: 2-7, 9-14
  • Terminal/Tray: 7116-4618-02/14
  • Core/Insulation Crimp: P/P
  • Release Tool/Test Probe: J-38125-215/J-35616-64B (L-BU)

Radio X1

Pin

Wire

Circuit

Function

1

1 D-GN/TN

2040

Battery Positive Voltage

2

0.5 TN

511

Left Front Low Level Audio Signal

3

0.5 L-GN/WH

512

Right Front Low Level Audio Signal

4

0.35 GY/WH

655

Navigation Voice Signal (-UE1)

0.35 GY/BK

7043

Voice Recognition Audio Signal (U3R, U3U)

5

0.5 BK

1489

Drain Wire (without UE1)

0.35 PK/BK

7044

Voice Recognition Audio Low Reference (U3R/U3U)

6

0.5 PK

5165

Antenna 14-Volt Switched Supply Voltage

7

0.35 YE

1491

Backlight Lamp Control

8

1 BK

550

Ground

9

0.5 D-GN/RD

1947

Left Front Low Level Audio (-)

10

0.5 L-GN

1948

Right Front Low Level Audio (-)

11

0.5 BK/WH

1573

Front Audio Drain Wire

12

0.35 OG

1486

FM Composite Band Selector Signal

13

0.35 D-GN

5060

Low Speed GMLAN Serial Data

14

0.35 D-GN

5060

Low Speed GMLAN Serial Data

Radio X2


Object Number: 1664490  Size: CH

Connector Part Information

  • OEM: 7283-9076-30
  • Service: 15136073
  • Description: 16-Way F (BK)

Terminal Part Information

  • Terminal/Tray: 7116-4618-02/14
  • Core/Insulation Crimp: P/P
  • Release Tool/Test Probe: J-38125-215/J-35616-64B (L-BU)

Radio X2

Pin

Wire

Circuit

Function

1

0.35 BN/WH

367

Remote Radio Left Audio Signal

2

0.35 GY

388

Remote Radio Right Audio Signal (2)

3

0.5 BK/YE

1574

Rear Audio Drain Wire

4

--

--

Not Used

5

0.5 BN/WH

599

Left Rear Low Level Audio Signal

6

0.5 D-BU

546

Right Rear Low Level Audio Signal

7

0.35 OG/BK

1406

Remote Playback Device Left Audio Signal

8

0.35 PU

2334

Amplifier Control

9

0.35 TN/WH

372

Remote Radio Audio (-)

10

0.35 D-GN/WH

368

Remote Radio Right Audio Signal (1)

11

0.5 BK/TN

1705

Drain Wire

12

--

--

Not Used

13

0.5 BN

1999

Left Rear Low Level Audio (-)

14

0.5 TN/RD

1946

Right Rear Low Level Audio (-)

15

0.35 L-BU

1405

Remote Playback Device Audio Common Signal

16

--

--

Not Used

Radio X3


Object Number: 1664488  Size: CH

Connector Part Information

  • OEM: 7283-9078-80
  • Service: 15136074
  • Description: 16-Way F (BN)

Terminal Part Information

  • Pins: 1, 2, 5, 8-10, 15, 16
  • Terminal/Tray: 7116-4618-02/14
  • Core/Insulation Crimp: P/P
  • Release Tool/Test Probe: J-38125-215/J-35616-64B (L-BU)
  • Pins: 6, 7
  • Terminal/Tray: See Terminal Repair Kit
  • Core/Insulation Crimp: See Terminal Repair Kit
  • Release Tool/Test Probe: See Terminal Repair Kit

Radio X3

Pin

Wire

Circuit

Function

1

0.35 GY

5383

Navigation Display Serial Data Low (U3Q)

2

0.5 BK

1782

Ground (U3Q)

3-4

--

--

Not Used

5

0.5 D-GN/WH

817

Vehicle Speed Signal (U3R)

6

0.35 TN/BK

5147

Video Synchronization Low Reference (1) (U3Q)

7

0.5 BK

5324

Video Screen (U3Q)

8

0.35 D-BU

658

Cellular Telephone Voice Signal (U3R)

9

0.35 BN

5384

Navigation Display Serial Data High (U3Q)

10

0.35 YE

5385

Switch Power (U3Q)

11-14

--

--

Not Used

15

0.5 BK

701

Drain Wire (U3R)

16

0.35 L-BU/BK

659

Cellular Telephone Voice Low Reference (U3R)

Rear Compartment Courtesy Lamp


Object Number: 333035  Size: CH

Connector Part Information

  • OEM: 12047781
  • Service: 12101864
  • Description: 3-Way F Metri-Pack 150 Series (BK)

Terminal Part Information

  • Terminal/Tray: 12064971/5
  • Core/Insulation Crimp: E/C
  • Release Tool/Test Probe: 12094429/J-35616-2A (GY)

Rear Compartment Courtesy Lamp

Pin

Wire

Circuit

Function

A

--

--

Not Used

B

0.5 OG/BK

737

Trunk Lamp Control

C

0.5 OG

1732

12-Volt Reference

Rear Compartment Courtesy Lamp (B9Q)


Object Number: 280768  Size: CH

Connector Part Information

  • OEM: 12052832
  • Service: 12101825
  • Description: 2-Way F Metri-Pack 150 Series (BK)

Terminal Part Information

  • Terminal/Tray: 12064971/5
  • Core/Insulation Crimp: E/C
  • Release Tool/Test Probe: 12094429/J-35616-2A (GY)

Rear Compartment Courtesy Lamp (B9Q)

Pin

Wire

Circuit

Function

A

0.35 GY

8

Instrument Panel Lamp Supply Voltage

B

0.5 BK

450

Ground

Rear Compartment Lid Latch


Object Number: 872584  Size: CH

Connector Part Information

  • OEM: 6-1355678-1
  • Service: See Catalog
  • Description: 4-Way F (BN)

Terminal Part Information

  • Terminal/Tray: 4-969005-1/16
  • Core/Insulation Crimp: E/1
  • Release Tool/Test Probe: J-38125-560/J-35616-33 (YE)

Rear Compartment Lid Latch

Pin

Wire

Circuit

Function

1

0.35 OG/GY

744

Trunk Ajar Switch Signal

2

0.5 OG/BK

737

Rear Compartment Lamp Control

3

0.5 BK

850

Ground

4

0.5 TN/WH

56

Trunk Release Motor

Rear Park Assist Indicator (UFR)


Object Number: 130635  Size: CH

Connector Part Information

  • OEM: 12045813
  • Service: 12101889
  • Description: 4-Way F Metri-Pack 150 Series (NA)

Terminal Part Information

  • Terminal/Tray: 12064971/5
  • Core/Insulation Crimp: E/C
  • Release Tool/Test Probe: 12094429/J-35616-2A (GY)

Rear Park Assist Indicator (UFR)

Pin

Wire

Circuit

Function

A

0.35 GY/BK

7035

Telltale Assembly Supply Voltage

B

0.35 YE/BK

7036

Left Amber Indicator Control

C

0.35 YE/WH

7037

Center Amber Indicator Control

D

0.35 TN/WH

7038

Red Indicator Control

Rear Window Defogger X1


Object Number: 38284  Size: CH

Connector Part Information

  • OEM: 12064750
  • Service: 12101935
  • Description: 2-Way M Metri-Pack 480 Series (BK)

Terminal Part Information

  • Terminal/Tray: 12033820/2
  • Core/Insulation Crimp: B/G
  • Release Tool/Test Probe: 12094430/J-35616-40 (BU)

Rear Window Defogger X1

Pin

Wire

Circuit

Function

A

5 PU

293

Rear Defog Element Supply Voltage

B

5 BK

2050

Ground

Rear Window Defogger X2


Object Number: 696943  Size: CH

Connector Part Information

  • OEM: 12065652
  • Service: 12101893
  • Description: 1-Way M Metri-Pack 480 Series (BK)

Terminal Part Information

  • Terminal/Tray: 12033820/2
  • Core/Insulation Crimp: B/G
  • Release Tool/Test Probe: 12094430/J-35616-40 (BU)

Rear Window Defogger X2

Pin

Wire

Circuit

Function

A

5 OG

1950

Ground

Rear Window Sunshade Control Module X1 (DE9)


Object Number: 876336  Size: CH

Connector Part Information

  • OEM: 15409439
  • Service: 88953355
  • Description: 6-Way F AMP (BK)

Terminal Part Information

  • Terminal/Tray: See Terminal Repair Kit
  • Core/Insulation Crimp: See Terminal Repair Kit
  • Release Tool/Test Probe: See Terminal Repair Kit

Rear Window Sunshade Control Module X1 (DE9)

Pin

Wire

Circuit

Function

1

0.8 YE

643

Accessory Voltage

2

0.8 BK

750

Ground

3

--

--

Not Used

4

0.35 OG/BK

2332

Sunshade Switch

5-6

--

--

Not Used

Rear Window Sunshade Control Module X2 (DE9)


Object Number: 1466986  Size: CH

Connector Part Information

  • OEM: 174463
  • Service: See Catalog
  • Description: 2-Way M 070 Series Multilock 2P AMP (WH)

Terminal Part Information

  • Terminal/Tray: See Terminal Repair Kit
  • Core/Insulation Crimp: See Terminal Repair Kit
  • Release Tool/Test Probe: See Terminal Repair Kit

Rear Window Sunshade Control Module X2 (DE9)

Pin

Wire

Circuit

Function

1

0.8 BK

2328

Sunshade Actuator

2

0.8 D-BU

2327

Sunshade Actuator

Recirculation Actuator


Object Number: 1283833  Size: CH

Connector Part Information

  • OEM: 7283-5830-30
  • Service: 89046839
  • Description: 5-Way F (BK)

Terminal Part Information

  • Terminal/Tray: See Terminal Repair Kit
  • Core/Insulation Crimp: See Terminal Repair Kit
  • Release Tool/Test Probe: See Terminal Repair Kit

Recirculation Actuator

Pin

Wire

Circuit

Function

1

0.35 GY

598

5-Volt Reference

2

0.35 GY/BK

1798

Low Reference

3

0.35 L-BU

706

Recirculation Valve Solenoid Control

4

0.35 OG/GN

2274

Recirculation Door Control A

5

0.35 D-GN/BK

1614

Recirculation Door Control B

Remote Control Door Lock Receiver (RCDLR)


Object Number: 1673483  Size: CH

Connector Part Information

  • OEM: 15462684
  • Service: 88988745
  • Description: 4-Way F ILAG5 Series (GN)

Terminal Part Information

  • Terminal/Tray: See Terminal Repair Kit
  • Core/Insulation Crimp: See Terminal Repair Kit
  • Release Tool/Test Probe: See Terminal Repair Kit

Remote Control Door Lock Receiver (RCDLR)

Pin

Wire

Circuit

Function

1

0.35 RD/D-GN

1040

Battery Positive Voltage

2

0.35 D-GN

5060

Low Speed GMLAN Serial Data

3

--

--

Not Used

4

0.5 BK

750

Ground

Repeater Lamp - Left (EXP)


Object Number: 635009  Size: CH

Connector Part Information

  • OEM: 12052641
  • Service: 12102747
  • Description: 2-Way F Metri-Pack 150 Series (BK)

Terminal Part Information

  • Terminal/Tray: 12048074/2
  • Core/Insulation Crimp: E/1
  • Release Tool/Test Probe: 12094429/J-35616-2A (GY)

Repeater Lamp - Left (EXP)

Pin

Wire

Circuit

Function

A

0.5 L-BU/WH

1314

Left Front Turn Signal Lamp Supply Voltage

B

0.5 BK

250

Ground

Repeater Lamp - Right (EXP)


Object Number: 635009  Size: CH

Connector Part Information

  • OEM: 12052641
  • Service: 12102747
  • Description: 2-Way F Metri-Pack 150 Series (BK)

Terminal Part Information

  • Terminal/Tray: 12048074/2
  • Core/Insulation Crimp: E/1
  • Release Tool/Test Probe: 12094429/J-35616-2A (GY)

Repeater Lamp - Right (EXP)

Pin

Wire

Circuit

Function

A

0.5 D-BU/WH

1315

Right Front Turn Signal Lamp Supply Voltage

B

0.5 BK

250

Ground

Roof Rail Reading Lamp - Left (V4U/BQ9)


Object Number: 333035  Size: CH

Connector Part Information

  • OEM: 12047781
  • Service: 12101864
  • Description: 3-Way F Metri-Pack 150 Series (BK)

Terminal Part Information

  • Terminal/Tray: 12064971/5
  • Core/Insulation Crimp: E/C
  • Release Tool/Test Probe: 12094429/J-35616-2A (GY)

Roof Rail Reading Lamp - Left (V4U/BQ9)

Pin

Wire

Circuit

Function

A

0.5 GY/BK

690

Courtesy Lamp Low Control

B

0.5 BK

850

Ground

C

0.5 OG

1732

Courtesy Lamps Supply Voltage

Roof Rail Reading Lamp - Right (V4U/BQ9)


Object Number: 333035  Size: CH

Connector Part Information

  • OEM: 12047781
  • Service: 12101864
  • Description: 3-Way F Metri-Pack 150 Series (BK)

Terminal Part Information

  • Terminal/Tray: 12064971/5
  • Core/Insulation Crimp: E/C
  • Release Tool/Test Probe: 12094429/J-35616-2A (GY)

Roof Rail Reading Lamp - Right (V4U/BQ9)

Pin

Wire

Circuit

Function

A

0.5 GY/BK

690

Courtesy Lamp Control

B

0.5 BK

850

Ground

C

0.5 OG

1732

Courtesy Lamps Supply Voltage

Seat Adjuster Motor Assembly - Driver X1 (AM3/A45)


Object Number: 1519696  Size: CH

Connector Part Information

  • OEM: 7283-6466-40
  • Service: See Catalog
  • Description: 6-Way F YESC 2.8 MM (GY)

Terminal Part Information

  • Pins: 1, 2, 4-6
  • Terminal/Tray: 7116-4111-02/9
  • Core/Insulation Crimp: C/A
  • Release Tool/Test Probe: 12094430/J-35616-4A (PU)
  • Pins: 3
  • Terminal/Tray: 7116-4112-02/9
  • Core/Insulation Crimp: C/D
  • Release Tool/Test Probe: 12094430/J-35616-35 (VT)

Seat Adjuster Motor Assembly - Driver X1 (AM3/A45)

Pin

Wire

Circuit

Function

1

1 YE

282

Driver Power Seat Rear Vertical Motor Up Control

2

1 D-GN

286

Driver Power Seat Front Vertical Motor Up Control

3

1 TN

285

Driver Power Seat Horizontal Motor Forward Control

4

1 L-BU

283

Driver Power Seat Rear Vertical Motor Down Control

5

1 D-BU

287

Driver Power Seat Front Vertical Motor Down Control

6

1 L-GN

284

Driver Power Seat Horizontal Motor Rearward Control

Seat Adjuster Motor Assembly - Driver X2 (AM3/A45)


Object Number: 1283897  Size: CH

Connector Part Information

  • OEM: 7283-5532-40
  • Service: 89046849
  • Description: 6-Way F 1.5 Series (GY)

Terminal Part Information

  • Terminal/Tray: 7116-4100-08/9
  • Core/Insulation Crimp: E/C
  • Release Tool/Test Probe: 12094430/J-35616-2A (GY)

Seat Adjuster Motor Assembly - Driver X2 (AM3/A45)

Pin

Wire

Circuit

Function

1

0.35 BN/WH

557

Memory Seat Front Vertical Motor Position Sensor Signal

2

0.35 TN/RD

782

Low Reference

3

0.35 D-GN

569

Memory Seat Horizontal Motor Position Sensor Signal

4

--

--

Not Used

5

0.35 TN

568

Memory Seat Rear Vertical Motor Position Sensor Signal

6

0.35 GY

788

5-Volt Reference

Seat Adjuster Motor Assembly - Front Passenger (AG2/AM3)


Object Number: 1519696  Size: CH

Connector Part Information

  • OEM: 7283-6466-40
  • Service: See Catalog
  • Description: 6-Way F YESC 2.8 MM (GY)

Terminal Part Information

  • Terminal/Tray: 7116-4112-02/9
  • Core/Insulation Crimp: C/D
  • Release Tool/Test Probe: 12094430/J-35616-35 (VT)

Seat Adjuster Motor Assembly - Front Passenger (AG2/AM3)

Pin

Wire

Circuit

Function

1

2 YE

288

Passenger Seat Rear Vertical Motor Up Control

2

2 D-GN

297

Passenger Seat Front Vertical Motor Up Control

3

2 TN

296

Passenger Seat Horizontal Motor Forward Control

4

2 L-BU

289

Passenger Seat Rear Vertical Motor Down Control

5

2 D-BU

298

Passenger Seat Front Vertical Motor Down Control

6

2 L-GN

290

Passenger Seat Horizontal Motor Rearward Control

Seat Adjuster Switch - Driver (A45)


Object Number: 623046  Size: CH

Connector Part Information

  • OEM: 15326931
  • Service: 15306309
  • Description: 10-Way F GT 280 Series (BK)

Terminal Part Information

  • Terminal/Tray: 15304711/8
  • Core/Insulation Crimp: E/A
  • Release Tool/Test Probe: 15315247/J-35616-4A (PU)

Seat Adjuster Switch - Driver (A45)

Pin

Wire

Circuit

Function

A

0.35 D-GN/WH

1518

Front Vertical Up Switch Signal

B

--

--

Not Used

C

0.35 L-GN/BK

1523

Horizontal Rearward Switch Signal

D

0.35 TN

1522

Horizontal Forward Switch Signal

E

0.35 GY/BK

5979

Memory Seat Switch High Reference

F

0.35 YE

1519

Rear Vertical Up Switch Signal

G

0.35 L-BU/YE

277

Recline Motor Rearward Switch Signal

H

0.35 L-GN/YE

276

Recline Motor Forward Switch Signal

J

0.35 L-BU/BK

1521

Rear Vertical Down Switch Signal

K

0.35 D-BU

1528

Front Vertical Down Switch Signal

Seat Adjuster Switch - Driver (without A45)


Object Number: 623046  Size: CH

Connector Part Information

  • OEM: 15326931
  • Service: 15306309
  • Description: 10-Way F GT 280 Series (BK)

Terminal Part Information

  • Terminal/Tray: 15304713/19
  • Core/Insulation Crimp: 4/4
  • Release Tool/Test Probe: 15315247/J-35616-4A (PU)

Seat Adjuster Switch - Driver (without A45)

Pin

Wire

Circuit

Function

A

2 D-GN

286

Driver Seat Front Vertical Motor Up Control

B

2 BK

350

Ground

C

2 L-GN

284

Driver Seat Horizontal Motor Rearward Control

D

2 TN

285

Driver Seat Horizontal Motor Forward Control

E

2 RD/PK

1140

Battery Positive Voltage

F

2 YE

282

Driver Seat Rear Vertical Motor Up Control

G

2 L-BU/YE

277

Driver Seat Recline Motor Rearward Switch Signal

H

2 L-GN/YE

276

Driver Seat Recline Motor Forward Switch Signal

J

2 L-BU

283

Driver Seat Rear Vertical Motor Down Control

K

2 D-BU

287

Driver Seat Front Vertical Motor Down Control

Seat Adjuster Switch - Passenger (AG2)


Object Number: 556473  Size: CH

Connector Part Information

  • OEM: 15326924
  • Service: 15306174
  • Description: 8-Way F GT 280 Series (BK)

Terminal Part Information

  • Terminal/Tray: See Terminal Repair Kit
  • Core/Insulation Crimp: See Terminal Repair Kit
  • Release Tool/Test Probe: See Terminal Repair Kit

Seat Adjuster Switch - Passenger (AG2)

Pin

Wire

Circuit

Function

A

2 D-BU

298

Passenger Seat Front Vertical Motor Down Control

B

2 BK

450

Ground

C

2 TN

296

Passenger Seat Horizontal Motor Forward Control

D

2 TN/D-BU

4240

Battery Positive Voltage

E

2 L-BU

289

Passenger Seat Rear Vertical Motor Down Control

F

2 L-GN

290

Passenger Seat Horizontal Motor Rearward Control

G

2 YE

288

Passenger Seat Rear Vertical Motor Up Control

H

2 D-GN

297

Passenger Seat Front Vertical Motor Up Control

Seat Adjuster Switch - Passenger (AM3)


Object Number: 623046  Size: CH

Connector Part Information

  • OEM: 15326931
  • Service: 15306309
  • Description: 10-Way F GT 280 Series (BK)

Terminal Part Information

  • Terminal/Tray: 15304713/19
  • Core/Insulation Crimp: 4/4
  • Release Tool/Test Probe: 15315247/J-35616-4A (PU)

Seat Adjuster Switch - Passenger (AM3)

Pin

Wire

Circuit

Function

A

2 D-BU

298

Passenger Seat Front Vertical Motor Down Control

B

2 BK

450

Ground

C

2 L-GN

290

Passenger Seat Horizontal Motor Rearward Control

D

2 TN

296

Passenger Seat Horizontal Motor Forward Control

E

2 TN/D-BU

4240

Battery Positive Voltage

F

2 L-BU

289

Passenger Seat Rear Vertical Motor Down Control

G

2 D-BU/RD

77

Passenger Seat Recline Motor Rearward

H

2 D-GN/PK

76

Passenger Seat Recline Motor Forward

J

2 YE

288

Passenger Seat Rear Vertical Motor Up Control

K

2 D-GN

297

Passenger Seat Front Vertical Motor Up Control

Seat Back Ventilation Heat and Cool Module - Driver (KB6)


Object Number: 1554145  Size: CH

Connector Part Information

  • OEM: E3575-001
  • Service: See Catalog
  • Description: 8-Way F 1.5 mm Unsealed (BK)

Terminal Part Information

  • Pins: 1, 3
  • Terminal/Tray: 7116-4101-08/9
  • Core/Insulation Crimp: E/A
  • Release Tool/Test Probe: 12094430/J-35616-2A (GY)
  • Pins: 2, 4, 5-8
  • Terminal/Tray: 7116-4100-08/9
  • Core/Insulation Crimp: E/C
  • Release Tool/Test Probe: 12094430/J-35616-2A (GY)

Seat Back Ventilation Heat and Cool Module - Driver (KB6)

Pin

Wire

Circuit

Function

1

1 PU

7023

Driver Seat Back Heated/Cool Ventilation Module Heat Control

2

0.5 D-BU

6143

Driver Seat Blower Supply Voltage

3

1 TN/PU

7024

Driver Seat Back Heated/Cool Ventilation Module Cool Control

4

0.5 D-GN

6238

Driver Seat Blower Low Reference

5

0.35 YE/BN

7020

Driver Seat Back Temperature Sensor Signal

6

--

--

Not Used

7

0.35 GY/PU

6211

Driver Seat Back Blower Speed Control

8

0.35 YE/WH

7021

Driver Seat Back Temperature Sensor Low Reference

Seat Back Ventilation Heat and Cool Module - Front Passenger (KB6)


Object Number: 1554145  Size: CH

Connector Part Information

  • OEM: E3575-001
  • Service: See Catalog
  • Description: 8-Way F 1.5 mm Unsealed (BK)

Terminal Part Information

  • Pins: 1, 3
  • Terminal/Tray: 7116-4101-08/9
  • Core/Insulation Crimp: E/A
  • Release Tool/Test Probe: 12094430/J-35616-2A (GY)
  • Pins: 2, 4, 5-8
  • Terminal/Tray: 7116-4100-08/9
  • Core/Insulation Crimp: E/C
  • Release Tool/Test Probe: 12094430/J-35616-2A (GY)

Seat Back Ventilation Heat and Cool Module - Front Passenger (KB6)

Pin

Wire

Circuit

Function

1

1 L-BU

6225

Passenger Seat Back Heated/Cool Ventilation Module Heat Control

2

0.5 D-BU/WH

6222

Passenger Seat Blower Supply Voltage

3

1 TN/OG

6226

Passenger Seat Back Heated/Cool Ventilation Module Cool Control

4

0.5 TN/PK

6446

Passenger Seat Blower Low Reference

5

0.35 TN

2436

Passenger Seat Back Temperature Sensor Signal

6

--

--

Not Used

7

0.35 BN

6223

Passenger Seat Blower Speed Control

8

0.35 TN/GY

2482

Passenger Seat Back Temperature Low Reference

Seat Belt Pretensioner - Left Front


Object Number: 1861740  Size: CH

Connector Part Information

  • OEM: 1376030-1
  • Service: NA
  • Description: 2-Way F (YE)

Terminal Part Information

  • Terminal/Tray: Service with Pigtail
  • Core/Insulation Crimp: See Terminal Repair Kit
  • Release Tool/Test Probe: See Terminal Repair Kit

Seat Belt Pretensioner - Left Front

Pin

Wire

Circuit

Function

1

0.5 TN/BK

2118

Seat Belt Pretensioner - Left - High Control

2

0.5 OG/BK

2119

Seat Belt Pretensioner - Left - Low Control

Seat Belt Pretensioner - Right Front


Object Number: 1861740  Size: CH

Connector Part Information

  • OEM: 1376030-1
  • Service: NA
  • Description: 2-Way F (YE)

Terminal Part Information

  • Terminal/Tray: Service with Pigtail
  • Core/Insulation Crimp: See Terminal Repair Kit
  • Release Tool/Test Probe: See Terminal Repair Kit

Seat Belt Pretensioner - Right Front

Pin

Wire

Circuit

Function

1

0.5 TN/PU

7074

Seat Belt Pretensioner - Right Front - High Control

2

0.5 RD/L-BU

6971

Seat Belt Pretensioner - Right Front - Low Control

Seat Belt Switch - Left


Object Number: 1664595  Size: CH

Connector Part Information

  • OEM: 12048457
  • Service: 12085481
  • Description: 2-Way M (BK)

Terminal Part Information

  • Terminal/Tray: 12047581/2
  • Core/Insulation Crimp: E/C
  • Release Tool/Test Probe: 12094429/J-35616-3 (GY)

Seat Belt Switch - Left

Pin

Wire

Circuit

Function

A

0.35 TN/WH

238

Left Front Seat Belt Switch Signal

B

0.35 TN/PK

5017

Low Reference

Seat Belt Switch - Right


Object Number: 1664595  Size: CH

Connector Part Information

  • OEM: 12048457
  • Service: 12085481
  • Description: 2-Way M (BK)

Terminal Part Information

  • Terminal/Tray: 12047581/2
  • Core/Insulation Crimp: E/C
  • Release Tool/Test Probe: 12094429/J-35616-3 (GY)

Seat Belt Switch - Right

Pin

Wire

Circuit

Function

A

0.35 TN/WH

238

Right Front Seat Belt Switch Signal

B

0.35 TN/PK

5017

Low Reference

Seat Cushion Ventilation Heat and Cool Module - Driver (KB6)


Object Number: 1664607  Size: CH

Connector Part Information

  • OEM: E3578-003
  • Service: See Catalog
  • Description: 8-Way M (BK)

Terminal Part Information

  • Terminal/Tray: See Terminal Repair Kit
  • Core/Insulation Crimp: See Terminal Repair Kit
  • Release Tool/Test Probe: See Terminal Repair Kit

Seat Cushion Ventilation Heat and Cool Module - Driver (KB6)

Pin

Wire

Circuit

Function

1

1 PK

7022

Driver Seat Cushion Heated/Cooled Ventilation Module Heat Control

2

0.5 D-BU

6143

Driver Seat Blower Supply Voltage

3

1 L-GN

6216

Driver Seat Cushion Heated/Cool Ventilation Module Cool Control

4

0.5 D-GN

6238

Driver Seat Blower Low Reference

5

0.35 OG/PK

7018

Driver Seat Cushion Temperature Sensor Signal

6

--

--

Not Used

7

0.35 BK/TN

6218

Driver Seat Cushion Blower Speed Control

8

0.35 OG/WH

7019

Driver Seat Cushion Temperature Sensor Low Reference

Seat Cushion Ventilation Heat and Cool Module - Front Passenger (KB6)


Object Number: 1664607  Size: CH

Connector Part Information

  • OEM: E3578-003
  • Service: See Catalog
  • Description: 8-Way M (BK)

Terminal Part Information

  • Terminal/Tray: See Terminal Repair Kit
  • Core/Insulation Crimp: See Terminal Repair Kit
  • Release Tool/Test Probe: See Terminal Repair Kit

Seat Cushion Ventilation Heat and Cool Module - Front Passenger (KB6)

Pin

Wire

Circuit

Function

1

1 L-GN/WH

6227

Passenger Seat Cushion Heated/Cool Ventilation Module Heat Control

2

0.5 D-BU/WH

6222

Passenger Seat Blower Supply Voltage

3

1 L-GN/OG

6228

Passenger Seat Cushion Heated/Cool Ventilation Module Cool Control

4

0.5 TN/PK

6446

Passenger Seat Blower Low Reference

5

0.35 GY

2434

Passenger Seat Cushion Temperature Sensor Signal

6

--

--

Not Used

7

0.35 PU

6229

Passenger Seat Cushion Blower Speed Control

8

0.35 PK

2435

Passenger Seat Cushion Temperature Low Reference

Seat Front Vertical Position Sensor - Driver (A45) (Part of Seat Adjuster Motor Assembly Driver)


Object Number: 1356095  Size: CH

Connector Part Information

  • OEM: See Catalog
  • Service: See Catalog
  • Description: 3-Way F (WH)

Terminal Part Information

  • Terminal/Tray: See Terminal Repair Kit
  • Core/Insulation Crimp: See Terminal Repair Kit
  • Release Tool/Test Probe: See Terminal Repair Kit

Seat Front Vertical Position Sensor - Driver (A45) (Part of Seat Adjuster Motor Assembly Driver)

Pin

Wire

Circuit

Function

1

0.35 BK

--

Memory Seat Sensor Low Reference

2

0.35 WH

--

Front Vertical Seat Motor Position Sensor Signal

3

0.35 RD

--

5-Volt Reference

Seat Lumbar Horizontal Motor - Left Rear (ARC)


Object Number: 130707  Size: CH

Connector Part Information

  • OEM: 12020556
  • Service: 12101820
  • Description: 2-Way F Metri-Pack 480 Series (BK)

Terminal Part Information

  • Terminal/Tray: 12015860/4
  • Core/Insulation Crimp: C/A
  • Release Tool/Test Probe: 12094430/J-35616-40 (BU)

Seat Lumbar Horizontal Motor - Left Rear (ARC)

Pin

Wire

Circuit

Function

A

0.8 WH/GY

7027

Left Rear Lumbar Forward Motor

B

0.8 PU

7028

Left Rear Lumbar Reverse Motor

Seat Lumbar Horizontal Motor - Right Rear (ARC)


Object Number: 130707  Size: CH

Connector Part Information

  • OEM: 12020556
  • Service: 12101820
  • Description: 2-Way F Metri-Pack 480 Series (BK)

Terminal Part Information

  • Terminal/Tray: 12015860/4
  • Core/Insulation Crimp: C/A
  • Release Tool/Test Probe: 12094430/J-35616-40 (BU)

Seat Lumbar Horizontal Motor - Right Rear (ARC)

Pin

Wire

Circuit

Function

A

0.8 L-GN/BK

7031

Right Rear Lumbar Forward Motor

B

0.8 YE/BK

7032

Right Rear Lumbar Reverse Motor

Seat Lumbar Massage Motor Driver Horizontal Motor (AM3) (Part of Seat Lumbar Massage Motor - Driver)


Object Number: 130707  Size: CH

Connector Part Information

  • OEM: 12020556
  • Service: See Catalog
  • Description: 2-Way F Metri-Pack 480 Series (BK)

Terminal Part Information

  • Terminal/Tray: See Terminal Repair Kit
  • Core/Insulation Crimp: See Terminal Repair Kit
  • Release Tool/Test Probe: See Terminal Repair Kit

Seat Lumbar Massage Motor Driver Horizontal Motor (AM3) (Part of Seat Lumbar Massage Motor - Driver)

Pin

Wire

Circuit

Function

A

0.35 PK

--

Driver Power Seat Lumbar Motor Forward Control

B

0.35 D-BU

--

Driver Power Seat Lumbar Motor Rearward Control

Seat Lumbar Massage Motor Driver Vertical Motor (AM3) (Part of Seat Lumbar Massage Motor - Driver)


Object Number: 130707  Size: CH

Connector Part Information

  • OEM: 12020556
  • Service: See Catalog
  • Description: 2-Way F Metri-Pack 480 Series (BK)

Terminal Part Information

  • Terminal/Tray: See Terminal Repair Kit
  • Core/Insulation Crimp: See Terminal Repair Kit
  • Release Tool/Test Probe: See Terminal Repair Kit

Seat Lumbar Massage Motor Driver Vertical Motor (AM3) (Part of Seat Lumbar Massage Motor - Driver)

Pin

Wire

Circuit

Function

A

0.35 L-GN

--

Driver Power Seat Lumbar Motor Up Control

B

0.35 PU

--

Driver Power Seat Lumbar Motor Down Control

Seat Lumbar Massage Motor Position Sensor - Front Passenger (AM3)


Object Number: 1862689  Size: CH

Connector Part Information

  • OEM: See Catalog
  • Service: See Catalog
  • Description: 4-Way F (WH)

Terminal Part Information

  • Terminal/Tray: See Terminal Tray
  • Core/Insulation Crimp: See Terminal Tray
  • Release Tool/Test Probe: See Terminal Tray

Seat Lumbar Massage Motor Position Sensor - Front Passenger (AM3)

Pin

Wire

Circuit

Function

1

0.35 BN

--

Memory Seat Sensor Low Reference

2

0.35 OG

--

Memory Seat Lumbar Horizontal Position Sensor Signal

3

--

--

Not Used

4

0.35 L-BU

--

Memory Position Sensor 5-Volt Reference

Seat Lumbar Massage Switch - Driver (AM3)


Object Number: 39660  Size: CH

Connector Part Information

  • OEM: 12047785
  • Service: 12102900
  • Description: 4-Way F Metri-Pack 150 Series (BK)

Terminal Part Information

  • Terminal/Tray: 12064971/5
  • Core/Insulation Crimp: E/C
  • Release Tool/Test Probe: 12094429/J-35616-2A (GY)

Seat Lumbar Massage Switch - Driver (AM3)

Pin

Wire

Circuit

Function

A

0.35 OG/BK

6604

Driver Seat Massage Switch Signal

B

--

--

Not Used

C

0.35 GY/BK

5979

Memory Seat Switch High Reference

D

--

--

Not Used

Seat Lumbar Massage Switch - Front Passenger (AM3)


Object Number: 39660  Size: CH

Connector Part Information

  • OEM: 12047785
  • Service: 12102900
  • Description: 4-Way F Metri-Pack 150 Series (BK)

Terminal Part Information

  • Terminal/Tray: 12064971/5
  • Core/Insulation Crimp: E/C
  • Release Tool/Test Probe: 12094429/J-35616-2A (GY)

Seat Lumbar Massage Switch - Front Passenger (AM3)

Pin

Wire

Circuit

Function

A

0.35 BK/WH

6617

Passenger Seat Massage Switch Signal

B

--

--

Not Used

C

0.35 GY/BK

5979

Memory Seat Switch High Reference

D

--

--

Not Used

Seat Lumbar Position Sensor Driver Vertical Sensor Motor (AM3) (Part of Seat Lumbar Massage Motor - Driver)


Object Number: 1862689  Size: CH

Connector Part Information

  • OEM: See Catalog
  • Service: See Catalog
  • Description: 4-Way F (WH)

Terminal Part Information

  • Terminal/Tray: See Terminal Repair Kit
  • Core/Insulation Crimp: See Terminal Repair Kit
  • Release Tool/Test Probe: See Terminal Repair Kit

Seat Lumbar Position Sensor Driver Vertical Sensor Motor (AM3) (Part of Seat Lumbar Massage Motor - Driver)

Pin

Wire

Circuit

Function

1

0.35 BN

--

Memory Seat Sensor Low Reference

2

0.35 RD

--

Memory Seat Lumbar Vertical Position Sensor Signal

3

--

--

Not Used

4

0.35 L-BU

--

Memory Position Sensor 5-Volt Reference

Seat Lumbar Motor Position Sensor - Front Passenger (without A45)


Object Number: 1862689  Size: CH

Connector Part Information

  • OEM: See Catalog
  • Service: See Catalog
  • Description: 4-Way F (WH)

Terminal Part Information

  • Terminal/Tray: See Terminal Tray
  • Core/Insulation Crimp: See Terminal Tray
  • Release Tool/Test Probe: See Terminal Tray

Seat Lumbar Motor Position Sensor - Front Passenger (without A45)

Pin

Wire

Circuit

Function

1

0.35 BN

--

Passenger Seat Lumbar Up Switch Signal

2

0.35 RD

--

Passenger Seat Lumbar Down Switch Signal

3

--

--

Not Used

4

0.35 L-BU

--

Passenger Seat Lumbar Motor Forward Control

Seat Lumbar Motor Position Sensor - Driver Horizontal (AM3) (Part of Seat Lumbar Massage Motor - Driver)


Object Number: 1862689  Size: CH

Connector Part Information

  • OEM: See Catalog
  • Service: See Catalog
  • Description: 4-Way F (WH)

Terminal Part Information

  • Terminal/Tray: See Terminal Repair Kit
  • Core/Insulation Crimp: See Terminal Repair Kit
  • Release Tool/Test Probe: See Terminal Repair Kit

Seat Lumbar Motor Position Sensor - Driver Horizontal (AM3) (Part of Seat Lumbar Massage Motor - Driver)

Pin

Wire

Circuit

Function

1

0.35 BN

--

Memory Seat Sensor Low Reference

2

0.35 OG

--

Memory Seat Lumbar Horizontal Position Sensor Signal

3

--

--

Not Used

4

0.35 L-BU

--

Memory Position Sensor 5-Volt Reference

Seat Lumbar Switch - Left Rear (ARC)


Object Number: 258171  Size: CH

Connector Part Information

  • OEM: 12065873
  • Service: 12102778
  • Description: 7-Way F Micro-Pack 100 Series (BK)

Terminal Part Information

  • Terminal/Tray: 12146448/19
  • Core/Insulation Crimp: E/C
  • Release Tool/Test Probe: 12031876-1/J-35616-6 (BN)

Seat Lumbar Switch - Left Rear (ARC)

Pin

Wire

Circuit

Function

1

0.8 PK/TN

3240

Battery Positive Voltage

2

0.8 PU

7027

Left Rear Lumbar Reverse Motor

3

0.8 BK

750

Ground

4

0.35 GY

8

Instrument Panel Lamp Supply Voltage

5

0.8 WH/BK

7026

Left Rear Lumbar Down Motor

6

0.8 YE/WH

7025

Lumbar Up Motor

7

0.8 WH/GY

7028

Left Rear Lumbar Forward Motor

Seat Lumbar Switch - Right Rear (ARC)


Object Number: 258171  Size: CH

Connector Part Information

  • OEM: 12065873
  • Service: 12102778
  • Description: 7-Way F Micro-Pack 100 Series (BK)

Terminal Part Information

  • Pins: 1-3, 5, 6
  • Terminal/Tray: See Terminal Repair Kit
  • Core/Insulation Crimp: See Terminal Repair Kit
  • Release Tool/Test Probe: See Terminal Repair Kit
  • Pins: 4, 7
  • Terminal/Tray: 12146448/19
  • Core/Insulation Crimp: E/C
  • Release Tool/Test Probe: 12031876-1/J-35616-6 (BN)

Seat Lumbar Switch - Right Rear (ARC)

Pin

Wire

Circuit

Function

1

0.8 PK/TN

3240

Battery Positive Voltage

2

0.8 PU

7032

Right Rear Lumbar Forward Motor

3

0.8 BK

450

Ground

4

0.35 GY

8

Instrument Panel Lamp Supply Voltage

5

0.8 WH/BK

7030

Right Rear Lumbar Down Motor

6

0.8 YE/WH

7029

Right Rear Lumbar Up Motor

7

0.8 WH/GY

7031

Right Rear Lumbar Reverse Motor

Seat Lumbar Vertical Motor - Left Rear (ARC)


Object Number: 130707  Size: CH

Connector Part Information

  • OEM: 12020556
  • Service: 12101820
  • Description: 2-Way F Metri-Pack 480 Series (BK)

Terminal Part Information

  • Terminal/Tray: 12015860/4
  • Core/Insulation Crimp: C/A
  • Release Tool/Test Probe: 12094430/J-35616-40 (BU)

Seat Lumbar Vertical Motor - Left Rear (ARC)

Pin

Wire

Circuit

Function

A

0.8 YE/WH

7025

Lumbar Up Motor

B

0.8 WH/BK

7026

Left Rear Lumbar Down Motor

Seat Lumbar Vertical Motor - Right Rear (ARC)


Object Number: 130707  Size: CH

Connector Part Information

  • OEM: 12020556
  • Service: 12101820
  • Description: 2-Way F Metri-Pack 480 Series (BK)

Terminal Part Information

  • Terminal/Tray: 12015860/4
  • Core/Insulation Crimp: C/A
  • Release Tool/Test Probe: 12094430/J-35616-40 (BU)

Seat Lumbar Vertical Motor - Right Rear (ARC)

Pin

Wire

Circuit

Function

A

0.8 D-BU

7029

Right Rear Lumbar Up Motor

B

0.8 OG/BK

7030

Right Rear Lumbar Down Motor

Seat Rear Horizontal Position Sensor - Driver (A45) (Part of Seat Adjuster Motor Assembly Driver)


Object Number: 1356095  Size: CH

Connector Part Information

  • OEM: See Catalog
  • Service: See Catalog
  • Description: 3-Way F (WH)

Terminal Part Information

  • Terminal/Tray: See Terminal Repair Kit
  • Core/Insulation Crimp: See Terminal Repair Kit
  • Release Tool/Test Probe: See Terminal Repair Kit

Seat Rear Horizontal Position Sensor - Driver (A45) (Part of Seat Adjuster Motor Assembly Driver)

Pin

Wire

Circuit

Function

1

0.35 BK

--

Memory Seat Sensor Low Reference

2

0.35 L-BU

--

Horizontal Seat Motor Position Sensor Signal

3

0.35 RD

--

5-Volt Reference

Seat Rear Vertical Position Sensor - Driver (A45) (Part of Seat Adjuster Motor Assembly Driver)


Object Number: 1356095  Size: CH

Connector Part Information

  • OEM: See Catalog
  • Service: See Catalog
  • Description: 3-Way F (WH)

Terminal Part Information

  • Terminal/Tray: See Terminal Repair Kit
  • Core/Insulation Crimp: See Terminal Repair Kit
  • Release Tool/Test Probe: See Terminal Repair Kit

Seat Rear Vertical Position Sensor - Driver (A45) (Part of Seat Adjuster Motor Assembly Driver)

Pin

Wire

Circuit

Function

1

0.35 BK

--

Memory Seat Sensor Low Reference

2

0.35 D-GN

--

Rear Vertical Seat Motor Position Sensor Signal

3

0.35 RD

--

5-Volt Reference

Seat Recline Motor - Driver (AG1, A45) (Part of Driver Seat Recline Motor Assembly)


Object Number: 1073782  Size: CH

Connector Part Information

  • OEM: 12020556
  • Service: 12101820
  • Description: 2-Way F Metri-Pack 480 Series (BK)

Terminal Part Information

  • Terminal/Tray: See Terminal Repair Kit
  • Core/Insulation Crimp: See Terminal Repair Kit
  • Release Tool/Test Probe: See Terminal Repair Kit

Seat Recline Motor - Driver (AG1, A45) (Part of Driver Seat Recline Motor Assembly)

Pin

Wire

Circuit

Function

A

2 L-BU

276

Driver Power Seat Recline Motor Forward Control

B

2 BK

277

Driver Power Seat Recline Motor Rearward Control

Seat Recline Motor - Front Passenger (AM3)


Object Number: 1073782  Size: CH

Connector Part Information

  • OEM: 12020556
  • Service: 12101820
  • Description: 2-Way F Metri-Pack 480 Series (BK)

Terminal Part Information

  • Terminal/Tray: See Terminal Repair Kit
  • Core/Insulation Crimp: Terminal Repair Kit
  • Release Tool/Test Probe: Terminal Repair Kit

Seat Recline Motor - Front Passenger (AM3)

Pin

Wire

Circuit

Function

A

0.35 L-BU

76

Passenger Seat Recline Motor Forward

B

0.35 BK

77

Passenger Seat Recline Motor Rearward

Seat Recline Motor Position Sensor - Driver (A45)


Object Number: 401671  Size: CH

Connector Part Information

  • OEM: 39-01-4030
  • Service: See Catalog
  • Description: 3-Way F Molex Connector (NA)

Terminal Part Information

  • Terminal/Tray: 39-00-0038/23
  • Core/Insulation Crimp: K/K
  • Release Tool/Test Probe: J-38125-560/J-35616-12 (BU)

Seat Recline Motor Position Sensor - Driver (A45)

Pin

Wire

Circuit

Function

1

0.35 GY

788

Memory Position Sensor 5-Volt Reference

2

0.35 WH/BK

570

Memory Seat Recline Motor Position Sensor Signal

3

0.35 TN/RD

782

Memory Seat Sensor Low Reference

Secondary Air Injection (AIR) Check Valve


Object Number: 1526382  Size: CH

Connector Part Information

  • OEM: 13539171
  • Service: 88988601
  • Description: 6-Way F GT 150 Series Sealed (BK)

Terminal Part Information

  • Terminal/Tray: See Terminal Repair Kit
  • Core/Insulation Crimp: See Terminal Repair Kit
  • Release Tool/Test Probe: See Terminal Repair Kit

Secondary Air Injection (AIR) Check Valve

Pin

Wire

Circuit

Function

1

0.5 WH/GY

6786

Low Reference

2

0.5 YE/GY

6788

Air Injection Position Signal

3

0.5 BN/WH

6790

5-Volt Reference

4

0.5 BK

1150

Ground

5

--

--

Not Used

6

0.5 PK/BK

415

Air Injection Reaction Solenoid Supply Voltage

Secondary Air Injection (AIR) Pump


Object Number: 1664608  Size: CH

Connector Part Information

  • OEM: 12147067
  • Service: 89046640
  • Description: 2-Way F Sealed (GY)

Terminal Part Information

  • Terminal/Tray: 12147474/24
  • Core/Insulation Crimp: G/F/3
  • Release Tool/Test Probe: 12094430/J-35616-42 (RD)

Secondary Air Injection (AIR) Pump

Pin

Wire

Circuit

Function

A

5 OG

78

AIR Pump Supply Voltage

B

5 BK

1150

Ground

Shock Absorber Actuator - Left Front (F55)


Object Number: 655866  Size: CH

Connector Part Information

  • OEM: 15355009
  • Service: 15306332
  • Description: 2-Way F 150.2 Series Sealed, Pull To Seat (BK)

Terminal Part Information

  • Terminal/Tray: 12124075/5
  • Core/Insulation Crimp: E/C
  • Release Tool/Test Probe: 12180559-1/J-35616-2A (GY)

Shock Absorber Actuator - Left Front (F55)

Pin

Wire

Circuit

Function

A

0.8 L-BU

1448

Left Front Damper Control

B

0.8 YE

1005

Left Front Damper Low Reference

Shock Absorber Actuator - Left Rear (F55)


Object Number: 287974  Size: CH

Object Number: 1486322  Size: CH

Connector Part Information

  • OEM: 15305168
  • Service: 12167117
  • Description: 2-Way F Metri-Pack 150 Series (GY)
  • Suspension Damper Adapter
  • OEM: 15359261
  • Service: 88953232
  • Description: 2-Way M Metri-Pack 150 Series (GY)

Terminal Part Information

  • Terminal/Tray: 12048074/2
  • Core/Insulation Crimp: E/1
  • Release Tool/Test Probe: 12094429/J-35616-2A (GY)

Shock Absorber Actuator - Left Rear (F55)

Pin

Wire

Circuit

Function

A

0.8 PK/D-GN

1010

Left Rear Damper Control

B

0.8 GY/OG

1013

Left Rear Damper Low Reference

Shock Absorber Actuator - Right Front (F55)


Object Number: 655866  Size: CH

Connector Part Information

  • OEM: 15355009
  • Service: 15306332
  • Description: 2-Way F 150.2 Series Sealed, Pull To Seat (BK)

Terminal Part Information

  • Terminal/Tray: 12124075/5
  • Core/Insulation Crimp: E/C
  • Release Tool/Test Probe: 12180559-1/J-35616-2A (GY)

Shock Absorber Actuator - Right Front (F55)

Pin

Wire

Circuit

Function

A

0.8 TN

1006

Right Front Damper Control

B

0.8 D-GN

1009

Right Front Damper Low Reference

Shock Absorber Actuator - Right Rear (F55)


Object Number: 287974  Size: CH

Object Number: 1486322  Size: CH

Connector Part Information

  • OEM: 15305168
  • Service: 12167117
  • Description: 2-Way F Metri-Pack 150 Series (GY)
  • Suspension Damper Adapter
  • OEM: 15359261
  • Service: 88953232
  • Description: 2-Way M Metri-Pack 150 Series (GY)

Terminal Part Information

  • Terminal/Tray: 12048074/2
  • Core/Insulation Crimp: E/1
  • Release Tool/Test Probe: 12094429/J-35616-2A (GY)

Shock Absorber Actuator - Right Rear (F55)

Pin

Wire

Circuit

Function

A

0.8 YE/BK

1014

Right Rear Damper Control

B

0.8 PU

1017

Right Rear Damper Low Reference

Side Object Detection - Left (UFT)


Object Number: 1708509  Size: CH

Connector Part Information

  • OEM: 31404-6100
  • Service: See Catalog
  • Description: 6-Way F Sealed (BK)

Terminal Part Information

  • Terminal/Tray: See Terminal Repair Kit
  • Core/Insulation Crimp: See Terminal Repair Kit
  • Release Tool/Test Probe: See Terminal Repair Kit

Side Object Detection - Left (UFT)

Pin

Wire

Circuit

Function

1

--

--

Not Used

2

0.35 RD/WH

4540

Battery Positive Voltage

3

--

--

Not Used

4

0.35 D-GN

5060

Low Speed GMLAN Serial Data

5

0.35 BK

1050

Ground

6

--

--

Not Used

Side Object Detection - Right (UFT)


Object Number: 1708509  Size: CH

Connector Part Information

  • OEM: 31404-6100
  • Service: See Catalog
  • Description: 6-Way F Sealed (BK)

Terminal Part Information

  • Terminal/Tray: See Terminal Repair Kit
  • Core/Insulation Crimp: See Terminal Repair Kit
  • Release Tool/Test Probe: See Terminal Repair Kit

Side Object Detection - Right (UFT)

Pin

Wire

Circuit

Function

1

--

--

Not Used

2

0.35 RD/WH

4540

Battery Positive Voltage

3-4

0.35 D-GN

5060

Low Speed GMLAN Serial Data

5-6

0.35 BK

1050

Ground

Sillplate Lamp - Left Front (C97)


Object Number: 1581759  Size: CH

Connector Part Information

  • OEM: 19115613
  • Service: See Catalog
  • Description: 2-Way F (BK)

Terminal Part Information

  • Terminal/Tray: See Terminal Repair Kit
  • Core/Insulation Crimp: See Terminal Repair Kit
  • Release Tool/Test Probe: See Terminal Repair Kit

Sillplate Lamp - Left Front (C97)

Pin

Wire

Circuit

Function

1

0.35 D-GN

953

Backlight Lamp Signal

2

0.35 BK

350

Ground

Sillplate Lamp - Left Rear (C97)


Object Number: 1581759  Size: CH

Connector Part Information

  • OEM: 19115613
  • Service: See Catalog
  • Description: 2-Way F (BK)

Terminal Part Information

  • Terminal/Tray: See Terminal Repair Kit
  • Core/Insulation Crimp: See Terminal Repair Kit
  • Release Tool/Test Probe: See Terminal Repair Kit

Sillplate Lamp - Left Rear (C97)

Pin

Wire

Circuit

Function

1

0.35 D-GN

953

Backlight Lamp Signal

2

0.35 BK

750

Ground

Sillplate Lamp - Right Front (C97)


Object Number: 1581759  Size: CH

Connector Part Information

  • OEM: 19115613
  • Service: See Catalog
  • Description: 2-Way F (BK)

Terminal Part Information

  • Terminal/Tray: See Terminal Repair Kit
  • Core/Insulation Crimp: See Terminal Repair Kit
  • Release Tool/Test Probe: See Terminal Repair Kit

Sillplate Lamp - Right Front (C97)

Pin

Wire

Circuit

Function

1

0.35 D-GN

953

Backlight Lamp Signal

2

0.35 BK

450

Ground

Sillplate Lamp - Right Rear (C97)


Object Number: 1581759  Size: CH

Connector Part Information

  • OEM: 19115613
  • Service: See Catalog
  • Description: 2-Way F (BK)

Terminal Part Information

  • Terminal/Tray: See Terminal Repair Kit
  • Core/Insulation Crimp: See Terminal Repair Kit
  • Release Tool/Test Probe: See Terminal Repair Kit

Sillplate Lamp - Right Rear (C97)

Pin

Wire

Circuit

Function

1

0.35 D-GN

953

Backlight Lamp Signal

2

0.35 BK

750

Ground

Speaker - Front Center (UQ3)


Object Number: 130724  Size: CH

Connector Part Information

  • OEM: 12064869
  • Service: 12117323
  • Description: 2-Way F Metri-Pack 150 Series (BU)

Terminal Part Information

  • Terminal/Tray: 12047767/2
  • Core/Insulation Crimp: E/A
  • Release Tool/Test Probe: 12094429/J-35616-2A (GY)

Speaker - Front Center (UQ3)

Pin

Wire

Circuit

Function

A

0.8 L-BU

1960

Front Center Speaker (-)

B

0.8 YE

1860

Front Center Speaker (+)

Speaker - Front Center (UQA)


Object Number: 280768  Size: CH

Connector Part Information

  • OEM: 12052832
  • Service: 12101825
  • Description: 2-Way F Metri-Pack 150 Series (BK)

Terminal Part Information

  • Terminal/Tray: 12064971/5
  • Core/Insulation Crimp: E/C
  • Release Tool/Test Probe: 12094429/J-35616-2A (GY)

Speaker - Front Center (UQA)

Pin

Wire

Circuit

Function

A

0.5 L-BU

1960

Front Center Speaker (-)

B

0.5 YE

1860

Front Center Speaker (+)

Speaker - Left Front Door (UQ3)


Object Number: 130724  Size: CH

Connector Part Information

  • OEM: 12064869
  • Service: 12117323
  • Description: 2-Way F Metri-Pack 150 Series (BU)

Terminal Part Information

  • Terminal/Tray: 12047767/2
  • Core/Insulation Crimp: E/A
  • Release Tool/Test Probe: 12094429/J-35616-2A (GY)

Speaker - Left Front Door (UQ3)

Pin

Wire

Circuit

Function

A

0.8 GY

118

Left Front Speaker Signal (-)

B

0.35 TN

201

Left Front Speaker (+)

Speaker - Left Front Door (UQA)


Object Number: 280768  Size: CH

Connector Part Information

  • OEM: 12052832
  • Service: 12101825
  • Description: 2-Way F Metri-Pack 150 Series (BK)

Terminal Part Information

  • Terminal/Tray: 12047767/2
  • Core/Insulation Crimp: E/A
  • Release Tool/Test Probe: 12094429/J-35616-2A (GY)

Speaker - Left Front Door (UQA)

Pin

Wire

Circuit

Function

A

0.8 GY

118

Left Front Speaker Signal (-)

B

0.35 TN

201

Left Front Speaker (+)

Speaker - Left Front Tweeter (UQ3)


Object Number: 766913  Size: CH

Connector Part Information

  • OEM: 12052833
  • Service: 12117275
  • Description: 2-Way M Metri-Pack 150 Series (BK)

Terminal Part Information

  • Terminal/Tray: 12047581/2
  • Core/Insulation Crimp: E/C
  • Release Tool/Test Probe: 12094429/J-35616-3 (GY)

Speaker - Left Front Tweeter (UQ3)

Pin

Wire

Circuit

Function

A

0.5 YE

1956

Left Front Tweeter Speaker (-)

B

0.5 TN/L-BU

1856

Left Front Tweeter Speaker (+)

Speaker - Left Front Tweeter (UQA)


Object Number: 766913  Size: CH

Connector Part Information

  • OEM: 12052833
  • Service: 12117275
  • Description: 2-Way M Metri-Pack 150 Series (BK)

Terminal Part Information

  • Terminal/Tray: 12047581/2
  • Core/Insulation Crimp: E/C
  • Release Tool/Test Probe: 12094429/J-35616-3 (GY)

Speaker - Left Front Tweeter (UQA)

Pin

Wire

Circuit

Function

A

0.5 GY

118

Left Front Speaker Signal (-)

B

0.5 TN

201

Left Front Speaker (+)

Speaker - Left Rear Door (UQ3)


Object Number: 130724  Size: CH

Connector Part Information

  • OEM: 12064869
  • Service: 12117323
  • Description: 2-Way F Metri-Pack 150 Series (BU)

Terminal Part Information

  • Terminal/Tray: 12047767/2
  • Core/Insulation Crimp: E/A
  • Release Tool/Test Probe: 12094429/J-35616-2A (GY)

Speaker - Left Rear Door (UQ3)

Pin

Wire

Circuit

Function

A

0.8 WH

1959

Left Rear Midrange Speaker (-)

B

0.8 TN/OG

1859

Left Rear Midrange Speaker (+)

Speaker - Left Rear Door (UQA)


Object Number: 280768  Size: CH

Connector Part Information

  • OEM: 12052832
  • Service: 12101825
  • Description: 2-Way F Metri-Pack 150 Series (BK)

Terminal Part Information

  • Terminal/Tray: 12047767/2
  • Core/Insulation Crimp: E/A
  • Release Tool/Test Probe: 12094429/J-35616-2A (GY)

Speaker - Left Rear Door (UQA)

Pin

Wire

Circuit

Function

A

0.8 WH

1959

Left Rear Midrange Speaker (-)

B

0.8 TN/OG

1859

Left Rear Midrange Speaker (+)

Speaker - Right Front Door (UQ3)


Object Number: 130724  Size: CH

Connector Part Information

  • OEM: 12064869
  • Service: 12117323
  • Description: 2-Way F Metri-Pack 150 Series (BU)

Terminal Part Information

  • Terminal/Tray: 12047767/2
  • Core/Insulation Crimp: E/A
  • Release Tool/Test Probe: 12094429/J-35616-2A (GY)

Speaker - Right Front Door (UQ3)

Pin

Wire

Circuit

Function

A

0.8 PK/BK

117

Right Front Speaker Signal (-)

B

0.8 L-GN

200

Right Front Speaker (+)

Speaker - Right Front Door (UQA)


Object Number: 280768  Size: CH

Connector Part Information

  • OEM: 12052832
  • Service: 12101825
  • Description: 2-Way F Metri-Pack 150 Series (BK)

Terminal Part Information

  • Terminal/Tray: 12047767/2
  • Core/Insulation Crimp: E/A
  • Release Tool/Test Probe: 12094429/J-35616-2A (GY)

Speaker - Right Front Door (UQA)

Pin

Wire

Circuit

Function

A

0.5 PK/BK

117

Right Front Speaker Signal (-)

B

0.5 L-GN

200

Right Front Speaker (+)

Speaker - Right Front Tweeter (UQ3)


Object Number: 766913  Size: CH

Connector Part Information

  • OEM: 12052833
  • Service: 12117275
  • Description: 2-Way M Metri-Pack 150 Series (BK)

Terminal Part Information

  • Terminal/Tray: 12047581/2
  • Core/Insulation Crimp: E/C
  • Release Tool/Test Probe: 12094429/J-35616-3 (GY)

Speaker - Right Front Tweeter (UQ3)

Pin

Wire

Circuit

Function

A

0.5 PU

1952

Right Front Tweeter Speaker (-)

B

0.5 L-GN/BK

1852

Right Front Tweeter Speaker (+)

Speaker - Right Front Tweeter (UQA)


Object Number: 766913  Size: CH

Connector Part Information

  • OEM: 12052833
  • Service: 12117275
  • Description: 2-Way M Metri-Pack 150 Series (BK)

Terminal Part Information

  • Terminal/Tray: 12047581/2
  • Core/Insulation Crimp: E/C
  • Release Tool/Test Probe: 12094429/J-35616-3 (GY)

Speaker - Right Front Tweeter (UQA)

Pin

Wire

Circuit

Function

A

1 PK/BK

117

Right Front Speaker Signal (-)

B

1 L-GN

200

Right Front Speaker (+)

Speaker - Right Rear Door (UQ3)


Object Number: 130724  Size: CH

Connector Part Information

  • OEM: 12064869
  • Service: 12117323
  • Description: 2-Way F Metri-Pack 150 Series (BU)

Terminal Part Information

  • Terminal/Tray: See Terminal Repair Kit
  • Core/Insulation Crimp: See Terminal Repair Kit
  • Release Tool/Test Probe: See Terminal Repair Kit

Speaker - Right Rear Door (UQ3)

Pin

Wire

Circuit

Function

A

0.8 WH

1955

Right Rear Midrange Speaker (-)

B

0.8 TN/OG

1855

Right Rear Midrange Speaker (+)

Speaker - Right Rear Door (UQA)


Object Number: 280768  Size: CH

Connector Part Information

  • OEM: 12052832
  • Service: 12101825
  • Description: 2-Way F Metri-Pack 150 Series (BK)

Terminal Part Information

  • Terminal/Tray: See Terminal Repair Kit
  • Core/Insulation Crimp: See Terminal Repair Kit
  • Release Tool/Test Probe: See Terminal Repair Kit

Speaker - Right Rear Door (UQA)

Pin

Wire

Circuit

Function

A

0.8 WH

1955

Right Rear Midrange Speaker (-)

B

0.8 TN/OG

1855

Right Rear Midrange Speaker (+)

Speaker - Subwoofer (UQ3)


Object Number: 130724  Size: CH

Connector Part Information

  • OEM: 12064869
  • Service: 12117323
  • Description: 2-Way F Metri-Pack 150 Series (BU)

Terminal Part Information

  • Terminal/Tray: 12047767/2
  • Core/Insulation Crimp: E/A
  • Release Tool/Test Probe: 12094429/J-35616-2A (GY)

Speaker - Subwoofer (UQ3)

Pin

Wire

Circuit

Function

A

0.8 PK

6766

Subwoofer Low Level Audio (-)

B

0.8 WH

6765

Subwoofer Low Level Audio Signal

Speaker - Subwoofer (UQA)


Object Number: 153645  Size: CH

Connector Part Information

  • OEM: 12129081
  • Service: 12129081
  • Description: 2-Way F Metri-Pack 280 Series, Flexlock (BK)

Terminal Part Information

  • Terminal/Tray: 12110842/4
  • Core/Insulation Crimp: A/B
  • Release Tool/Test Probe: 15315247/J-35616-4A (PU)

Speaker - Subwoofer (UQA)

Pin

Wire

Circuit

Function

A

2 TN/PK

6766

Subwoofer Low Level Audio (-)

B

2 WH

6765

Subwoofer Low Level Audio Signal

Starter Motor X1

Terminal Part Information

  • Terminal: 12146365
  • Core/Insulation Crimp: N/A
  • Description: Ring Terminal

Starter Motor X1

Pin

Wire

Circuit

Function

--

13 RD/BK

6

Battery Positive Voltage

Starter Motor X2

Terminal Part Information

  • Terminal: 15317554
  • Core/Insulation Crimp: N/A
  • Description: Ring Terminal

Starter Motor X2

Pin

Wire

Circuit

Function

--

13 PU

6

Starter Solenoid Crank Voltage

Steering Angle Sensor (JL4)


Object Number: 40427  Size: CH

Connector Part Information

  • OEM: 12064978
  • Service: 12125678
  • Description: 6-Way F Micro-Pack 100 Series (GY)

Terminal Part Information

  • Terminal/Tray: See Terminal Repair Kit
  • Core/Insulation Crimp: See Terminal Repair Kit
  • Release Tool/Test Probe: See Terminal Repair Kit

Steering Angle Sensor (JL4)

Pin

Wire

Circuit

Function

1

0.35 GY

1056

5-Volt Reference

2

0.35 OG/BK

556

Low Reference

3-4

--

--

Not Used

5

0.35 L-GN

1763

Steering Wheel Position Signal A

6

0.35 L-BU

1764

Steering Wheel Position Signal B

Steering Wheel Control Switch - Left


Object Number: 1399235  Size: CH

Connector Part Information

  • OEM: 30700-1100
  • Service: See Catalog
  • Description: 10-Way F HDAC64 DR (GY)

Terminal Part Information

  • Terminal/Tray: See Terminal Repair Kit
  • Core/Insulation Crimp: See Terminal Repair Kit
  • Release Tool/Test Probe: See Terminal Repair Kit

Steering Wheel Control Switch - Left

Pin

Wire

Circuit

Function

1

0.35 PU

1375

Remote Radio Control Head Accessory Supply Voltage

2

0.35 YE

5883

Heated Steering Wheel Switch Supply Voltage (NR7/N57/N30/N50)

3

0.35 GY

1884

Cruise Control Set/Cruise and Resume/Accelerate Switch Signal

4

0.35 WH

5884

Indicator Control

5

0.35 OG

397

Cruise Control On Switch Signal (N57/N50/K59)

6

0.35 PU/WH

1381

LCD Dimming Signal

7

--

--

Not Used

8

0.35 BK

350

Ground

9

D-GN/WH

7158

Cruise Control Indicator Dimming Signal

10

--

--

Not Used

Steering Wheel Control Switch - Right


Object Number: 1709750  Size: CH

Connector Part Information

  • OEM: 31068-1010
  • Service: See Catalog
  • Description: 4-Way F Receptacle 0.64 (BK)

Terminal Part Information

  • Terminal/Tray: 1393364-2/7
  • Core/Insulation Crimp: K/K
  • Release Tool/Test Probe: 15315247/J-35616-64B (L-BU)

Steering Wheel Control Switch - Right

Pin

Wire

Circuit

Function

1

0.35 BK

350

Ground

2

0.35 PU/WH

1381

LCD Dimming Signal

3

0.35 PU

1375

Remote Radio Control Head Accessory Supply Voltage

4

0.35 D-BU

1796

Steering Column Radio Control Signal

Sunload Twilight Sensor


Object Number: 130637  Size: CH

Connector Part Information

  • OEM: 12064760
  • Service: 12085208
  • Description: 4-Way F Metri-Pack 150 Series (BK)

Terminal Part Information

  • Pins: A, B, D
  • Terminal/Tray: 12064971/5
  • Core/Insulation Crimp: E/C
  • Release Tool/Test Probe: 12094429/J-35616-2A (GY)
  • Pins: C
  • Terminal/Tray: See Terminal Repair Kit
  • Core/Insulation Crimp: See Terminal Repair Kit
  • Release Tool/Test Probe: See Terminal Repair Kit

Sunload Twilight Sensor

Pin

Wire

Circuit

Function

A

0.35 L-BU/BK

590

Left Sunload Sensor Signal

B

0.35 GY

1548

Right Sunload Sensor Signal

C

0.35 BK

350

Ground

D

0.35 L-GN/BK

1137

Ambient Light Sensor Signal

Sunroof Control Module(CF5)


Object Number: 1469285  Size: CH

Connector Part Information

  • OEM: 7283-8398-40
  • Service: Service by Harness - See Part Catalog
  • Description: 14-Way F Metri-Pack 280 Series (GY)

Terminal Part Information

  • Terminal/Tray: See Terminal Repair Kit
  • Core/Insulation Crimp: See Terminal Repair Kit
  • Release Tool/Test Probe: See Terminal Repair Kit

Sunroof Control Module (CF5)

Pin

Wire

Circuit

Function

1

3 TN

4440

Battery Power

2

--

--

Not Used

3

0.35 YE

643

RAP Power

4

3 BK

1050

Ground

5

0.35 OG

5029

Glass Open Signal

6

0.35 L-BU

5027

Glass Close Signal

7

0.35 BN

5028

Glass Express Open Signal

8

0.35 PU

5032

Vent Open Signal

9

0.35 TN

5030

Vent Close Signal

10

0.35 PK

5031

Vent Express Open Signal

11

0.35 D-BU

128

Ground

12

0.35 BN/WH

944

Not Used

13

0.35 BK/WH

944

Not Used

14

0.35 WH

944

Not Used

Sunroof Switch (CF5)


Object Number: 1283887  Size: CH

Connector Part Information

  • OEM: 50-57-9408
  • Service: 89046705
  • Description: 8-Way F (BK)

Terminal Part Information

  • Terminal/Tray: 16-02-1110/20
  • Core/Insulation Crimp: H/H
  • Release Tool/Test Probe: J-38125-213/J-35616-64B (L-BU)

Sunroof Switch (CF5)

Pin

Wire

Circuit

Function

1

0.35 BN

5028

Sunroof Switch Data 2

2

0.35 L-BU

5027

Sunroof Switch Data 1

3

0.35 GY

8

Instrument Panel Lamp Supply Voltage

4

0.35 PU

5032

Sunroof Switch Data 6

5

0.35 D-BU

128

Sunroof Switch Low Reference

6

0.35 TN

5030

Sunroof Switch Data 4

7

0.35 BN

5028

Sunroof Switch Data 2

8

0.35 OG

5029

Sunroof Switch Data 3

Sunshade - Left Front


Object Number: 82383  Size: CH

Connector Part Information

  • OEM: 12047662
  • Service: 12085535
  • Description: 2-Way F Metri-Pack 150 Series (BK)

Terminal Part Information

  • Terminal/Tray: 12064971/5
  • Core/Insulation Crimp: E/C
  • Release Tool/Test Probe: 12094429/J-35616-2A (GY)

Sunshade - Left Front

Pin

Wire

Circuit

Function

A

0.5 OG

1732

Courtesy Lamps Supply Voltage

B

0.5 BK

850

Ground

Sunshade - Left Rear (DC5)


Object Number: 82383  Size: CH

Connector Part Information

  • OEM: 12047662
  • Service: 12085535
  • Description: 2-Way F Metri-Pack 150 Series (BK)

Terminal Part Information

  • Terminal/Tray: 12064971/5
  • Core/Insulation Crimp: E/C
  • Release Tool/Test Probe: 12094429/J-35616-2A (GY)

Sunshade - Left Rear (DC5)

Pin

Wire

Circuit

Function

A

0.5 OG

1732

Courtesy Lamps Supply Voltage

B

0.5 BK

850

Ground

Sunshade - Right Front


Object Number: 82383  Size: CH

Connector Part Information

  • OEM: 12047662
  • Service: 12085535
  • Description: 2-Way F Metri-Pack 150 Series (BK)

Terminal Part Information

  • Terminal/Tray: 12064971/5
  • Core/Insulation Crimp: E/C
  • Release Tool/Test Probe: 12094429/J-35616-2A (GY)

Sunshade - Right Front

Pin

Wire

Circuit

Function

A

0.5 OG

1732

Courtesy Lamps Supply Voltage

B

0.5 BK

850

Ground

Sunshade - Right Rear (DC5)


Object Number: 82383  Size: CH

Connector Part Information

  • OEM: 12047662
  • Service: 12085535
  • Description: 2-Way F Metri-Pack 150 Series (BK)

Terminal Part Information

  • Terminal/Tray: 12064971/5
  • Core/Insulation Crimp: E/C
  • Release Tool/Test Probe: 12094429/J-35616-2A (GY)

Sunshade - Right Rear (DC5)

Pin

Wire

Circuit

Function

A

0.5 OG

1732

Courtesy Lamps Supply Voltage

B

0.5 BK

850

Ground

Sunshade Switch (DE9)


Object Number: 39660  Size: CH

Connector Part Information

  • OEM: 12047785
  • Service: 12102900
  • Description: 4-Way F Metri-Pack 150 Series (BK)

Terminal Part Information

  • Terminal/Tray: 12064971/5
  • Core/Insulation Crimp: E/C
  • Release Tool/Test Probe: 12094429/J-35616-2A (GY)

Sunshade Switch (DE9)

Pin

Wire

Circuit

Function

A

0.35 BK

850

Ground

B

--

--

Not Used

C

0.35 OG/BK

2332

Sunshade Switch

D

0.35 GY

8

Instrument Panel Lamp Supply Voltage

Suspension Position Sensor - Left Front (F55)


Object Number: 1387924  Size: CH

Connector Part Information

  • OEM: 15326556
  • Service: 88953359
  • Description: 3-Way F GT 150 Series (BK)

Terminal Part Information

  • Terminal/Tray: 15326267/19
  • Core/Insulation Crimp: E/4
  • Release Tool/Test Probe: 15315247/J-35616-2A (GY)

Suspension Position Sensor - Left Front (F55)

Pin

Wire

Circuit

Function

A

0.35 PU/WH

1205

Left Front Suspension Position Sensor Voltage Reference

B

0.35 TN/WH

1207

Left Front Suspension Position Sensor Signal

C

0.35 L-BU/BK

1206

Left Front Suspension Position Sensor Low Reference

Suspension Position Sensor - Left Rear (F38)


Object Number: 831393  Size: CH

Connector Part Information

  • OEM: 1-967616-1
  • Service: 15306420
  • Description: 6-Way F (BK)

Terminal Part Information

  • Terminal/Tray: See Terminal Repair Kit
  • Core/Insulation Crimp: See Terminal Repair Kit
  • Release Tool/Test Probe: See Terminal Repair Kit

Suspension Position Sensor - Left Rear (F38)

Pin

Wire

Circuit

Function

1

0.35 OG/BK

1208

Left Rear Strut Position Sensor Voltage Reference

2

0.35 L-GN/WH

1210

Left Rear Strut Position Sensor Signal

3

0.35 L-GN/BK

1209

Left Rear Strut Position Sensor Low Reference

4-6

--

--

Not Used

Suspension Position Sensor - Left Rear (F55)


Object Number: 1387924  Size: CH

Connector Part Information

  • OEM: 15326556
  • Service: 88953359
  • Description: 3-Way F GT 150 Series (BK)

Terminal Part Information

  • Terminal/Tray: 15326267/19
  • Core/Insulation Crimp: E/4
  • Release Tool/Test Probe: 15315247/J-35616-2A (GY)

Suspension Position Sensor - Left Rear (F55)

Pin

Wire

Circuit

Function

A

0.35 OG/WH

1208

Left Rear Suspension Position Sensor Voltage Reference

B

0.35 L-GN/WH

1210

Left Rear Suspension Position Sensor Signal

C

0.35 L-GN/BK

1209

Left Rear Suspension Position Sensor Low Reference

Suspension Position Sensor - Right Front (F55)


Object Number: 1387924  Size: CH

Connector Part Information

  • OEM: 15326556
  • Service: 88953359
  • Description: 3-Way F GT 150 Series (BK)

Terminal Part Information

  • Terminal/Tray: 15326267/19
  • Core/Insulation Crimp: E/4
  • Release Tool/Test Probe: 15315247/J-35616-2A (GY)

Suspension Position Sensor - Right Front (F55)

Pin

Wire

Circuit

Function

A

0.35 PU/BK

1211

Right Front Suspension Position Sensor Voltage Reference

B

0.35 TN/D-BU

1213

Right Front Suspension Position Sensor Signal

C

0.35 L-BU/YE

1212

Right Front Suspension Position Sensor Low Reference

Suspension Position Sensor - Right Rear (F38)


Object Number: 831393  Size: CH

Connector Part Information

  • OEM: 1-967616-1
  • Service: 15306420
  • Description: 6-Way F (BK)

Terminal Part Information

  • Terminal/Tray: See Terminal Repair Kit
  • Core/Insulation Crimp: See Terminal Repair Kit
  • Release Tool/Test Probe: See Terminal Repair Kit

Suspension Position Sensor - Right Rear (F38)

Pin

Wire

Circuit

Function

1

0.35 OG/BK

1214

Right Rear Strut Position Sensor Low Reference

2

0.35 L-GN/WH

1216

Right Rear Strut Position Sensor Signal

3

0.35 L-GN/BK

1215

Right Rear Strut Position Sensor Voltage Reference

4-6

--

--

Not Used

Suspension Position Sensor - Right Rear (F55)


Object Number: 1387924  Size: CH

Connector Part Information

  • OEM: 15326556
  • Service: 88953359
  • Description: 3-Way F GT 150 Series (BK)

Terminal Part Information

  • Terminal/Tray: 15326267/19
  • Core/Insulation Crimp: E/4
  • Release Tool/Test Probe: 15315247/J-35616-2A (GY)

Suspension Position Sensor - Right Rear (F55)

Pin

Wire

Circuit

Function

A

0.35 TN/OG

1214

Right Rear Suspension Position Sensor Voltage Reference

B

0.35 GY/BN

1216

Right Rear Suspension Position Sensor Signal

C

0.35 TN/D-GN

1215

Right Rear Suspension Position Sensor Low Reference

Tail Lamp Assembly - Left


Object Number: 62463  Size: CH

Connector Part Information

  • OEM: 12064766
  • Service: 12101875
  • Description: 8-Way F Metri-Pack 150 Series Sealed (BU)

Terminal Part Information

  • Terminal/Tray: 12064971/5
  • Core/Insulation Crimp: E/C
  • Release Tool/Test Probe: 12094429/J-35616-2A (GY)

Tail Lamp Assembly - Left

Pin

Wire

Circuit

Function

A

0.5 D-GN

19

Right Rear Stop/Turn Lamp Supply Voltage

B

0.5 YE

18

Left Rear Stop/Turn Lamp Supply Voltage (without EXP)

0.5 L-BU

1320

CHMSL Supply Voltage (EXP)

C

0.5 BK

850

Ground (without EXP)

D

0.5 YE/WH

5356

Left Tail Lamp Outage Detection Signal

E

0.5 L-GN

24

Backup Lamp Supply Voltage

F

0.5 PU

709

Left Park Lamp Supply Voltage

G

0.5 YE

18

Left Rear Stop/Turn Lamp Supply Voltage (EXP)

H

0.5 BK

850

Ground (EXP)

Tail Lamp Assembly - Right


Object Number: 62463  Size: CH

Connector Part Information

  • OEM: 12064766
  • Service: 12101875
  • Description: 8-Way F Metri-Pack 150 Series Sealed (BU)

Terminal Part Information

  • Terminal/Tray: 12064971/5
  • Core/Insulation Crimp: E/C
  • Release Tool/Test Probe: 12094429/J-35616-2A (GY)

Tail Lamp Assembly - Right

Pin

Wire

Circuit

Function

A

--

--

Not Used

B

0.5 D-GN

19

Right Rear Stop/Turn Lamp Supply Voltage (without EXP)

0.5 L-BU

1320

CHMSL Supply Voltage (EXP)

C

0.5 BK

1050

Ground (without EXP)

D

0.5 PU

5357

Right Tail Lamp Outage Detection Signal

E

0.5 L-GN

24

Backup Lamp Supply Voltage

F

0.5 BN/WH

309

Right Park Lamp Supply Voltage

G

0.5 D-GN

19

Right Rear Stop/Turn Lamp Supply Voltage (EXP)

H

0.5 BK

1050

Ground (EXP)

Telescoping Actuator X1 (N37)


Object Number: 130707  Size: CH

Connector Part Information

  • OEM: 12020556
  • Service: 12101820
  • Description: 2-Way F Metri-Pack 480 Series (BK)

Terminal Part Information

  • Terminal/Tray: See Terminal Repair Kit
  • Core/Insulation Crimp: See Terminal Repair Kit
  • Release Tool/Test Probe: See Terminal Repair Kit

Telescoping Actuator X1 (N37)

Pin

Wire

Circuit

Function

A

1 TN

2110

Steering Column Telescope Motor Control - Reverse

B

1 OG

2098

Steering Column Telescope Motor Control - Forward

Telescoping Actuator X2 (N37/A45)


Object Number: 287973  Size: CH

Connector Part Information

  • OEM: 12047782
  • Service: 12117371
  • Description: 3-Way M Metri-Pack 150 Series (BK)

Terminal Part Information

  • Terminal/Tray: See Terminal Repair Kit
  • Core/Insulation Crimp: See Terminal Repair Kit
  • Release Tool/Test Probe: See Terminal Repair Kit

Telescoping Actuator X2 (N37/A45)

Pin

Wire

Circuit

Function

A

0.35 TN

782

Low Reference

B

0.35 GY

788

5-Volt Reference

C

0.35 OG/BK

2153

Steering Column Telescope Sensor Signal

Telltale Assembly Info Center (UFR)


Object Number: 1664614  Size: CH

Connector Part Information

  • OEM: 15499368
  • Service: See Catalog
  • Description: 8-Way F (BK)

Terminal Part Information

  • Terminal/Tray: 7116-4618-02/14
  • Core/Insulation Crimp: P/P
  • Release Tool/Test Probe: J-38125-215/J-35616-64B (L-BU)

Telltale Assembly Info Center (UFR)

Pin

Wire

Circuit

Function

1

0.35 D-GN/TN

7042

Red Indicator Control

2

0.35 D-BU/TN

7041

Center Amber Indicator Control

3

0.35 GY/BK

7039

Left Amber Indicator Control

4

0.35 PU/WH

1382

Telltale Assembly Supply Voltage

5

0.35 L-GN

6997

Adaptive Cruise Vehicle Ahead Sensor (K59)

6

0.35 L-BU

6996

Adaptive Cruise Control Active Signal (K59)

7

0.35 L-GN/PU

7050

Adaptive Cruise Control Vehicle Alert Sensor (K59)

8

--

--

Not Used

Theft Deterrent Module (TDM)


Object Number: 1593355  Size: CH

Connector Part Information

  • OEM: 50-57-9705
  • Service: 88988353
  • Description: 5-Way F (BK)

Terminal Part Information

  • Terminal/Tray: See Terminal Repair Kit
  • Core/Insulation Crimp: See Terminal Repair Kit
  • Release Tool/Test Probe: See Terminal Repair Kit

Theft Deterrent Module (TDM)

Pin

Wire

Circuit

Function

1

0.35 OG/RD

1840

Battery Positive Voltage

2

0.35 BN

4

Accessory Voltage

3

0.35 BK

350

Ground

4

0.35 D-GN

5060

Low Speed GMLAN Serial Data

5

0.35 D-GN/WH

5060

Low Speed GMLAN Serial Data

Throttle Body Assembly


Object Number: 1664617  Size: CH

Connector Part Information

  • OEM: 15355297
  • Service: 88988106
  • Description: 6-Way F (BK)

Terminal Part Information

  • Terminal/Tray: 12191819/8
  • Core/Insulation Crimp: Pins A, B - 2/A
  • Core/Insulation Crimp: Pins C-F - E/A
  • Release Tool/Test Probe: 15315247/J-35616-2A (GY)

Throttle Body Assembly

Pin

Wire

Circuit

Function

A

0.8 OG/PK

582

TAC Motor Control - 2

B

0.8 YE

581

TAC Motor Control - 1

C

0.5 RD/YE

2752

Low Reference

D

0.5 D-GN

485

TP Sensor 1 Signal

E

0.5 PK/RD

2701

5-Volt Reference

F

0.5 PU

486

TP Sensor 2 Signal

Tilt Actuator X1 (N37)


Object Number: 130706  Size: CH

Connector Part Information

  • OEM: 12052110
  • Service: 12102768
  • Description: 2-Way F Metri-Pack 480 Series (TN)

Terminal Part Information

  • Terminal/Tray: See Terminal Repair Kit
  • Core/Insulation Crimp: See Terminal Repair Kit
  • Release Tool/Test Probe: See Terminal Repair Kit

Tilt Actuator X1 (N37)

Pin

Wire

Circuit

Function

A

1 PK

2111

Steering Column Tilt Motor Control - Up

B

1 BN

2112

Steering Column Tilt Motor Control - Down

Tilt Actuator X2 (N37/A45)


Object Number: 287973  Size: CH

Connector Part Information

  • OEM: 12065423
  • Service: 12117371
  • Description: 3-Way M Metri-Pack 150 Series (TN)

Terminal Part Information

  • Terminal/Tray: See Terminal Repair Kit
  • Core/Insulation Crimp: See Terminal Repair Kit
  • Release Tool/Test Probe: See Terminal Repair Kit

Tilt Actuator X2 (N37/A45)

Pin

Wire

Circuit

Function

A

0.35 TN

782

Low Reference

B

0.35 GY

788

5-Volt Reference

C

0.35 OG/BK

2154

Steering Column Tilt Sensor Signal

Tilt/Telescope Switch (N37)


Object Number: 1654915  Size: CH

Connector Part Information

  • OEM: 12185636
  • Service: 12101876
  • Description: 5-Way M Metri-Pack 150 Series (BK)

Terminal Part Information

  • Terminal/Tray: See Terminal Repair Kit
  • Core/Insulation Crimp: See Terminal Repair Kit
  • Release Tool/Test Probe: See Terminal Repair Kit

Tilt/Telescope Switch (N37)

Pin

Wire

Circuit

Function

1

0.35 YE

2097

Steering Column Tilt Down Switch Signal

2

0.35 OG

2095

Steering Column Telescope Reverse Switch Signal

3

0.35 PK

2094

Steering Column Telescope Forward Switch Signal

4

0.35 GY/BK

5979

Memory Seat Switch High Reference

5

0.35 GY

2096

Steering Column Tilt Up Switch Signal

Torque Converter Clutch Pulse Width Modulated (TCC PWM) Solenoid Valve


Object Number: 168428  Size: CH

Connector Part Information

  • OEM: 15473845
  • Service: See Catalog
  • Description: Connector 2-Way F Metri-Pack 150.2 Series (BU)

Terminal Part Information

  • Terminal/Tray: See Terminal Repair Kit
  • Core/Insulation Crimp: See Terminal Repair Kit
  • Release Tool/Test Probe: See Terminal Repair Kit

Torque Converter Clutch Pulse Width Modulated (TCC PWM) Solenoid Valve

Pin

Wire

Circuit

Function

A

0.5 WH

539

Ignition 1 Voltage

B

0.5 TN

418

TCC PWM Solenoid Valve Control

Traction Control Switch (AQ9)


Object Number: 39660  Size: CH

Connector Part Information

  • OEM: 12047785
  • Service: 12102900
  • Description: 4-Way F Metri-Pack 150 Series (BK)

Terminal Part Information

  • Terminal/Tray: 12064971/5
  • Core/Insulation Crimp: E/C
  • Release Tool/Test Probe: 12094429/J-35616-2A (GY)

Traction Control Switch (AQ9)

Pin

Wire

Circuit

Function

A

0.35 BK

450

Ground

B

--

--

Not Used

C

0.35 BN/WH

1571

Traction Control Switch Signal

D

0.35 GY

8

Instrument Panel Lamp Supply Voltage/Instrument Panel Lamps Dimmer Switch Signal

Traction Control Switch (AV8)


Object Number: 35441  Size: CH

Connector Part Information

  • OEM: 12059250
  • Service: 12085481
  • Description: 2-Way M Metri-Pack 150 Series (NA)

Terminal Part Information

  • Terminal/Tray: See Terminal Repair Kit
  • Core/Insulation Crimp: See Terminal Repair Kit
  • Release Tool/Test Probe: See Terminal Repair Kit

Traction Control Switch (AV8)

Pin

Wire

Circuit

Function

A

0.35 BN/WH

1571

Traction Control Switch Signal

B

0.35 BK

350

Ground

Traffic Information Receiver (U3Q/Japan)


Object Number: 1664619  Size: CH

Connector Part Information

  • OEM: 7283-1701
  • Service: 89046791
  • Description: 10-Way F (BK)

Terminal Part Information

  • Terminal/Tray: 7116-1257-02/14
  • Core/Insulation Crimp: E/2
  • Release Tool/Test Probe: 15315247/J-35616-12 (BU)

Traffic Information Receiver (U3Q/Japan)

Pin

Wire

Circuit

Function

1

0.35 GY

5383

Navigation Display Serial Data Low

2

0.35 BN

5384

Navigation Display Serial Data High

3

0.35 RD/WH

3840

Battery Positive Voltage

4

0.35 YE/BN

143

Accessory Voltage

5

0.35 BK

550

Ground

6

0.35 YE

5385

Switch Power

7

0.5 BK

1782

Ground

8-10

--

--

Not Used

Transmission Control Module (TCM)


Object Number: 1664621  Size: CH

Connector Part Information

  • OEM: 13511977
  • Service: See Catalog
  • Description: Connector 49-Way GT 280 Micro 64 Series SLD 5P4 (BK)

Terminal Part Information

  • Terminal/Tray: See Terminal Repair Kit
  • Core/Insulation Crimp: See Terminal Repair Kit
  • Release Tool/Test Probe: See Terminal Repair Kit

Transmission Control Module (TCM)

Pin

Wire

Circuit

Function

1

0.35 TN

418

TCC Solenoid Valve Control

2

0.35 L-GN

1222

Shift Solenoid Valve Control A

3

0.35 OG

1230

ISS High Signal

4-5

--

--

Not Used

6

0.35 BN

2501

High Speed GMLAN Serial Data Bus -

7

0.35 BN/BK

2500

High Speed GMLAN Serial Data Bus +

8-10

--

--

Not Used

11

0.5 BU/WH

5985

Accessory Wake-up Serial Data

12-15

--

--

Not Used

16

0.5 PU

401

OSS Low Signal

17

0.35 L-BU/WH

1229

PC Solenoid Valve Low Control

18-19

--

--

Not Used

20

0.35 GN

1223

Shift Solenoid Valve Control B

21-22

--

--

Not Used

23

0.35 GY

773

Transmission Range Switch Signal C

24-25

--

--

Not Used

26

0.35 BU/WH

1231

ISS Low Signal

27-28

--

--

Not Used

29

0.35 BN/WH

771

Transmission Range Switch Signal A

30

0.35 BN

2762

TFT Sensor Low Reference

31

0.5 PK

539

Ignition 1 Voltage

32

0.5 RD/WH

540

Battery Positive Voltage

33-34

--

--

Not Used

35

0.35 YE/BK

1227

TFT Sensor Signal

36

--

--

Not Used

37

0.35 BN

2501

High Speed GMLAN Serial Data Bus -

38

0.35 BN/BK

2500

High Speed GMLAN Serial Data Bus +

39

0.35 WH

776

Transmission Range Switch Signal P

40

0.35 OG/BK

1228

PC Solenoid Valve High Control

41

0.5 YE/GY

400

OSS High Signal

42

0.5 WH

17

Stop Lamp Switch Signal

43-45

--

--

Not Used

46

0.35 YE

772

Transmission Range Switch Signal B

47-48

--

--

Not Used

49

2 BK/WH

1551

Ground

Transmission Fluid Temperature (TFT) Sensor


Object Number: 168428  Size: CH

Connector Part Information

  • OEM: 15473843
  • Service: See Catalog
  • Description: Connector 2-Way F Metri-Pack 150.2 Series (NA)

Terminal Part Information

  • Terminal/Tray: See Terminal Repair Kit
  • Core/Insulation Crimp: See Terminal Repair Kit
  • Release Tool/Test Probe: See Terminal Repair Kit

Transmission Fluid Temperature (TFT) Sensor

Pin

Wire

Circuit

Function

A

0.35 BN

1227

TFT Sensor Signal

B

0.35 GY

2762

Low Reference

Turn Signal/DRL Lamp - Left Front


Object Number: 1694736  Size: CH

Connector Part Information

  • OEM: 1013509
  • Service: See Catalog
  • Description: 3-Way F CIC W3 Socket Sealed (GY)

Terminal Part Information

  • Terminal/Tray: See Terminal Repair Kit
  • Core/Insulation Crimp: See Terminal Repair Kit
  • Release Tool/Test Probe: See Terminal Repair Kit

Turn Signal/DRL Lamp - Left Front

Pin

Wire

Circuit

Function

A

0.35 D-BU/WH

--

Left Front Turn Signal/DRL Lamp Supply Voltage

B

--

--

Not Used

C

0.35 BK

--

Ground

0.35 BK

--

Ground

Turn Signal/DRL Lamp - Right Front


Object Number: 1694736  Size: CH

Connector Part Information

  • OEM: 1013509
  • Service: See Catalog
  • Description: 3-Way F CIC W3 Socket Sealed (GY)

Terminal Part Information

  • Terminal/Tray: See Terminal Repair Kit
  • Core/Insulation Crimp: See Terminal Repair Kit
  • Release Tool/Test Probe: See Terminal Repair Kit

Turn Signal/DRL Lamp - Right Front

Pin

Wire

Circuit

Function

A

0.35 D-BU/WH

--

Right Front Turn Signal/DRL Lamp Supply Voltage

B

--

--

Not Used

C

0.35 BK

--

Ground

0.35 BK

--

Ground

Turn Signal/Multifunction Switch X1


Object Number: 811190  Size: CH

Connector Part Information

  • OEM: 15339058
  • Service: See Catalog
  • Description: 7-Way F Metri-Pack/150 Series (GY)

Terminal Part Information

  • Pins: G, M-N
  • Terminal/Tray: See Terminal Repair Kit
  • Core/Insulation Crimp: See Terminal Repair Kit
  • Release Tool/Test Probe: See Terminal Repair Kit
  • Pins: H-L
  • Terminal/Tray: See Terminal Repair Kit
  • Core/Insulation Crimp: See Terminal Repair Kit
  • Release Tool/Test Probe: See Terminal Repair Kit

Turn Signal/Multifunction Switch X1

Pin

Wire

Circuit

Function

G

--

--

Not Used

H

0.35 BK/WH

1251

Ground

J

0.35 PK

94

Windshield Washer Switch Signal

K

0.35 L-GN

1715

Windshield Wiper Switch High Signal

L

0.35 L-BU

1714

Windshield Wiper Switch Low Signal

M-N

--

--

Not Used

Turn Signal/Multifunction Switch X2


Object Number: 130718  Size: CH

Connector Part Information

  • OEM: 12059800
  • Service: 15306169
  • Description: 5-Way F Metri-Pack 150 Series (BK)

Terminal Part Information

  • Terminal/Tray: See Terminal Repair Kit
  • Core/Insulation Crimp: See Terminal Repair Kit
  • Release Tool/Test Probe: See Terminal Repair Kit

Turn Signal/Multifunction Switch X2

Pin

Wire

Circuit

Function

A

0.35 YE

307

Flash to Pass Switch Signal

B-C

--

--

Not Used

D

0.35 BK

350

Ground

E

0.35 PU

524

Headlamp Switch Highbeam Signal

Turn Signal/Multifunction Switch X3


Object Number: 39746  Size: CH

Connector Part Information

  • OEM: 12064862
  • Service: 12126438
  • Description: 8-Way F Metri-Pack 150 Series (BK)

Terminal Part Information

  • Terminal/Tray: See Terminal Repair Kit
  • Core/Insulation Crimp: See Terminal Repair Kit
  • Release Tool/Test Probe: See Terminal Repair Kit

Turn Signal/Multifunction Switch X3

Pin

Wire

Circuit

Function

A-E

--

--

Not Used

F

0.35 L-BU/WH

1414

Left Turn Signal Switch Signal

G

0.35 BK

350

Ground

H

0.35 D-BU/WH

1415

Right Turn Signal Switch Signal

Turn Signal/Multifunction Switch X4 (XA7)


Object Number: 1639196  Size: CH

Connector Part Information

  • OEM: HCMW-5C
  • Service: See Catalog
  • Description: 5-Way F (BK)

Terminal Part Information

  • Terminal/Tray: See Terminal Repair Kit
  • Core/Insulation Crimp: See Terminal Repair Kit
  • Release Tool/Test Probe: See Terminal Repair Kit

Turn Signal/Multifunction Switch X4 (XA7)

Pin

Wire

Circuit

Function

1

0.35 L-GN

6096

Heated Washer Fluid Switch Signal

2

0.35 BK

350

Ground

3-5

--

--

Not Used

Valet Switch


Object Number: 130642  Size: CH

Connector Part Information

  • OEM: 12064868
  • Service: 15306065
  • Description: 2-Way M Metri-Pack 150 Series (NA)

Terminal Part Information

  • Pins: A
  • Terminal/Tray: See Terminal Repair Kit
  • Core/Insulation Crimp: See Terminal Repair Kit
  • Release Tool/Test Probe: See Terminal Repair Kit
  • Pins: B
  • Terminal/Tray: 12047581/2
  • Core/Insulation Crimp: E/C
  • Release Tool/Test Probe: 12094429/J-35616-3 (GY)

Valet Switch

Pin

Wire

Circuit

Function

A

0.35 BK

450

Ground

B

0.5 TN/GY

1355

Valet Mode Switch Signal

Variable Effort Steering Actuator


Object Number: 1676627  Size: CH

Connector Part Information

  • OEM: 12186685
  • Service: 12102747
  • Description: 2-Way F Metri-Pack 150 Series Sealed (BK)

Terminal Part Information

  • Terminal/Tray: 12048074/2
  • Core/Insulation Crimp: E/1
  • Release Tool/Test Probe: 12094429/J-35616-2A (GY)

Variable Effort Steering Actuator

Pin

Wire

Circuit

Function

A

0.8 GY/PK

1787

Variable Effort Steering Actuator High Effort Control

B

0.8 WH

345

Variable Effort Steering Actuator Low Effort Control

Vehicle Communication Interface Module (VCIM) X1 (UE1)


Object Number: 814530  Size: CH

Connector Part Information

  • OEM: 917981-1
  • Service: 15306351
  • Description: 16-Way F.040/.070 Hybrid (WH)

Terminal Part Information

  • Terminal/Tray: 175266-5/15
  • Core/Insulation Crimp: Pins 1-3, 6, 10-12, 15 - J/J
  • Core/Insulation Crimp: Pins 7 - K/K
  • Release Tool/Test Probe: 15315247/J-35616-16 (L-GN)

Vehicle Communication Interface Module (VCIM) X1 (UE1)

Pin

Wire

Circuit

Function

1

0.35 D-GN

5060

Low Speed GMLAN Serial Data

2

0.35 BN/WH

2517

Keypad Red LED Signal

3

0.35 YE/BK

2516

Keypad Green LED Signal

4-5

--

--

Not Used

6

0.35 L-GN/BK

2515

Keypad Supply Voltage

7

0.5 BK

550

Ground

8-9

--

--

Not Used

10

0.35 TN/BK

2500

High Speed GMLAN Serial Data Bus +

11

0.35 D-GN/WH

2514

Keypad Signal

12

0.35 TN

2501

High Speed GMLAN Serial Data Bus -

13-14

--

--

Not Used

15

0.35 PK/BN

2340

Battery Positive Voltage

16

--

--

Not Used

Vehicle Communication Interface Module (VCIM) X2 (UE1)


Object Number: 814532  Size: CH

Connector Part Information

  • OEM: 917975-1
  • Service: 88952886
  • Description: 12-Way F.040/.070 Hybrid (WH)

Terminal Part Information

  • Terminal/Tray: 175266-5/15
  • Core/Insulation Crimp: Pins 1-4, 9 - J/J
  • Core/Insulation Crimp: Pins 8, 10 - K/K
  • Release Tool/Test Probe: 15315247/J-35616-16 (L-GN)

Vehicle Communication Interface Module (VCIM) X2 (UE1)

Pin

Wire

Circuit

Function

1

0.35 OG/BK

1406

Remote Playback Device Left Audio Signal

2

0.35 L-BU

1405

Remote Playback Device Audio Common Signal

3

0.35 TN/BK

2500

High Speed GMLAN Serial Data Bus +

4

0.35 TN

2501

High Speed GMLAN Serial Data Bus -

5-7

--

--

Not Used

8

0.5 BARE

814

Drain Wire

9

0.35 GY/WH

655

Cellular Microphone Signal

10

0.5 BARE

1489

Drain Wire

11-12

--

--

Not Used

Vehicle Communication Interface Module (VCIM) X3 (UE1)


Object Number: 814531  Size: CH

Connector Part Information

  • OEM: 917983-2
  • Service: 88988722
  • Description: 16-Way M MKII Hybrid (BK)

Terminal Part Information

  • Terminal/Tray: 175266-5/15
  • Core/Insulation Crimp: Pins 2, 4 - J/J
  • Core/Insulation Crimp: Pins 5 - K/K
  • Release Tool/Test Probe: 15315247/J-35616-16 (L-GN)

Vehicle Communication Interface Module (VCIM) X3 (UE1)

Pin

Wire

Circuit

Function

1

--

--

Not Used

2

0.35 GY/BK

7043

Voice Recognition Audio Signal

3

--

--

Not Used

4

0.35 PK/BK

7044

Voice Recognition Audio Low Reference

5

0.5 BARE

813

Drain Wire

6-16

--

--

Not Used

Vehicle Direction Alert Alarm Warning Module (UFL)


Object Number: 1862240  Size: CH

Connector Part Information

  • OEM: 15269798
  • Service: See Catalog
  • Description: 6-Way F AIT II Series (BK)

Terminal Part Information

  • Terminal/Tray: See Terminal Repair Kit
  • Core/Insulation Crimp: See Terminal Repair Kit
  • Release Tool/Test Probe: See Terminal Repair Kit

Vehicle Direction Alert Alarm Warning Module (UFL)

Pin

Wire

Circuit

Function

1

--

--

Not Used

2

0.35 RD/WH

1040

Battery Positive Voltage

3

0.35 D-GN

5060

Low Speed GMLAN Serial Data

4

0.35 BK

850

Ground

5

0.35 GY/BK

901

Lane Departure Warning Control

6

0.35 GY/BK

900

Lane Departure Warning On Signal

Vehicle Speed Sensor Assembly (VSS)


Object Number: 295483  Size: CH

Connector Part Information

  • OEM: 15336024
  • Service: See Catalog
  • Description: Connector 2-Way F GT 150 Series Sealed (BK)

Terminal Part Information

  • Terminal/Tray: See Terminal Repair Kit
  • Core/Insulation Crimp: See Terminal Repair Kit
  • Release Tool/Test Probe: See Terminal Repair Kit

Vehicle Speed Sensor Assembly (VSS)

Pin

Wire

Circuit

Function

A

0.5 PU

401

VSS Low Signal

B

0.5 YE/GY

400

VSS High Signal

Video Display (U3Q/Japan)


Object Number: 1664622  Size: CH

Connector Part Information

  • OEM: 1-1355928-2
  • Service: 88988326
  • Description: 54-Way F (BK)

Terminal Part Information

  • Pins: 3
  • Terminal/Tray: See Terminal Repair Kit
  • Core/Insulation Crimp: See Terminal Repair Kit
  • Release Tool/Test Probe: See Terminal Repair Kit
  • Pins: 5-9, 13, 14, 19, 20
  • Terminal/Tray: 1411558-2/15
  • Core/Insulation Crimp: J/J
  • Release Tool/Test Probe: 12094429/J-35616-64B (L-BU)

Video Display (U3Q/Japan)

Pin

Wire

Circuit

Function

1-2

--

--

Not Used

3

0.35 D-GN

5060

Low Speed GMLAN Serial Data

4

--

--

Not Used

5

0.35 GY

388

Right TV Audio Signal

6

0.35 D-GN/WH

368

Right Audio Signal

7

0.35 BN/WH

367

Left TV Audio Signal

8

0.35 TN/WH

372

TV Audio Low Reference

9

0.5 BK/TN

1705

Drain Wire

10-12

--

--

Not Used

13

0.35 TN/BK

5147

Video Synchronization Low Reference

14

0.5 BK

5324

Video Screen

15-18

--

--

Not Used

19

0.35 BK

550

Ground

20

0.35 RD/WH

3840

Battery Positive Voltage

21-54

--

--

Not Used

Wheel Speed Sensor (WSS) - Left Front


Object Number: 537107  Size: CH

Connector Part Information

  • OEM: 12052644
  • Service: See Catalog
  • Description: 2-Way F Metri-Pack 150 Series, Sealed (GY)

Terminal Part Information

  • Terminal/Tray: 12048074/2
  • Core/Insulation Crimp: E/1
  • Release Tool/Test Probe: 12094429/J-35616-2A (GY)

Wheel Speed Sensor (WSS) - Left Front

Pin

Wire

Circuit

Function

A

0.5 L-BU

830

Left Front Wheel Speed Sensor Signal

B

0.5 YE

873

Left Front Wheel Speed Sensor Low Reference

Wheel Speed Sensor (WSS) - Left Rear


Object Number: 537107  Size: CH

Connector Part Information

  • OEM: 12052644
  • Service: See Catalog
  • Description: 2-Way F Metri-Pack 150 Series, Sealed (GY)

Terminal Part Information

  • Terminal/Tray: 12048074/2
  • Core/Insulation Crimp: E/1
  • Release Tool/Test Probe: 12094429/J-35616-2A (GY)

Wheel Speed Sensor (WSS) - Left Rear

Pin

Wire

Circuit

Function

A

0.5 TN

884

Left Rear Wheel Speed Sensor Signal

B

0.5 OG

885

Left Rear Wheel Speed Sensor Low Reference

Wheel Speed Sensor (WSS) - Right Front


Object Number: 537107  Size: CH

Connector Part Information

  • OEM: 12052644
  • Service: See Catalog
  • Description: 2-Way F Metri-Pack 150 Series, Sealed (GY)

Terminal Part Information

  • Terminal/Tray: 12048074/2
  • Core/Insulation Crimp: E/1
  • Release Tool/Test Probe: 12094429/J-35616-2A (GY)

Wheel Speed Sensor (WSS) - Right Front

Pin

Wire

Circuit

Function

A

0.5 GN

872

Right Front Wheel Speed Sensor Signal

B

0.5 TN/YE

833

Right Front Wheel Speed Sensor Low Reference

Wheel Speed Sensor (WSS) - Right Rear


Object Number: 537107  Size: CH

Connector Part Information

  • OEM: 12052644
  • Service: See Catalog
  • Description: 2-Way F Metri-Pack 150 Series, Sealed (GY)

Terminal Part Information

  • Terminal/Tray: 12048074/2
  • Core/Insulation Crimp: E/1
  • Release Tool/Test Probe: 12094429/J-35616-2A (GY)

Wheel Speed Sensor (WSS) - Right Rear

Pin

Wire

Circuit

Function

A

0.5 BN

882

Right Rear Wheel Speed Sensor Signal

B

0.5 WH

883

Right Rear Wheel Speed Sensor Low Reference

Window Motor - Driver


Object Number: 1664554  Size: CH

Connector Part Information

  • OEM: 2-1355696-1
  • Service: See Catalog
  • Description: 6-Way F Sealed (GY)

Terminal Part Information

  • Pins: 1, 4
  • Terminal/Tray: 4-964273-1/15
  • Core/Insulation Crimp: C/5
  • Release Tool/Test Probe: 12093647/J-35616-4A (PU)
  • Pins: 6
  • Terminal/Tray: 4-964286-1/16
  • Core/Insulation Crimp: E/1
  • Release Tool/Test Probe: 12093647/J-35616-4A (PU)

Window Motor - Driver

Pin

Wire

Circuit

Function

1

2 RD/BN

140

Battery Positive Voltage

2-3

--

--

Not Available

4

2 BK/WH

350

Ground

5

--

--

Not Available

6

2 L-BU/D-GN

6132

Local Interconnect Network 1

Window Motor - Front Passenger


Object Number: 1664554  Size: CH

Connector Part Information

  • OEM: 2-1355696-1
  • Service: See Catalog
  • Description: 6-Way F Sealed (GY)

Terminal Part Information

  • Pins: 1, 4
  • Terminal/Tray: 4-964273-1/15
  • Core/Insulation Crimp: C/5
  • Release Tool/Test Probe: 12093647/J-35616-4A (PU)
  • Pins: 6
  • Terminal/Tray: 4-964286-1/16
  • Core/Insulation Crimp: E/1
  • Release Tool/Test Probe: 12093647/J-35616-4A (PU)

Window Motor - Front Passenger

Pin

Wire

Circuit

Function

1

2 RD/BN

140

Battery Positive Voltage

2-3

--

--

Not Available

4

2 BK

450

Ground

5

--

--

Not Available

6

2 D-BU/WH

6133

Local Interconnect Network 2

Window Motor - Left Rear


Object Number: 1664554  Size: CH

Connector Part Information

  • OEM: 2-1355696-1
  • Service: See Catalog
  • Description: 6-Way F Sealed (GY)

Terminal Part Information

  • Pins: 1, 4
  • Terminal/Tray: 4-964273-1/15
  • Core/Insulation Crimp: C/5
  • Release Tool/Test Probe: 12093647/J-35616-4A (PU)
  • Pins: 6
  • Terminal/Tray: 4-964286-1/16
  • Core/Insulation Crimp: E/1
  • Release Tool/Test Probe: 12093647/J-35616-4A (PU)

Window Motor - Left Rear

Pin

Wire

Circuit

Function

1

2 RD/BN

140

Battery Positive Voltage

2-3

--

--

Not Available

4

2 BK

750

Ground

5

--

--

Not Available

6

2 L-BU/D-GN

6132

Local Interconnect Network 1

Window Motor - Right Rear


Object Number: 1664554  Size: CH

Connector Part Information

  • OEM: 2-1355696-1
  • Service: See Catalog
  • Description: 6-Way F Sealed (GY)

Terminal Part Information

  • Pins: 1, 4
  • Terminal/Tray: 4-964273-1/15
  • Core/Insulation Crimp: C/5
  • Release Tool/Test Probe: 12093647/J-35616-4A (PU)
  • Pins: 6
  • Terminal/Tray: 4-964286-1/16
  • Core/Insulation Crimp: E/1
  • Release Tool/Test Probe: 12093647/J-35616-4A (PU)

Window Motor - Right Rear

Pin

Wire

Circuit

Function

1

2 RD/BN

140

Battery Positive Voltage

2-3

--

--

Not Available

4

2 BK

450

Ground

5

--

--

Not Available

6

2 D-BU/WH

6133

Local Interconnect Network 2

Window Switch - Left Rear Door


Object Number: 1664594  Size: CH

Connector Part Information

  • OEM: 7283-9016-30
  • Service: See Catalog
  • Description: 4-Way F (BK)

Terminal Part Information

  • Terminal/Tray: 7116-4618-02/14
  • Core/Insulation Crimp: P/P
  • Release Tool/Test Probe: J-38125-215/J-35616-64B (L-BU)

Window Switch - Left Rear Door

Pin

Wire

Circuit

Function

1

0.35 BK

750

Ground

2

0.35 GY

8

Instrument Panel Lamp Supply Voltage

3

0.35 PK

5864

Power Window Driver Switch Voltage Reference

4

0.35 BN/YE

6710

Power Window Switch Left Rear Signal

Window Switch - Right Rear Door


Object Number: 1664594  Size: CH

Connector Part Information

  • OEM: 7283-9016-30
  • Service: See Catalog
  • Description: 4-Way F (BK)

Terminal Part Information

  • Pins: 1, 3, 4
  • Terminal/Tray: See Terminal Repair Kit
  • Core/Insulation Crimp: See Terminal Repair Kit
  • Release Tool/Test Probe: See Terminal Repair Kit
  • Pins: 2
  • Terminal/Tray: 7116-4618-02/14
  • Core/Insulation Crimp: P/P
  • Release Tool/Test Probe: J-38125-215/J-35616-64B (L-BU)

Window Switch - Right Rear Door

Pin

Wire

Circuit

Function

1

0.35 BK

750

Ground

2

0.35 GY

8

Instrument Panel Lamp Supply Voltage

3

0.35 PK

5865

Power Window Passenger Switch Voltage Reference

4

0.35 BN/YE

6709

Power Window Switch Right Rear Signal

Windshield Washer Fluid Level Switch


Object Number: 655692  Size: CH

Connector Part Information

  • OEM: 12162193
  • Service: 88987993
  • Description: 2-Way F Metri-Pack 150.2 Series Sealed (BK)

Terminal Part Information

  • Terminal/Tray: 12124075/5
  • Core/Insulation Crimp: E/C
  • Release Tool/Test Probe: 12180559-1/J-35616-2A (GY)

Windshield Washer Fluid Level Switch

Pin

Wire

Circuit

Function

A

0.35 BN

185

Low Washer Fluid Indicator Signal

B

0.5 BK

250

Ground

Windshield Washer Fluid Pump


Object Number: 635009  Size: CH

Connector Part Information

  • OEM: 12052641
  • Service: 12102747
  • Description: 2-Way F Metri-Pack 150 Series Sealed (BK)

Terminal Part Information

  • Terminal/Tray: 12048074/2
  • Core/Insulation Crimp: E/1
  • Release Tool/Test Probe: 12094429/J-35616-2A (GY)

Windshield Washer Fluid Pump

Pin

Wire

Circuit

Function

A

0.5 OG

228

Windshield Washer Pump Control

B

0.8 BK

250

Ground

Windshield Washer Solvent Heater X1 (XA7)


Object Number: 1664623  Size: CH

Connector Part Information

  • OEM: 7282-3214-30
  • Service: See Catalog
  • Description: 2-Way M Sealed (BK)

Terminal Part Information

  • Terminal/Tray: 7114-3250/14
  • Core/Insulation Crimp: G/3
  • Release Tool/Test Probe: 12094430/J-35616-21 (RD)

Windshield Washer Solvent Heater X1 (XA7)

Pin

Wire

Circuit

Function

1

5 RD/GY

640

Battery Positive Voltage

2

5 BK

450

Ground

Windshield Washer Solvent Heater X2 (XA7)


Object Number: 1664625  Size: CH

Connector Part Information

  • OEM: 33472-0611
  • Service: See Catalog
  • Description: 6-Way F Sealed (BK)

Terminal Part Information

  • Terminal/Tray: 33012-1003/23
  • Core/Insulation Crimp: 2/E/2
  • Release Tool/Test Probe: J-38125-217/J-35616-2A (GY)

Windshield Washer Solvent Heater X2 (XA7)

Pin

Wire

Circuit

Function

1

0.35 GN

6096

Heated Washer Fluid Switch Signal

2

0.35 D-BU/WH

5970

Heated Washer Fluid Indicator Control

3

--

--

Not Used

4

0.5 BK

450

Ground

5

0.35 PK

94

Windshield Washer Switch Signal

6

0.35 BN

741

Ignition 3 Voltage

Windshield Wiper Motor


Object Number: 684908  Size: CH

Connector Part Information

  • OEM: 15326631
  • Service: 15306360
  • Description: 4-Way F GT 280 Series Sealed 5.8 (BK)

Terminal Part Information

  • Terminal/Tray: 15304719/19
  • Core/Insulation Crimp: Pins A, B, D - 2/5
  • Core/Insulation Crimp: Pins C - E/5
  • Release Tool/Test Probe: 15315247/J-35616-4A (PU)

Windshield Wiper Motor

Pin

Wire

Circuit

Function

A

1 PU

92

Windshield Wiper Motor High Speed Control

B

1 D-GN

95

Windshield Washer Switch Signal

C

0.35 YE

196

Windshield Wiper Motor Park Switch Signal

D

1 BK

150

Ground

Yaw and Lateral Acceleration Sensor (JL4)


Object Number: 1420665  Size: CH

Connector Part Information

  • OEM: 2-967616-1
  • Service: 88953345
  • Description: 6-Way F Micro Series (GY)

Terminal Part Information

  • Terminal/Tray: 962885-5/15
  • Core/Insulation Crimp: 6/6
  • Release Tool/Test Probe: 12094429/J-35616-64B (L-BU)

Yaw and Lateral Acceleration Sensor (JL4)

Pin

Wire

Circuit

Function

1

0.35 GY/BK

1337

5-Volt Reference

2

0.35 WH/BK

715

Lateral Accelerometer Signal

3

0.35 D-BU

716

Yaw Rate Sensor Signal

4

0.35 YE/BK

7033

Yaw Rate Diagnostic

5

0.35 D-BU

5370

Longitudinal Accelerometer Signal

6

0.35 PU

719

Low Reference