GM Service Manual Online
For 1990-2009 cars only

Television Antenna Amplifier Replacement w/UE7

Removal Procedure

    Note: There is a TV antenna amplifier on both the left and the right sides of the vehicle.

  1. Remove the left and/or right sail panels. Refer to Sail Panel Replacement.

  2. Object Number: 517242  Size: SH
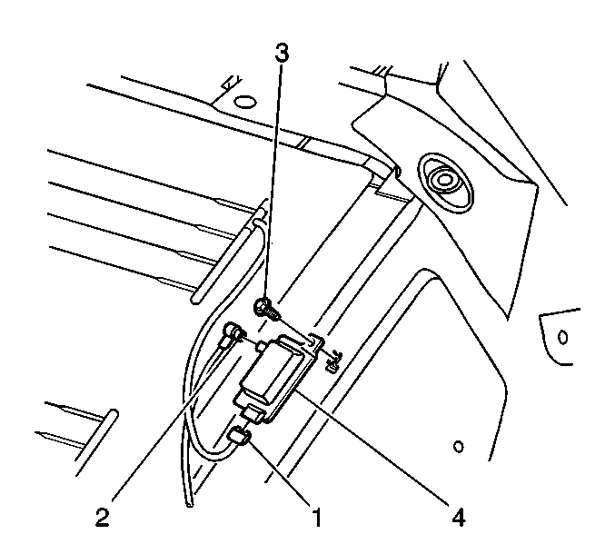
  3. Disconnect the coaxial cable (4) and the electrical connection (3).
  4. Remove the bolts (1) from the TV antenna amplifier  (2).
  5. Remove the TV antenna amplifier  (2).

Installation Procedure


    Object Number: 517242  Size: SH
  1. Install the TV antenna amplifier module (2).
  2. Ensure that the alignment tab is located properly before tightening the bolts (1).

    Caution: Refer to Fastener Caution in the Preface section.

  3. Install the bolts (1).
  4. Tighten
    Tighten the bolts (1) to 9 N·m (80 lb in).

  5. Connect the coaxial cable (4) and the electrical connection (3).
  6. Install the left and, or right sail panels. Refer to Sail Panel Replacement.