GM Service Manual Online
For 1990-2009 cars only

Special Tools

J 44246 Solenoid Testing Kit

For equivalent regional tools, refer to Special Tools.

Leak Test Procedure

    Note: 

       • This procedure tests On/Off type solenoid valves.
       • Visually inspect the physical condition of the solenoid before testing. Inspect the O-rings before and after the test to be sure that they are not cut or damaged.

  1. Remove the solenoid from the lower control valve body. Refer to Control Valve Lower Body Disassemble.

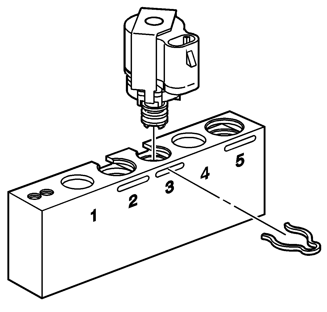
  2. Object Number: 665133  Size: SH
  3. Install the 1-2 shift solenoid valve or the 2-3 shift solenoid valve into bore number 3 of the J 44246 solenoid testing kit and install the factory retainer clip to retain the solenoid.

  4. Object Number: 665136  Size: SH
  5. Connect the solenoid testing harness supplied with the J 44246 solenoid testing kit to the solenoid.
  6. Note: Do not use air pressure in excess of 8.44 kg/cm (120 psi). Excessive pressure will not allow the solenoid ball check valve to seat properly. Recommended air pressure is 3.52 kg/cm (50 psi).

  7. Apply compressed air to the J 44246 solenoid testing kit .
  8. Connect the solenoid testing harness to the, 12 volt, positive and negative (-) battery terminals.
  9. Observe if the solenoid is operating electrically. An audible clicking noise can be heard when connecting or disconnecting power.
  10. Note: 

       • All solenoids need to be energized to seal.
       • A small amount of air leakage is normal (+/- 3 psi) (+/- 21 kPa).

  11. Observe the air flow through the solenoid. The flow will completely or nearly completely stop. Replace the solenoid if there continues to be an obvious air leak when the solenoid is energized.
  12. Note: Inspect the O-rings after the test to be sure that they are not cut or damaged.

  13. Install the solenoid into the lower control valve body. Refer to Control Valve Lower Body Disassemble.