GM Service Manual Online
For 1990-2009 cars only

Parking Brake Rear Cable Replacement - Left Side J55

Special Tools

J 37043 Parking Brake Cable Release Tool

Removal Procedure


    Object Number: 1696065  Size: SH
  1. Raise the vehicle. Refer to Lifting and Jacking the Vehicle.
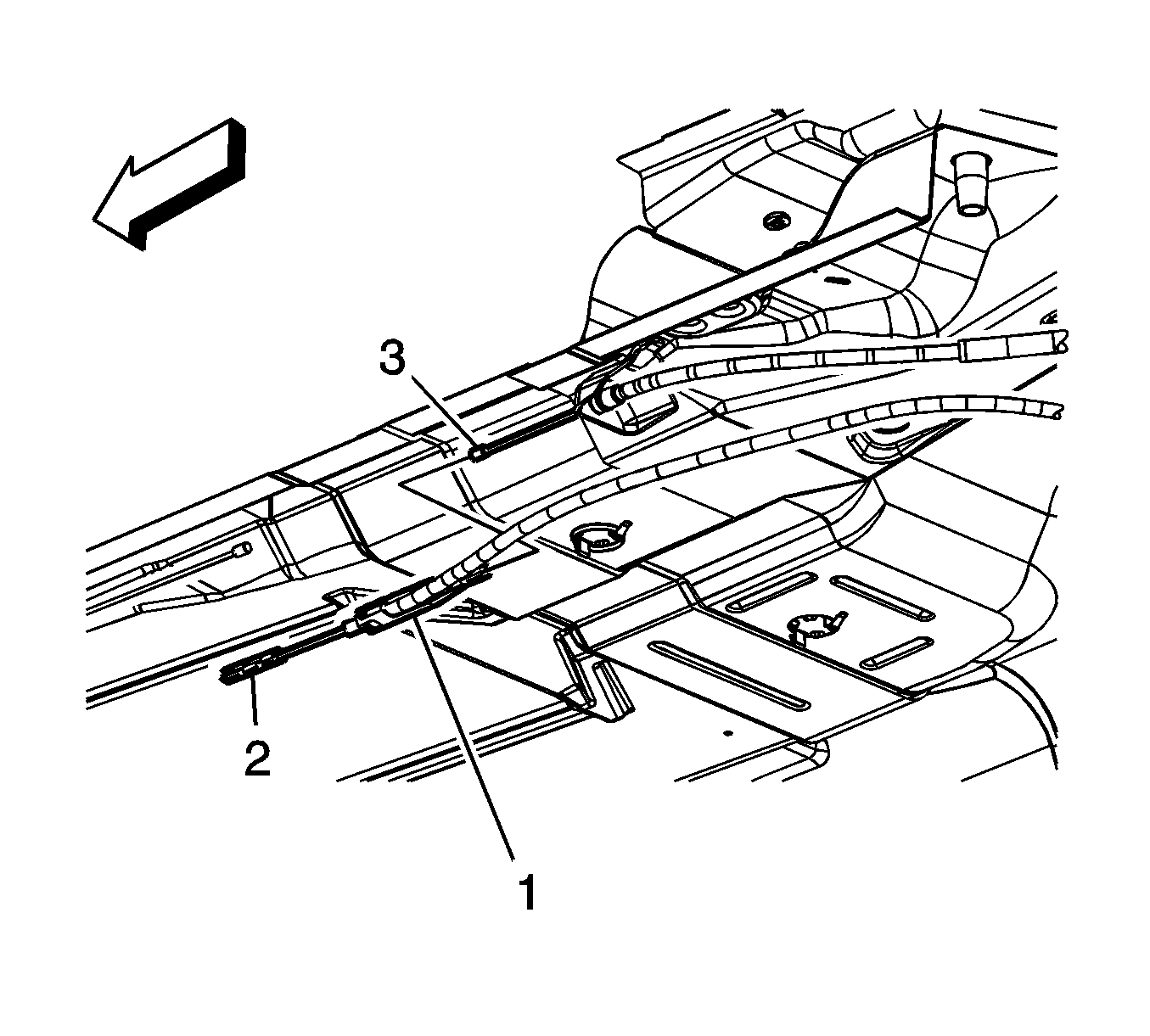
  2. Pull down on the intermediate brake cable (4) to relieve the cable tension.
  3. Lift up on the rear tab in the connector (3) to remove the intermediate brake cable (4) from the front brake cable (2).

  4. Object Number: 1527974  Size: SH
  5. Remove the brake cable retaining bolt.

  6. Object Number: 1527094  Size: SH
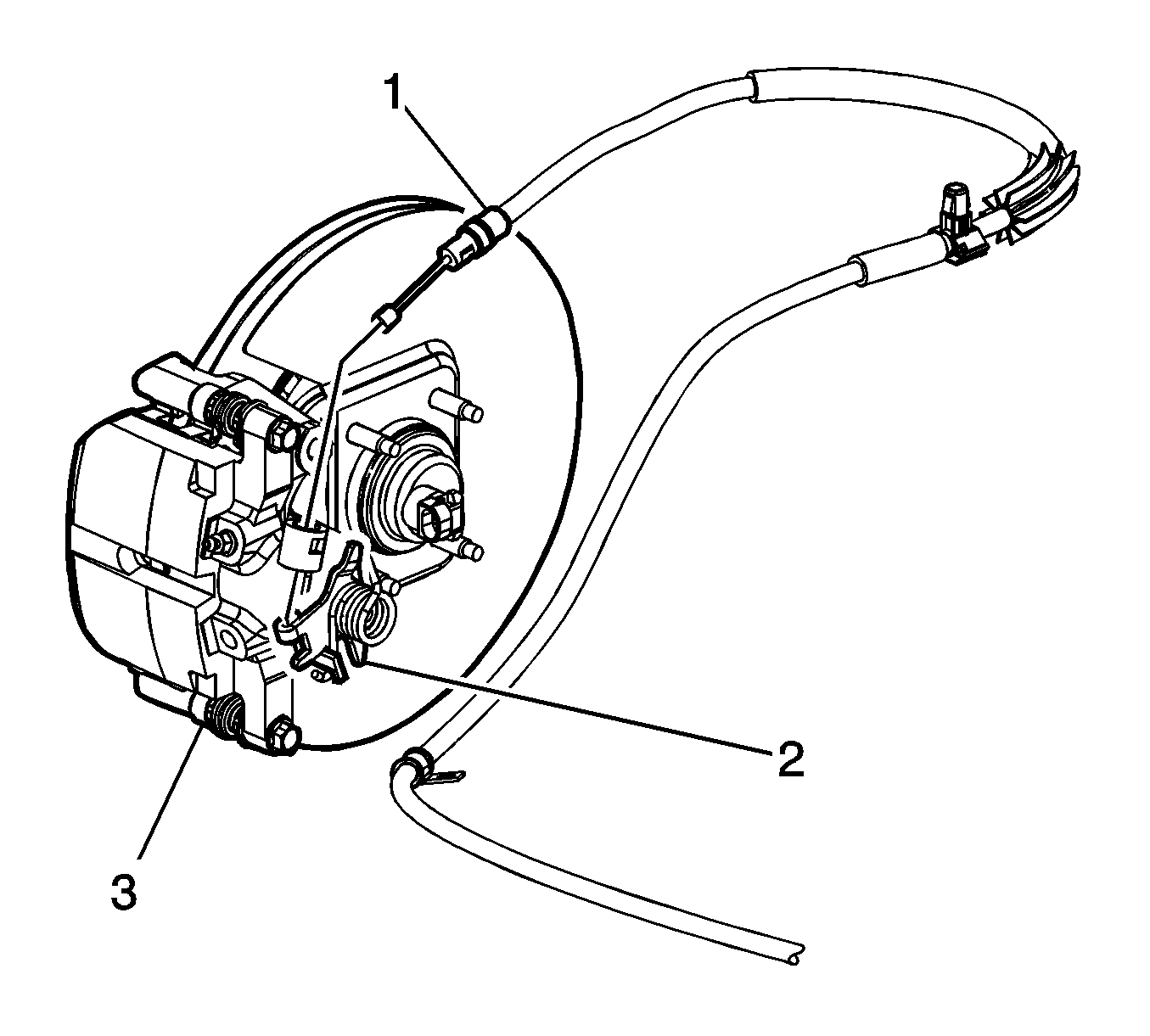
  7. Lift up the tab (7) to remove the brake cable (8) from the equalizer (6).

  8. Object Number: 1527099  Size: SH
  9. Using the J 37043 , remove the brake cable (10) from the mounting bracket (9).
  10. Remove the brake cable (10) from the mounting bracket (9).

  11. Object Number: 1527977  Size: SH

    Note:  In the following service procedure, push the inner brake cable forward to gain enough cable to remove it from the actuator.

  12. Remove the brake cable (12) from the actuator (11).
  13. Using the J 37043 , remove the brake cable (12)  from the mounting bracket.
  14. Remove the brake cable.

Installation Procedure


    Object Number: 1527977  Size: SH

    Note:  Ensure that the brake cable is properly seated actuator arm.

  1. Install the brake cable (12)  in the actuator arm (11).
  2. Note:  Ensure that the brake cable is properly seated in the mounting bracket.

  3. Install the brake cable in the mounting bracket.

  4. Object Number: 1527974  Size: SH
  5. Position the brake cable on the rear control arm.
  6. Caution: Refer to Fastener Caution in the Preface section.

  7. Install the retaining bolt in the rear control arm.
  8. Tighten
    Tighten the retaining bolt to 24 N·m (18 lb ft).


    Object Number: 1527099  Size: SH
  9. Install the brake cable (10) in the mounting bracket (9).

  10. Object Number: 1527094  Size: SH
  11. Install the brake cable (8) into the equalizer (6).
  12. Bend the lock the tab (7) into the proper position.

  13. Object Number: 1696065  Size: SH
  14. Note: In the following service procedures, ensure the locking tabs are properly seated

  15. Install the intermediate (4)  and front brake (2)  cables in the connector (3).
  16. The park brake system is self-adjusting. No cable adjustment is needed.
  17. Lower the vehicle.

Parking Brake Rear Cable Replacement - Left Side JL9

Removal Procedure

  1. Release the park brake.
  2. Raise the vehicle. Refer to Lifting and Jacking the Vehicle.
  3. Remove the tire and wheel. Refer to Tire and Wheel Removal and Installation.

  4. Object Number: 1665542  Size: SH
  5. Remove the front brake cable (1) from the connector (2).

  6. Object Number: 1665553  Size: SH

    Note: If the equalizer (1) is damaged, replace the equalizer.

  7. Remove the left rear brake cable (3) from the equalizer (1).

  8. Object Number: 1665552  Size: SH
  9. Using the J 37043 , remove the left park brake cable (1) from the retaining bracket (2).

  10. Object Number: 1665551  Size: SH
  11. Remove the left park brake cable from the retainer (1).

  12. Object Number: 1665554  Size: SH
  13. Remove the left rear brake cable from the retainer (1).
  14. Remove the left rear brake cable retaining bolt (2).

  15. Object Number: 1665547  Size: SH

    Note: Right rear brake caliper shown, left similar.

  16. Slide the park brake cable (1) forward and remove it from the park brake actuator lever (2).
  17. Remove the park brake cable (1) from the caliper (3).

Installation Procedure


    Object Number: 1665547  Size: SH
  1. Install the park brake cable (1) into the bracket on the brake caliper (3).
  2. Slide the park brake cable forward and install to the park brake actuator lever (2).
  3. Caution: Refer to Fastener Caution in the Preface section.


    Object Number: 1665554  Size: SH
  4. Install the retaining bolt (2).
  5. Tighten
    Tighten the retaining bolt to 6 N·m (53 lb in).

  6. Install the retaining clip (1).

  7. Object Number: 1665551  Size: SH
  8. Install the left rear brake cable in the retainer (1).

  9. Object Number: 1665552  Size: SH
  10. Install the left rear brake cable (1) in the retaining bracket (2).

  11. Object Number: 1665553  Size: SH
  12. Install the left rear brake cable (3)  to the equalizer (1).

  13. Object Number: 1665542  Size: SH
  14. Install the front brake cable (1) in the connector (2).
  15. Install the tire and wheel. Refer to Tire and Wheel Removal and Installation.
  16. Lower the vehicle. Refer to Lifting and Jacking the Vehicle.