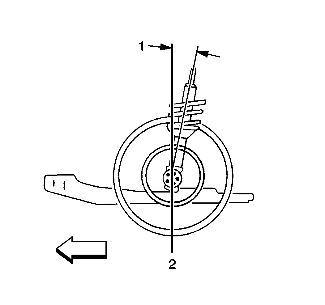
The caster (1) is the amount that the top of the strut is tilted forward or rearward from the vehicle. The caster is positive (+) if the strut tilts rearward . The amount of tilt is measured in degrees from the vertical.
The caster influences directional control of the steering, but does not affect tire wear. Weak springs or overloads will affect the caster.
If one wheel has more positive caster than the other, this will cause the wheel to pull toward the center of the vehicle. This will also cause the vehicle to move or lead toward the side with the least positive caster.