GM Service Manual Online
For 1990-2009 cars only

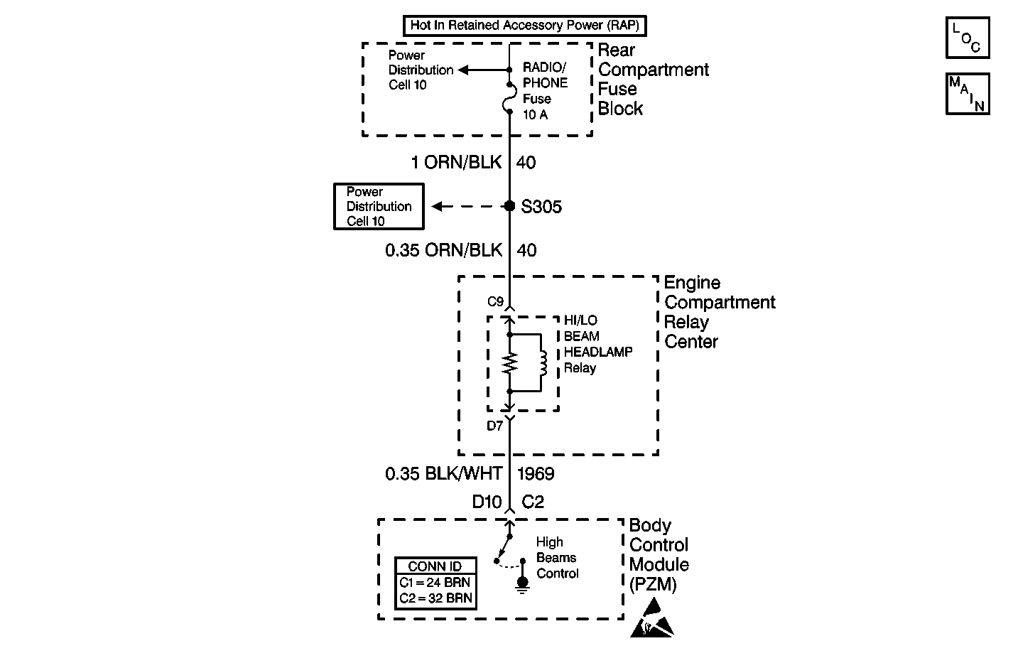
Object Number: 502392  Size: MF
Body Control Module Components
Cell 51: Body Control Module (PZM) Power and Ground (2 of 2)
Handling ESD Sensitive Parts Notice
Body Control System Connector End Views
Power Distribution Schematics
Power Distribution Schematics

Circuit Description

The body control module (PZM) commands the high beams through a discrete output to the high/low beam headlamp control relay. When the headlamps relay is energized the high/low beam headlamp control relay provides a power source to either the low beams or the high beams.

Conditions for Setting the DTC

The commanded state of the high beams does not match the feedback state.

Action Taken When the DTC Sets

The PZM continues to command the state requested until the state is achieved or the request has changed.

Conditions for Clearing the DTC

The commanded state matches the feedback state.

Step

Action

Value(s)

Yes

No

1

Was the Body Control Module Diagnostic System Check performed?

--

Go to Step 2

Go to Diagnostic System Check - Body Control System

2

  1. Turn ON the headlamp switch.
  2. Remove the HI/LO beam headlamp relay.
  3. Measure the voltage from the HI/LO beam headlamp relay terminal C9 (ORN/BLK) to ground.

Is the voltage within the specified range?

10-15 V

Go to Step 3

Go to Step 7

3

Measure voltage from the HI/LO beam headlamp relay terminal C9 (ORN/BLK) to terminal D7 (BLK/WHT)

Is the voltage within the specified range?

10-15 V

Go to Step 4

Go to Step 5

4

Replace the HI/LO beam headlamp relay.

Is the repair complete?

--

Go to Diagnostic System Check - Body Control System

--

5

Test CKT 1969 (BLK/WHT) for an open.

Was an open found?

--

Go to Step 8

Go to Step 6

6

Replace the PZM. Refer to Body Control Module Replacement .

Is the repair complete?

--

Go to Diagnostic System Check - Body Control System

--

7

Repair the open or the short to ground in CKT 40 (ORN/BLK).

Is the repair complete?

--

Go to Diagnostic System Check - Body Control System

--

8

Repair the open in CKT 1969 (BLK/WHT).

Is the repair complete?

--

Go to Diagnostic System Check - Body Control System

--