GM Service Manual Online
For 1990-2009 cars only

Removal Procedure

  1. Remove all related panels and components including the front door and all wiring.
  2. Visually inspect and restore as much of the damage as possible to factory specifications.
  3. Remove the following as necessary:
  4. • Sealers
    • Sound deadeners
    • Anti-corrosion materials

    Object Number: 394168  Size: SH
  5. Measure 95 mm (3 3/4 in) down from the large wiring harness hole in the hinge pillar and mark a horizontal line.
  6. Cut the hinge pillar along this line. Take care not to damage the inner panel.
  7. Perform additional sectioning procedures as necessary to remove damaged areas of the door frame opening.
  8. Perform additional sectioning procedures as necessary to remove damaged areas of the door frame opening.
  9. Locate, mark and out all necessary factory weld. Note the number of welds for installation of the service section.
  10. Remove the damaged section of the door frame opening.
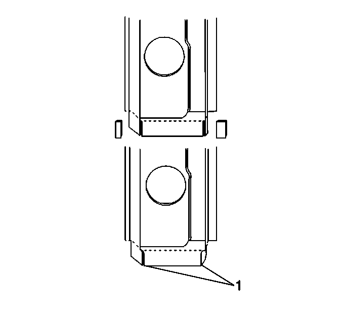
  11. Cut and remove 30 mm (1 3/16 in) from the flanges on eight side of the remaining section of the original hinge pillar to create 30 mm (1 3/16 in) tabs.

  12. Object Number: 394170  Size: SH
  13. Cut a 5 mm (3/15 in) wide gaps in the bottom corners.
  14. Step the tabs inward to allow the door frame opening service section to fit over the original hinge pillar.
  15. Weld the tabs together along the edges (1).

Installation Procedure


    Object Number: 394172  Size: SH
  1. Measure 65 mm (2 9/16 in) down on the service part from the large wiring harness hole in the hinge pillar and mark a horizontal line.
  2. Cut the hinge pillar along this line.
  3. Perform additional sectioning procedures as necessary to remove the unused areas of the service part.
  4. Drill 8 mm (5/16 in) plug weld holes as necessary in the locations noted from the original section.
  5. Drill plug weld holes along the hinge pillar sectioning cut of the service part. These should be located approximately 15 mm (9/16 in) from the edge of the cut.

  6. Object Number: 394175  Size: SH
  7. Prepare mating surfaces.
  8. Position the service section over the stepped tab on the original hinge pillar.
  9. Allow 30 mm (1 3/16 in) of overlap.
  10. Check to ensure proper fit. Use three dimensional measuring equipment.
  11. Stitch weld along the entire joint.
  12. Make 25 mm (1 in) welds along the seam with 25 mm (1 in) gaps between.
  13. Go back and complete stitch weld. This will create a solid joint with minimal heat distortion.
  14. Complete all other welds and sectioning procedures.
  15. Clean and prepare welded surfaces.
  16. Prime with two-part catalyzed primer.
  17. Apply sealers and anti-corrosion materials as necessary.
  18. Notice: Use supplies, primers, basecoats and clearcoats from the same manufacturer. Do not intermix paint systems or paint damage may occur.

  19. Install all related panels and components.