GM Service Manual Online
For 1990-2009 cars only

Rear Compartment Lid Hinge Replacement DeVille

Removal Procedure

  1. With an assistant, remove the rear compartment lid. Refer to Rear Compartment Lid Replacement or Rear Compartment Lid Replacement .
  2. Remove the rear compartment trim panel. Refer to Rear Compartment Trim Panel Replacement .
  3. Remove the rear compartment lid torque rods. Refer to Rear Compartment Lid Hinge Torque Rod Replacement .
  4. Remove the seat cushion and the seatback. Refer to Rear Seat Back Replacement in Seats.
  5. Remove the rear shelf panel. Refer to Rear Window Shelf Trim Panel Replacement in Interior Trim.
  6. Remove the rear shelf speaker. Refer to Radio Rear Speaker Replacement in Entertainment.

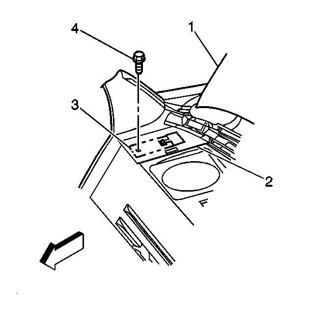
  7. Object Number: 367532  Size: SH
  8. While holding the hinge (3) through the speaker hole in the rear shelf (2), remove the 2 bolts (4) retaining the hinge to the rear shelf.
  9. Remove the hinge (3) from the vehicle.

Installation Procedure


    Object Number: 367532  Size: SH
  1. Install the hinge (3) to the vehicle.
  2. Notice: Use the correct fastener in the correct location. Replacement fasteners must be the correct part number for that application. Fasteners requiring replacement or fasteners requiring the use of thread locking compound or sealant are identified in the service procedure. Do not use paints, lubricants, or corrosion inhibitors on fasteners or fastener joint surfaces unless specified. These coatings affect fastener torque and joint clamping force and may damage the fastener. Use the correct tightening sequence and specifications when installing fasteners in order to avoid damage to parts and systems.

  3. Install the bolts (4) in order to retain the hinge (3).
  4. Tighten
    Tighten the bolts to 11 N·m (97 lb in).

  5. Install the rear compartment lid torque rods. Refer to Rear Compartment Lid Hinge Torque Rod Replacement .
  6. Install the rear compartment lid. Refer to Rear Compartment Lid Replacement or Rear Compartment Lid Replacement .
  7. Adjust the rear compartment lid, if necessary. Refer to Rear Compartment Lid Adjustment .
  8. Install the rear shelf speaker. Refer to Radio Rear Speaker Replacement in Entertainment.
  9. Install the rear shelf panel. Refer to Rear Window Shelf Trim Panel Replacement in Interior Trim.
  10. Install the rear seatback and seat cushion. Refer to Rear Seat Back Replacement in Seats.
  11. Install the rear compartment trim. Refer to Rear Compartment Trim Panel Replacement .

Rear Compartment Lid Hinge Replacement Eldorado

Removal Procedure

  1. With an assistant, remove the lid assembly. Refer to Rear Compartment Lid Replacement .
  2. Remove the rear compartment front trim.
  3. Remove the rear compartment inside trim.
  4. Remove the rear seatback and the rear seat cushion. Refer to Rear Seat Back Replacement in Seats.
  5. Remove the extension pin. Refer to Spring Replacement - Rear Compartment Lid Hinge .
  6. Remove the rear shelf trim. Refer to Rear Window Shelf Trim Panel Replacement in Interior Trim.

  7. Object Number: 367534  Size: MH
  8. Remove the hinge strap retaining pin (2).
  9. Discard the pin.

  10. Remove the hinge strap (4).

Installation Procedure


    Object Number: 367534  Size: MH
  1. Install the hinge strap (4).
  2. Install a new hinge strap retaining pin (2).
  3. Install the rear shelf trim. Refer to Rear Window Shelf Trim Panel Replacement in Interior Trim.
  4. Install the extension spring. Refer to Spring Replacement - Rear Compartment Lid Hinge .
  5. Install the rear seat cushion and the seatback. Refer to Rear Seat Back Replacement in Seats.
  6. Install the rear compartment trim.
  7. Install the rear compartment front trim.
  8. With an assistant, install the lid assembly. Refer to Rear Compartment Lid Replacement .