GM Service Manual Online
For 1990-2009 cars only
Makes
🢒
Cadillac
🢒
1998
🢒
DeVille
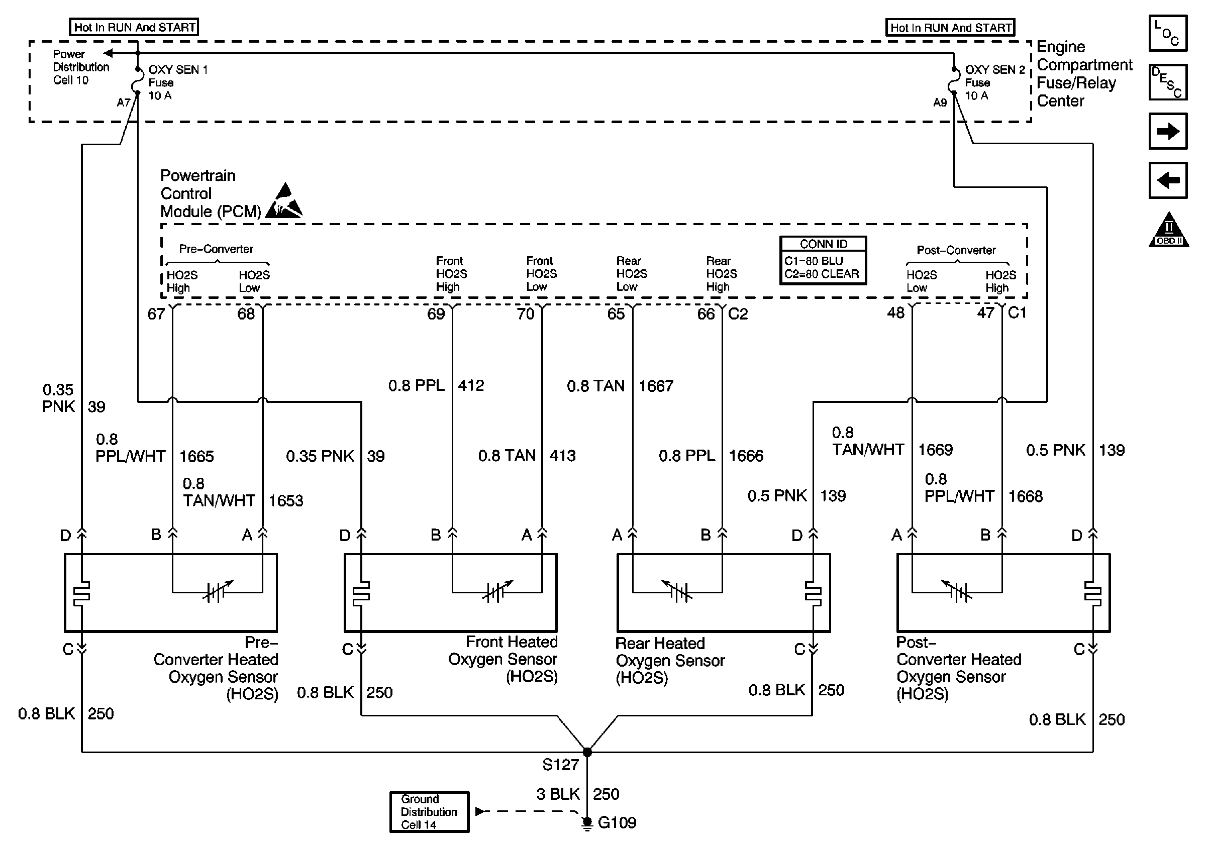
🢒 Cell 20: Heated Oxygen Sensors (Early Production)
Cell 20: Heated Oxygen Sensors (Early Production)
Cell 20: Heated Oxygen Sensors (Early Production)
Engine Controls Component Views
Powertrain Control Module Description
Cell 20: Heated Oxygen Sensors (Later Production)
Cell 20: MAF Sensor, EVAP Components and EGR Valve
OBD II Symbol Description Notice
Engine Controls Schematic References
Handling ESD Sensitive Parts Notice
Powertrain Control Module Connector End Views
Engine Controls Schematic References