GM Service Manual Online
For 1990-2009 cars only
Makes
🢒
Cadillac
🢒
1998
🢒
DeVille
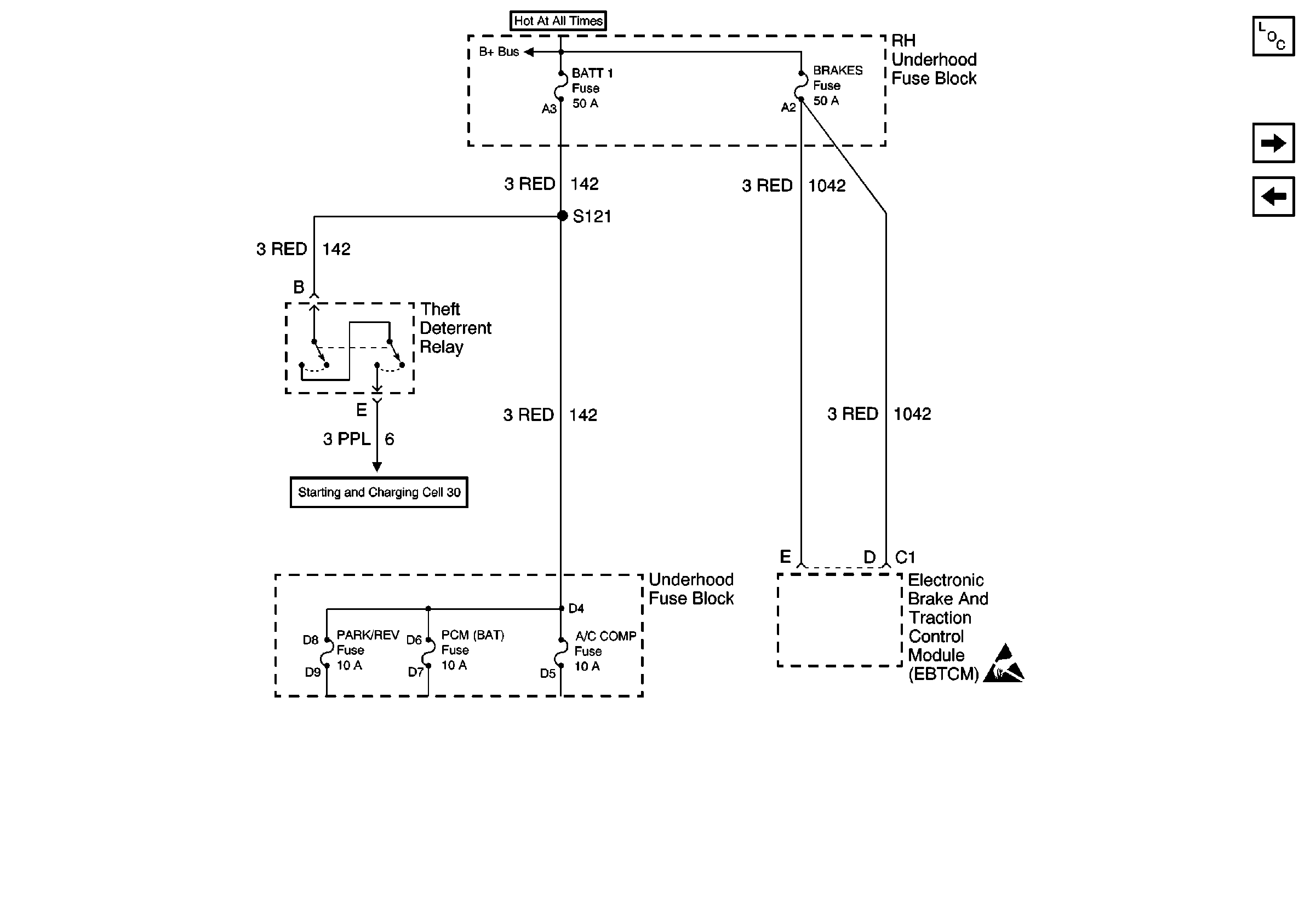
🢒 Cell 10: BATT 1 and BRAKES Fuses
Cell 10: BATT 1 and BRAKES Fuses
Cell 10: BATT 1 and BRAKES Fuses
Power and Grounding Components
Cell 10: COOL FANS Fuse
Cell 10: RH Underhood Fuse Block IGN 1 Fuse
Handling ESD Sensitive Parts Notice
Cell 10: Battery Power to Fuse Blocks