GM Service Manual Online
For 1990-2009 cars only
Makes
🢒
Cadillac
🢒
1998
🢒
DeVille
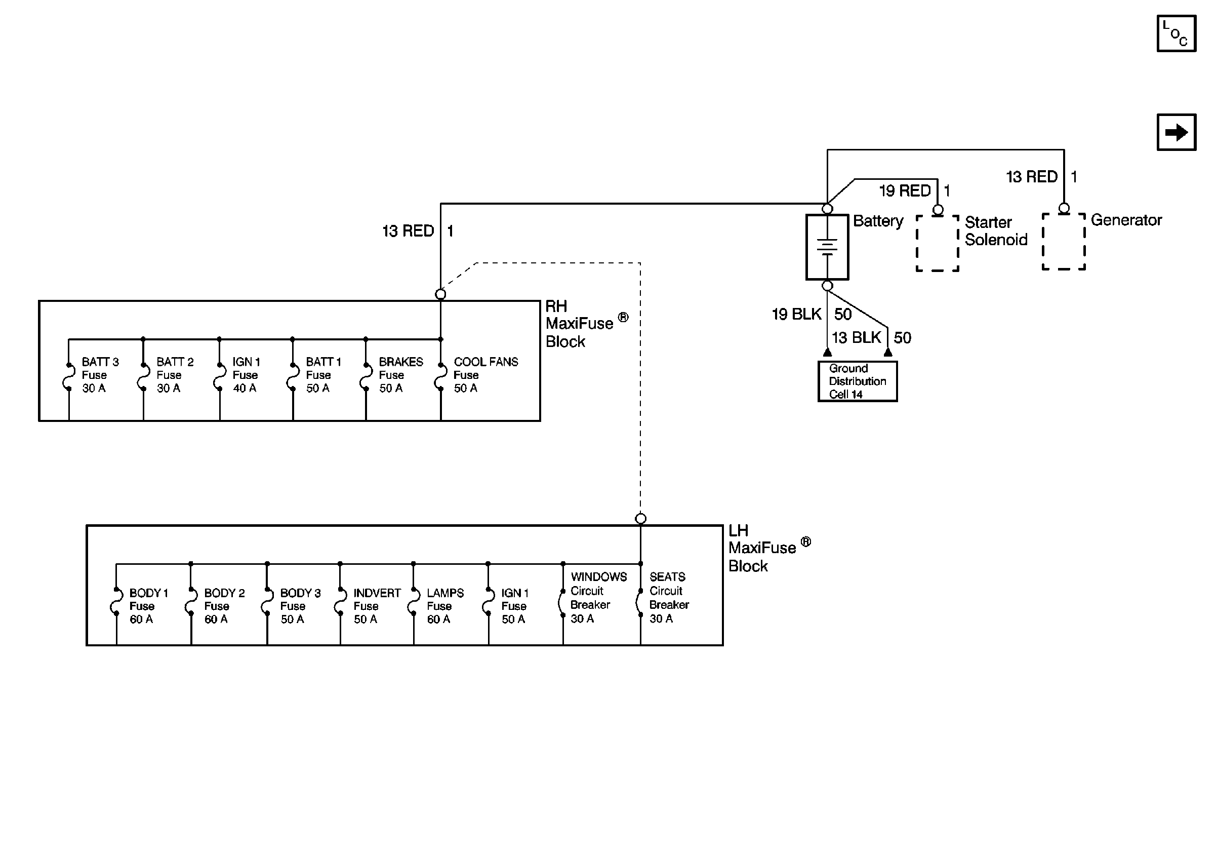
🢒 Cell 10: Battery
Cell 10: Battery
Cell 10: Battery
Power and Grounding Components
Cell 10: BATT 3 and BATT 2 Fuses, Ignition Switch
Ground Distribution Schematics