GM Service Manual Online
For 1990-2009 cars only
Makes
🢒
Cadillac
🢒
1998
🢒
DeVille
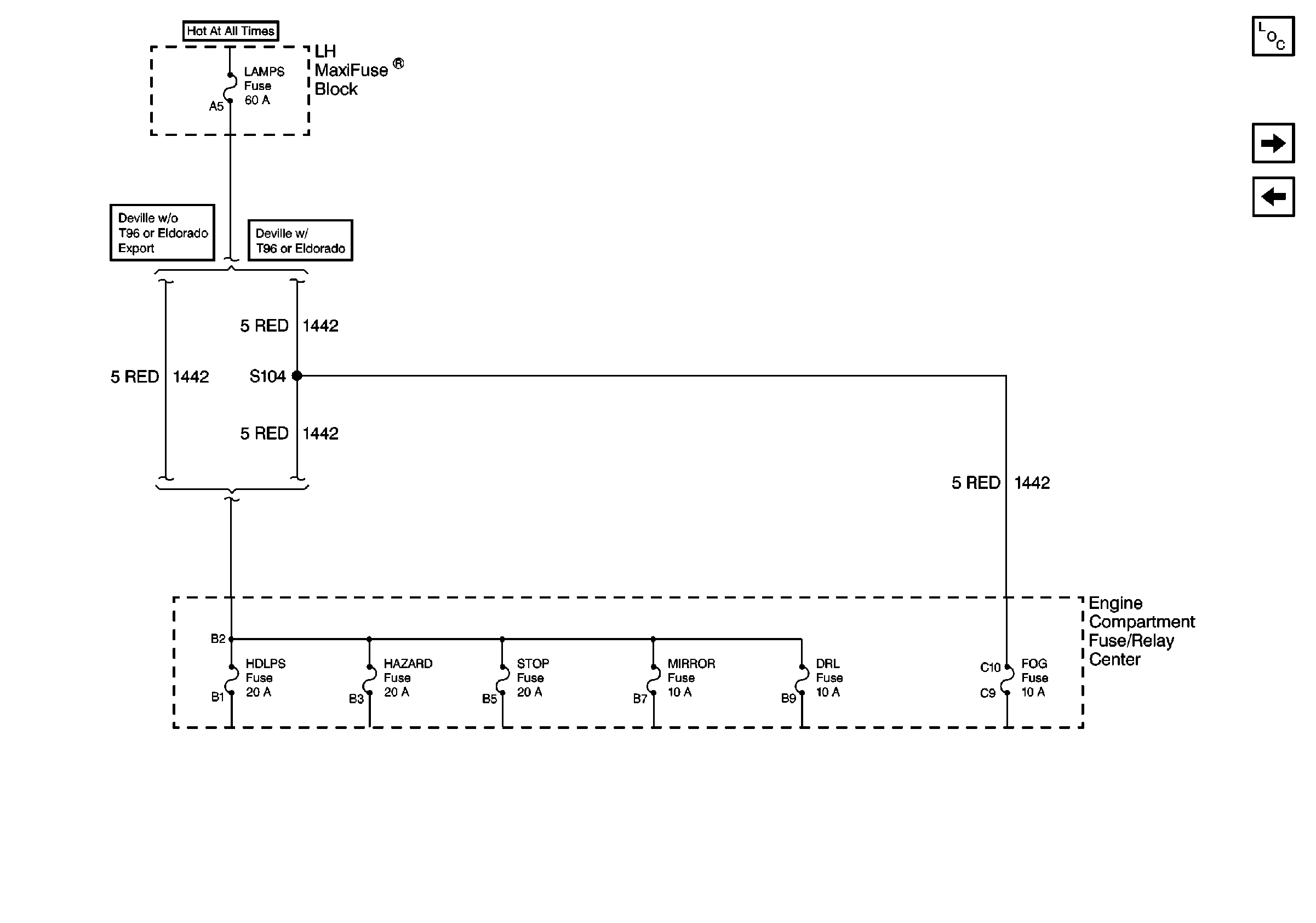
🢒 Cell 10: LAMPS Fuse
Cell 10: LAMPS Fuse
Cell 10: LAMPS Fuse
Power and Grounding Components
Cell 10: IGN 1 Fuse
Cell 10: INDVERT Fuse