GM Service Manual Online
For 1990-2009 cars only
Makes
🢒
Cadillac
🢒
1998
🢒
DeVille
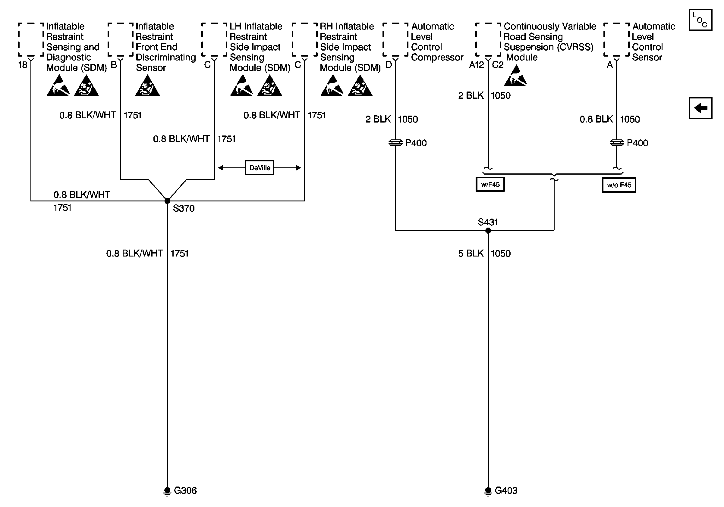
🢒 Cell 14: G306, G403
Cell 14: G306, G403
Cell 14: G306, G403
Power and Grounding Components
Cell 14: G402 (Eldorado Domestic)
Handling ESD Sensitive Parts Notice
Handling ESD Sensitive Parts Notice
Handling ESD Sensitive Parts Notice
Handling ESD Sensitive Parts Notice
SIR Caution
SIR Caution
SIR Caution
SIR Caution