GM Service Manual Online
For 1990-2009 cars only

Object Number: 322974  Size: MF

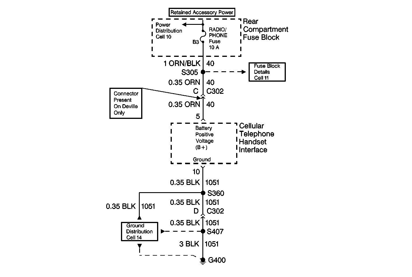
Circuit Description

The battery voltage is supplied to the cellular telephone module at module connector terminal A. The cellular telephone module uses this power feed in order to perform all of the module's functions.

Conditions for Setting the DTC

The battery voltage measured at terminal A is more than 15.5 V for 4 monitoring cycles.

Action Taken When the DTC Sets

When DTC B1982 is current, Class 2 loss of serial data DTCs are not set.

Conditions for Clearing the DTC

The battery voltage is less than 15.5 V in the next monitoring cycle.

Diagnostic Aids

  1. DTC B1982 may set if the vehicle is connected to a battery charger on fast or boost charge.
  2. Use a scan tool in order to monitor the battery voltage display of the cellular telephone module.
  3. • If the voltage displayed is 15.5 V or less, and DTC B1982 is current, replace the cellular telephone module. Refer to Cellular Telephone Replacement .
    • If the voltage displayed is 15.5 V or more, refer to Charging System Check in Engine Electrical.