GM Service Manual Online
For 1990-2009 cars only

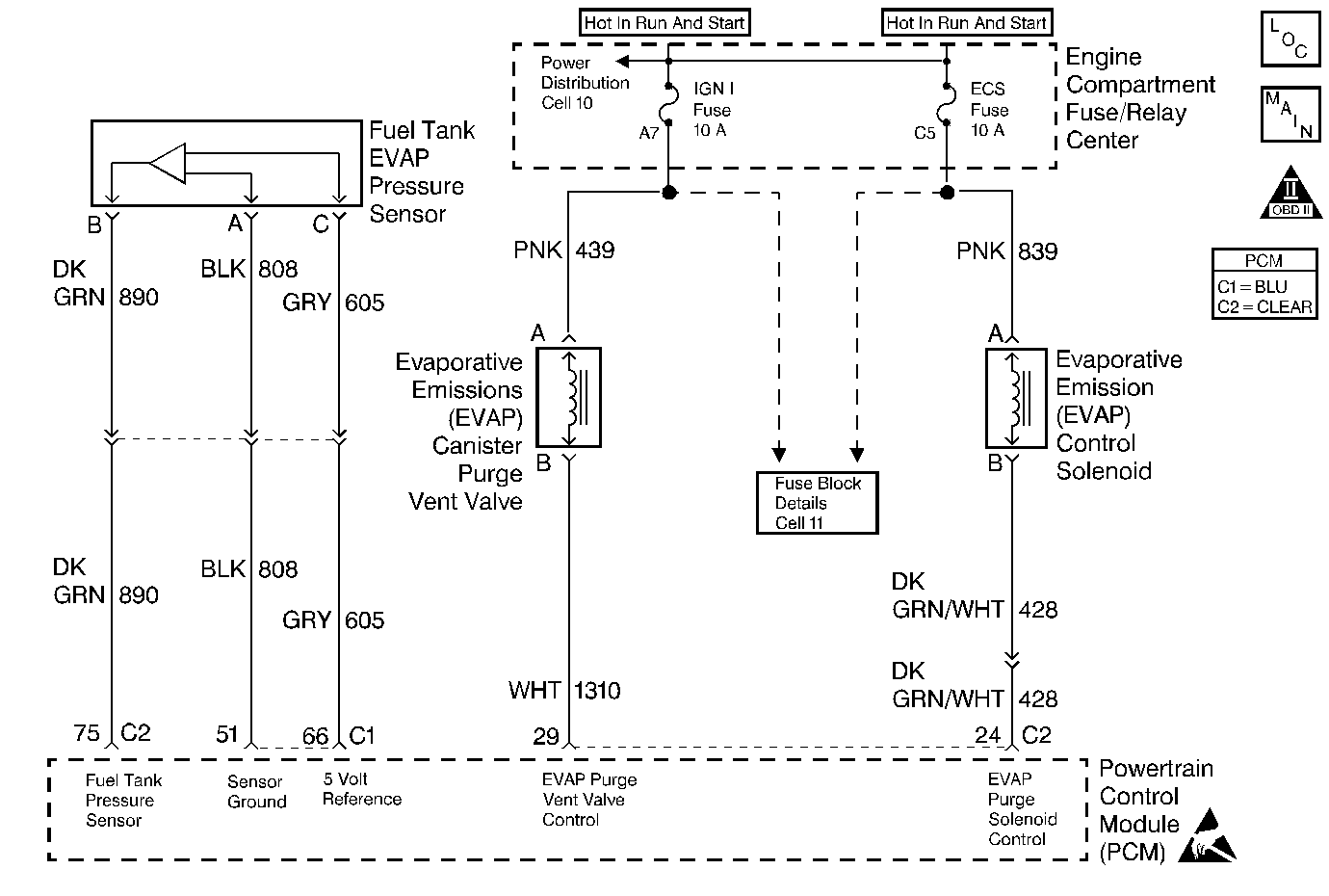
Object Number: 244404  Size: MF
Engine Controls Components
Cell 20: MAF Sensor, EVAP Components and EGR Valve
OBD II Symbol Description Notice
ESD Notice

Circuit Description

The EVAP Fuel Tank Pressure sensor is a sensor that changes resistance based upon fuel tank pressure (or vacuum). A vacuum is considered negative pressure.

The PCM provides a 5 volt reference and ground. The EVAP Fuel Tank Pressure sensor signal varies between ground and 5 volts as fuel tank pressure varies. As pressure decreases (negative pressure, or vacuum), voltage increases. As pressure increases, voltage decreases (positive pressure, low voltage). The PCM uses the EVAP Fuel Tank Pressure sensor values as an indicator of EVAP system efficiency. If the EVAP Fuel Tank Pressure sensor signal goes low such as when the signal line is shorted to ground or the EVAP Fuel Tank Pressure sensor is shorted internally, this DTC will set.

Conditions for Running the DTC

    • DTC P0601 is not set.
    • Fuel level at engine start up is the same or less than 85% full.
    • The Intake Air Temperature (IAT) at engine start up is between 2°C and 60°C.

Conditions for Setting the DTC

The EVAP Fuel Tank Pressure sensor reading has been 0.10 volts or lower.

Action Taken When the DTC Sets

PCM disables Evaporative Emission (EVAP) control solenoid.

    •  The PCM will illuminate the malfunction indicator lamp (MIL) when the diagnostic runs and fails.
    •  The PCM will record operating conditions at the time the diagnostic fails. This information will be stored in the Freeze Frame and Failure Records.

Conditions for Clearing the MIL/DTC

    •  The PCM will turn the MIL OFF after three consecutive drive trips that the diagnostic runs and does not fail.
    •  A Last Test Failed (current) DTC will clear when the diagnostic runs and does not fail.
    •  A History DTC will clear after forty consecutive warm-up cycles with no failures of any emission related diagnostic test.
    • Use a scan tool to clear DTCs.
    • Interrupting PCM battery voltage may or may not clear DTCs. This practice is not recommended. Refer to Clearing Diagnostic Trouble Codes in PCM Description and Operation.

Diagnostic Aids

The EVAP Fuel Tank Pressure Sensor monitors a range from 7.5 in. H2O of pressure to -17.5 in. H2O of pressure (vacuum).

The vacuum and pressure in the EVAP system is measured in inches of water (H2O). Most gauges measure vacuum in inches of mercury (Hg) and pressure in pounds per square inch (psi). The following shows how the values compare:

in H2O

in Hg

psi

1in H2O

0.07 in Hg

0.0361 psi

5 in H2O

0.36 in Hg

0.180 psi

10 in H2O

0.73 in Hg

0.361 psi

15 in H2O

1.10 in Hg

0.541 psi

Test Description

Number(s) below refer to the step number(s) on the Diagnostic Table.

  1. If the EVAP Fuel Tank Pressure sensor or circuitry are open or grounded, the sensor parameter will read 0.10 volts or less.

    If fault is not present monitor the scan tool display for this sensor while manipulating the vehicle's electrical harness. A change in sensor output while manipulating the harness may indicate a circuit fault.

  2. Checking if circuitry from sensor to PCM is able to respond to a 5 volt signal on the sensor input. A reading of 4.80 volts or more means wiring and PCM are OK.

  3. Disconnect the suspect sensor and re-measure the resistance between the 5 volt reference and sensor ground circuits. If infinite resistance is measured the sensor is shorted.

Step

Action

Value(s)

Yes

No

1

Did you perform the Powertrain On-Board Diagnostic (OBD) System Check?

--

Go to Step 2

Go to Powertrain On Board Diagnostic (OBD) System Check

2

  1. Turn the key ON.
  2. Using a scan tool view the EVAP Fuel Tank Pressure sensor display.

Is the value displayed the same or less than the value specified?

0.10 volts

Go to Step 3

Go to Test Description

3

  1. Turn the key to OFF.
  2. Disconnect the EVAP Fuel Tank Pressure sensor connector.
  3. Jumper the sensor signal and 5 volt reference circuits together.
  4. Turn the key ON.

Is the sensor value displayed on the scan tool higher than the value specified?

4.80 volts

Go to Step 13

Go to Step 4

4

  1. Remove the jumper.
  2. Using DMM J 39200 measure the voltage to ground at the 5 volt reference circuit terminal.

Is the voltage the same or higher than the voltage specified?

4.5 volts

Go to Step 5

Go to Step 7

5

  1. Record the fluid life indexes, turn the key to OFF and wait 30 seconds.
  2. Disconnect PCM connector C1.
  3. Measure and record the resistance between the sensor signal and the sensor ground circuit.
  4. Measure and record the resistance between the sensor signal circuit and a known good engine ground.

Is the resistance of both checks the same or more than the value specified?

10K ohms

Go to Step 6

Go to Step 9

6

Measure the resistance of the sensor signal circuit between the PCM connector terminal and the EVAP Fuel Tank Pressure sensor connector terminal.

Is the resistance more than the value specified?

5 ohms

Go to Step 10

Go to Step 19

7

  1. Record the fluid life indexes, turn the key to OFF and wait 30 seconds.
  2. Disconnect PCM connector C1.
  3. Measure and record the resistance between the 5 volt reference circuit and the sensor ground circuit.
  4. Measure and record the resistance between the 5 volt reference circuit and a known good engine ground.

Is the resistance of both checks the same or more than the value specified?

10K ohms

Go to Step 8

Go to Step 12

8

Measure the resistance of the 5 volt reference circuit between the EVAP Fuel Tank Pressure sensor connector terminal and the PCM connector terminal.

Is the resistance less than the value specified?

5 ohms

Go to Step 15

Go to Step 11

9

Repair the short to ground in the EVAP Fuel Tank Pressure sensor Signal circuit or the short between the EVAP Fuel Tank Pressure sensor Signal and the EVAP Fuel Tank Pressure sensor ground circuit.

Is the repair complete?

--

Go to Powertrain Control Module Diagnosis

--

10

Repair the open in the EVAP Fuel Tank Pressure sensor Signal circuit.

Is the repair complete?

--

Go to Powertrain Control Module Diagnosis

--

11

Repair the open in the EVAP Fuel Tank Pressure sensor 5 Volt Reference circuit.

Is the repair complete?

--

Go to Powertrain Control Module Diagnosis

--

12

Repair the short to ground in the EVAP Fuel Tank Pressure sensor 5 volt reference circuit or the short between the 5 volt reference circuit and the sensor ground circuit.

Is the repair complete?

--

Go to Powertrain Control Module Diagnosis

--

13

  1. Check terminal contact at the EVAP Fuel Tank Pressure sensor.
  2. Repair terminal contact if needed.

Was terminal contact repaired?

--

Go to Powertrain Control Module Diagnosis

Go to Step 14

14

Replace the EVAP Fuel Tank Pressure sensor. Refer to Fuel Tank Pressure Sensor Replacement .

Is the replacement complete?

--

Go to Powertrain Control Module Diagnosis

--

15

A short to ground may exist on another 5 volt reference circuit.

    • Reconnect all sensors.
    • Disconnect PCM connector C1.
    • Using DMM J 39200 measure and record the resistance between the 5 volt reference circuit and the sensor ground circuit for each of the following sensors:
       - the TP sensor
       - the EGR valve pintle position sensor
       - the MAP sensor

Is the resistance of any check less than the value specified?

10K ohms

Go to Step 17

Go to Step 16

16

Measure and record the resistance between the 5 volt reference circuit and a known good engine ground for each of the following sensors:

    • the TP sensor
    • the EGR valve pintle position sensor
    • the MAP sensor

Is the resistance of any check less than the value specified?

10K ohms

Go to Step 18

Go to Step 19

17

Repair the 5 volt reference circuit to sensor ground short or replace the shorted sensor for the circuit that measured low in Step 15. Refer to Test Descriptions.

Is the repair or replacement complete?

--

Go to Powertrain Control Module Diagnosis

--

18

Repair the 5 volt reference circuit short to engine / body ground for the sensor that measured low in Step 16.

Is the repair complete?

--

Go to Powertrain Control Module Diagnosis

--

19

  1. Check terminal contact at PCM Connector C1.
  2. Repair terminal contact if needed.

Was terminal contact repaired?

--

Go to Powertrain Control Module Diagnosis

Go to Step 20

20

Replace the PCM. Refer to Powertrain Control Module Replacement/Programming .

Is the replacement complete?

--

Go to Powertrain Control Module Diagnosis

--