GM Service Manual Online
For 1990-2009 cars only

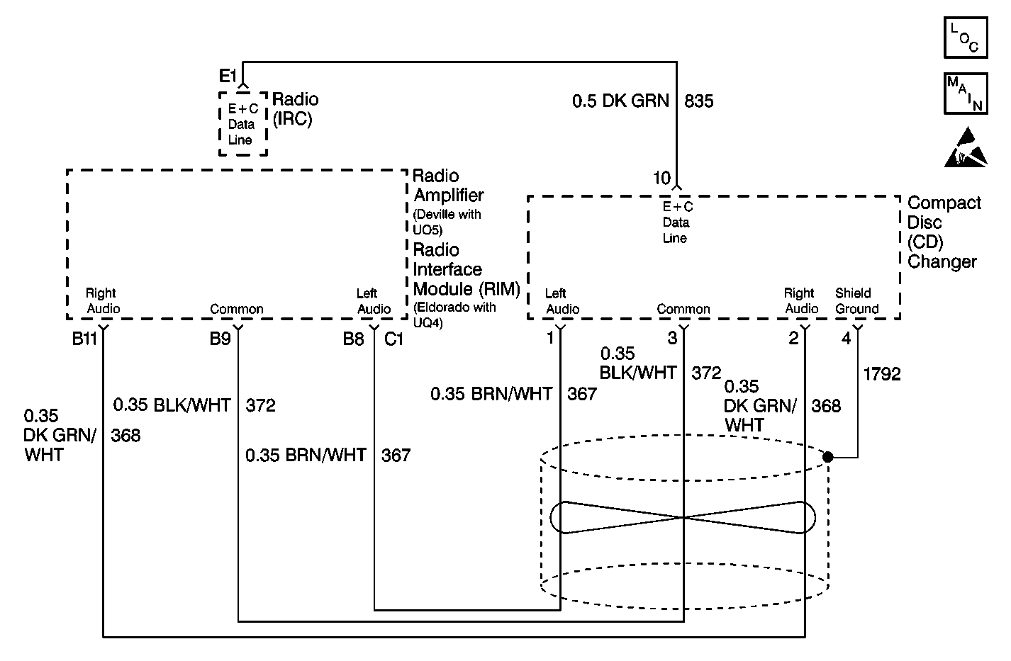
Object Number: 501311  Size: MF
Entertainment Components
Entertainment Schematic References
Handling ESD Sensitive Parts Notice

Circuit Description

The radio (IRC) and the compact disc (CD) changer communicate on the E and C serial data line CKT 835 (DK GRN).

Conditions for Setting the DTC

    • This test runs when the radio switches from the OFF to the ON mode.
    • The radio sets DTC B1760 when the radio detects a loss of E and C serial data communication with the CD changer.

Conditions for Clearing the DTC

When the radio is able to communicate with the CD changer, DTC B1760 changes to history.

Diagnostic Aids

Inspect the COMFORT fuse in the rear compartment fuse block for an open.

Test Description

The numbers below refer to the step numbers on the diagnostic table:

  1. This step checks the E and C serial data line for a fault.

Step

Action

Value(s)

Yes

No

1

Did you perform the Radio/Audio System Diagnostic System Check?

--

Go to Step 2

Go to Diagnostic System Check - Radio/Audio System

2

Test for a short to power or ground, or for an open in CKT 835 (DK GRN).

Is CKT 835 (DK GRN) open or shorted?

--

Go to Step 3

Go to Step 4

3

Repair the open or short in CKT 835 (DK GRN). Refer to Wiring Repairs in Wiring Systems.

Is the repair complete?

--

Diagnostic System Check - Radio/Audio System

--

4

  1. Turn the ignition switch to the OFF position.
  2. Disconnect the compact disc (CD) changer.
  3. Measure the voltage between the CD changer connector terminal 5 and ground.

Is the voltage within the specified range?

10-15 V

Go to Step 6

Go to Step 5

5

Repair the open or short to ground in CKT 2640 (ORN). Refer to Wiring Repairs in Wiring Systems.

Is the repair complete?

--

Go to Diagnostic System Check - Radio/Audio System

--

6

Measure the voltage between the CD changer connector terminal 5 and ground.

Is the voltage within the specified range?

10-15 V

Go to Step  8

Go to Step  7

7

Repair the open in CKT 1051 (BLK). Refer to Wiring Repairs in Wiring Systems.

Is the repair complete?

--

Go to Diagnostic System Check - Radio/Audio System

--

8

Replace the CD changer. Refer to Remote CD Changer Replacement .

Is the repair complete?

--

Go to Diagnostic System Check - Radio/Audio System

--