GM Service Manual Online
For 1990-2009 cars only

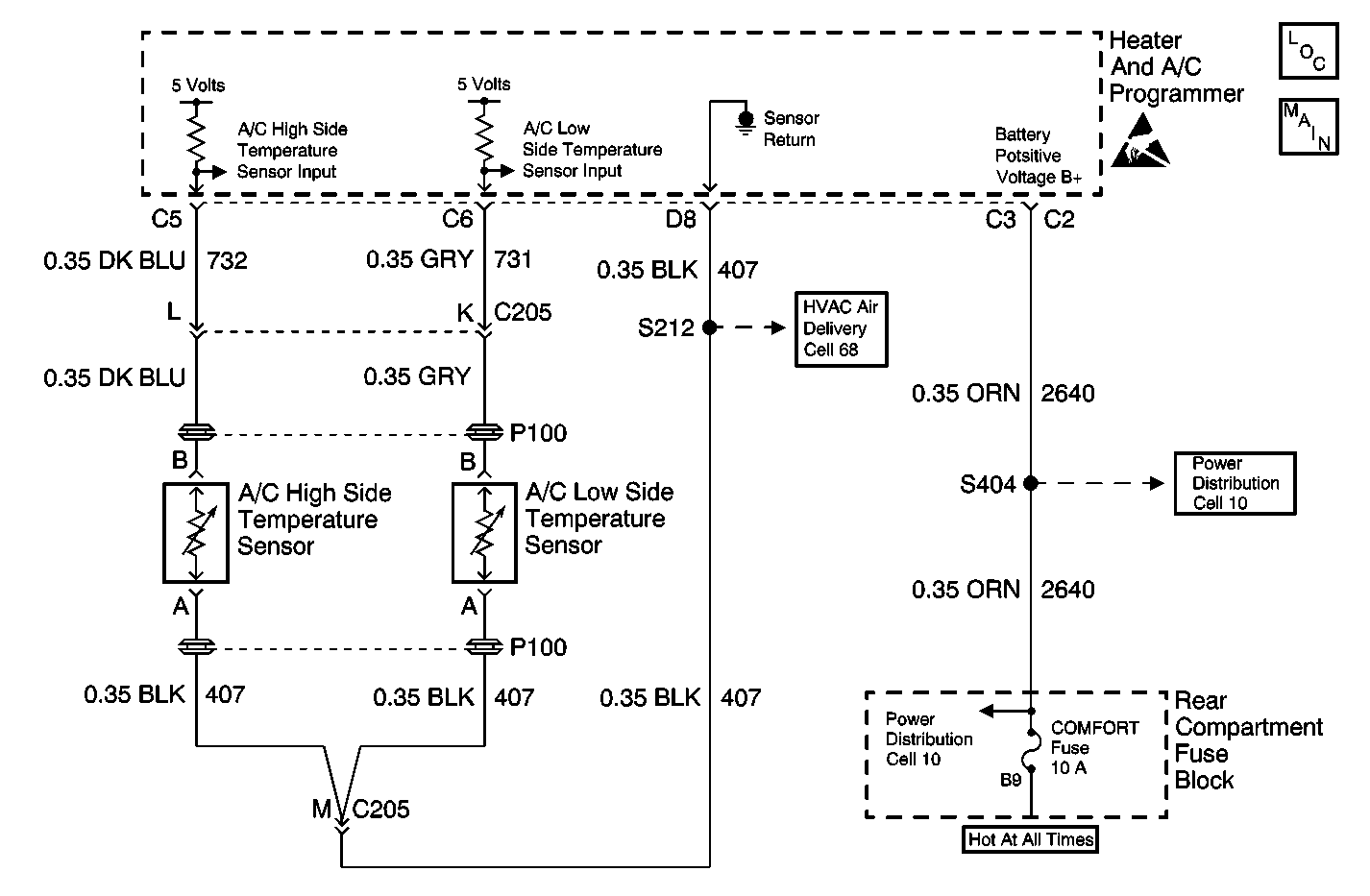
Object Number: 506749  Size: MF
HVAC Components
HVAC Compressor Control Schematics (Cell 67: Temperature Sensors)
Handling ESD Sensitive Parts Notice
Handling ESD Sensitive Parts Notice
HVAC Compressor Control Schematics
Power Distribution Schematics
Power Distribution Schematics

Circuit Description

The evaporator inlet temperature sensor is a thermistor that controls the signal voltage to the heater and A/C programmer. The heater and A/C programmer supplies voltage on CKT 731. When the sensor is cold, the following conditions exist:

    • The resistance is high.
    • The heater and A/C programmer receives a high signal voltage at pin D15.

When the sensor warms, the following actions occur:

    • The resistance decreases.
    • The signal voltage is pulled low through CKT 407.

The signal voltage varies between 5 V (open circuit) and 0 V (short circuit).

Conditions for Running the DTC

Turn the ignition to the ON position.

Action Taken When the DTC Sets

    • The A/C compressor clutch is not allowed to engage.
    • The IPC displays SERVICE A/C SYSTEM -- A/C COMPRESSOR OFF.
    • A default temperature reading of 5°C (41°F) is implemented.

Notes on Intermittence

If an intermittent DTC B1315 is set, use a Scan Tool in order to select the following settings:

    • Data list
    • Open/shorts data
    • Observe the reading

Manipulate the wiring while observing the Scan Tool . If a failure is induced, the reading will jump. Inspect for the following conditions:

    • Poor terminal contact
    • An obstructed or defective sensor

Test Description

  1. Perform the Diagnostic System Check before continuing with the diagnosis of this DTC.

  2. The Scan Tool displays the low side temperature. Jumping the harness connector determines if the wiring or the sensor is the cause.

Step

Action

Value(s)

Yes

No

1

Did you perform the Diagnostic System Check?

--

Go to Step 2

Go to Diagnostic System Check

2

  1. Turn the ignition to the ON position.
  2. Connect a Scan Tool .
  3. Disconnect the evaporator inlet temperature sensor.

Did the DTC change from B1315 to B1314?

--

Go to Step 4

Go to Step 3

3

  1. Disconnect the heater and A/C programmer and the sensor.
  2. Connect a test lamp between C6 and B+. Refer to Troubleshooting with a Test Lamp in Wiring Systems.

Did the test lamp light?

--

Go to Step 6

Go to Step 5

4

  1. Replace the sensor. Refer to Temperature Sensor Replacement - Low Side .
  2. Use the Scan Tool in order to clear the codes.

Did you complete the repair?

--

Go to Diagnostic System Check

--

5

  1. Inspect the terminal contact. Refer to Testing for Electrical Intermittents in Wiring Systems.
  2. If the contact is OK, replace the heater and A/C programmer. Refer to Programmer Replacement .
  3. Use the Scan Tool in order to clear the code.

Did you complete the repair?

--

Go to Diagnostic System Check

--

6

  1. Repair the short to ground in CKT 731. Refer to Wiring Repairs in Wiring Systems.
  2. Use the Scan Tool in order to clear the code.

Did you complete the repair?

--

Go to Diagnostic System Check

--